|
|
(21), (22) Заявка: 2003118333/03, 08.11.2001
(24) Дата начала отсчета срока действия патента:
08.11.2001
(30) Конвенционный приоритет:
20.11.2000 NL 1016658
(43) Дата публикации заявки: 10.02.2005
(45) Опубликовано: 20.04.2006
(56) Список документов, цитированных в отчете о поиске:
DE 19508682 A, 29.02.1996. US 5987839 A, 23.11.1999. US 2834065 A, 13.05.1958. RU 2171877 C2, 10.06.2000.
(85) Дата перевода заявки PCT на национальную фазу:
20.06.2003
(86) Заявка PCT:
EP 01/13085 (08.11.2001)
(87) Публикация PCT:
WO 02/40808 (23.05.2002)
Адрес для переписки:
103735, Москва, ул.Ильинка, 5/2, ООО “Союзпатент”, пат.пов. Л.И.Ятровой
|
(72) Автор(ы):
ВАН ДЕР ХЕЙДЕН Франсискус Антониус Мария (BE)
(73) Патентообладатель(и):
ВАН ДЕР ХЕЙДЕН Франсискус Антониус Мария (BE)
|
(54) УСТРОЙСТВО ДЛЯ СОЕДИНЕНИЯ ДРУГ С ДРУГОМ ТРЕХ ПЛОСКИХ ЭЛЕМЕНТОВ
(57) Реферат:
Изобретение относится к области строительства, в частности к устройству для соединения друг с другом трех плоских элементов, лежащих в одной плоскости, например, элементов паркетного пола, и соединяющихся, по меньшей мере, одним своим краем, по меньшей мере, с одним краем каждого элемента из числа двух других элементов. Технический результат изобретения заключается в создании соединения, обеспечивающего возможность простой сборки элементов пола и при необходимости его разборки без повреждения. Указанное устройство соединяют с первым плоским элементом, и оно имеет, по меньшей мере, два крюкообразных средства; при этом одно крюкообразное средство взаимодействует с защелкивающимся контактом, соединенным со вторым плоским элементом, и второе крюкообразное средство взаимодействует с защелкивающимся контактом, соединенным с третьим плоским элементом. Крюкообразные средства выполнены с возможностью перемещения между первым положением, в котором плоские элементы высвобождены друг от друга, и вторым положением, в котором элементы прижаты друг к другу своими общими краями. 6 з.п. ф-лы, 4 ил. 
Данное изобретение относится к устройству для соединения друг с другом трех плоских элементов, лежащих в одной плоскости, и для соединения каждого элемента, по меньшей мере, одним его краем, по меньшей мере с одним краем каждого элемента из числа двух других элементов.
Соединение друг с другом плоских элементов представляет собой проблему, часто возникающую на практике, и одним из известных ее примеров является т.н. паркетное покрытие пола.
Обычно паркетные покрытия крепят гвоздями или клеем к основанию пола и тем самым обеспечивают сцепление между различными элементами. Обычно это – постоянная связь между паркетным покрытием и основанием пола, которую невозможно устранить без ее повреждения.
На практике нередко желательно выполнить это паркетное покрытие таким образом, чтобы его можно было бы легко снять и установить снова в другом месте. Это особо важно в случае переезда.
При этом может возникнуть необходимость отказаться от некоторых частей паркетного покрытия и заменить их новыми элементами; например, когда некоторые части повреждены или сильно изношены.
Поэтому цель данного изобретения заключается в обеспечении устройства указанного выше типа, которое не только обеспечит простое соединение плоских элементов друг с другом, но также и обеспечит возможность удобной разборки полученного соединения, и без его повреждения.
Указанная задача решается с помощью данного изобретения, согласно которому устройство соединяют с первым плоским элементом, причем устройство имеет по меньшей мере два крюкообразных органа; при этом один крюкообразный орган взаимодействует с защелкивающимся контактом, соединенным со вторым плоским элементом, и второй крюкоообразный орган взаимодействует с защелкивающимся контактом, соединенным с третьим плоским элементом; и при этом крюкообразные органы выполнены подвижными между первым положением, в котором плоские элементы высвобождены друг от друга, и вторым положением, в котором элементы прижаты друг к другу их общими краями.
Прочие признаки и преимущества устройства согласно данному изобретению станут очевидными из приводимого ниже описания его осуществления в совокупности с прилагаемыми чертежами, на которых:
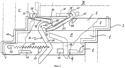
Фиг.1 изображает вид снизу с изображением некоторых элементов паркетного покрытия, имеющего устройство согласно данному изобретению;
Фиг.2 – боковую проекцию изображения согласно Фиг.1;
Фиг.3 – горизонтальную проекцию паркетного покрытия “в елочку” со схематическим изображением соединения; и
Фиг.4 – горизонтальную проекцию некоторых рисунков паркетного покрытия, которое можно установить с помощью устройства согласно данному изобретению.
Фиг.1 изображает вид снизу части паркета: детали паркетного покрытия собраны друг с другом с помощью устройства согласно данному изобретению. Паркетные покрытия обычно содержат некоторое число прямоугольных паркетных досок 1, которые, как в иллюстрируемом осуществлении, соединяют друг с другом согласно конструкции “елочкой”. В иллюстрируемом осуществлении: соответствующие три паркетные доски 1 уже собраны в паркетную деталь 3, и поэтому соответственно эти паркетные детали 3 составляют одно целое и могут быть использованы и установлены как таковые. Сборку и взаимное соединение трех паркетных досок 1 с образованием паркетной детали 3 осуществляют с помощью соединительного элемента 4, которые прикрепляют к нижней части трех паркетных досок 1 и тем самым удерживают их вместе. Эту операцию крепления можно выполнить клеем, винтами, гвоздями, крепежными скобами или другими средствами; и ее можно выполнять в промышленном масштабе с помощью соответствующих устройств для производства единообразной продукции в виде паркетных деталей 3.
Соединительный элемент 4 содержит пластинчатую деталь 5, которая проходит практически по всей поверхности соединяемых вместе трех паркетных досок 1 и имеет единообразную форму. Эта пластинчатая деталь 5 предпочтительно несколько меньше паркетной детали 3, и поэтому она не мешает сборке двух паркетных деталей 3. На Фиг.1 пластинчатый элемент 5 частично не изображен.
Между пластинчатой деталью 5 и паркетными досками 1 расположены несколько прокладок, выполненных с возможностью образования плоского пространства, в которое можно поместить механизм соединения паркетной детали 3,
Прокладки содержат первую ступенчатую прокладку 10, которая повторяет ступенчатый край паркетной детали 3 и поэтому несколько выступает за этот край; и вторую ступенчатую прокладку 11, которая повторяет другой ступенчатый край паркетной детали 3, и поэтому относительно этого края имеет несколько более внутреннее расположение.
Этот выступ, соответственно более внутреннее расположение при установке обеспечивает некоторое перекрытие друг другом соседних паркетных деталей 3, в результате чего уровень остается одинаковым.
Прокладки также содержат два прямых элемента 15 и 16, которые выступают вдоль одного из прямых краев паркетной детали 3.
Элемент 15 имеет скошенный край 17, а элемент 16 имеет трапециевидное углубление 18. Вдоль другого прямого края паркетной детали 3 установлена прокладка 20, образующая боковые отверстия 21 и 22, назначение которых поясняется ниже.
Вся пластинчатая деталь 5 и прокладки 10, 11, 15, 16 и 20 имеют такую форму, что прокладки можно избирательно располагать в соответствии с изображаемой на Фиг.1 конструкцией или как ее зеркальное отображение.
В пространстве, сформированном паркетными досками 1, пластинчатым элементом 5 и прокладками 10, 11, 15, 16 и 20, установлен соединительный механизм 25, с помощью которого можно соединить вместе две паркетные детали 3, установленные напротив друг друга.
В описываемом варианте осуществления: соединительный механизм сделан в виде коленообразного рычага 26, который выполнен с возможностью поворота на шарнире 1, установленном между паркетной деталью 3 и пластинчатой деталью 5. Плечо 27 имеет на своем свободном конце крюк 28, выступающий через отверстие 21, и соединено с рычагом шарниром 29. Второе плечо 30 имеет на своем свободном конце крюк 31, выступающий через отверстие 22, и соединено с рычагом 26 шарниром 32. Шарниры 29 и 32 выполнены согласно иллюстрируемому осуществлению в виде т.н. пленочных шарниров, которые кинетически перемещаются с рычагом 26.
Рычаг 26 в принципе выполнен с возможностью перемещения между прокладками 16 и 35, и частично выступает из поверхности паркетной детали 3.
Отводящая пружина 36 установлена между прокладкой 37 и рычагом 26 и отводит рычаг 26 в направлении прокладки 35. Напротив паркетной детали 3, но на некотором расстоянии от пластинчатой детали 5, расположена полоса 38, которая вместе с прокладкой 16 образует пространство 39, в котором можно прикрепить на место рычаг 26. При этом полоса 38 может иметь наклонную сторону для вмещения рычага 26.
Устройство согласно изобретению действует следующим образом.
Согласно Фиг.3: эти паркетные детали А, В и С установлены напротив друг друга таким образом, что паркетная деталь В образует продолжение паркетной детали А на одной стороне рисунка “в елочку”. Поэтому обе паркетные детали А и В одинаковые. Третья паркетная деталь С образует другую половину рисунка “в елочку”, и одинакова с паркетными деталями А и В в том отношении, что прокладки расположены как зеркальное отражение по отношению к паркетным деталям А и В.
Рычаг 26, относящийся к паркетной детали А, находится в первом положении: показано прерывистой линией на Фиг.1. Он удерживается в нем наклонным краем элемента 38 несмотря на усилие пружины 36.
После того как три паркетных детали А, В и С будут расположены согласно Фиг.1: рычаг 26 приводится в действие усилием, оказываемым на выступающую часть рычага 26, после чего пружина 36 перемещает рычаг 26 во второе положение, показанное простой линией на Фиг.1. За счет этого перемещаются также плечи 27 и 30, и – в зависимости от способа соединения плечей 27 и 30 с рычагом 26 – крюк 28 зацепляет наклонную поверхность трапециевидного углубления 18 паркетной детали С, и крюк 31 зацепляет скошенный край 17 паркетной детали В. В результате этого паркетную деталь С прижимают в направлении паркетных деталей А и В и паркетную деталь В – в направлении паркетных деталей А и С. Тем самым создают прочное соединение с достаточным боковым сжатием между паркетными деталями А, В и С. Боковое сжатие между А, В и С сохраняется благодаря пружинному усилию, даже если паркет будет усыхать или расширяться со временем. Сжатие между деталями В и С является прямым следствием кинематики рычажного механизма, состоящего из рычага 26 и плечей 27 и 30. Сжатие между деталями А и В соответственно деталями А и С является, с одной стороны, следствием кинематики рычажного механизма, но, с другой стороны, его можно увеличить с помощью направляющих в крюках 28, 31 и направляющих прокладок 18 и 15, тем самым создавая дополнительное сжатие.
Очевидно, что имеется возможность при установке паркетных деталей удерживать рычаг 26 вручную, и когда три детали А, В и С будут точно установлены относительно друг друга, рычаг 26 можно вручную замкнуть во втором положении механически.
Но предпочтительно используют пружину 36, чтобы взаимное сжатие А, В и С было неизменным.
Другие конфигурации паркетных деталей изображены на Фиг.4, и они могут быть выполнены с помощью соединительного элемента согласно изобретению. Поэтому в зависимости от выбранного рисунка возможно использование одинаково установленных соединительных элементов или соединительных элементов, установленных в виде зеркального отображения.
Формула изобретения
1. Устройство для соединения друг с другом трех плоских элементов, лежащих в одной плоскости и соединяющихся по меньшей мере одним своим краем по меньшей мере с одним краем каждого элемента из числа двух других элементов, отличающееся тем, что указанное устройство соединяют с первым плоским элементом и оно имеет по меньшей мере два крюкообразных средства; при этом одно крюкообразное средство взаимодействует с защелкивающимся контактом, соединенным со вторым плоским элементом, и второе крюкообразное средство взаимодействует с защелкивающимся контактом, соединенным с третьим плоским элементом, при этом крюкоообразные средства выполнены с возможностью перемещения между первым положением, в котором плоские элементы высвобождены друг от друга, и вторым положением, в котором элементы прижаты друг к другу своими общими краями.
2. Устройство по п.1, отличающееся тем, что каждое крюкообразное средство содержит плечо, которое с возможностью поворота соединено с рычагом в первом плоском элементе, в результате чего при перемещении из первого положения во второе положение крюкообразное средство перемещается в направлении контактного края со вторым и также с третьим элементом.
3. Устройство по п.2, отличающееся тем, что плечи рычага связаны друг с другом кинематически.
4. Устройство по п.3, отличающееся тем, что первое плечо соединяют с помощью плавающего шарнира с рычагом, второе плечо соединено с помощью плавающего шарнира с рычагом, соединенным с возможностью поворота с первым плоским элементом.
5. Устройство по п.4, отличающееся тем, что рычаг имеет регулирующее плечо, которое можно расположить в первом положении крюкообразных средств и которое предварительно напряжено с помощью пружины в направлении перемещения во второе положение крюкообразных средств.
6. Устройство по п.5, отличающееся тем, что пружина удерживает соединенные элементы под давлением при усадке или расширении элементов.
7. Устройство по одному из пп.2-6, отличающееся тем, что каждое крюкообразное средство содержит плоскую часть, выполненную с возможностью взаимодействия с наклонным краем защелкивающегося контакта.
РИСУНКИ
MM4A – Досрочное прекращение действия патента СССР или патента Российской Федерации на изобретение из-за неуплаты в установленный срок пошлины за поддержание патента в силе
Дата прекращения действия патента: 09.11.2008
Извещение опубликовано: 20.07.2010 БИ: 20/2010
|
|