|
|
(21), (22) Заявка: 2004128397/03, 24.09.2004
(24) Дата начала отсчета срока действия патента:
24.09.2004
(45) Опубликовано: 20.04.2006
(56) Список документов, цитированных в отчете о поиске:
RU 2142039 C1, 27.11.1999. RU 2194135 C2, 10.12.2002. SU 1208587 A, 30.01.1986. SU 937207 A, 23.06.1982. RU 2194617 C1, 20.12.2002. US 5077113 A, 31.12.1991. DE 3937196 A1, 16.05.1991. EP 0363779 A1, 18.04.1990.
Адрес для переписки:
659322, Алтайский край, г. Бийск, ул. Социалистическая, 1, ФГУП “ФНПЦ “Алтай”, патентно-лицензионный сектор
|
(72) Автор(ы):
Башара Владимир Алексеевич (RU), Гаврилов Василий Викторович (RU), Дробышев Валерий Иванович (RU), Кархин Сергей Александрович (RU), Русских Геннадий Иванович (RU)
(73) Патентообладатель(и):
Общество с ограниченной ответственностью “Бийский завод стеклопластиков” (RU)
|
(54) СПОСОБ ИЗГОТОВЛЕНИЯ СТЕРЖНЯ ПЕРЕМЕННОГО СЕЧЕНИЯ ИЗ КОМПОЗИЦИОННОГО МАТЕРИАЛА И УСТАНОВКА ДЛЯ ЕГО ОСУЩЕСТВЛЕНИЯ
(57) Реферат:
Изобретение относится к арматурным элементам, применяемым в строительстве, а именно к стержням переменного сечения из композиционного материала, в частности из стеклопластика. Изобретение позволяет расширить эксплуатационные возможности путем достижения стабильного качества изготавливаемого стержня, обеспечения равномерной плотности структуры композиционного материала по длине и сечению стержня, его прочностных характеристик и требуемой геометрии сечения независимо от текущего изменения его диаметра за счет сохранения радиальной неподвижности продольных волокон композиционного материала при укладке с натяжением кольцевых нитей. Предлагается способ изготовления стержня переменного сечения из композиционного материала, включающий формирование трубки из предварительно пропитанного полимерным связующим волокнистого материала, подачу внутрь ее закладного элемента, определяющего форму поперечного сечения стержня, укладку с натяжением кольцевых нитей, придающих трубке с закладным элементом форму страшного стержня, полимеризацию и резку. Особенность заключается в том, что перед укладкой кольцевых нитей в зоне их укладки воздействуют посредством локального линейного подвижного контактного давления на часть внешней поверхности изготавливаемого стержня, прикладываемого поперек его волокон, требуемое контактное давление регулируют в соответствии с изменением текущего диаметра изготавливаемого стержня, при этом ширина контактной зоны не меньше шага намотки кольцевых нитей. Для осуществления способа предлагается установка для изготовления стержня переменного сечения из композиционного материала, включающая шпулярник, пропиточный узел, кольцевой раскладчик, обжимную фильеру, закладное устройство, вертлюг поперечной намотки кольцевых нитей, полимеризационный тракт, тянущее устройство, отрезной механизм. Особенность заключается в том, что установка снабжена средством для воздействия локальным линейным подвижным контактным давлением на часть внешней поверхности изготавливаемого стержня, причем средство выполнено с возможностью обеспечения регулирования требуемого контактного давления. В частности, указанное средство содержит петлеобразно охватывающий изготавливаемый стержень гибкий упругий рабочий элемент, на который воздействуют давлением от источника энергии сжатой среды. При этом источник энергии сжатой среды выполнен в виде гидроцилиндра или пневмоцилиндра. В частности, указанное средство содержит, по крайней мере, два упругих рабочих элемента, разнесенных между собой в плоскости поперечного сечения изготавливаемого стержня с обеспечением равновесия сил, действующих относительно его продольной оси, при этом каждый рабочий элемент выполнен с возможностью вращения вокруг изготавливаемого стержня. При этом каждый рабочий элемент снабжен пружиной сжатия или растяжения или кручения. В частности, каждый рабочий элемент выполнен в виде криволинейного стержня, контактирующего с изготавливаемым стержнем вогнутой поверхностью, или каждый рабочий элемент выполнен в виде прямолинейного стержня, или каждый рабочий элемент выполнен в виде стержня, законцовка которого оснащена расположенной перпендикулярно его оси пластиной с прямолинейной или криволинейной, вогнутостью обращенной к изготавливаемому стержню, поверхностью. В частности, указанное средство размещено перед вертлюгом, оснащено независимым приводом вращения упругих рабочих элементов, а ось точки опоры каждого из них параллельна продольной оси изготавливаемого стержня. В частности, указанное средство закреплено на вертлюге, а ось точки опоры каждого рабочего элемента перпендикулярна продольной оси изготавливаемого стержня. 2 н. и 9 з.п. ф-лы, 4 ил. 
Изобретение относится к арматурным элементам, применяемым в строительстве, а именно к стержням переменного сечения из композиционного материала, в частности из стеклопластика.
Известен наиболее близкий к заявляемому способ изготовления стержня переменного сечения из композиционного материала по патенту РФ №2142039 (опубл. 27.11.99 г., бюллетень №33), включающий формирование трубки из предварительно пропитанного полимерным связующим волокнистого материала, подачу внутрь ее закладного элемента, определяющего форму поперечного сечения стержня, укладку с натяжением кольцевых нитей, придающих трубке с закладным элементом форму сплошного стержня, полимеризацию и резку.
Недостатком данного способа является ограничение по плотности композита изготавливаемого стержня, связанное с прочностью натянутых кольцевых нитей. Укладка с натяжением кольцевых нитей не обеспечивает достаточного и качественного уплотнения структуры стержня, особенно в местах переходов от одного диаметра к другому, смещает продольные волокна композиционного материала в радиальном направлении. Плотность композита неравномерна по длине стержня и его сечению, что приводит к низкой прочности изготавливаемого известным способом стержня. Такой стержень может нести только функцию соединительного элемента в теплоизоляционных стеновых конструкциях; при этом его длина ограничена шириной панели, а функцию армирования бетонных конструкций выполнять не может. Таким образом, изготавливаемый способом по прототипу стержень имеет узкий диапазон применения и низкие эксплуатационные свойства, а сам способ имеет ограниченные эксплуатационные возможности.
В том патенте №2142039 описана наиболее близкая к предлагаемой установка для изготовления стержня переменного сечения из композиционного материала, включающая шпулярник, пропиточный узел, кольцевой раскладчик, обжимную фильеру, закладное устройство, вертлюг поперечной намотки кольцевых нитей, полимеризационный тракт, тянущее устройство, отрезной механизм.
Данная установка имеет низкие эксплуатационные возможности, т.к. на ней можно изготавливать только стержни, имеющие неравномерную плотность структуры по длине и сечению, низкую прочность, особенно в местах переходов от одного диаметра к другому, обусловленные недостаточной прочностью натянутых кольцевых нитей, подаваемых с вертлюга и смещающих при их укладке продольные волокна композиционного материала в радиальном направлении, что ведет к сокращению диапазона функциональных возможностей изготавливаемых стержней и их низким эксплуатационным свойствам.
Задачей настоящего изобретения является разработка способа изготовления стержня переменного сечения из композиционного материала и установки для его осуществления, позволяющих расширить эксплуатационные возможности путем достижения стабильного качества изготавливаемого стержня, обеспечения равномерной плотности структуры композиционного материала по длине и сечению стержня, его прочностных характеристик и требуемой геометрии сечения независимо от текущего изменения его диаметра за счет сохранения радиальной неподвижности продольных волокон композиционного материала при укладке с натяжением кольцевых нитей.
Поставленная задача решается предложенным способом изготовления стержня переменного сечения из композиционного материала и установки для его осуществления.
Для получения вышеуказанного технического результата в заявляемом способе изготовления стержня переменного сечения из композиционного материала осуществляют формирование трубки из предварительно пропитанного полимерным связующим волокнистого материала, подачу внутрь ее закладного элемента, определяющего форму поперечного сечения стержня, укладку с натяжением кольцевых нитей, придающих трубке с закладным элементом форму сплошного стержня, полимеризацию и резку. Особенность заключается в том, что перед укладкой кольцевых нитей в зоне их укладки воздействуют посредством локального линейного подвижного контактного давления на часть внешней поверхности изготавливаемого стержня, прикладываемого поперек его волокон, требуемое контактное давление регулируют в соответствии с изменением текущего диаметра изготавливаемого стержня, при этом ширина контактной зоны не меньше шага намотки кольцевых нитей.
Отличительными признаками предлагаемого способа от прототипа являются иной порядок выполнения действий, наличие дополнительного воздействия на изготавливаемый стержень, наличие возможности его регулирования в соответствии с изменением текущего диаметра стержня в совокупности с точностью его приложения относительно места укладки кольцевых нитей.
Способ осуществляют с помощью установки для изготовления стержня переменного сечения из композиционного материала, включающей шпулярник, пропиточный узел, кольцевой раскладчик, обжимную фильеру, закладное устройство, вертлюг поперечной намотки кольцевых нитей, полимеризационный тракт, тянущее устройство, отрезной механизм. Особенность заключается в том, что установка снабжена средством для воздействия локальным линейным подвижным контактным давлением на часть внешней поверхности изготавливаемого стержня, прикладываемого поперек его волокон в зоне укладки кольцевых нитей.
В частности, средство для воздействия локальным линейным подвижным контактным давлением содержит петлеобразно охватывающий изготавливаемый стержень гибкий упругий рабочий элемент, на который воздействуют давлением от источника энергии сжатой среды. При этом источник энергии сжатой среды выполнен в виде гидроцилиндра или пневмоцилиндра.
В частности, средство для воздействия локальным линейным подвижным контактным давлением содержит, по крайней мере, два упругих рабочих элемента, разнесенных между собой в плоскости поперечного сечения изготавливаемого стержня с обеспечением равновесия сил, действующих относительно его продольной оси, при этом каждый рабочий элемент выполнен с возможностью вращения вокруг изготавливаемого стержня. При этом каждый рабочий элемент снабжен пружиной сжатия или растяжения или кручения, оснащенной винтом регулировки.
В частности, каждый рабочий элемент выполнен в виде криволинейного стержня, контактирующего с изготавливаемым стержнем вогнутой поверхностью, или каждый рабочий элемент выполнен в виде прямолинейного стержня, или каждый рабочий элемент выполнен в виде стержня, законцовка которого оснащена расположенной перпендикулярно его оси пластиной с прямолинейной или криволинейной, вогнутостью обращенной к изготавливаемому стержню, поверхностью.
В частности, средство для воздействия локальным линейным подвижным контактным давлением размещено перед вертлюгом, оснащено независимым приводом вращения упругих рабочих элементов, а ось точки опоры каждого из них параллельна продольной оси изготавливаемого стержня.
В частности, средство для воздействия локальным линейным подвижным контактным давлением закреплено на вертлюге, а ось точки опоры каждого рабочего элемента перпендикулярна продольной оси изготавливаемого стержня.
Предлагаемая установка для осуществления способа изготовления стержня переменного сечения из композиционного материала отличается от прототипа наличием средства для воздействия локальным линейным подвижным контактным давлением на часть внешней поверхности изготавливаемого стержня, прикладываемого поперек его волокон в зоне укладки кольцевых нитей, его взаимосвязью с другими конструктивными элементами установки. Указанное средство может быть реализовано с помощью различных рабочих элементов, оснащено независимым приводом (для обеспечения возможности регулирования скорости вращения рабочих элементов) или закреплено на вертлюге установки.
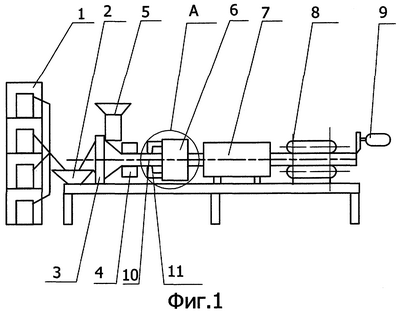
Заявляемая установка содержит (Фиг.1) шпулярник 1, пропиточный узел 2, кольцевой раскладчик 3, обжимную фильеру 4, закладное устройство 5, вертлюг поперечной намотки кольцевых нитей 6, полимеризационный тракт 7, тянущее устройство 8, отрезной механизм 9 и средство для воздействия на изготавливаемый стержень 10 локальным линейным подвижным контактным давлением 11 (далее средство), закрепленное на вертлюге 6.
На Фиг.2 изображен узел А Фиг.1 с рабочими элементами 12 средства 11, каждый из которых выполнен в виде стержня, законцовка которого оснащена пластиной 13.
На Фиг.3 показана часть установки, в которой средство 11 размещено перед вертлюгом 6 и оснащено независимым приводом 14.
На Фиг.4 изображен вид Б-Б Фиг.3, на котором средство 11 содержит рабочие элементы 12, каждый из которых выполнен в виде криволинейного стержня с пружиной 15.
Изобретение иллюстрируется следующим примером конкретного выполнения.
Для изготовления стержня переменного сечения стекловолокно (ГОСТ 17139-79) со шпулярника 1 (Фиг.1) собирают в ленту и после пропитки в ванне пропиточного узла 2 эпоксидиановым связующим ЭДИ и отжима прядей волокон на отжимных валках подают в кольцевой раскладчик 3. После раскладчика 3 пряди стекловолокна подают в обжимную фильеру 4. В образованную из прядей полость в нужный момент времени, определяемый формой готового стержня, вставляют закладной элемент переменного сечения. Закрепленное на вертлюге 6 средство 11 (Фиг.2), оснащенное упругими рабочими элементами 12 с пружинами растяжения 15, контактными поверхностями, выполненными в виде пластин 13, обжимает пряди стекловолокон вокруг закладного элемента, и по мере продвижения волокон производится пошаговая фиксация обжатых волокон кольцевыми нитями, подаваемыми со шпулей вертлюга 6. Закладной элемент выполнен из полимерного материала или металла в зависимости от требуемых свойств изготавливаемого стержня. Полученный стержень переменного сечения отверждается в полимеризационном тракте 7 при температуре 120-160°С.
Протяжка изготавливаемого стержня осуществляется тянущим устройством 8. После выхода изготавливаемого стержня из тянущего устройства, он обрезается на заданные мерные куски отрезным устройством 9.
Формула изобретения
1. Способ изготовления стержня переменного сечения из композиционного материала, включающий формирование трубки из предварительно пропитанного полимерным связующим волокнистого материала, подачу внутрь нее закладного элемента, определяющего форму поперечного сечения стержня, укладку с натяжением кольцевых нитей, придающих трубке с закладным элементом форму сплошного стержня, полимеризацию и резку, отличающийся тем, что перед укладкой кольцевых нитей в зоне их укладки воздействуют посредством локального линейного подвижного контактного давления на часть внешней поверхности изготавливаемого стержня, прикладываемого поперек его волокон, требуемое контактное давление регулируют в соответствии с изменением текущего диаметра изготавливаемого стержня, при этом ширина контактной зоны не меньше шага намотки кольцевых нитей.
2. Установка для изготовления стержня переменного сечения из композиционного материала, включающая шпулярник, пропиточный узел, кольцевой раскладчик, обжимную фильеру, закладное устройство, вертлюг поперечной намотки кольцевых нитей; полимеризационный тракт, тянущее устройство, отрезной механизм, отличающаяся тем, что она снабжена средством для воздействия локальным линейным подвижным контактным давлением на часть внешней поверхности изготавливаемого стержня, прикладываемого поперек его волокон в зоне укладки кольцевых нитей, причем средство выполнено с возможностью обеспечения регулирования требуемого контактного давления.
3. Установка по п.2, отличающаяся тем, что средство для воздействия локальным линейным подвижным контактным давлением содержит петлеобразно охватывающий изготавливаемый стержень гибкий упругий рабочий элемент, на который воздействуют давлением от источника энергии сжатой среды.
4. Установка по п.3, отличающаяся тем, что источник энергии сжатой среды выполнен в виде гидроцилиндра или пневмоцилиндра.
5. Установка по п.2, отличающаяся тем, что средство для воздействия локальным линейным подвижным контактным давлением содержит, по крайней мере, два упругих рабочих элемента, разнесенных между собой в плоскости поперечного сечения изготавливаемого стержня с обеспечением равновесия сил, действующих относительно его продольной оси, при этом каждый рабочий элемент выполнен с возможностью вращения вокруг изготавливаемого стержня.
6. Установка по п.5, отличающаяся тем, что каждый рабочий элемент снабжен пружиной сжатия, или растяжения, или кручения, оснащенной винтом регулировки.
7. Установка по п.5, отличающаяся тем, что каждый рабочий элемент выполнен в виде криволинейного стержня, контактирующего с изготавливаемым стержнем вогнутой поверхностью.
8. Установка по п.5, отличающаяся тем, что каждый рабочий элемент выполнен в виде прямолинейного стержня.
9. Установка по п.5, отличающаяся тем, что каждый рабочий элемент выполнен в виде стержня, законцовка которого оснащена расположенной перпендикулярно его оси пластиной с прямолинейной или криволинейной вогнутостью, обращенной к изготавливаемому стержню поверхностью.
10. Установка по любому из пп.5-9, отличающаяся тем, что средство для воздействия локальным линейным подвижным контактным давлением размещено перед вертлюгом, оснащено независимым приводом вращения упругих рабочих элементов, а ось точки опоры каждого из них параллельна продольной оси изготавливаемого стержня.
11. Установка по любому из пп.5-9, отличающаяся тем, что средство для воздействия локальным линейным подвижным контактным давлением закреплено на вертлюге, а ось точки опоры каждого рабочего элемента перпендикулярна продольной оси изготавливаемого стержня.
РИСУНКИ
|
|