| На основании пункта 3 статьи 13 Патентного закона Российской Федерации от 23 сентября 1992 г. № 3517-I патентообладатель обязуется передать исключительное право на изобретение (уступить патент) на условиях, соответствующих установившейся практике, лицу, первому изъявившему такое желание и уведомившему об этом патентообладателя и федеральный орган исполнительной власти по интеллектуальной собственности, – гражданину РФ или российскому юридическому лицу. |
|
(21), (22) Заявка: 2004132504/03, 05.11.2004
(24) Дата начала отсчета срока действия патента:
05.11.2004
(45) Опубликовано: 20.04.2006
(56) Список документов, цитированных в отчете о поиске:
RU 2184055 C1, 27.06.2002. RU 2130876 C1, 27.05.1999. RU 2191612 С1, 03.01.2001. SU 1726628 A1,15.04.1992. US 3721408 A, 20.03.1973.
Адрес для переписки:
141091, Московская обл., г. Юбилейный, мкр.1, ул. Героев курсантов, 3, кв.25, П.В. Лобко
|
(72) Автор(ы):
Лобко Павел Владимирович (RU)
(73) Патентообладатель(и):
Лобко Павел Владимирович (RU)
|
(54) ПЛОЩАДКА ДЛЯ АВАРИЙНОЙ ПОСАДКИ ЛЕТАТЕЛЬНОГО АППАРАТА
(57) Реферат:
Изобретение относится к авиации, в частности к области обеспечения безопасности полетов летательных аппаратов, и может быть использовано при разработке, изготовлении и эксплуатации площадок для аварийной посадки самолетов, планеров и вертолетов, в том числе для их аварийной посадки, как на грунт, так и на палубу корабля. Площадка для аварийной посадки летательного аппарата оборудована искусственным покрытием. Новым является то, что искусственное покрытие выполнено в виде набора соединенных между собой объемных элементов из поролона с толщиной объемного элемента от 0.1 м до 2 м, поперечным размером объемного элемента от 0.1 до 2 м, продольным размером объемного элемента от 0.1 м до 3 м, причем, по меньшей мере, часть объемных элементов выполнена с величиной кажущейся плотности от 10 кг/м3 до 200 кг/м3 и на поверхности искусственного покрытия размещена информация, указывающая на назначение покрытия. Техническим результатом изобретения является существенное снижение перегрузок, действующих на конструкцию летательного аппарата и людей, находящихся в летательном аппарате при его аварийной посадке; повышение пожарной безопасности при аварийной посадке горящего летательного аппарата за счет возможности пропитывания водой поролона перед аварийной посадкой летательного аппарата и сокращение времени и увеличение высоты десантирования из летательного аппарата, зависшего над площадкой. 9 з.п. ф-лы, 3 ил. 
Область техники, к которой относится изобретение
Изобретение относится к авиации, в частности к области обеспечения безопасности полетов летательных аппаратов, и может быть использовано при разработке, изготовлении и эксплуатации площадок для аварийной посадки самолетов, планеров и вертолетов, в том числе для их аварийной посадки, как на грунт, так и на палубу корабля.
Уровень техники
Известна площадка для аварийной посадки летательного аппарата, оборудованная искусственным покрытием (патент на изобретение RU 2184055, опубликованный 27.06.2002). Кроме того, площадка содержит осветительное оборудование. Данный аналог является прототипом изобретения.
Совокупность признаков прототипа совпадает с частью признаков заявленного изобретения.
Недостатками прототипа являются: большие перегрузки, действующие на конструкцию летательного аппарата и людей, находящихся в летательном аппарате при его аварийной посадке; низкая пожарная безопасность при аварийной посадке горящего летательного аппарата.
Раскрытие изобретения
Задачей изобретения является обеспечение безопасной аварийной посадки летательного аппарата.
Техническими результатами являются: существенное снижение перегрузок, действующих на конструкцию летательного аппарата и людей, находящихся в летательном аппарате при его аварийной посадке; существенное повышение пожарной безопасности при аварийной посадке летательного аппарата за счет возможности впитывания поролоном пролившегося горючего и предотвращение интенсивного образования горючих паров над местом падения аппарата; существенное сокращение времени и увеличение высоты десантирования из летательного аппарата, зависшего над площадкой; расширение технических средств, а именно взлетно-посадочных площадок; сокращение времени создания площадки для аварийной посадки.
Заявленная площадка для аварийной посадки летательного аппарата преимущественно предназначена для аварийных, вынужденных посадок летательных аппаратов, однако, может применяться для улавливания грузов, сброшенных с летательного аппарата, а также людей, десантирующихся с летательных аппаратов. Площадка может находиться на поверхности земли, на палубе корабля.
Технические результаты достигаются тем, что площадка для аварийной посадки летательного аппарата оборудована искусственным покрытием, и искусственное покрытие выполнено в виде набора соединенных между собой объемных элементов из поролона с толщиной объемного элемента от 0.1 м до 2 м, поперечным размером объемного элемента от 0.1 до 2 м, продольным размером объемного элемента от 0.1 м до 3 м, причем, по меньшей мере, часть объемных элементов выполнена с величиной кажущейся плотности от 10 кг/м3 до 200 кг/м3 и на поверхности искусственного покрытия размещена информация, указывающая на назначение покрытия.
От прототипа изобретение отличается следующей совокупностью признаков: искусственное покрытие выполнено в виде набора соединенных между собой объемных элементов из поролона с толщиной объемного элемента от 0.1 м до 2 м, поперечным размером объемного элемента от 0.1 до 2 м, продольным размером объемного элемента от 0.1 м до 3 м, причем, по меньшей мере, часть объемных элементов выполнена с величиной кажущейся плотности от 10 кг/м3 до 200 кг/м3 и на поверхности искусственного покрытия размещена информация, указывающая на назначение покрытия.
В качестве информации используют знаки аварийной посадки или текст: “Площадка для аварийной посадки самолетов”.
Покрытие оснащено устройствами для его освещения. Освещение необходимо для повышения точности аварийной посадки летательного аппарата.
Поперечный размер покрытия составляет величину от 8 м до 100 м. Это дает возможность осуществлять аварийную посадку летательного аппарата с размахом крыльев до 50 м.
Продольный размер покрытия составляет величину от 10 м до 500 м. Это дает возможность осуществлять аварийную посадку крупногабаритного летательного аппарата весом до 100 т.
Максимальная толщина покрытия составляет величину от 1 м до 10 м. Это дает возможность осуществлять аварийную посадку летательного аппарата соответственно весом от 10 до 100 т и более.
По меньшей мере часть объемных элементов выполнена с величиной напряжения при 40% деформации от 1 кПа до 10 кПа. Элементы могут быть выполнены и с величиной напряжения при 40% деформации от 0.1 кПа до 100 кПа, однако, выход за интервал 1 кПа-10 кПа существенно удорожит элементы.
По меньшей мере часть объемных элементов выполнена с величиной предела прочности при растяжении от 50 кПа до 200 кПа. Элементы могут быть выполнены и с величиной предела прочности при растяжении от 1 кПа до 1000 кПа, однако, выход за интервал 50 кПа-200 кПа существенно удорожит элементы.
Покрытие может быть выполнено слоистым. Покрытие может иметь верхний слой и нижний слой. Это даст возможность собирать из типовых элементов покрытия большой толщины.
Верхний слой покрытия выполнен из объемных элементов с величиной кажущейся плотности от 10 кг/м3 до 40 кг/м3.
Нижний слой покрытия выполнен из объемных элементов с величиной кажущейся плотности от 40 кг/м3 до 200 кг/м3.
Данное соотношение величин кажущихся плотностей позволит максимально снизить перегрузки на осуществляющий аварийную посадку (падающий) летательный аппарат.
Выполнение площадки для посадки летательного аппарата по заявленному изобретению позволит:
– повысить живучесть аппарата и находящихся в нем людей при аварийной посадке на площадку. Поролон существенно снизит перегрузки, действующие на конструкцию летательного аппарата и людей, находящихся в нем. К примеру, в настоящее время на аэродромах площадки для аварийных посадок выполняют в виде кучи песка или вскопанного поля. Даже такие меры считаются полезными для сохранения жизни людей. Использование поролоновых покрытий позволит кардинально решить вопрос безопасности аварийных посадок. Для снижения перегрузок важен момент первого соприкосновения летательного аппарата с покрытием. Именно при первом соприкосновении решается вопрос спасения людей;
– сократить время выгрузки груза, например, из вертолета (зависшего над площадкой) за счет выброса груза на эту площадку. На поролоновое покрытие возможно бросать груз практически с любой высоты;
– увеличить безопасную высоту десантирования личного состава без парашютов на землю;
– сократить время десантирования личного состава из вертолета (зависшего над площадкой) на землю или на палубу корабля, на котором находится площадка;
– осуществлять посадку летательного аппарата с топливом в баках. При проливе топливо будет поглощаться поролоном, а при возгорании топлива поролон будет препятствовать взрывному горению топлива.
Краткое описание чертежей
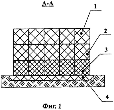
На фиг.1-3 изображена площадка для посадки и/или взлета летательного аппарата. Площадка выполнена из 60 поролоновых элементов, расположенных в три слоя. Осуществление изобретения
Площадка для аварийной посадки летательного аппарата состоит из соединенных между собой поролоновых объемных элементов из поролона с толщиной объемного элемента 0.1 м (из диапазона от 0.1 м до 2 м), поперечным размером объемного элемента 0.1 м (из диапазона от 0.1 до 2 м), продольным размером объемного элемента от 0.5 м (из диапазона от 0.1 до 3 м). Объемные элементы выполнены с величиной кажущейся плотности 200 кг/м3 (из диапазона от 10 кг/м3 до 200 кг/м3). Для создания покрытия длиной 200 м, шириной 50 м и высотой 6 м потребуется 12 млн. поролоновых элементов. Исследования показали, что вышеуказанные диапазоны обеспечивают минимальное время изготовления поролоновых объемных элементов и площадки для аварийной посадки из этих элементов. Более мелкие элементы дольше изготавливать, более крупные потребуют существенно большего времени остывания. Выбранный диапазон плотности также обеспечивает наименьшее время изготовления объемных элементов, а значит и покрытия в целом.
На фиг.1-3 представлено слоистое покрытие, где слои располагаются друг на друге. Покрытие состоит из верхнего слоя 1, среднего слоя 2 и нижнего слоя 3. Поролоновые элементы формируют искусственное покрытие. Нижние поролоновые элементы крепятся к основанию 4, выполненному из пластмассы. Площадка располагается на земле. При необходимости, например, ограничить поступление влаги в поролоновые элементы на искусственном покрытии располагают полиэтиленовую пленку. Поперечный размер объемного поролонового элемента составляет величину 2 м. Продольный размер объемного поролонового элемента составляет величину 3 м. Толщина объемного поролонового элемента составляет величину 2 м. Указанное в первом примере покрытие может быть изготовлено из 5000 таких элементов.
Поперечный размер другого покрытия составляет величину 100 м (из диапазона значений от 8 м до 100 м). Продольный размер покрытия составляет величину 500 м (из диапазона значений от 10 м до 500 м). Толщина покрытия составляет величину 6 м (из диапазона значений от 1 м до 10 м). Объемные элементы верхнего слоя выполнены с величиной напряжения при 40% деформации 1 кПа. Объемные элементы среднего слоя выполнены с величиной напряжения при 40% деформации 2.5 кПа. Объемные элементы нижнего слоя выполнены с величиной напряжения при 40% деформации 10 кПа. Все объемные элементы выполнены с величиной предела прочности при растяжении 50 кПа.
Покрытие имеет верхний слой и нижний слой, которые отличаются величиной напряжения при 40% деформации. Отличаются в 10 раз. Верхний слой покрытия выполнен из объемных элементов с величиной кажущейся плотности 10 кг/м3 (из диапазона значений от 10 кг/м3 до 40 кг/м3).
Нижний слой покрытия выполнен из объемных элементов с величиной кажущейся плотности 50 кг/м3 (из диапазона значений от 40 кг/м3 до 200 кг/м3).
Площадка расположена на территории аэродрома, вблизи аэродрома или на специально подготовленной и оснащенной средствами пожаротушения площадке. При необходимости площадку могут возводить на палубе корабля.
Используют покрытие следующим образом. При необходимости вертолет или самолет осуществляет посадку на эту площадку. При первом касании происходит значительное снижение перегрузок, что спасает людей и конструкцию от гибели. Чем толще покрытие, тем происходит большее снижение перегрузок. При ударе летательного аппарата о покрытие, как правило, происходит пролив топлива. Покрытие впитывает пролившееся топливо, тем самым препятствует интенсивному образованию горючих, взрывоопасных паров пролившегося топлива. Горение пропитавшегося в поролон топлива существенно менее интенсивное. Проведенные испытания показали, что высота пламени при проливе топлива на поролон в десятки раз меньше высоты пламени горящего топлива при проливе его на землю. Теплоизоляционные свойства поролона предотвращают прогрев пролившегося топлива и его взрыв. Площадка также может использоваться и для взлета, например, вертолетов. На поверхности покрытия целесообразно нанести информацию о назначении покрытия. В этом случае его легче идентифицировать.
Площадка может использоваться для десантирования людей. При этом может быть достигнуто существенное сокращение времени и увеличение высоты десантирования из летательного аппарата, зависшего или пролетающего над площадкой. Заявленные диапазоны параметров поролоновых элементов обеспечивают сокращение времени создания площадки для аварийной посадки за счет сокращения времени изготовления поролоновых элементов. Вышеприведенные примеры доказывают, что изобретение обеспечивает расширение технических средств, а именно взлетно-посадочных площадок.
Таким образом, задача изобретения решена, заявленные технические результаты достигнуты.
Формула изобретения
1. Площадка для аварийной посадки летательного аппарата, оборудованная искусственным покрытием, отличающаяся тем, что искусственное покрытие выполнено в виде набора соединенных между собой объемных элементов из поролона с толщиной объемного элемента от 0,1 до 2 м, поперечным размером объемного элемента от 0,1 до 2 м, продольным размером объемного элемента от 0,1 до 3 м, причем, по меньшей мере, часть объемных элементов выполнена с величиной кажущейся плотности от 10 до 200 кг/м3 и на поверхности искусственного покрытия размещена информация, указывающая на назначение покрытия.
2. Площадка по п.1, отличающаяся тем, что поперечный размер покрытия составляет величину от 8 до 100 м.
3. Площадка по п.1, отличающаяся тем, что продольный размер покрытия составляет величину от 10 до 500 м.
4. Площадка по п.1, отличающаяся тем, что толщина покрытия составляет величину от 1 до 10 м.
5. Площадка по п.1, отличающаяся тем, что, по меньшей мере, часть объемных элементов выполнена с величиной напряжения при 40% деформации от 1 до 10 кПа.
6. Площадка по п.1, отличающаяся тем, что, по меньшей мере, часть объемных элементов выполнена с величиной предела прочности при растяжении от 50 до 200 кПа.
7. Площадка по п.1, отличающаяся тем, что покрытие выполнено слоистым.
8. Площадка по п.7, отличающаяся тем, что покрытие имеет верхний слой и нижний слой.
9. Площадка по п.8, отличающаяся тем, что верхний слой покрытия выполнен из объемных элементов с величиной кажущейся плотности от 10 до 40 кг/м3.
10. Площадка по п.8, отличающаяся тем, что нижний слой покрытия выполнен из объемных элементов с величиной кажущейся плотности от 40 до 200 кг/м3.
РИСУНКИ
|