|
|
(21), (22) Заявка: 2002105507/03, 02.08.2000
(24) Дата начала отсчета срока действия патента:
02.08.2000
(30) Конвенционный приоритет:
10.08.1999 (пп.1-21) US 60/148,030
(43) Дата публикации заявки: 10.12.2003
(45) Опубликовано: 20.04.2006
(56) Список документов, цитированных в отчете о поиске:
GB 2302102 A, 08.01.1997. GB 2324098 A, 14.10.1998. GB 2031756 A, 30.04.1980. RU 2127231 C1, 10.03.1999. FR 2730990 A1, 30.08.1996.
(85) Дата перевода заявки PCT на национальную фазу:
11.03.2002
(86) Заявка PCT:
US 00/21104 (02.08.2000)
(87) Публикация PCT:
WO 01/10790 (15.02.2001)
Адрес для переписки:
101000, Москва, М.Златоустинский пер., 10, кв.15, “ЕВРОМАРКПАТ”, пат.пов. И.А.Веселицкой, рег. № 11
|
(72) Автор(ы):
СТРИКЛЕР Дейвид А. (US), САНДЕРСОН Кевин Д. (GB), ВАРАНАСИ Срикант (US), ГУДМАН Роналд Д. (US)
(73) Патентообладатель(и):
ЛИББИ-ОУЭНС-ФОРД КО. (US), ПИЛКИНГТОН ПЛС (GB)
|
(54) ИЗДЕЛИЕ ИЗ СТЕКЛА С СОЛНЦЕЗАЩИТНЫМ ПОКРЫТИЕМ
(57) Реферат:
В заявке описано стеклянное изделие с солнцезащитным покрытием для остекления применяемых в строительстве и архитектуре окон, уменьшающих передачу тепла. Это изделие с покрытием включает стеклянную подложку, покрытие из легированного сурьмой оксида олова толщиной 1400-2400 Å, нанесенное и связанное со стеклянной подложкой, и покрытие из легированного фтором оксида олова толщиной 2000-3500 Å, нанесенное и связанное с поверхностью покрытия из легированного сурьмой оксида олова. Низкий коэффициент излучения стеклянного изделия с покрытием в совокупности с неожиданно селективным поглощением солнечной энергии многослойным композитом обеспечивает улучшенный отвод тепла летом и удержание тепла зимой, одновременно сохраняя относительно высокий коэффициент пропускания видимого света. 2 н. и 19 з.п. ф-лы, 1 табл., 3 ил. 
ПРЕДПОСЫЛКИ СОЗДАНИЯ ИЗОБРЕТЕНИЯ
1. Область техники, к которой относится изобретение
Настоящее изобретение относится к изделию из имеющего покрытие стекла, на которое нанесено солнцезащитное покрытие. Более конкретно настоящее изобретение относится к изделию из стекла, снабженному многослойным покрытием и проявляющему высокий коэффициент пропускания лучей в видимой области спектра при низком коэффициенте пропускания солнечной энергии в целом.
2. Уровень техники
Нанесение покрытий на используемое в строительстве и архитектуре стекло является общепринятым способом придания стеклу определенных свойств в части поглощения энергии излучения и пропускания света. Кроме того, покрытия придают необходимые отражающие или спектральные свойства, которые обусловливают эстетическую привлекательность. Изделия с покрытием часто используют сами по себе или в сочетании с другими изделиями с покрытием при изготовлении остекления или стеклопакета.
Покрытые стеклянные изделия как правило изготовляют “на потоке” путем нанесения покрытия на стеклянную подложку одновременно с процессом ее изготовления, который в данной области техники известен как флоат-процесс. Кроме того, покрытые стеклянные изделия изготовляют “вне потока”, в процессе напыления. Первый метод включает литье стекла на расплав ванны из олова, которая снабжена соответствующим ограждением, с последующей транспортировкой стекла, после того как оно достаточно остыло, к отрывным роликам, которые соосны с этой ванной, и наконец, охлаждение стекла по мере его продвижения через роликовый сектор вначале через лер, после чего под воздействием окружающей среды. На флоат-участке такого технологического процесса, когда стекло находится в контакте с ванной из расплавленного олова, поддерживают неокислительную атмосферу с целью предотвратить окисление олова. В лере поддерживают окислительную атмосферу. Обычно покрытия наносят на стеклянную подложку в зоне флоат-ванны флоат-процесса. Однако покрытие на подложку можно также наносить в лере.
Свойства получаемой стеклянной подложки с покрытием зависят от конкретного вида покрытий, которые на нее наносят во время флоат-процесса или процесса напыления вне технологической линии. Такие качества стекла как поглощение энергии излучения и пропускание света зависят от состава и толщины покрытий, которые также влияют на спектральные характеристики стекла. Необходимые свойства стеклу можно сообщить регулированием состава или толщины слоя или слоев покрытия. Однако регулирование с целью улучшить конкретное свойство может отрицательно сказаться на других свойствах, таких как коэффициент пропускания и спектральные характеристики покрытого стеклянного изделия. Попытка изготовить изделие из имеющего покрытие стекла, обладающего сочетанием конкретных показателей поглощения энергии излучения и пропускания света, часто превращается в трудно разрешимую проблему.
В GB 2302102 описано стеклянное изделие с покрытием, включающее стеклянную подложку и покрытие, представляющее собой оксид олова и сурьмы (молярное соотношение Sb/Sn равно 0,01-0,5), нанесенное на стеклянную подложку, образованное пиролитически химическим осаждением из паровой фазы. Стеклянное изделие в целом характеризуется показателем пропускания солнечной энергии “солнечным фактором” (FS) менее 70%. В описании имеется информация о том, что использование еще одного дополнительного покрытия из оксида олова, легированного фтором, может обеспечить достижение сочетания низкого значения показателя степени пропускания солнечной энергии и низкого значения коэффициента излучения. Однако авторы отклоняют подобное решение, поскольку нанесение дополнительного слоя представляет собой более длительную и более дорогостоящую процедуру. Более того, в этом же источнике информации отвергается как бесперспективное и другое альтернативное решение, представляющее собой легирование фтором покрытия из оксида олова и сурьмы.
В GB 2302102 описан стеклопакет, включающий внешнюю и внутреннюю стеклянные панели, причем по крайней мере внешняя стеклянная панель характеризуется повышенными защитными свойствами в отношении пропускания и излучения солнечной энергии и представляет собой стеклянную подложку с многослойным покрытием, состоящим из слоя, характеризующегося низким излучением, поверх которого один за другим нанесены слои с высоким показателем преломления, низким показателем преломления и высоким показателем преломления, один из которых состоит из легированного фтором оксида олова и каждый из которых имеет оптическую толщину около n /4, где n – нечетное число, а – длина волны в инфракрасной области спектра.
В настоящее время существует потребность в изготовлении изделия из стекла с покрытием, обладающим нейтральным цветовым оттенком, которое отражает солнечную энергию летом и обеспечивает низкий показатель U зимой. Ослабляющее солнечное излучение остекление с низким коэффициентом излучения и низким общим коэффициентом пропускания солнечной энергии позволило бы значительно уменьшить энергетические затраты в зданиях и жилых домах, одновременно придавая необходимый нейтральный оттенок.
Было бы также целесообразно создать ослабляющее солнечное излучение остекление, которое обладает способностью отражать свет нейтрального оттенка, низкой излучающей способностью, высоким коэффициентом пропускания видимого излучения и низким общим коэффициентом пропускания солнечной энергии. Применение такого изделия с нейтральным оттенком при остеклении в строительстве и архитектуре обеспечивало бы высокий коэффициент пропускания видимого излучения и одновременно отражение значительной части энергии излучения вблизи инфракрасной области спектра. Более того, низкий коэффициент излучения элементов остекления свел бы к минимальному любое косвенное поступление тепла в результате поглощения излучения.
КРАТКОЕ ИЗЛОЖЕНИЕ СУЩНОСТИ ИЗОБРЕТЕНИЯ
В соответствии с настоящим изобретением предлагается новое изделие из стекла, которое можно использовать для изготовления имеющего покрытие теплозащитного оконного стекла при строительстве зданий. Изделие с покрытием имеет стеклянную подложку, покрытие из легированного сурьмой оксида олова, нанесенное и связанное со стеклянной подложкой, и покрытие из легированного фтором оксида олова, нанесенное и связанное с поверхностью покрытия из легированного сурьмой оксида олова.
Предлагаемое по изобретению стеклянное изделие с покрытием обладает селективностью 13 или больше, предпочтительно 14 или больше, причем селективность определяют как разницу между коэффициентом пропускания для излучения в видимой области спектра (источник света С) и общим коэффициентом пропускания солнечной энергии, интегрированным с воздушной массой 1,5. По другому варианту или кроме того, стеклянное изделие с покрытием может включать покрытие, которое обеспечивает, когда его наносят на стеклянную подложку номинальной толщиной 3 мм, селективность 13 или больше, предпочтительно 14 или больше. Это стеклянное изделие с покрытием обладает коэффициентом пропускания излучения в видимой области спектра 63% или больше и предпочтительным коэффициентом пропускания солнечной энергии 53% или меньше.
В предпочтительном варианте стеклянное изделие с покрытием включает подавляющий иризирование промежуточный слой, нанесенный между стеклянной подложкой и покрытием из легированного сурьмой оксида олова. Когда такие покрытия нанесены на прозрачную стеклянную подложку, они сообщают нейтральный оттенок в пропущенном и отраженном свете.
Легированное сурьмой оловооксидное покрытие предлагаемого по изобретению стеклянного изделия с покрытием обеспечивает поглощение солнечной энергии. Хотя оно обеспечивает поглощение некоторой части видимого света, легированное сурьмой оловооксидное покрытие является относительно селективным, поглощая энергию излучения в более ближней инфракрасной области, чем видимый свет. Таким образом, легированное сурьмой оксидное покрытие уменьшает общий коэффициент пропускания солнечной энергии предлагаемого по изобретению стеклянного изделия с покрытием.
Легированное фтором оловооксидное покрытие понижает коэффициент излучения предлагаемого по изобретению стеклянного изделия с покрытием до меньше 0,2, а предпочтительно до меньше 0,15. Как параметр стеклопакета, низкий коэффициент излучения в зимнее время обеспечивает показатель U меньше 0,4, а предпочтительно меньше 0,35. Кроме того, было установлено, что предлагаемое в соответствии с изобретением нанесение легированного фтором олово оксидного покрытия поверх легированного сурьмой олово-оксидного покрытия повышает селективность стеклянного изделия с покрытием.
Это особое композитное покрытие на стеклянной подложке позволяет изготовить изделие с нейтральным оттенком, обладающее высоким коэффициентом пропускания видимого света, пониженным общим коэффициентом пропускания солнечной энергии и низким коэффициентом излучения. Применение предлагаемого по изобретению изделия при застеклении в строительстве и архитектуре дает возможность изготовить остекление, которое отражает солнечную энергию летом и обеспечивает низкий показатель U в зимнее время.
Объектом изобретения является создание архитектурного остекления с нейтральным оттенком, которое в высокой степени пропускает излучение в видимой области спектра и существенно уменьшает количество пропускаемой солнечной энергии.
Другим объектом изобретения является создание архитектурного остекления, обладающего низким коэффициентом излучения, с целью сведения к минимальному косвенного поступления тепла в результате поглощения излучения.
Объектом изобретения является также создание стеклянного изделия с покрытием, пригодного для изготовления архитектурного остекления, обладающего нейтральным оттенком как в отражаемом, так и пропускаемом свете и одновременно сохраняющего целевой коэффициент излучения и свойства прозрачности для солнечной энергии. При создании настоящего изобретения было установлено, что соответствующий выбор толщины отдельных слоев позволяет получать композитные покрытия как с целевой высокой селективностью, так и с нейтральным цветовым оттенком.
КРАТКОЕ ОПИСАНИЕ ЧЕРТЕЖЕЙ
Указанные выше, равно как и другие, преимущества настоящего изобретения для специалистов в данной области техники станут очевидными из следующего подробного описания, если его рассматривать в сочетании с прилагаемыми чертежами, где
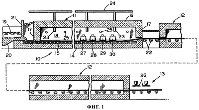
на фиг.1 в вертикальном сечении представлено схематическое изображение установки для проведения процесса изготовления флоат-стекла, которая включает четыре газораспределителя, соответствующим образом размещенных в зоне флоат-ванны, для нанесения покрытий на стеклянную подложку в соответствии с изобретением;
на фиг.2 представлено неполное поперечное сечение стеклянного изделия с покрытием в соответствии с изобретением;
на фиг.3 представлена схема архитектурного остекления в соответствии с настоящим изобретением, на которой стеклянное изделие с покрытием показано в стеклопакете в виде внешнего стекла с многослойным покрытием по изобретению, обращенным внутрь.
ПОДРОБНОЕ ОПИСАНИЕ ПРЕДПОЧТИТЕЛЬНЫХ ВАРИАНТОВ
В соответствии с изобретением, как было установлено, стеклянное изделие с покрытием, обладающее многослойным покрытием из слоя легированного сурьмой оксида олова, поверх которого нанесен слой оксида олова, легированного фтором, представляет собой изделие, которое характеризуется низким коэффициентом излучения, высоким коэффициентом пропускания видимого света и пониженным коэффициентом пропускания солнечной энергии. Такое стеклянное изделие с покрытием особенно приемлемо для применения при изготовлении архитектурного остекления и окон. Однако предлагаемое по настоящему изобретению стеклянное изделие с покрытием можно также использовать для других целей, таких как изготовление окон для транспортных средств.
В предпочтительном варианте стеклянное изделие с покрытием включает подавляющий иризирование промежуточный слой, нанесенный между стеклянной подложкой и покрытием из легированного сурьмой оксида олова. Когда такие покрытия нанесены на прозрачную стеклянную подложку, они сообщают нейтральный оттенок в пропущенном и отраженном свете.
На фиг.2 показано стеклянное изделие с покрытием по изобретению, обозначенное общей позицией 35, включающее стеклянную подложку 36 и многослойное покрытие 37, связанное с одной из ее поверхностей. В проиллюстрированном предпочтительном варианте многослойное покрытие включает подавляющий иризирование промежуточный слой 38, покрытие 41 из легированного сурьмой оксида олова и внешнее покрытие 42 из легированного фтором оксида олова. В представленном конкретном варианте подавляющий иризирование промежуточный слой 38 состоит из оловооксидного покрытия 39 и кремнийдиоксидного покрытия 40.
Покрытие 41 из легированного сурьмой оксида олова в предлагаемом по изобретению стеклянном изделии с покрытием обеспечивает главным образом поглощение солнечной энергии. Хотя при этом поглощается некоторая часть видимого света, легированное сурьмой покрытие из оксида олова является относительно селективным, поглощая энергию излучения в более ближней инфракрасной области, чем видимый свет. Таким образом, легированное сурьмой оксидное покрытие уменьшает общий коэффициент пропускания солнечной энергии стеклянного изделия с покрытием, предлагаемого по изобретению.
Покрытие 41 из легированного сурьмой оксида олова характеризуется значением молярного соотношения между сурьмой и оловом в пределах от примерно 0,05 до 0,12. Предпочтительное значение молярного соотношения между сурьмой и оловом находится в пределах от примерно 0,06 до 0,10, а наиболее предпочтительное составляет примерно 0,07. Толщина наносимого легированного сурьмой оловооксидного покрытия 41 составляет от примерно 1400 до примерно 2400Å, а предпочтительно от примерно 1700 до примерно 1800Å. Когда толщина покрытия из оксида олова, легированного сурьмой в указанном интервале молярных соотношений, превышает примерно 2400Å, поглощение видимого света возрастает до уровня, при котором коэффициент пропускания видимого света становится неприемлемо низким. Однако если толщину покрытия из оксида олова, легированного сурьмой в указанном интервале молярных соотношений, уменьшить до уровня ниже примерно 1400Å, становится неприемлемо высоким общий коэффициент пропускания солнечной энергии.
Покрытие 42 из легированного фтором оксида олова понижает коэффициент излучения стеклянного изделия с покрытием по изобретению до уровня меньше 0,2, а предпочтительно меньше 0,15. Как параметр стеклопакета, низкий коэффициент излучения в зимнее время обеспечивает показатель U меньше 0,4, а предпочтительно меньше 0,35. Кроме того, было установлено, что предлагаемое в соответствии с изобретением многослойное композитное покрытие проявляет улучшенную селективность в сравнении либо с легированным фтором оловооксидным покрытием, либо с легированным сурьмой оловооксидным покрытием в отдельности.
Покрытие 42 из легированного фтором оксида олова включает достаточное количество легирующего фтора для достижения вышеуказанного коэффициента излучения. Толщина наносимого покрытия 42 из легированного фтором оксида олова составляет от примерно 2200 до примерно 3500Å, а предпочтительно от примерно 2800 до примерно 3200Å.
Подавляющий иризирование промежуточный слой 38 композитного покрытия на стеклянной подложке 36 является средством отражения, которое отражает и преломляет свет, препятствуя наблюдению иризирования. Конкретно этот слой устраняет иризирование таким образом, что при необходимости покрытое изделие может быть окрашенным в нейтральный оттенок как в отражаемом, так и пропускаемом свете. Более того, такой промежуточный слой подавляет окрашивание при наблюдении под углом.
Подавляющие иризирование покрытия в данной области техники общеизвестны. Так, например, в патентах US №4187336, 4419386 и 4206252, которые включены в настоящее описание в качестве ссылок, представлена технология нанесения покрытия, приемлемая для подавления окрашивания некоторых участков вследствие интерференции. Для применения в сочетании с настоящим изобретением приемлемы подавляющие окрашивание покрытия из одного слоя, нескольких слоев или градиентного слоя.
В двухкомпонентном промежуточном слое 38, представленном на фиг.2, который является типом подавляющего иризирование промежуточного слоя и предпочтителен для выполнения настоящего изобретения, покрытие 39, нанесенное на стеклянную подложку и связанное с ней, обладает высоким показателем преломления лучей видимой области спектра и в предпочтительном варианте выполнено из оксида олова. Второе покрытие 40, обладающее низким показателем преломления, которое наносят и закрепляют на первом покрытии этого промежуточного слоя, в предпочтительном варианте выполнено из диоксида кремния. Обычно толщину каждого покрытия выбирают с тем, чтобы промежуточный слой обладал общей оптической толщиной от примерно 1/6 до примерно 1/12 расчетной длины волны 500 нм.
Материалы стеклянных подложек, приемлемых для применения при изготовлении стеклянного изделия с покрытием, предлагаемого в соответствии с настоящим изобретением, могут включать любые обычные стеклянные композиции, известные в данной области техники как используемые при изготовлении архитектурных остеклений. Предпочтительная подложка представляет собой прозрачную ленту из флоат-стекла, на которую в горячей зоне флоат-процесса наносят покрытия по настоящему изобретению. Кроме того, для нанесения многослойного композита по изобретению могут оказаться приемлемыми подложки из слегка окрашенного стекла. Однако некоторые подложки из слегка окрашенного стекла могут оказывать влияние на спектральные характеристики и свойства энергетической прозрачности покрытий по изобретению.
Наличие такого специфического композитного покрытия на стеклянной подложке обеспечивает создание стеклянного изделия с покрытием, обладающего высоким коэффициентом пропускания видимого света, пониженным общим коэффициентом пропускания солнечной энергии и низким коэффициентом излучения. Предлагаемое по изобретению стеклянное изделие с покрытием обладает показателем селективности 13 или больше, причем селективность определяют как разницу между коэффициентом пропускания видимого света (источник света С) и общим коэффициентом пропускания солнечной энергии, интегрированным с воздушной массой 1,5 на прозрачной стеклянной подложке при номинальной толщине 3 мм. Предпочтительная селективность составляет 14 или больше, предпочтительный коэффициент пропускания видимого света равен 63% или больше, а предпочтительный общий коэффициент пропускания солнечной энергии равен 53% или меньше. Коэффициент излучения предлагаемого по изобретению изделия составляет меньше 0,2, а предпочтительно меньше 0,15. Применение предлагаемого по изобретению изделия дает возможность создать остекление, которое отражает солнечную энергию летом и обеспечивает низким показатель U зимой.
Наличие многослойных покрытий по настоящему изобретению позволяет изготовить стеклянное изделие с покрытием, проявляющее нейтральный цветовой оттенок как в отражаемом, так и пропускаемом свете. Цвет определяют состав и толщина различных слоев композита. Предпочтительное значение Ос или значение отраженного цвета а*, определенное со стороны стеклянной подложки имеющего покрытие изделия, равно от примерно 0 до примерно -6, а значение b* составляет от примерно 0 до примерно -6, как это устанавливают по шкале оценки цвета в системе CIELAB. Значение Ос под углом соответствует нейтральному цветовому оттенку благодаря (по меньшей мере частично) подобранным под пару друг к другу показателям преломления покрытий из легированного сурьмой оксида олова и легированного фтором оксида олова.
Предпочтительное значение Rf или значение отраженного цвета а*, определенное со стороны покрытия изделия с покрытием, равно от примерно 5 до примерно -5, и значение b* составляет от примерно 5 до примерно -5, как это устанавливают по шкале оценки цвета в системе CIELAB, но, как полагают, принимая во внимание объект изобретения, этот фактор решающего значения не имеет, поскольку благодаря поверхности стеклянного листа, на которую нанесено покрытие, в большинстве случаев зрителю обычно видно боковое отражение стекла. Цвет изделия с покрытием в пропускаемом свете с эстетической точки зрения является нейтральным, его значение а* составляет от примерно 2 до примерно -5, и значение b* равно от примерно 2 до примерно -5. Предпочтительное стеклянное изделие с покрытием также проявляет матовость меньше 0,8%.
Для достижения вышеупомянутого нейтрального цветового оттенка может оказаться необходимым варьирование толщины слоев оксида олова и диоксида кремния в пределах от 150 до 350Å. Важно также, что, принимая во внимание объект изобретения, нейтральность оттенка не жестко определяется математическими пределами, но также как воспринимаемый человеческим глазом цвет, отраженный поверхностью стекла (Ос), и цвет проходящих лучей.
Покрытия на изделия по изобретению можно наносить по любому из обычных методов, которые общеизвестны в данной области техники. В предпочтительном варианте эти покрытия наносят на стеклянную подложку “на потоке” химическим осаждением из паровой фазы в процессе изготовления стекла. На фиг.1 показана установка, обозначенная общей позицией 10, которую можно применять при поточном изготовлении стеклянного изделия с покрытием по настоящему изобретению, включающая флоат-секцию 11, лер 12 и секцию охлаждения 13. Во флоат-секции 11 имеются основание 14, в котором содержится ванна 15 расплавленного олова, свод 16, боковые стенки (не показаны) и торцевые стенки 17, которые совместно создают уплотнение, благодаря чему образуется закрытая зона 18, в которой поддерживают неокислительную атмосферу, как это более подробно описано ниже, с целью предотвратить окисление олова в ванне 15. В процессе работы установки 10 стекломасса 19 стекает в бассейн 20 стекловаренной печи и оттуда вытекает под дозирующей стенкой 21, направляясь далее вниз, на поверхность оловянной ванны 15, от которой материал отделяют с помощью отрывных роликов 22 и перемещают через лер 12, после чего через секцию охлаждения 13.
Неокислительную атмосферу во флоат-секции 11 поддерживают введением подходящего газа, такого как, например, газ, включающий 99 об.% азота и 1 об.% водорода, в зону 18 по патрубкам 23, которые в соответствии с технологической потребностью подключены к коллектору 24. Неокислительный газ вводят в зону 18 по патрубкам 23 с расходом, достаточным для компенсации потерь газа (некоторое количество неокислительного газа выходит из зоны 18 вследствие утечки под торцевыми стенками 17) и поддержания небольшого положительного давления, причем целесообразное превышение атмосферного давления составляет от примерно 0,001 до примерно 0,01 ат. Оловянную ванну 15 и закрытую зону 18 нагревают теплотой излучения, направленного вниз, нагревателей 25. В зоне 18 нагрева обычно поддерживают температуру примерно 1200°F. Атмосферой в лере 12, как правило, служит воздух, а секция охлаждения 13 не закрыта. С помощью вентиляторов 26 стекло обдувают окружающим воздухом.
Установка 10 включает также газораспределители 27, 28, 29 и 30, размещенные во флоат-зоне 11. Целевые смеси предшественников для нанесения индивидуальных покрытий вводят в соответствующие газораспределители, которые, в свою очередь, направляют эти смеси предшественников на горячую поверхность стеклянной ленты. Предшественники взаимодействуют с поверхностью стекла, образуя целевые покрытия.
Предлагаемое по изобретению стеклянное изделие с покрытием идеально подходит для применения в архитектурном остеклении. Стеклянное изделие с покрытием можно, например, использовать в стеклопакете. Такое стеклянное изделие с покрытием по настоящему изобретению представлено на фиг.3 в качестве внешнего стекла 45 стеклопакета 43, приемлемого для установки в конструкции здания. Стеклопакет 43 включает также внутреннее стекло 53, выполненное из стеклянного изделия и удерживаемое на определенном расстоянии от внешнего стекла 45 рамой (не показана) с помощью известных средств. Стеклянную подложку 47 по настоящему изобретению располагают обращенной относительно конструкции наружу. Многослойное покрытие 49 по настоящему изобретению обращено внутрь, причем внешнее стекло 45 отделено от внутреннего стекла 50 воздушным зазором 51.
Низкий коэффициент излучения, обеспечиваемый легированным фтором оксидом олова, улучшает эксплуатационные характеристики стеклянного изделия с покрытием летом и зимой. Энергия излучения как компонент косвенного притока тепла от стекла внутрь здания в летних условиях уменьшается благодаря низкому коэффициенту излучения покрытия. Этот фактор обозначают как уменьшение общего коэффициента пропускания солнечного тепла (ОКПСТ). ОКПСТ определяют как включающий коэффициент солнечной энергии, проходящей непосредственно через стекло, и коэффициент солнечной энергии, поглощаемой стеклом и впоследствии конвектируемой и термически излучаемой внутрь. Однако более важное преимущество эксплуатационных характеристик проявляется в зимних условиях, когда при низком коэффициенте излучения покрытия показатель U структуры остекления существенно уменьшается. Показатель U или общий коэффициент теплопередачи обратно пропорционален тепловому сопротивлению структуры. Уменьшение показателя U означает уменьшение теплопотерь через стекло за счет переноса тепла изнутри наружу, следствием чего является экономия энергетических затрат. Таким образом, низкий коэффициент излучения стеклянного изделия с покрытием в совокупности с неожиданно селективным поглощением солнечной энергии многослойным композитом обеспечивают улучшенный отвод тепла летом и удержание тепла зимой.
Готовый стеклопакет, в котором используют предлагаемое по настоящему изобретению стеклянное изделие с покрытием, проявляет особые коэффициент пропускания и спектральные свойства. Благодаря низкому коэффициенту излучения поверхности 49 (фиг.3) показатель U составляет меньше 0,4, а предпочтительно меньше 0,35. Общий коэффициент пропускания солнечного тепла стеклопакета равен 48% или меньше. Такой стеклопакет проявляет также коэффициент пропускания видимого света (источник света С) 59% или больше.
Стеклопакет характеризуется нейтральным цветовым оттенком как в отражаемом, так и пропускаемом свете.
Следующие примеры, которые, как предполагают в настоящее время, составляют наилучший вариант выполнения изобретения, приведены только с целью дальнейшей иллюстрации и описания настоящего изобретения, поэтому их не следует рассматривать как ограничивающие объем изобретения.
Прогнозируемые примеры с 1 по 15
Флоат-процесс проводят для изготовления стеклянной флоат-ленты, толщина которой составляет 1/8 дюйма. Во время изготовления этой стеклянной флоат-ленты на стеклянную подложку на флоат-ванне с применением обычных методов химического осаждения из паровой фазы последовательно наносят заданные покрытия толщиной, которая указана в таблице 1 (в ангстремах). Смесь предшественников для разных оловооксидных покрытий включает диметилоловодихлорид, кислород, воду и гелий в качестве газообразного носителя. В случае легированного сурьмой оксида олова смесь предшественника включает также трихлорид сурьмы в этилацетате, тогда как в случае легированного фтором оксида олова смесь предшественников включает также фтористоводородную кислоту. Смесь предшественников для кремнийдиоксидного покрытия включает моносилан, этилен и кислород, а также газообразный носитель. В каждом случае слой легированного сурьмой оксида олова характеризуется значением молярного соотношения между сурьмой и оловом 0,07.
Примеры с 1 по 4, 9 и 12 приведены для сравнительных целей, поскольку в них предусмотрено покрытие из легированного сурьмой оксида олова, но отсутствует покрытие из оксида олова, легированного фтором. Также для сравнительных целей приведены примеры 5, 6, 10, 11 и 13, поскольку в них предусмотрено покрытие из легированного фтором оксида олова, но отсутствует покрытие из оксида олова, легированного сурьмой.
В каждом примере для готового стеклянного изделия с покрытием рассчитывали коэффициент пропускания видимого света (Пвид.), общий коэффициент пропускания солнечной энергии (Псолн.) и селективность (Пвид-Псолн.).
Результаты сведены в таблицу 1.
| Таблица 1 |
| Прим. |
SnO2 |
SiO2 |
SnO2:Sb |
SnO2:F |
Пвид. (%) |
Псолн. (%) |
Пвид.Псолн. |
| 1 |
250 |
250 |
1500 |
0 |
68,76 |
57,49 |
11,25 |
| 2 |
250 |
250 |
1800 |
0 |
65,22 |
53,66 |
11,56 |
| 3 |
250 |
250 |
2400 |
0 |
59,51 |
47,03 |
12,48 |
| 4 |
250 |
250 |
4500 |
0 |
43,5 |
30,87 |
12,63 |
| 5 |
250 |
250 |
0 |
2400 |
82,52 |
74,31 |
8,21 |
| 6 |
250 |
250 |
0 |
3000 |
84,05 |
73,14 |
10,91 |
| 7 |
250 |
250 |
1800 |
3000 |
63,64 |
49,63 |
14,01 |
| 8 |
250 |
250 |
2400 |
2400 |
57,32 |
44,26 |
13,06 |
| 9 |
0 |
0 |
4800 |
0 |
41,56 |
29,36 |
12,2 |
| 10 |
0 |
0 |
0 |
4500 |
82,91 |
70,81 |
12,1 |
| 11 |
0 |
0 |
0 |
4800 |
81,89 |
70,89 |
11,0 |
| 12 |
250 |
250 |
4800 |
0 |
41,51 |
29,16 |
12.35 |
| 13 |
250 |
250 |
0 |
4800 |
82,36 |
70,46 |
11,9 |
| 14 |
250 |
250 |
4800 |
4800 |
39,79 |
27,18 |
12,61 |
| 15 |
250 |
250 |
1500 |
3000 |
66,77 |
52,76 |
14,01 |
| 16 |
240 |
200 |
1800 |
3000 |
63,63 |
49,69 |
13,94 |
| 17 |
220 |
200 |
1500 |
3000 |
66,82 |
52,88 |
13,94 |
Из изучения результатов вышеприведенных примеров очевидна повышенная селективность, достигнутая с помощью многослойного композитного покрытия по изобретению. Так, в частности, следует отметить, что селективность стеклянного изделия примера 12, которое включает двухслойный подавляющий проявление цветового эффекта промежуточный слой и слой легированного сурьмой оксида олова толщиной 4800 Å, равна 12,35. Селективность стеклянного изделия примера 13, которое включает такое же двухслойное промежуточное покрытие, подавляющее проявление цветового эффекта, и слой легированного фтором оксида олова толщиной 4800 Å, составляет всего 11,9.
В отличие от этого у стеклянного изделия с покрытием примера 8 имеется аналогичный двухслойный подавляющий проявление цветового эффекта промежуточный слой из слоев толщиной 2400 Å для легированного сурьмой оксида олова и толщиной 2400 Å для легированного фтором оксида олова. Таким образом, несмотря на наличие покрытия такой же общей толщины селективность у изделия примера 8 составляет 13,06, хотя значение его Пвид. равно всего 57,32 вследствие относительно толстого покрытия из легированного сурьмой оксида олова. У стеклянного изделия с покрытием примера 7 имеется такой же двухслойный подавляющий проявление цветового эффекта промежуточный слой из слоев толщиной 1800 Å для легированного сурьмой оксида олова и толщиной 3000 Å для легированного фтором оксида олова. Изделие примера 7 также снабжено покрытием идентичной общей толщины, но его селективность составляет 14,01 при Пвид. 63,64 и Псолн. 49,63.
Дальнейший анализ данных примеров 16 и 17 в таблице 1 показывает, что “регулирование свойств”, подавляющих проявление цветового эффекта слоев с целью повысить нейтральность оттенка, можно осуществлять при сохранении селективности выше 13. Прогнозированное значение цвета в пропускаемом свете материала примера 16 для (П) а* составляет -1,87, а b* равно -0,03, а значение цвета в отраженном поверхностью стекла свете для (Ос) а* равно -5,97, а b* составляет -3,88. Сравнительные значения цвета материала примера 17 составляют для (П) а*:-1,58 и b*:0,65; для (Ос) а*:-3,45 и b*:-5,29. Из сопоставления цветовых значений для примеров 7 и 15, которые являются прогнозируемыми цветовыми значениями соответственно для (П) а*:-1,8, b*:-0,13 и для (Ос) а*:-6,21, b*:-3,49 и для (П) а*:-2,15, b*:-1,14 и для (Ос) а*:-0,81 и b*:-7,33, очевидно, что варьированием толщины слоя можно оказывать значительное влияние на цвет, который, однако, все еще остается в целевых цветовых пределах для придания окрашенному стеклу эстетически приятного “нейтрального” оттенка.
Формула изобретения
1. Стеклянное изделие с покрытием, включающее
стеклянную подложку;
покрытие на основе оксида олова, нанесенное и связанное со стеклянной подложкой, и
покрытие из легированного фтором оксида олова, нанесенное и связанное с покрытием на основе оксида олова, отличающееся тем, что
покрытие на основе оксида олова представляет собой покрытие из легированного сурьмой оксида олова, толщина которого находится от примерно 1400 до примерно 2400 Å, покрытие из легированного фтором оксида олова имеет толщину от примерно 2000 до примерно 3500 Å, при этом стеклянное изделие с покрытием проявляет такую разницу между коэффициентом пропускания видимого света (источник света С) и общим коэффициентом пропускания солнечной энергии, интегрированным с воздушной массой 1,5 на прозрачной стеклянной подложке при номинальной толщине 3 мм, которая обеспечивает селективность 13 или больше.
2. Стеклянное изделие с покрытием по п. 1, отличающееся тем, что толщина покрытия из легированного сурьмой оксида олова находится в пределах от примерно 1400 до примерно 1900 Å.
3. Стеклянное изделие с покрытием по п. 2, отличающееся тем, что толщина покрытия из легированного сурьмой оксида олова составляет от примерно 1700 до примерно 1800 Å.
4. Стеклянное изделие с покрытием по п. 1, отличающееся тем, что толщина покрытия из легированного фтором оксида олова находится в пределах от примерно 2200 до примерно 3500 Å.
5. Стеклянное изделие с покрытием по п. 4, отличающееся тем, что толщина покрытия из легированного фтором оксида олова составляет от примерно 2800 до примерно 3200 Å.
6. Стеклянное изделие с покрытием по п. 1, отличающееся тем, что коэффициент излучения этого стеклянного изделия с покрытием меньше или равен примерно 0,2.
7. Стеклянное изделие с покрытием по п. 6, отличающееся тем, что коэффициент излучения этого стеклянного изделия с покрытием меньше или равен примерно 0,15.
8. Стеклянное изделие с покрытием по п. 1, отличающееся тем, что стеклянная подложка представляет собой прозрачную стеклянную флоат-ленту.
9. Стеклянное изделие с покрытием по п. 1, отличающееся тем, что это изделие в отраженном свете со стороны стеклянной подложки проявляет нейтральный цветовой оттенок, значение а* которого равно от примерно 0 до примерно -6 и значение b* составляет от примерно 0 до примерно -6, как это устанавливают по шкале оценки цвета в системе CIELAB.
10. Стеклянное изделие с покрытием по п. 1, отличающееся тем, что значение молярного отношения между сурьмой и оловом в покрытии из легированного сурьмой оксида олова находится в пределах от примерно 0,05 до 0,12.
11. Стеклянное изделие с покрытием по п. 1, отличающееся тем, что коэффициент пропускания излучения в видимой области спектра (источник света С) этого стеклянного изделия с покрытием составляет 63% или больше, а общий коэффициент пропускания солнечной энергии, интегрированный с воздушной массой 1,5, на прозрачной стеклянной подложке при номинальной толщине 3 мм равен 53% или меньше.
12. Стеклянное изделие с покрытием по п. 1, отличающееся тем, что коэффициент пропускания излучения в видимой области спектра (источник света С) этого стеклянного изделия с покрытием составляет 59% или больше, а общий коэффициент пропускания солнечной энергии, интегрированный с воздушной массой 1,5, на прозрачной стеклянной подложке при номинальной толщине 3 мм равен 49% или меньше.
13. Стеклянное изделие с покрытием по п. 1, отличающееся тем, что дополнительно включает подавляющий иризирование промежуточный слой между стеклянной подложкой и покрытием из легированного сурьмой оксида олова.
14. Стеклянное изделие с покрытием по п. 13, отличающееся тем, что коэффициент пропускания излучения в видимой области спектра (источник света С) этого стеклянного изделия с покрытием составляет 63% или больше, а общий коэффициент пропускания солнечной энергии, интегрированный с воздушной массой 1,5, на прозрачной стеклянной подложке при номинальной толщине 3 мм равен 53% или меньше, и где оно в отраженном свете со стороны стеклянной подложки проявляет нейтральный цветовой оттенок, значение а* которого равно от примерно 0 до примерно -6 и значение b* составляет от примерно О до примерно -6, как это устанавливают по шкале оценки цвета в системе CIELAB.
15. Стеклянное изделие с покрытием по п. 13, отличающееся тем, что подавляющий иризирование промежуточный слой включает слой из нелегированного оксида олова и слой диоксида кремния, нанесенный и связанный с этим слоем из нелегированного оксида олова.
16. Стеклянное изделие с покрытием по п. 15, отличающееся тем, что общая оптическая толщина слоя нелегированного оксида олова и слоя диоксида кремния составляет от 1/6 до 1/12 расчетной длины волны 500 нм.
17. Стеклянное изделие с покрытием по п. 15, отличающееся тем, что толщина слоя нелегированного оксида олова находится в пределах примерно от 150 до 350 Å и толщина слоя диоксида кремния находится в пределах примерно от 150 до 350 Å.
18. Стеклопакет, включающий
первую стеклянную подложку;
вторую стеклянную подложку, у которой имеются внутренняя поверхность и внешняя поверхность, причем эта вторая стеклянная подложка прочно связана с первой стеклянной подложкой с некоторым зазором между ними, а ее внутренняя поверхность обращена к первой стеклянной подложке; и
многослойное композитное покрытие, нанесенное и связанное с внутренней поверхностью второй стеклянной подложки, включающее покрытие из легированного фтором оксида олова, толщина которого находится в пределах от примерно 2200 до примерно 3500 Å, отличающееся тем, что многослойное композитное покрытие представляет собой покрытие, включающее
покрытие из легированного сурьмой оксида олова, нанесенное и связанное с внутренней поверхностью второй стеклянной подложки, причем толщина этого покрытия из легированного сурьмой оксида олова находится в пределах от примерно 1400 до 1900 Å,
покрытие из легированного фтором оксида олова, нанесенное и связанное с покрытием из легированного сурьмой оксида олова, причем толщина этого покрытия из легированного фтором оксида олова находится в пределах от примерно 2200 до 3500 Å; и
это многослойное покрытие таково, что вторая стеклянная подложка проявляет такую разницу между коэффициентом пропускания излучения в видимой области спектра (источник света С) и общим коэффициентом пропускания солнечной энергии, интегрированным с воздушной массой 1,5, на прозрачной стеклянной подложке при номинальной толщине 3 мм, которая обеспечивает селективность 13 или больше.
19. Стеклопакет по п. 18, отличающийся тем, что показатель U этого стеклопакета составляет меньше 0,4.
20. Стеклопакет по п. 18, где показатель U этого стеклопакета по крайней мере на 15% меньше показателя U у стеклопакета такой же конструкции, в котором использовано два оконных стекла без покрытия.
21. Стеклопакет по п. 18, в котором общий коэффициент пропускания солнечной энергии по крайней мере на 25% меньше общего коэффициента пропускания солнечной энергии у стеклопакета такой же конструкции, в котором использовано два оконных стекла без покрытия.
РИСУНКИ
MM4A – Досрочное прекращение действия патента СССР или патента Российской Федерации на изобретение из-за неуплаты в установленный срок пошлины за поддержание патента в силе
Дата прекращения действия патента: 03.08.2009
Извещение опубликовано: 20.09.2010 БИ: 26/2010
|
|