|
|
(21), (22) Заявка: 2004132819/15, 10.11.2004
(24) Дата начала отсчета срока действия патента:
10.11.2004
(45) Опубликовано: 20.04.2006
(56) Список документов, цитированных в отчете о поиске:
SU 1353738 А2, 23.11.1987. SU 1194844 А, 30.11.1985. ЯКОВЛЕВ С.В., ВОРОНОВ Ю.В. Водоотведение и очистка сточных вод, М, АСВ, 2002, с.630.
Адрес для переписки:
344006, г.Ростов на-Дону, ул.Большая Садовая, 81, кв.56, С.В.Посупонько
|
(72) Автор(ы):
Климухин Владимир Дмитриевич (RU), Посупонько Сергей Васильевич (RU), Серпокрылов Николай Сергеевич (RU)
(73) Патентообладатель(и):
Климухин Владимир Дмитриевич (RU), Посупонько Сергей Васильевич (RU), Серпокрылов Николай Сергеевич (RU)
|
(54) УСТАНОВКА ДЛЯ ОЧИСТКИ ПОВЕРХНОСТНОГО СТОКА
(57) Реферат:
Изобретение относится к сооружениям по очистке и регулированию поверхностного стока от механических примесей и нефтепродуктов и может быть использовано для очистки поверхностного стока населенных мест и промышленных предприятий, особенно расположенных в условиях стесненных площадей, а также дренажных вод. Установка для очистки поверхностного стока содержит подъемно-регулирующий резервуар с подводящим коллектором и переливным трубопроводом, корпус, разделенный продольными перегородками на аккумулирующие камеры, камеру чистой воды и отстойную камеру, оборудованные приспособлениями для удаления осадка и всплывающих загрязнений, сифоны, смонтированные через одно отделение камер, водоподъемные насосы, фильтры с зернистой загрузкой, трубопроводы подачи и отвода вод, осадка и плавающих веществ, узел обезвоживания осадка, вертикальную сетчатую шахту. Аккумулирующая камера, смежная с отстойной камерой, разделена на два сообщающихся отделения. Отстойная камера снабжена струенаправляющей перегородкой и жестко закрепленными лотками. Отстойная камера и первое отделение смежной аккумулирующей камеры имеют общие приспособления для отвода плавающих веществ. В последней аккумулирующей камере выполнен переливной трубопровод. В камере чистой воды расположены гравитационные зернистые фильтры первой ступени с трубопроводами и сборный карман очищенных вод. Напорные зернистые фильтры второй ступени размещены над подъемно-регулирующим резервуаром и аккумулирующими камерами. Технический результат: повышение качества очищенной воды и снижение энергетических затрат. 7 з.п. ф-лы, 3 ил. 
Изобретение относится к сооружениям по очистке и регулированию поверхностного стока от механических примесей и нефтепродуктов и может быть использовано для очистки поверхностного стока населенных мест и промышленных предприятий, особенно расположенных в условиях стесненных площадей, а также дренажных вод.
Известна установка для очистки и регулирования поверхностного стока, включающая регулирующий резервуар для накопления и частичной очистки дождевых сточных вод отстаиванием и фильтрованием через фильтр из пористого бетона в условиях существующей застройки (М.И.Алексеев, А.М.Курганов. Организация отведения поверхностного (дождевого и талого) стока с урбанизированных территорий: Учеб. пособие. – М.: АСВ. – 2000. – 352 с., рис.7.14). Установка включает корпус, в котором выделена камера разделения исходных и очищенных вод, между ними смонтирована фильтрующая перегородка из пористого бетона. Очистке подвергаются первые, наиболее концентрированные, порции загрязненного поверхностного стока. Задержанные загрязнения насосом подаются на узел обезвоживания.
Недостатком данного технического решения является малая эффективность очистки вод вследствие отсутствия выведения из установки выделенных загрязнений в виде листьев, веток, пластмассовых бутылок, пакетов и т.п., промывных вод фильтров, сбрасываемых в отводящий коллектор, а также необходимость заглубления резервуара при накоплении избыточного расхода дождевых вод или дренажных вод, что в целом ухудшает экономические и экологические характеристики установки.
Наиболее близким по технической сущности является установка для очистки поверхностного стока, содержащая подъемно-регулирующий резервуар с подводящим коллектором в нижней части и переливным трубопроводом в верхней части, корпус, разделенный продольными перегородками на аккумулирующие камеры, которые выполнены с переливными щелями, каждая из которых снабжена коробом-козырьком, размещенным ниже слоя всплывших нефтепродуктов, камеру чистой воды и отстойную камеру, оборудованные приспособлениями для удаления осадка и всплывающих загрязнений, сифоны между камерами, водоподъемные насосы, фильтры с зернистой загрузкой (отходы производства эластичного пенополиуретана), трубопроводы подачи и отвода вод, осадка и плавающих веществ, узел обезвоживания осадка (авт. свид. СССР №1353738, С 02 F 1/00.)
Данное техническое решение принято за прототип.
Недостатком прототипа является низкая эффективность очистки, не обеспечивающая нормативные требования к сбросу очищенных вод в рыбохозяйственные водоемы или их использования для нужд технического водоснабжения, а также повышенные затраты электроэнергии на перекачку всего объема аккумулируемых сточных вод.
Задачей данного изобретения является повышение качества очищенной воды и снижение энергетических затрат.
Указанная задача достигается тем, что установка для очистки поверхностного стока, содержащая подъемно-регулирующий резервуар с подводящим коллектором в нижней части и переливным трубопроводом в верхней части, корпус, разделенный продольными перегородками на аккумулирующие камеры, камеру чистой воды и отстойную камеру, оборудованные приспособлениями для удаления осадка и всплывающих загрязнений, сифоны между камерами, водоподъемные насосы, фильтры с зернистой загрузкой, трубопроводы подачи и отвода вод, осадка и плавающих веществ, узел обезвоживания осадка, причем подъемно-регулирующий резервуар оборудован вертикальной сетчатой шахтой, смежная с отстойной камерой аккумулирующая камера разделена на два сообщающихся отделения, а отстойная камера снабжена вертикальной, не доходящей до дна, поперечной струенаправляющей перегородкой и жестко закрепленными лотками, отводящими воды во второе отделение смежной аккумулирующей камеры, отстойная камера и первое отделение смежной аккумулирующей камеры имеют общие приспособления для отвода плавающих веществ, при этом сифоны смонтированы через одно отделение, в последней по направлению течения воды аккумулирующей камере выполнен переливной трубопровод, расположенный выше сифонов, и в камере чистой воды расположены гравитационные зернистые фильтры первой ступени с трубопроводами и сборный карман очищенных вод, а напорные зернистые фильтры второй ступени размещены над подъемно-регулирующим резервуаром и аккумулирующими камерами.
Помимо этого, сетчатая шахта выполнена с дном в нижней части и открытым в верхней части и оборудована приспособлениями для сбора и удаления плавающих загрязнений. Также подъемно-регулирующий резервуар имеет отверстия, оборудованные заглушками с противовесами.
При этом гравитационные зернистые фильтры первой ступени выполнены с радиальным направлением фильтрования, преимущественно от центра к периферии, и на трубопроводах исходной воды смонтированы обратные клапаны, а зернистая загрузка фильтров выполнена преимущественно из антрацита.
К тому же, сборный карман очищенных вод отделен от камеры чистой воды переливной стенкой.
Кроме того, узел обезвоживания осадка оборудован приспособлениями послойного отвода отделенной жидкости.
А каждая последующая аккумулирующая камера имеет отметки дна ниже предыдущей при равенстве расчетной высоты слоя жидкости.
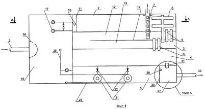
На фиг.1 изображена установка для очистки поверхностного стока (план по 1-1), на фиг.2 представлен разрез по (А-А) установки для очистки поверхностного стока, на фиг.3 – узел А.
Установка состоит из подводящего коллектора 1, отстойной камеры 2, аккумулирующих камер 3 и 4, камеры чистой воды 5, жестко закрепленных лотков 6 и приспособлений для сбора и удаления плавающих загрязнений 7, сифонов 8 и 9. Отстойная камера 2 имеет заглушки 10 и вертикальную, не доходящую до дна, поперечную струенаправляющую перегородку 11, а смежная с отстойной камерой 2 аккумулирующая камера 3 разделена на два сообщающихся отделения 12 и 13 продольной перегородкой 14.
В подъемно-регулирующем резервуаре 15 установки смонтированы сетчатая шахта 16 с дном в нижней и открытая в верхней части, водоподъемные насосы 17, приспособление для удаления осадка, например гидроэлеватор 18, оборудованный трубопроводами подачи рабочей жидкости 19 и осадка 20, гравитационные зернистые фильтры первой ступени с радиальным направлением фильтрования 21, оборудованные трубопроводами подачи осветленных вод с обратными клапанами 22, подачи и отвода промывных вод 23. Напорные зернистые фильтры второй ступени 24 оборудованы трубопроводами подачи 25 воды на фильтрование на фильтры второй ступени и отвода 26 очищенных вод в сборный карман очищенных вод 27, а также трубопроводами подачи вод на промывку 28 и отвода промывных вод 29. Сборный карман очищенных вод 27 сообщается с камерой чистой воды 5 через переливную стенку 30 и с последней аккумулирующей камерой 4 через переливной трубопровод 31 и имеет трубопровод отвода очищенных вод 32. В установке выполнены узлы обезвоживания осадка 33 с приспособлениями послойного отвода отделенной жидкости и дренажных вод 34, выгрузки обезвоженного осадка 35, а также приготовления и дозирования реагентов 36 и обеззараживания 37.
Установка работает следующим образом.
Поверхностный сток поступает из подводящего коллектора 1 дождевой сети водоотведения в подъемно-регулирующий резервуар 15 и проходит через сетчатую шахту 16, в которой задерживаются, собираются и периодически удаляются крупные загрязнения (пластик, бумага, листва и т.п.).
Сточная вода накапливается в подъемно-регулирующем резервуаре 15 до уровня У1, после чего ее уровень повышается за счет частичного подтопления колодцев дождевой сети водоотведения без выхода воды на поверхность. Вода поступает в отстойную камеру 2 через отверстие с заглушкой 10, после закрытия которой уровень воды повышается до отметки У2. Далее с помощью реле уровня включаются водоподъемные насосы 17, подающие сточную воду в отстойную камеру 2 через вертикальную, не доходящую до дна, поперечную струенаправляющую перегородку 11. В нее поступают также промывные воды фильтров по трубопроводу 29, а также после обезвоживания твердой фазы по приспособлениям для послойного отвода жидкости 34. Отстоянная в отстойной камере 2 жидкость собирается лотком 6 и по нему отводит воды во второе отделение 13 аккумулирующей камеры 3. При превышении отводной способности лотка 6 отстоянная жидкость отводится по сифону 9 во второе отделение 13 аккумулирующей камеры 3. Очищаемая сточная жидкость последовательно проходит второе 13 и первое отделения 12 и через сифоны 8 поступает в аккумулирующую камеру 4. При этом плавающие нефтепродукты перемещаются по поверхности очищаемой жидкости к приспособлениям для сбора и удаления плавающих загрязнений 7, откуда поступают в накопитель нефтепродуктов для утилизации.
При дальнейших поступлениях стока в 2 производятся аналогичные сработки сифонов 9 из отстойной камеры в аккумулирующую емкость 3. Это в свою очередь вызывает повышение уровня воды в ней и срабатывание сифонов 8 из аккумулирующей емкости 3 в аккумулирующую емкость 4. И так далее движение воды осуществляется аналогично: количество аккумулирующих емкостей зависит от требований к системе дождевого водоотведения и интенсивности осадков. При этом каждая последующая аккумулирующая камера имеет отметки дна ниже предыдущей при равенстве расчетной высоты слоя жидкости.
Из последней по направлению движения очищаемой воды аккумулирующей камеры (в приводимом примере – 4) по трубопроводам подачи осветленных вод с обратными клапанами 22 вода самотеком поступает на гравитационные зернистые фильтры 21 первой ступени с радиальным направлением фильтрования, из которых изливается в камеру чистой воды 5, а далее насосами по напорным трубопроводам 25 подается на напорные зернистые фильтры второй ступени 24, пройдя которые по трубопроводу очищенных вод 26 направляется в сборный карман очищенных вод 27. Сюда же при превышении расчетных расходов стока через переливную стенку 27 поступает очищенная на фильтрах первой ступени 21 вода, а также через переливной трубопровод 31 из последней аккумулирующей камеры 4 отводится излишек осветленной жидкости.
Смешиваясь в сборном кармане очищенных вод 27, вода по трубопроводу очищенных вод 32 отводится из установки. В расчетном режиме отвод очищенных вод по трубопроводу 32 ведется только после напорных зернистых фильтров второй ступени. В случае необходимости для увеличения эффективности очистки вод предусмотрен узел приготовления и дозирования коагулянтов 36 с вводом их в отстойную камеру или на фильтры.
При прекращении или снижении интенсивности дождя ниже расчетной величины начинает опорожняться сеть водоотведения и понижается уровень в подъемно-регулирующем резервуаре 15. Заглушки 10 препятствуют изливу отстоянной воды в подъемно-регулирующий резервуар 15. Для обработки аккумулированной воды в 3 и 4 и в отстойной камере 2 насосами продолжается отбор очищенных на фильтрах первой ступени вод, что вызывает понижение уровня жидкости в камере чистой воды 5. Это вызывает увеличение скорости фильтрования в гравитационных зернистых фильтрах первой ступени с радиальным направлением фильтрования 21 вследствие уменьшения подпора в изливающейся воде, что приведет к падению уровня жидкости в аккумулирующей камере 4. Разница в отметках уровней жидкости в 4 и 3 приведет к срабатыванию сифонов 8 между этими камерами и вызовет срабатывание сифонов между отстойной камерой 2 и аккумулирующей камерой 3. Последовательное срабатывание сифонов в указанном режиме приведет к обработке накопленных объемов дождевого стока.
В период обработки накопленных объемов дождевого стока (или режимной очистки вод) производится удаление осевших взвешенных веществ за счет перемещения осадка из отстойной камеры 2 в подъемно-регулирующий резервуар 15. Гидроэлеватор 18 забирает перемещенный осадок и по трубопроводу шлама 20 подает его на узел обезвоживания 33, имеющий приспособления 34 для послойного отвода отделенной жидкости. Обезвоженный осадок выгружается 37 и отправляется на утилизацию.
Формула изобретения
1. Установка для очистки поверхностного стока, содержащая подъемно-регулирующий резервуар с подводящим коллектором в нижней части и переливным трубопроводом в верхней части, корпус, разделенный продольными перегородками на аккумулирующие камеры, камеру чистой воды и отстойную камеру, оборудованные приспособлениями для удаления осадка и всплывающих загрязнений, сифоны между камерами, водоподъемные насосы, фильтры с зернистой загрузкой, трубопроводы подачи и отвода вод, осадка и плавающих веществ, узел обезвоживания осадка, отличающаяся тем, что подъемно-регулирующий резервуар оборудован вертикальной сетчатой шахтой, смежная с отстойной камерой аккумулирующая камера разделена на два сообщающихся отделения, отстойная камера снабжена вертикальной не доходящей до дна поперечной струенаправляющей перегородкой и жестко закрепленными лотками, отводящими воды во второе отделение смежной аккумулирующей камеры, отстойная камера и первое отделение смежной аккумулирующей камеры имеют общие приспособления для отвода плавающих веществ, при этом сифоны смонтированы через одно отделение, в последней по направлению течения воды аккумулирующей камере выполнен переливной трубопровод, расположенный выше сифонов, и в камере чистой воды расположены гравитационные зернистые фильтры первой ступени с трубопроводами и сборный карман очищенных вод, а напорные зернистые фильтры второй ступени размещены над подъемно-регулирующим резервуаром и аккумулирующими камерами.
2. Установка по п.1, отличающаяся тем, что сетчатая шахта выполнена с дном в нижней части и открытой в верхней части и оборудована приспособлениями для сбора и удаления плавающих загрязнений.
3. Установка по п.1, отличающаяся тем, что подъемно-регулирующий резервуар имеет отверстия, оборудованные заглушками с противовесами.
4. Установка по п.1, отличающаяся тем, что гравитационные зернистые фильтры первой ступени выполнены с радиальным направлением фильтрования преимущественно от центра к периферии и на трубопроводах исходной воды смонтированы обратные клапаны.
5. Установка по п.1, отличающаяся тем, что зернистая загрузка фильтров выполнена преимущественно из антрацита.
6. Установка по п.1, отличающаяся тем, что сборный карман очищенных вод отделен от камеры чистой воды переливной стенкой.
7. Установка по п.1, отличающаяся тем, что узел обезвоживания осадка оборудован приспособлениями послойного отвода отделенной жидкости.
8. Установка по п.1, отличающаяся тем, что каждая последующая аккумулирующая камера имеет отметки дна ниже предыдущей при равенстве расчетной высоты слоя жидкости.
РИСУНКИ
MM4A – Досрочное прекращение действия патента СССР или патента Российской Федерации на изобретение из-за неуплаты в установленный срок пошлины за поддержание патента в силе
Дата прекращения действия патента: 11.11.2006
Извещение опубликовано: 20.06.2008 БИ: 17/2008
|
|