|
(21), (22) Заявка: 2004120596/12, 05.07.2004
(24) Дата начала отсчета срока действия патента:
05.07.2004
(45) Опубликовано: 20.04.2006
(56) Список документов, цитированных в отчете о поиске:
SU 409922 A1, 05.01.1974. SU 4245451 A1, 23.12.1988. SU 969604 А1, 30.10.1982. JP 7112716 A, 02.05.1995.
Адрес для переписки:
422546, Республика Татарстан, г. Зеленодольск, ул. Привокзальная, 4, ФГУП “ПО “Завод им. Серго”
|
(72) Автор(ы):
Залялиев Юнус Гараевич (RU), Каргин Виталий Алексеевич (RU), Ларюхин Александр Михайлович (RU)
(73) Патентообладатель(и):
Федеральное государственное унитарное предприятие “Производственное объединение “Завод имени Серго” (RU)
|
(54) УСТРОЙСТВО ДЛЯ УКЛАДКИ ШТУЧНЫХ ПРЕДМЕТОВ
(57) Реферат:
Изобретение относится к устройствам, предназначенным для укладки штучных предметов, а именно пыжей охотничьих патронов в гильзы, и может быть использовано в сборочном производстве. Устройство для укладки штучных предметов содержит плиту для размещения емкости, снабженную колонками, на которых установлены в два уровня втулки, втулки нижнего уровня снабжены направляющими для установки кассеты с предметами, а втулки верхнего уровня имеют направляющие для размещения съемника со штырями. Втулки нижнего и верхнего уровней выполнены параллельно друг другу, при этом кассета и съемник выполнены сменными. Изобретение повышает надежность работы устройства и расширяет технологические возможности. 2 ил. 
Изобретение относится к устройствам, предназначенным для укладки штучных предметов, а именно пыжей охотничьих патронов в гильзы, и может быть использовано в сборочном производстве машиностроения, фармацевтической, пищевой и других отраслях промышленности.
Известно устройство для укладки штучных предметов в емкость, содержащее плиту для размещения емкости, кассету с предметами (смотри А.С. СССР N 710868, МПК В 65 В 5/10).
Недостатками устройства являются низкая надежность укладки предметов в емкость из-за возможной задержки их в кассете при отсутствии принудительной подачи, а также сужение технологических возможностей ввиду длительности переналадки (смены поз.7, 8, 9, 12, и 13) механизмов устройства при укладке предметов другого типоразмера.
Наиболее близким к изобретению по технической сущности и достигаемому результату является устройство для укладки штучных предметов, содержащее плиту 10 для размещения емкости 22, кассету 5 с предметами, съемник 8 со штырями 9 с возможностью перемещения по вертикали, толкатели 11 (смотри А.С. СССР N 409922, МПК В 65 В 5/10).
Недостатки этого устройства заключаются в сложности конструкции и ненадежности укладки штучных предметов в емкость из-за их дополнительных перемещений и кантований (поворачиваний).
Кроме этого при укладке предметов другого типоразмера необходима значительная и трудоемкая смена узлов устройства, что сужает технологические возможности устройства.
Технический результат предлагаемого изобретений выражается в повышении надежности работы устройства и в расширении технологических возможностей.
Это достигается тем, что устройство для укладки штучных предметов, содержащее плиту для размещения емкости, кассету с предметами, съемник со штырями с возможностью перемещения по вертикали, толкатели, плита снабжена колонками, на которых установлены в два уровня втулки, втулки нижнего уровня снабжены направляющими для установки кассеты с предметами, а втулки верхнего уровня имеют направляющие для размещения съемника со штырями, втулки нижнего и верхнего уровней связаны между собой подпружиненными штангами, направляющие нижнего и верхнего уровней выполнены параллельно друг другу, при этом кассета и съемник выполнены сменными.
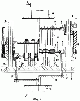
На фиг.1 изображено устройство для укладки штучных предметов, вертикальный разрез;
на фиг.2 – разрез А-А. на фиг.1.
Устройство содержит стол 1, на котором установлена плита 2, на колонках 3 которой установлены в два уровня втулки 4. Втулки нижнего уровня снабжены направляющими 5 для установки кассеты 6.
Кассета 6 выполнена съемной и имеет ложементы 7, в которые укладываются предметы 8 (например, пыжи для охотничьих патронов).
Втулки 4 верхнего уровня также снабжены направляющими 5 для размещения съемника 9 со штырями 10.
Втулки 4 нижнего и верхнего уровней связаны между собой подпружиненными штангами 11 с пружинами 12. Направляющие 5 нижнего и верхнего уровней выполнены параллельно друг другу.
Кассеты 6 и съемник 9 выполнены сменными. Для удобства их смены имеются ручки 13.
Перемещение съемника 9 осуществляется пневмоцилиндром 14.
Кассета 6 имеет возможность перемещения вверх от пневмоцилиндра 15 через планку 16 от толкателей 17.
Плита 2 снабжена направляющими 18 для установки и перемещения по ним емкости 19, в ячейках которой находится тара 20 (например, гильзы охотничьих патронов).
Устройство работает следующим образом.
На стол 1 по направляющим 18 подается емкость 19, в ячейках которой находится тара 20.
В направляющие 5 нижнего яруса устанавливается кассета 6, в ложементах 7 которой уложены предметы 8. Ходом вниз пневмоцилиндра 14 происходит перемещение съемника 9 и через пружины 12 кассеты 6, при этом ложементы 7 находят на верхний торец тары 20, охватывают ее (тару), при дальнейшем перемещении съемника 9 его штыри 10 подают предметы 8 в полость тары 20.
Затем от пневмоцилиндра 14 съемник 9 возвращается в исходное верхнее положение, а от пневмоцилиндра 15 через планку 16 и толкатели 17 возвращают кассеты 6 также в исходное положение.
При установке следующей емкости 19 и кассеты 6 с предметами цикл повторяется.
При смене типоразмера предметов 8 подается сменная емкость 19 с тарой 20, устанавливается сменная кассета 6 с ложементами под другой типоразмер предметов и сменный съемник 9 со штырями 10.
Таким образом, описанное устройство позволяет надежно укладывать штучные предметы в тару, расширить технологические возможности за счет быстрой смены кассеты, съемника при укладке предметов другого типоразмера.
Предлагаемое изобретение промышленно применимо.
Подтверждением является факт разработки конструкторской документации и изготовления устройства для укладки штучных предметов (пыжей в гильзы охотничьих патронов 12, 16 и 20 калибров) на ФГУП “Производственное объединение “Завод имени Серго”.
Формула изобретения
Устройство для укладки штучных предметов, содержащее плиту для размещения емкости, кассету с предметами, съемник со штырями с возможностью перемещения по вертикали, толкатели, отличающееся тем, что плита снабжена колонками, на которых установлены в два уровня втулки, втулки нижнего уровня снабжены направляющими для установки кассеты с предметами, а втулки верхнего уровня имеют направляющие для размещения съемника со штырями, втулки нижнего и верхнего уровней связаны между собой подпружиненными штангами, направляющие нижнего и верхнего уровня выполнены параллельно друг другу, при этом кассета и съемник выполнены сменными.
РИСУНКИ
MM4A – Досрочное прекращение действия патента СССР или патента Российской Федерации на изобретение из-за неуплаты в установленный срок пошлины за поддержание патента в силе
Дата прекращения действия патента: 06.07.2008
Извещение опубликовано: 10.07.2010 БИ: 19/2010
|