|
|
(21), (22) Заявка: 2004131409/11, 27.10.2004
(24) Дата начала отсчета срока действия патента:
27.10.2004
(45) Опубликовано: 20.04.2006
(56) Список документов, цитированных в отчете о поиске:
“REVUE TECHNIQUE diesel”, 1996, №201, с.83. SU 1162633 А, 23.06.1985. GB 787714 A, 11.12.1957. SU 1421555 А, 07.09.1988. DE 19730778 А, 21.01.1999.
Адрес для переписки:
150040, г.Ярославль, пр-т Октября, 75, ОАО “Автодизель” (ЯМЗ), УГК
|
(72) Автор(ы):
Паймулов Валентин Васильевич (RU), Александров Владимир Иванович (RU)
(73) Патентообладатель(и):
Открытое акционерное общество “Автодизель” (Ярославский моторный завод) (RU)
|
(54) МЕХАНИЗМ ПЕРЕКЛЮЧЕНИЯ ПЕРЕДАЧ
(57) Реферат:
Изобретение относится к области машиностроения и может найти применение в конструкциях коробок передач транспортных средств. Механизм переключения передач содержит вилку, оси качания вилки, шарнирно соединенную с вилкой планку переключения и муфту синхронизатора. Вилка установлена на эксцентричных шипах осей качания, имеющих возможность поворота. Технический результат изобретения заключается в устранении возможности соприкосновения синхронизирующих поверхностей конусных колец синхронизатора в нейтральном положении. 3 ил. 
Изобретение относится к области машиностроения и может найти применение в конструкциях коробок передач транспортных средств.
Известен механизм переключения передач в коробке передач ЯМЗ-236П (Автомобили МАЗ-6303, – 53363, – 53366, – 53371, – 5337, – 64229, -54323, – 5516, – 5551. Техническое обслуживание и ремонт. Москва, “Третий Рим”, 1999 г., стр.50), содержащий вилку, перемещающий ее шток и муфту синхронизатора.
К недостаткам известного механизма необходимо отнести то, что жесткое закрепление вилки на штоке приводит к перекашиванию его в направляющих опорах в момент перемещения муфты синхронизатора, что значительно увеличивает усилие, прилагаемое для переключения передачи.
Наиболее близким по совокупности существенных признаков и технической сущности предлагаемого изобретения является механизм переключения передач коробки передач SR 2000 фирмы “Volvo” (Журнал “REVUE TECHNIQUE diesel”, 1996 г., №201, стр.83), принятый в качестве прототипа. Известный механизм переключения передач содержит вилку, установленную на осях качания, шарнирно соединенную с планкой переключения и муфту синхронизатора.
В указанном механизме переключения передач нет необходимости применять направляющие опоры. Кроме того, установка вилки на осях качания укорачивает плечо воздействия на муфту синхронизатора, что позволяет уменьшить усилие, прилагаемое для переключения передач. Однако при применении известного механизма переключения передач в коробках, имеющих синхронизаторы с относительно короткими ходами на включение передач, при нейтральном положении вилок, возможно соприкосновение синхронизирующих поверхностей конусных колец синхронизатора, что приводит к ускоренному их износу и разрушению.
Задачей, на решение которой направлено создание изобретения, является устранение возможности соприкосновения синхронизирующих поверхностей конусных колец синхронизатора в нейтральном положении.
Отличительными признаками предлагаемого механизма переключения передач является то, что вилка установлена на эксцентричных шипах осей качания, имеющих возможность поворота.
Установка вилки на эксцентричных шипах осей качания, имеющих возможность поворота, позволяет отрегулировать положение муфты синхронизатора так, что исключает соприкосновение синхронизирующих поверхностей конусных колец, тем самым исключит их ускоренный износ и разрушение.
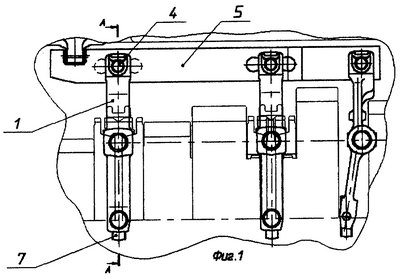
На фиг.1 дан общий вид механизма переключения передач; на фиг.2 – разрез по А-А; на фиг.3 – ось качания с эксцентричным шипом.
Механизм переключения передач содержит вилку 1, установленную на эксцентричных шипах 2 осей качания 3 и шарнирно при помощи оси 4 соединенную с планкой 5, муфту 6 синхронизатора, связанную с вилкой 1 посредством сухарей 7.
Регулировка положения муфты 6 синхронизатора осуществляется в нейтральном положении механизма переключения. При одновременном повороте осей качания 3 происходит смещение геометрических осей шипов 2. В результате этого вилка 1 поворачивается на оси 4, так как в данный момент планка 5 неподвижна и нижними концами, посредством сухарей 7, перемещает муфту 6 синхронизатора. После установки муфты 6 синхронизатора в нужное положение оси качания 3 фиксируются.
Формула изобретения
Механизм переключения передач, содержащий вилку, оси качания вилки, шарнирно соединенную с вилкой планку переключения и муфту синхронизатора, отличающийся тем, что вилка установлена на эксцентричных шипах осей качания, имеющих возможность поворота.
РИСУНКИ
|
|