|
|
(21), (22) Заявка: 2003111876/02, 22.04.2003
(24) Дата начала отсчета срока действия патента:
22.04.2003
(43) Дата публикации заявки: 20.12.2004
(45) Опубликовано: 20.04.2006
(56) Список документов, цитированных в отчете о поиске:
SU 570490 А, 15.09.1977. РОМАНОВСКИЙ В.П. Справочник по холодной штамповке. Л.: Машиностроение, 1971, с.572, табл.240. МАЛОВ А.Н. Технология холодной штамповки. ОБОРОНГИЗ, 1949, с.413. ФИЛИППОВ В.В. и др. Механизация и автоматизация листовой штамповки. М.: Машгиз, 1960, с.87.
Адрес для переписки:
424003, г.Йошкар-Ола, Ленинский пр., 68, кв.89, Л.А.Файфричу
|
(72) Автор(ы):
Файфрич Лев Андреевич (RU)
(73) Патентообладатель(и):
Файфрич Лев Андреевич (RU)
|
(54) ШТАМП СОВМЕЩЕННОГО ДЕЙСТВИЯ ДЛЯ ВЫРУБКИ ТОНКОСТЕННЫХ ДЕТАЛЕЙ
(57) Реферат:
Изобретение относится к области листовой штамповки, в частности к штамповке тонкостенных деталей. Цель изобретения – увеличение стойкости штампа совмещенного действия при вырубке тонкостенных деталей. Штамп содержит матрицу, пуансон, пуансон-матрицу, съемник, выталкиватель. Эффект достигается тем, что при подходе верхней части штампа к нижней мертвой точке в верхнюю полость цилиндра 11 подается сжатый воздух, который через поршень 8, толкатели 9 обеспечивает удаление из отверстия пуансон-матрицы 3 отхода 5 на провал при каждом ударе штампа. Новым в штампе является установка в верхней части штампа воздушного цилиндра, поршня, толкателей, проходящих через пуансон. 3 ил. 
Изобретение относится к области листовой штамповки, в частности к штамповке тонкостенных деталей.
Известны конструкции штампов совмещенного действия для вырубки деталей типа шайб, прямоугольных деталей с отверстиями и т.д., включающих в себя матрицу, пуансон, пуансон-матрицу, выталкиватель, съемник (см. Справочник по холодной штамповке. В.П.Романовский. – Л.: Машиностроение 1979 г., рис.340, стр.436). Недостатком известной конструкции штампов при штамповке тонкостенных деталей, особенно прямоугольной формы, является то, что в связи с недостаточной жесткостью стенок пуансон-матрицы, а она определяется шириной стенок вырубаемых деталей, вынужденно уменьшается высота рабочей части отверстия пуансон-матрицы для предотвращения накапливания в отверстии пуансон-матрицы отходов по высоте матрицы и изгиба стенок пуансон-матрицы от воздействия на них тангенциальных сил усилия проталкивания отходов центрального отверстия детали.
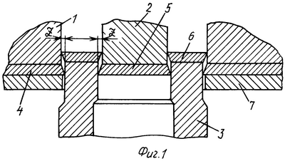
Схема работы известного штампа изображена на фиг.1 – 2.
На фиг.1 изображена схема вырубки первой детали.
На фиг.2 – n-ой детали.
Обозначения на фиг.1 – 2:
1 – матрица
2 – пуансон
3 – пуансон-матрица
4 – штампуемая лента
5 – отход
6 – вырубленная деталь
7 – съемник
z, z1, z2 – зазоры между режущими кромками.
В момент вырубки первой детали 6 зазоры z между стенками пуансон-матрицы 3 и режущими кромками матрицы 1 и пуансона 2 ориентировочно равны и усилия резания наружного и внутреннего контура детали при вырубке тонкостенной деталей отличаются незначительно. В случае вырубки второй и последующих деталей (см. фиг.2) равномерность распределения зазоров по наружному и внутреннему контуру детали нарушается.
Деформация стенок пуансон-матрицы 3 обусловлена тем, что после каждого удара штампа штампуемая лента 4 при помощи съемника 7 снимается с пуансон-матрицы 3, тем самым с наружной стороны стенок пуансон-матрицы 3 исчезает сдерживающее препятствие и стенки пуансон-матрицы 3 деформируются за счет тангенциальных сил напряженного состояния отхода 5, находящегося в отверстии пуансон-матрицы 3. Таким образом второй и последующие удары штампа происходят уже при неравенстве зазоров z1 и z2. Поскольку размер отхода 5 определяется пуансоном 2 плюс два зазора z между режущими кромками пуансона 2 и пуансон-матрицы 3, то каждый последующий отход после первого будет увеличиваться на величину изменения зазора z2 от тангенциального усилия проталкивания отходов 5 через отверстие пуансон-матрицы 3. Процесс изменения зазора z2 и z1 будет продолжаться до тех пор, пока не выровняются тангенциальные усилия от проталкивания отходов 5 и усилия, возникавшие в стенках пуансон-матрицы 3 при деформации и направленные в противоположную сторону. Изменения рабочих зазоров сказывается на качестве штампуемых деталей и снижают стойкость штампа.
Целью изобретения является повышение стойкости штампа совмещенного действия при вырубке тонкостенных деталей. Эта цель достигается тем, что отход от центрального отверстия детали удаляется из отверстия пуансон-матрицы после каждого удара штампа.
На фиг.3 изображен разрез комбинированного штампа вырубки тонкостенной детали в нижней мертвой точке процесса вырубки. На фигуре изображены следующие детали и узлы:
1 – матрица, 2 – пуансон, 3 – пуансон-матрица, 4 – штампуемая лента, 5 – отход, 6 – отштампованная деталь, 7 – съемник, 8 – поршень, 9 – толкатель, 10 – буфер съемника, 11 – цилиндр, 12 – система выталкивания, 13 – выталкиватель.
Штамп работает следующим образом. При вырубке детали 6 из ленты 4 пуансон-матрица 3 входит в отверстие, образованное стенками матрицы и пуансоном 2. При этом отход 5 пуансоном 2 вырубается в отверстие пуансон-матрицы 3. При подходе верхней части штампа к нижней мертвой точке в верхнюю полость цилиндра 11 подается сжатый воздух, который воздействует на поршень 8. При движении поршня 8 под действием сжатого воздуха вниз толкатели 9, соединенные с поршнем 8, воздействуют на отход 5 и обеспечивают его удаление из отверстия пуансон-матрицы 3 на провал. При ходе верхней части штампа вверх съемник 7 при помощи буфера съемника 10 обеспечивает съем отштампованной ленты 4 с пуансон-матрицы 3. При подходе верхней части штампа к верхней мертвой точке система выталкивания 12 упирается в упоры пресса (не показаны) и воздействует на выталкиватель 13. Тем самым отштампованная деталь 6 выталкивается из рабочего окна матрицы 1 и удаляется из зоны штамповки при помощи сжатого воздуха. Подача сжатого воздуха в верхнюю полость цилиндра 11 после начала движения верхней части штампа вверх прекращается и полость цилиндра 11 соединяется при помощи клапана (не показан) с атмосферой. При следующем ходе верхней части штампа вниз цикл штамповки повторяется. Таким образам, после каждого удара штампа обеспечивается удаление отхода из отверстия пуансон-матрицу.
Внедрение предлагаемой конструкции штампа позволит без ущерба прочности пуансон-матрицы увеличить высоту рабочей части отверстия пуансон-матрицы, что дает возможность увеличить стойкость штампа.
Формула изобретения
Штамп совмещенного действия для вырубки тонкостенных деталей, включающий в себя матрицу, пуансон, пуансон-матрицу, съемник, выталкиватель, отличающийся тем, что, с целью увеличения стойкости штампа, в верхней части штампа размещается воздушный цилиндр, подвижная часть которого при помощи толкателей, проходящих через пуансон штампа, обеспечивает удаление отхода из отверстия пуансон-матрицы после каждого удара штампа.
РИСУНКИ
QB4A Регистрация лицензионного договора на использование изобретения
Лицензиар(ы): Файфрич Лев Андреевич
ИЛ
Лицензиат(ы): Открытое акционерное общество “Завод полупроводниковых приборов”
Договор № РД0019488 зарегистрирован 13.03.2007
Извещение опубликовано: 20.04.2007 БИ: 11/2007
* ИЛ – исключительная лицензия НИЛ – неисключительная лицензия
|
|