|
|
(21), (22) Заявка: 2002106202/02, 07.03.2002
(24) Дата начала отсчета срока действия патента:
07.03.2002
(30) Конвенционный приоритет:
09.03.2001 FR 0103239
(43) Дата публикации заявки: 27.09.2003
(45) Опубликовано: 20.04.2006
(56) Список документов, цитированных в отчете о поиске:
FR 2650205 A1, 01.02.1991. DE 1235247 A, 02.03.1967. RU 2018387 C1, 30.08.1994. SU 565748 A, 09.09.1977.
Адрес для переписки:
103735, Москва, ул. Ильинка, 5/2, ООО “Союзпатент”, пат.пов. С.Б.Фелицыной
|
(72) Автор(ы):
ШАНСЕРЕЛЛЬ Жиль (FR)
(73) Патентообладатель(и):
ЭйСиБи ПРЕША СИСТЕМЗ (FR)
|
(54) ФОРМОВОЧНАЯ МАШИНА ДЛЯ ИЗГОТОВЛЕНИЯ ДЕТАЛЕЙ ИЗ ЛИСТОВОГО МЕТАЛЛА ВЫТЯГИВАНИЕМ ПРИ ИСПОЛЬЗОВАНИИ ИНСТРУМЕНТА ИЛИ ФОРМЫ
(57) Реферат:
Изобретение относится к обработке металлов давлением и может быть использовано для формования деталей листового металла способом вытягивания. Инструмент формовочной машины установлен поперечно в центральной части рамы, ориентированной продольно. Зажимные приспособления установлены с обеих сторон инструмента, причем каждое из них установлено на опоре, приводимой в движение с помощью двух пар толкателей, выполняющих качательное движение, из которых одна пара квазигоризонтальных толкателей закреплена на соответствующем конце рамы и другая – на нижнем конце центральной части рамы, выполненном в форме кронштейна. Зажимные приспособления и их опоры установлены с возможностью перемещения относительно указанной рамы так, что одна из их точек удерживается в вертикальной продольной плоскости. Средство удержания точки каждого зажимного приспособления и опоры в вертикальной продольной плоскости содержит направляющее средство, установленное, с одной стороны, непосредственно на цилиндре одного из управляющих толкателей каждого зажимного приспособления и, с другой стороны, связанное с рамой с возможностью постоянного удержания оси данного толкателя в указанной вертикальной продольной плоскости. Упрощается конструкция. 8 з.п. ф-лы, 3 ил. 
Настоящее изобретение относится к машине, формующей детали из листового материала способом вытягивания с использованием инструмента или формы.
Такие машины, в основном, используют в области аэронавтики для изготовления, например, деталей фюзеляжа или деталей передних кромок крыльев.
Такая машина описана в документе FR-2650205. Эта машина или пресс содержит удлиненную раму, имеющую в центральной части плиту, на которой установлен инструмент или форма.
Деталь может формоваться, например, из листового металла. Лист металла устанавливают между захватами двух зажимных приспособлений для растяжения с выходом за предел упругости или для выдавливания с использованием формы.
Зажимные приспособления установлены поперечно по отношению к раме с обеих сторон инструмента и каждое из них имеет возможность продольного и вертикального перемещения с помощью нескольких пар толкателей, выполняющих качательное движение: квазигоризонтальных толкателей и квазивертикальных толкателей.
Горизонтальные толкатели имеют возможность движения в угловом секторе, с обеих сторон по длине горизонтальной плоскости при воздействии на них со стороны вертикальных толкателей. Вертикальные толкатели, аналогично, имеют возможность движения в угловом секторе с обеих сторон плоскости, перпендикулярной горизонтальной плоскости, при воздействии на них со стороны горизонтальных толкателей. Такое движение толкателей обеспечивает возможность перемещения каждого зажимного устройства практически во всех направлениях.
В указанном выше документе каждое зажимное приспособление направляется по отношению к раме с использованием стоек, совершающих качательные движения, установленных в продольной и вертикальной средней плоскости рамы. Каждая стойка выполнена телескопической. Она установлена шарнирно на одном конце рамы и на боковой стороне зажимных приспособлений и имеет возможность перемещения по U-образной направляющей. Телескопическая часть стойки соединена с зажимным приспособлением для обеспечения удержания определенной точки указанного зажимного приспособления в средней вертикальной продольной направляющей плоскости.
Настоящее изобретение направлено на альтернативное решение проблемы направления зажимных приспособлений по отношению к раме.
Предлагаемое решение направлено на уменьшение количества движущихся деталей в машине при обеспечении большой свободы движений зажимных приспособлений, в частности касательно траектории их движения относительно инструмента или формы.
В соответствии с настоящим изобретением, машина или пресс содержит горизонтальную раму, в центральной части которой установлен инструмент или форма, закрепленные поперечно с обеих сторон указанного инструмента зажимных приспособлений, каждое из которых приводится в движение с помощью двух пар толкателей, совершающих качательные движения: пары горизонтальных толкателей, закрепленных на соответствующем конце указанной рамы, и пары вертикальных толкателей, закрепленных на нижнем конце центральной части рамы, выполненном в форме кронштейна, так, что каждое зажимное приспособление и его опора перемещаются относительно указанной рамы таким образом, что одна из их точек удерживается в продольной и вертикальной плоскости указанной рамы, причем средство удержания указанной точки для каждого зажимного приспособления и опоры в указанной вертикальной продольной плоскости содержит направляющее средство, установленное, с одной стороны, непосредственно на цилиндре одного из управляющих толкателей и, с другой стороны, связанное с рамой с возможностью удержания оси указанного цилиндра в указанной вертикальной продольной плоскости.
Направляющий толкатель установлен на раме так, что он остается установленным по центру в вертикальной продольной плоскости, и его цилиндр образует направляющую, совершающую качательные движения, благодаря тому, что, с одной стороны, его нижняя часть, которая шарнирно закреплена на кронштейне ниже центральной секции рамы, на оси, перпендикулярной вертикальной продольной плоскости, и не имеет возможности смещения и, с другой стороны, благодаря его горловине, на которой установлены, расположенные диаметрально противоположно колодки, которые взаимодействуют с поверхностями скольжения, установленными на раме, поверхности которых имеют форму пластин, установленных параллельно указанной вертикальной продольной плоскости.
Направляющие толкатели зажимных приспособлений представляют собой вертикальные толкатели, установленные, например, на одной стороне рамы в одной вертикальной продольной направляющей плоскости.
Каждое зажимное приспособление, кроме того, шарнирно установлено на своей опоре на конце штока своего направляющего толкателя с помощью пальца, ось которого расположена перпендикулярно к указанному штоку толкателя и установлена по центру направляющей плоскости, то есть вертикальной продольной плоскости рамы. Кроме того, ось вертикального направляющего толкателя для каждого зажимного приспособления расположена таким образом, что она проходит вблизи захватов указанного зажимного приспособления.
Другие управляющие толкатели зажимных приспособлений, то есть толкатели, кроме вертикальных толкателей, направляющих последние, соединены с рамой и соответствующими зажимными приспособлениями с помощью сферических подшипников скольжения и/или универсальных подшипников карданного типа.
Кроме того, в соответствии с настоящим изобретением, рама содержит, в основном, продольную структуру, включающую две большие поперечные балки в форме кессона, соединенные вместе, и кронштейн, проходящий ниже центральной части указанной структуры, причем этот кронштейн имеет подошву, на которой он установлен на плите, расположенной, например, в нижней части ямы.
Структура в виде балок и кронштейна позволяет, предпочтительно, в особенности в случае использования очень большого пресса, выполнить конструкцию из двух отдельных узлов; такая модульная конструкция позволяет облегчить транспортировку указанного пресса, и указанные узлы могут быть соединены вместе с помощью болтов, например, на месте установки. Кроме того, верхняя секция продольной структуры, формирующей раму, может быть установлена, например, на уровне грунта: в таком случае на верхней поверхности рамы на уровне перемещения штоков вертикальных толкателей установлены подвижные настилы, которые следуют за перемещением указанных штоков, обеспечивая определенную безопасность для операторов, которые могут ходить по указанной раме.
Настоящее изобретение будет подробно описано ниже со ссылками на прилагаемые чертежи, которые приведены в качестве примера и на которых:
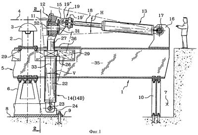
фиг.1 изображает вид спереди машины в соответствии с настоящим изобретением, представляющий схематически половину машины в поперечном разрезе по линии 1-1 на фиг.2;
фиг.2 – вид спереди машины в разрезе по линии 2-2 на фиг.1;
фиг.3 – схематически вид части вертикального толкателя в разрезе по линии 3-3 на фиг.2.
Машина, представленная на чертежах, соответствует по принципу работы описанной в документе FR-2650205, указанном выше.
Такая машина содержит раму 1, проходящую продольно, в ее центральной части установлена плита 2, на которой закреплен инструмент или форма 3, предназначенная для профилирования листового металла 4, изображенного тонкой пунктирной линией. Рама 1 содержит горизонтальную продольную конструкцию 5, на которой закреплена плита 2 и посадочное место или кронштейн 6, установленный ниже указанной конструкции 5 под прямым углом к плите 2.
Как видно на фигуре 1, машина может быть установлена в яме 7, где ее закрепляют на плите 8, установленной на дне указанной ямы. Кронштейн 6 содержит для этой цели опорную поверхность 9, которая закреплена на плите 8 с помощью соответствующих крепежных средств.
В поперечном направлении края конструкции 5 удерживаются, например, с помощью стоек 10, проходящих вниз, до дна ямы 7.
Боковые края листового металла 4 зажимают в захватах 11 и профилируют его на инструменте или форме 3 с помощью пары зажимных приспособлений 12, на которых установлены указанные захваты. Зажимные приспособления 12 установлены поперечно с обеих сторон инструмента 3 и управляются с помощью совершающих качательные движения толкателей, установленных парами: толкатели 13, обозначенные как горизонтальные толкатели, и толкатели 14, обозначенные, как вертикальные толкатели.
Толкатели, фактически, закреплены на опорах 15, которые служат в качестве удерживающих структур для зажимных приспособлений 12.
Пара горизонтальных толкателей 13 проходит между каждой опорой 15 и опорой 16 подшипника, установленными на концах продольной конструкции 5 рамы 1.
Каждый толкатель 13 шарнирно установлен на опоре 16 с помощью сферического шарнира 17. Шток 18 толкателя 13 шарнирно соединен с опорой 15 с помощью универсального шарнира 19 с двумя осями 19′ и 19”, которые расположены перпендикулярно друг к другу и перпендикулярно к оси указанного штока 18.
Каждый толкатель 13 имеет угловой ход, амплитуда Н которого зависит от хода вертикального толкателя 14, с которым он соединен.
Точно так же, вертикальные толкатели 14 (14А и 14В) совершают качательное движение под действием горизонтальных толкателей 13 с амплитудой V, которая зависит от хода каждого из толкателей 13.
Каждая пара вертикальных толкателей 14 содержит толкатели двух типов: вертикальный толкатель 14А, который связывает опору 15 и кронштейн 6, и вертикальный толкатель 14В, который, кроме того, что связывает опору 15 с кронштейном 6, выполняет функцию направляющей для указанной опоры и, следовательно, зажимного приспособления 12 по отношению к раме 1.
Соединительные толкатели 14А шарнирно соединены с нижней секцией кронштейна 6 посредством сферического подшипника 20 скольжения, который смонтирован в опоре, закрепленной на основании 9.
Шток толкателей 14А шарнирно установлен на опоре 15 с помощью сферического подшипника 21 скольжения, ось которого, с одной стороны, расположена перпендикулярно оси указанного толкателя 14A и, с другой стороны, расположена в продольной вертикальный плоскости рамы 1.
На фигуре 3 изображен сферический подшипник 21 скольжения, установленный на опоре 15, связанной со штоком толкателя 14А.
Кроме того, на фигуре 3 можно видеть конец соответствующего горизонтального толкателя 13, и в частности, универсальный шарнир 19, соединяющий шток 18 толкателя с опорой 15 зажимного приспособления 12.
Толкатели 14В выполняют двойную функцию, так как они используются, с одной стороны, для управления зажимными приспособлениями 12 и, с другой стороны, для направления этих зажимных приспособлений по отношению к раме 1.
Цилиндр 22 толкателя 14В шарнирно установлен днищем на нижнем конце кронштейна 6 с возможностью вращения вокруг поперечной оси 23. Эта ось 23 установлена в опоре 24 на основании 9 в нижней секции кронштейна 6, причем опора обеспечивает относительную поперечную фиксацию цилиндра 22. Толкатель 14В, будучи установленным на оси 23, может выполнять качательные движения в вертикальной продольной плоскости 25.
Верхний конец или горловина цилиндра 22 содержит колодки 26, которые установлены относительно штока 27 толкателя с диаметрально противоположных сторон. Они закреплены на горловине толкателя, например на втулке 28, и также могут быть соединены вместе, в поперечном направлении.
Каждая из этих колодок 26 взаимодействует с поверхностями скольжения, установленными на раме 1. Поверхности скольжения образованы пластинами 29, которые соответствующим образом закреплены на конструкции 5 рамы 1. Узел из колодок 26 и пластин 29 формирует направляющие для каждого толкателя 14В. Пластины 29 имеют размеры, соответствующие длине хода толкателей 14В. Колодки 26 имеют прямоугольную форму и их длина соответствует, по существу, диаметру цилиндра 22 толкателя, а высота составляет порядка половины указанной длины. Направляющие позволяют удерживать толкатель 14В в продольной вертикальной плоскости 25 рамы 1.
Шток 27 толкателя 14В соединен с опорой 15 посредством пальца 31, который установлен перпендикулярно оси указанного толкателя и расположен в продольной вертикальной плоскости 25.
Толкатель 14В имеет размеры, соответствующие выполнению его двойной функции.
Каждое зажимное приспособление 12 установлено вблизи точки 32 качания, которая соответствует точке пересечения оси пальца 31 с осью 33 толкателя 14В.
Точка 32 показана на фигуре 1. Точка 32 расположена в вертикальной продольной плоскости 25.
Можно также видеть, что ось 33 толкателя 14В проходит на уровне захватов 11, то есть в зоне захвата листа металла 4, профилирование которого производится.
Конструкция 5 рамы 1 направляет вертикальные толкатели. Она включает две балки 35, выполненные в форме кессонов, установленные параллельно друг другу и проходящие вдоль всей длины рамы 1. Каждая балка расположена в вертикальной плоскости набора толкателей, соединенных с зажимными приспособлениями, в то время как этот набор состоит из горизонтального толкателя 13 и из вертикального толкателя 14. Каждая продольная вертикальная плоскость проходит, по существу, посередине половины длины каждого зажимного приспособления 12 для балансировки нагрузки.
В соответствии с размером машины, который может играть относительно важную роль, рама 1 может быть выполнена из двух элементов: с одной стороны, конструкция 5 с обеими продольными балками 35 и, с другой стороны, кронштейн 6. Оба эти элемента могут быть собраны на месте, например, с помощью соединения болтами. При большей длине пресса также требуется наличие стоек 10, установленных на каждом конце конструкции 5.
Как показано на фигуре 1, верхняя секция конструкции 5 рамы 1 может быть расположена на уровне земли. Для облегчения работы операторов машины и для предотвращения несчастных случаев, над отверстиями 37 может быть установлен настил 36, через который могут проходить штоки вертикальных толкателей 14А и 14В, причем настил может передвигаться непосредственно под воздействием штоков указанных толкателей. Настил 36 закрывает удлиненные отверстия 37 и обеспечивает определенную безопасность для операторов, когда они ходят по раме 1.
Формула изобретения
1. Формовочная машина для формования деталей из листового металла путем вытягивания на инструменте или форме, причем инструмент установлен поперечно в центральной части рамы (1), ориентированной продольно, зажимные приспособления (12) установлены с обеих сторон инструмента, причем каждое из них установлено на опоре (15), приводимой в движение с помощью двух пар толкателей, выполняющих качательное движение, из которых пара квазигоризонтальных толкателей (13) закреплена на соответствующем конце рамы и пара квазивертикальных толкателей (14) закреплена на нижнем конце центральной части рамы, выполненном в форме кронштейна (6), зажимные приспособления и их опоры установлены с возможностью перемещения относительно указанной рамы так, что одна из их точек удерживается в вертикальной продольной плоскости, отличающаяся тем, что средство удержания точки каждого зажимного приспособления (12) и опоры (15) в вертикальной продольной плоскости (25) содержит направляющее средство, установленное, с одной стороны, непосредственно на цилиндре одного из управляющих толкателей каждого зажимного приспособления (12) и, с другой стороны, связанное с рамой (1) с возможностью постоянного удержания оси данного толкателя в указанной вертикальной продольной плоскости (25).
2. Формовочная машина по п.1, отличающаяся тем, что цилиндр (22) направляющего толкателя (14В) образует направляющую для качательного движения, при этом дно указанного цилиндра установлено шарнирно на оси (23), закрепленной на кронштейне (6) и перпендикулярной к вертикальной плоскости (25), с соответствующим ограничением движения, и на горловине указанного цилиндра (22) установлены диаметрально противоположно друг другу колодки (26), которые взаимодействуют с поверхностями скольжения в виде пластин (29), закрепленных на конструкции (5) рамы (1), причем эти пластины установлены параллельно указанной плоскости (25).
3. Формовочная машина по п.2, отличающаяся тем, что направляющие толкатели зажимных приспособлений (12) содержат квазивертикальные толкатели (14В), расположенные в вертикальной продольной плоскости (25) рамы (1).
4. Формовочная машина по любому из пп.1-3, отличающаяся тем, что каждое зажимное приспособление (12) шарнирно установлено на ее опоре (15) на конце штока (27) направляющих толкателей (14В) с помощью пальца (31), ось которого перпендикулярна к указанному штоку толкателя и установлена по центру вертикальной продольной плоскости (25) рамы.
5. Формовочная машина по п.4, отличающаяся тем, что ось (33) направляющего толкателя (14В) каждого зажимного приспособления (12) установлена так, что она проходит вблизи захватов указанных зажимных приспособлений.
6. Формовочная машина по п.3, отличающаяся тем, что толкатели (13, 14А), направляющие зажимные приспособления (12), т.е. толкатели, кроме толкателей (14), направляющих последние, соединены с рамой (1) и соответствующими зажимными приспособлениями с помощью сферических подшипников скольжения и/или универсальных подшипников карданного типа.
7. Формовочная машина по любому из пп.1-6, отличающаяся тем, что рама включает в себя продольную конструкцию (5), содержащую две балки (35), соединенные вместе, и кронштейн (6), проходящий под центральной частью указанной конструкции, причем этот кронштейн имеет основание (9), позволяющее закреплять его на грунте и, в частности, на плите (8), установленной на дне ямы (7).
8. Формовочная машина по п.7, отличающаяся тем, что конструкция (5) и кронштейн (6) образуют в случае использования пресса с очень большими размерами два отдельных узла, приспособленных для соединения болтами вместе, и стойки (10), установленные с возможностью удержания каждого конца указанной конструкции (5).
9. Формовочная машина по п.7, отличающаяся тем, что верхняя секция балок (35) конструкции (5) формирует пол, приспособленный для установки на уровне земли, и проходы для штоков вертикальных толкателей (14) снабжены подвижным настилом (36), выполненным с возможностью движения вместе с движением указанных штоков и закрывания удлиненных отверстий (37), через которые проходят указанные штоки.
РИСУНКИ
MM4A – Досрочное прекращение действия патента СССР или патента Российской Федерации на изобретение из-за неуплаты в установленный срок пошлины за поддержание патента в силе
Дата прекращения действия патента: 08.03.2007
Извещение опубликовано: 20.07.2010 БИ: 20/2010
|
|