|
|
(21), (22) Заявка: 2004115801/03, 24.05.2004
(24) Дата начала отсчета срока действия патента:
24.05.2004
(43) Дата публикации заявки: 01.01.2000
(45) Опубликовано: 20.04.2006
(56) Список документов, цитированных в отчете о поиске:
Справочник по обогащению руд. Подготовительные процессы. Под ред. О.С.БОГДАНОВА. М.: Недра, 1982, с. 181-183. SU 513720 A, 20.07.1976. SU 1514403 A1, 15.10.1989. SU 1261710 A1, 07.10.1986. RU 2043168 C1, 02.06.1992. RU 2022650 C1, 15.11.1994. US 2563332 A, 07.08.1951. DE 1194341 A, 10.06.1965.
Адрес для переписки:
184209, Мурманская обл., г. Апатиты, ул. Ферсмана, 24, Горный институт КНЦ РАН, ОНТИ
|
(72) Автор(ы):
Пузырев Виктор Александрович (RU), Ракаев Анвар Ибрагимович (RU), Горин Валерий Иванович (RU)
(73) Патентообладатель(и):
Горный институт Кольского научного центра Российской Академии Наук (RU)
|
(54) ГИДРОКЛАССИФИКАТОР
(57) Реферат:
Изобретение относится к классифицирующим устройствам, разделяющим зернистый материал на классы крупности по скоростям их падения в водной среде, и предназначено для улучшения качественно-количественных показателей и расширения технологических возможностей работы этих устройств. Гидроклассификатор включает корпус с пирамидальными отсеками, классифицирующие камеры с устройствами для автоматической разгрузки песковых фракций, устройства для загрузки исходной пульпы и разгрузки слива, коллекторы для подачи восходящей и дополнительной промывочной воды, снабжен воздушным коллектором, который посредством электромагнитных клапанов соединяет устройства для автоматической разгрузки песковых фракций, выполненные в виде эрлифтов. При этом в донной части каждой классифицирующей камеры установлены обратные клапаны для равномерного распределения восходящей воды по всему кольцевому пространству, образованному внутренней стенкой классифицирующей камеры и обсадной трубой эрлифта, и выполненные с возможностью отключения восходящей воды электромагнитными клапанами одновременно с включением эрлифта и дополнительной воды. Причем над классифицирующими камерами установлены кольцевые распределители для направления дополнительной воды в верхнюю часть каждой классифицирующей камеры. Технический результат – увеличение удельной производительности по твердому, снижение расхода воды на процесс классификации, расширение верхних пределов крупности разделяемых зерен и получение продуктов разделения с более высоким содержанием твердого. 1 з.п. ф-лы, 3 ил. 
Изобретение относится к классифицирующим устройствам, разделяющим зернистый материал на классы крупности по скоростям их падения в водной среде, и предназначено для улучшения качественно-количественных показателей и расширения технологических возможностей этих устройств.
Известен, принятый за аналог, гидравлический классификатор (см. Келина И.М. “Обогащение руд”, Москва, Недра, 1979, с.71-73), включающий корпус, состоящий из нескольких пирамидальных отсеков (спиготов), к каждому из которых снизу присоединена классифицирующая камера (далее – камера), в которую по касательной подается вода. На дне камеры установлена коническая насадка с клапаном для выгрузки осевшего зернистого материала (далее – песков). Внутри камеры вращается лопастная мешалка, кинематически связанная с конической насадкой, периодически открывающей и закрывающей указанный клапан.
Получаемые в каждом отсеке отмытые пески (осевший материал) порциями выгружаются через насадки, а их тонкие зерна уходят в слив.
Одним из недостатков этого гидравлического классификатора (далее гидроклассификатора) является невозможность регулирования периодичности и длительности времени разгрузки песков, поскольку эти параметры обусловлены самой конструкцией приводных механизмов разгрузочных устройств, обеспечивающих строго определенную периодичность покамерной разгрузки в соотношении 1:2:3 и т.д., в зависимости от количества кулачков, установленных на приводном механизме каждого разгрузочного устройства, что не позволяет осуществлять регулирование процесса гидравлической классификации с учетом грансостава твердой фазы и плотности исходной пульпы. Поэтому гидроклассификаторы такого типа, выпускавшиеся серийно заводом “Труд” (г. Новосибирск), в восьмидесятых годах прошлого столетия были сняты с производства и заменены на гидроклассификаторы, например КГ-4А, с автоматической разгрузкой песковых фракций (см. Справочник по обогащению руд. Подготовительные процессы, под ред. Богданова О.С., Москва, Недра, 1982, с.181-183), конструкция которых, по совокупности существенных признаков, принята за прототип.
Основное отличие прототипа от аналога заключается в том, что периодичность и продолжительность разгрузки песков в каждой камере зависит от плотности пульпы в надкамерном пространстве соответствующего пирамидального отсека. Разгрузка камерного продукта (песков) осуществляется автоматически посредством пьезостанции, выполняющей роль командоаппарата.
Пьезостанция состоит из двух пьезометрических трубок, погруженных в надкамерное пространство каждого отсека на разные уровни мембран, пружин и других узлов и деталей, которые должны обеспечивать работу разгрузочного устройства.
Например, при повышении плотности пульпы, находящейся в надкамерном пространстве (в зоне расположения пьезотрубок) пирамидального отсека, давление на мембрану увеличивается. Связанная с мембраной и пробкой тяга движется вверх, открывает отверстие в клапане и осевшие в камере пески вместе с водой разгружаются.
Чтобы уровень слива не понижался во время разгрузки песков, количество воды, подаваемой в камеру через регулятор расхода соответственно увеличивается. Но при этом происходит разжижение выгружаемых песков, что снижает производительность гидроклассификатора по твердому и увеличивает расход воды на процесс классификации.
Кроме того, между плотностью пульпы в зоне пьезотрубок и плотностью разгружаемых продуктов практически нет корреляционной связи вследствие разжижения последних дополнительным количеством воды, подаваемой в зону разгрузки, что снижает эффективность работы автоматики. К недостаткам прототипа, влияющим на технологические показатели процесса, можно также отнести частые сбои в работе автоматики вследствие заиливания пьезотрубок.
Общими недостатками конструкций аналога и прототипа являются:
– забивка разгрузочных клапанов крупнозернистыми включениями, проволокой, тряпками, щепой и другими предметами, которые проходят через сетку коробки исходного питания, поскольку размеры разгрузочных отверстий клапанов сравнительно небольшие (от 20 до 50 мм);
– интенсивный износ пробок и разгрузочных клапанов, через которые проходит абразивная пульпа с высокой скоростью;
– необходимость насосных перекачек (или большой высоты производственного здания) для обеспечения самотечной подачи разделяемых продуктов на последующие технологические операции (флотацию, концентрацию на столах или фильтрацию).
Для решения задачи устранения указанных недостатков прототипа предлагается гидроклассификатор, включающий корпус с пирамидальными отсеками, классифицирующие камеры с устройствами для автоматической разгрузки песковых фракций, устройства для загрузки исходной пульпы и разгрузки слива, коллекторы для подачи восходящей и дополнительной промывочной воды, отличающийся тем, что снабжен воздушным коллектором, который посредством электромагнитных клапанов соединяет устройства для автоматической разгрузки песковых фракций, выполненные в виде эрлифтов, при этом в донной части каждой классифицирующей камеры установлены обратные клапаны для равномерного распределения восходящей воды по всему кольцевому пространству, образованному внутренней стенкой классифицирующей камеры и обсадной трубой эрлифта, и выполненные с возможностью отключения восходящей воды электромагнитными клапанами одновременно с включением эрлифта и дополнительной воды, причем над классифицирующими камерами установлены кольцевые распределители для направления дополнительной воды в верхнюю часть каждой классифицирующей камеры.
Решению поставленной задачи способствует также то, что электромагнитные клапаны, установленные на воздушном и гидравлических коллекторах, соединены между собой реле времени.
Наряду с вышеизложенным, для более эффективного решения поставленной технологической задачи пневматический и гидравлический коллекторы снабжены дополнительными устройствами, например вентилями, регулирующими количество и качество продуктов разделения.
Кроме того, для повышения работоспособности гидроклассификатора и исключения его заиливания восходящая вода подается в классифицирующую камеру под давлением, превышающим силу упругости обратного клапана, установленного в донной части каждой камеры, и давление гидростатического столба пульпы, находящейся над ним, а площадь сечения пульпоподъемной трубы эрлифта минимум в два раза больше площади отверстия решетки, установленной в питающей коробке.
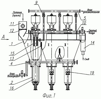
Устройство и принцип работы гидроклассификатора, согласно предлагаемого изобретения, поясняется чертежами, на которых изображены:
Фиг.1 – гидроклассификатор трехспиготный (главный вид);
Фиг.2 – тот же, гидроклассификатор – вид А;
Фиг.3 – циклограмма, поясняющая работу гидроклассификатора.
Гидроклассификатор включает корпус 1 с пирамидальными отсеками, классифицирующие камеры 2, эрлифты 3 для разгрузки осевшего в классифицирующих камерах материала (отклассифицированных песковых фракций), гидравлические коллекторы для подачи восходящей 4 и дополнительной 5 воды, обратные клапаны 6, электромагнитные клапаны 7, 8, 9 соответственно на пневматическом 10 и гидравлических коллекторах, загрузочную коробку 11 с решеткой 12, перегородки 13, разгрузочный карман 14, водораспределитель 15, обсадную трубу 16, пульпоподъемную трубу 17, вентили 18, 19.
Работа гидроклассификатора осуществляется следующим образом.
Исходная пульпа (смесь воды, шламов и зернистого материала) поступает на решетку 12 и далее в пирамидальную часть корпуса 1 первого спигота I, где крупные зерна тонут и направляются в классифицирующую камеру 2 цилиндрической формы. Более мелкие зерна продвигаются вдоль корпуса в направлении сливного порога, проходят над перегородкой 13 и оседают в классифицирующей камере спигота II.
Еще более тонкие (мелкие) зерна проходят через вторую перегородку 13 и осаждаются в классифицирующей камере спигота III.
В слив уходят шламы и самые тонкие частицы. Процесс классификации, в каждой из классифицирующих камер, осуществляется под действием восходящего потока воды, подаваемой в их верхнюю и нижнюю части попеременно.
На фиг.1 изображен гидроклассификатор, состоящий из трех пирамидальных отсеков, в которых установлены соответственно три классифицирующие камеры для получения песковых (зернистых) фракций различной крупности. При увеличении количества пирамидальных отсеков соответственно увеличивается и количество получаемых песковых фракций, но принцип работы гидроклассификатора остается неизменным.
Разгрузка песков из классифицирующих камер осуществляется с помощью эрлифтов 3, последовательность и длительность работы которых определяются заданной циклограммой, реализуемой с помощью средств автоматики, например электромагнитных клапанов, реле времени, других устройств, обеспечивающих ее работу.
Для работы, например, эрлифта 3 сжатый воздух из коллектора через клапан 7 и вентиль (точной регулировки) 18 подается в пульпоподъемную трубу 17 эрлифта, продолжительность работы которого и порядок включения определяются заданной циклограммой.
Для осуществления процесса гидравлической классификации восходящая вода от коллектора 4 поступает на регулирующие вентили 19, электромагнитные клапаны 8 и обратные клапаны 6 в классифицирующие камеры 2. Клапаны 6, установленные по оси каждой камеры в ее донной части, под действием напора воды, поступающей в коллектор, открываются (поднимаются), благодаря чему происходит впуск и равномерное распределение восходящей воды по всему кольцевому пространству, образованному внутренней стенкой классифицирующей камеры и обсадной трубой 16 эрлифта 3.
Для исключения возможности понижения уровня слива и нарушения процесса классификации, во время работы эрлифта (при разгрузке песков), от коллектора 5 через, например, электромагнитный клапан 9 в кольцевой распределитель 15 подается дополнительная вода, компенсирующая объем пульпы, разгружаемой эрлифтом.
Для сокращения разжижения разгружаемых песков, повышения их плотности, увеличения производительности гидроклассификатора по твердому и снижения расхода восходящей воды на процесс классификации дополнительная вода подается в верхнюю часть классифицирующей камеры по кольцевому распределителю 15, расположенному над ней, что позволяет использовать дополнительную воду в качестве восходящей и не разжижать пески во время их разгрузки.
Пневматический и гидравлические коллекторы соединены между собой посредством, например, электромагнитных клапанов, связанных с реле времени и образующих циклограмму работы пневматической и гидравлической систем гидроклассификатора.
Режим работы циклограммы задается в зависимости от грансостава и плотности исходной пульпы. Для точной регулировки исходных параметров пневматической и гидравлической систем подача в эрлифты и классифицирующие камеры сжатого воздуха и воды, влияющих на качество продуктов разделения и их количество, на питающих патрубках установлены вентили 18, 19.
Применение эрлифта в качестве разгрузочного устройства позволяет поднимать песковые фракции (продукты) и направлять их на столы концентрационные или флото-машины, расположенные практически на одном уровне с гидроклассификатором, что существенно сокращает высоту производственного здания и упрощает обслуживание всего комплекса технологического оборудования, либо исключает необходимость использования насосного оборудования для перекачки этих продуктов.
Кроме того, использование эрлифтов позволяет существенно увеличить диапазон крупности зерен, составляющих пульпу, и снизить количество быстроизнашивающихся деталей и узлов, интенсивность их износа, исключить возможность забивки разгрузочных отверстий поскольку площадь сечения пульпоподъемных труб эрлифтов в несколько раз больше, чем у разгрузочных отверстий клапанов, которыми снабжены аналог и прототип, а скорости движения абразивной пульпы значительно ниже и могут легко регулироваться сжатым воздухом. В то время как в аналоге и прототипе скорости движения абразивной пульпы через разгрузочный клапан определяются только давлением гидростатического столба пульпы и составляют в промышленных аппаратах от 5 до 10 м/с в зависимости от геометрических размеров спигота.
Пример. Гидроклассификатор, созданный согласно настоящему изобретению, имеет следующие конструктивные характеристики:
– производительность по питанию твердого, т/ч, в пределах – 10÷20;
– крупность исходного материала до 10 мм;
– количество спиготов – 3;
– внутренний диаметр пульпоподъемной трубы – 80 мм;
– расход воды на процесс классификации – до 2 м3 на 1 т твердого;
– расход сжатого воздуха на разгрузку песков, м3/ч, в пределах – 50÷100;
– периодичность разгрузки песковых фракций – мин в пределах 0.2÷3.0;
– давление сжатого воздуха в коллекторе, кг/см2 – 0.4÷0.5;
– габаритные размеры гидроклассификатора, мм:
– длина – 3040;
– ширина-1850;
– высота-3670;
– масса, кг, не более – 1600.
Цикличность разгрузки обеспечивается настройкой реле времени в зависимости от грансостава, плотности исходного питания и требований, предъявляемых к качеству продуктов разделения.
При работе указанного гидроклассификатора на классификации хвостов апатитовой флотации перед флотацией нефелина (апатит-нефелиновой руды ОАО “Апатит”) были получены следующие результаты:
– производительность по питанию твердого – 12-18 т/ч;
– крупность отклассифицированного материала, мм:
– +0.2 – 15%;
– -0.2+0.05 – 30%;
– -0.05+0.02 – 10%;
– -0.02 – 45%.
– крупность исходного материала ниже 0,3 мм – 80%, от – 0.3 до 10 мм – 10%;
– расход воды на классификацию – 1.0÷1.5 м3 на тонну твердого;
– расход сжатого воздуха, м3/ч – 60÷70.
Пример одного из испытанных режимов работы по заданной циклограмме при длительности цикла 120 с (по спиготам):
I – разгрузка – 35 с, восходящая вода – 50 с, дополнительная вода – 35 с.
II – разгрузка – 25 с, восходящая вода – 70 с, дополнительная вода – 25 с.
III -разгрузка – 15 с, восходящая вода – 90 с, дополнительная вода – 15 с.
Полученные результаты показали, что в сравнении с серийными аппаратами аналогичного назначения (КГ-4А) удельная производительность нового аппарата примерно в 2 раза выше, а удельный расход воды на процесс классификации на 40-50% ниже. Кроме того, регулируя продолжительность разгрузки песков, в каждой камере можно получать отклассифицированные пески с содержанием твердого до 60%, а энергетические затраты, связанные с необходимостью использования сжатого воздуха для работы эрлифтов компенсируются затратами на насосную перекачку продуктов (песковых фракций) классификации, получаемых в существующих серийных гидроклассификаторах.
Таким образом, использование настоящего изобретения позволило существенно улучшить удельные показатели работы гидроклассификатора (поднять производительность, снизить расход воды), а также, в отдельных случаях, исключить необходимость сгущения посредством гидроциклонирования, полученных песковых фракций перед, например, концентрационными столами или фильтрами. Как показали проведенные испытания, наличие эрлифтной разгрузки позволяет существенно (в 2-3 раза) расширить диапазон крупности классифицируемого материала и исключить заиливание разгрузочных устройств.
Формула изобретения
1. Гидроклассификатор, включающий корпус с пирамидальными отсеками, классифицирующие камеры с устройствами для автоматической разгрузки песковых фракций, устройства для загрузки исходной пульпы и разгрузки слива, коллекторы для подачи восходящей и дополнительной промывочной воды, отличающийся тем, что снабжен воздушным коллектором, который посредством электромагнитных клапанов соединяет устройства для автоматической разгрузки песковых фракций, выполненные в виде эрлифтов, при этом в донной части каждой классифицирующей камеры установлены обратные клапаны для равномерного распределения восходящей воды по всему кольцевому пространству, образованному внутренней стенкой классифицирующей камеры и обсадной трубой эрлифта, и выполненные с возможностью отключения восходящей воды электромагнитными клапанами одновременно с включением эрлифта и дополнительной воды, причем над классифицирующими камерами установлены кольцевые распределители для направления дополнительной воды в верхнюю часть каждой классифицирующей камеры.
2. Гидроклассификатор по п.1, отличающийся тем, что электромагнитные клапаны, установленные на воздушном и гидравлических коллекторах, соединены между собой реле времени.
РИСУНКИ
|
|