|
|
(21), (22) Заявка: 2004129537/03, 07.10.2004
(24) Дата начала отсчета срока действия патента:
07.10.2004
(45) Опубликовано: 20.04.2006
(56) Список документов, цитированных в отчете о поиске:
RU 2222381 C1, 27.01.2004. SU 1773492 A1, 07.11.1992. SU 1773493 A1, 07.11.1992. SU 1670157 A1, 15.08.1991. GB 2142555 A, 04.05.1984. DE 3507913 A1, 11.09.1986. EP 0347948 A3, 27.12.1989.
Адрес для переписки:
220018, г.Минск, ул. Шаранговича, 19, УП “НПО “Центр”, группа патентоведения
|
(72) Автор(ы):
Бородавко Владимир Иванович (BY), Бороха Эдуард Леонидович (BY), Воробьев Владимир Васильевич (BY), Горобец Анатолий Викторович (BY), Лускин Григорий Михайлович (BY)
(73) Патентообладатель(и):
Научно-производственное республиканское унитарное предприятие “НПО “Центр” (BY)
|
(54) ПРИВОД ВЕРТИКАЛЬНЫХ РОТОРНЫХ МАШИН
(57) Реферат:
Изобретение относится к вертикальным роторным машинам, имеющим привод с карданной передачей. Привод вертикальных роторных машин содержит двигатель и карданную передачу, состоящую из трех валов – нижнего, среднего и верхнего, последовательно соединенных между собой с возможностью пересечения осей посредством универсальных шарниров, при этом один из валов выполнен телескопическим, механизм фиксации универсальных шарниров, состоящий из стакана, дном вверх жестко закрепленного на верхнем валу и охватывающего боковой стенкой универсальные шарниры, диска с четырьмя радиальными прорезями, жестко закрепленного на нижнем валу, четырех стержней, шарнирно соединенных с нижней частью боковой стенки стакана и расположенных нижними концами в прорезях диска, и листовых пружин, верхней частью жестко закрепленных в нижней части боковой стенки стакана, а нижней частью взаимодействующих со стержнями. Изобретение позволяет повысить надежность работы машины. 3 ил. 
Изобретение относится к машиностроению, в частности к вертикальным роторным машинам, имеющим привод с карданной передачей, и может найти применение, например, в различных центробежных устройствах с газостатическим опорным узлом: ударно-центробежные дробилки и мельницы, центрифуги и сепараторы различного назначения и др.
Известен привод вертикальной роторной машины (центробежно-ударной дробилки), содержащий двигатель, клиноременную передачу и жесткий вал (Авт. св. СССР №1674962, В 02 С 13/26, опубл. 07.09.1991).
Однако из-за того, что данный привод содержит жесткий вал, рабочий орган машины не обладает возможностью к радиальным, угловым и осевым перемещениям, что обуславливает высокие динамические нагрузки на опорные узлы машины при возникновении режимного или иного дисбаланса рабочего органа.
Известен также привод вертикальной роторной машины (центробежной установки с газостатическим опорным узлом), содержащий двигатель и карданную передачу, состоящую из трех валов – нижнего, среднего и верхнего, – последовательно соединенных между собой с возможностью пересечения осей посредством универсальных шарниров, при этом один из валов выполнен телескопическим (Патент РФ №2222381, В 02 С 13/14, опубл. 27.01.2004).
Однако из-за того, что известный привод содержит гибкую карданную передачу, на резонансных частотах вращения, появляющихся при разгоне и торможении ротора, возникают значительные колебания ротора, обуславливающие его радиальные и угловые перемещения. Данные перемещения приводят к касаниям и ударам различных частей ротора с сопрягаемыми частями корпуса и опорных деталей, что снижает надежность работы машины.
Задача изобретения состоит в повышении надежности работы машины путем устранения вредных колебаний ротора, возникающих на резонансных частотах вращения, за счет обеспечения жесткости карданной передачи при разгоне и торможении вращения ротора.
Сущность изобретения заключается в том, что для решения поставленной задачи путем достижения указанного технического результата привод вертикальных роторных машин, содержащий двигатель и карданную передачу, состоящую из трех валов – нижнего, среднего и верхнего, – последовательно соединенных между собой с возможностью пересечения осей посредством универсальных шарниров, при этом один из валов выполнен телескопическим, отличается тем, что содержит механизм фиксации универсальных шарниров, состоящий из стакана, дном вверх жестко закрепленного на верхнем валу и охватывающего боковой стенкой универсальные шарниры, диска с четырьмя радиальными прорезями, жестко закрепленного на нижнем валу, четырех стержней, шарнирно соединенных с нижней частью боковой стенки стакана и расположенных нижними концами в прорезях диска, и листовых пружин, верхней частью жестко закрепленных в нижней части боковой стенки стакана, а нижней частью взаимодействующих со стержнями.
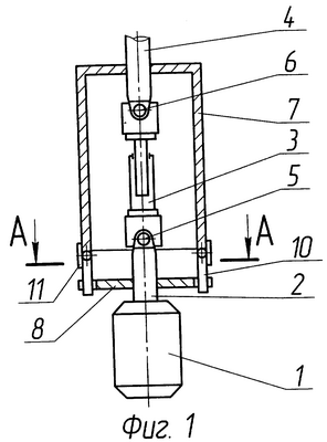
Изобретение поясняется чертежами: фиг.1 – общий вид привода с зафиксированными универсальными шарнирами, фиг.2 – разрез А – А на фиг.1, фиг 3 – общий вид привода с расфиксированными универсальными шарнирами.
Привод вертикальных роторных машин содержит двигатель 1, карданную передачу и механизм фиксации универсальных шарниров.
Карданная передача состоит из нижнего, среднего и верхнего валов 2, 3, 4, соответственно, последовательно соединенных между собой с возможностью пересечения осей посредством универсальных шарниров 5 и 6.
Механизм фиксации универсальных шарниров 5 и 6 состоит из стакана 7, дном вверх жестко закрепленного на верхнем валу 4 и боковой стенкой охватывающего универсальные шарниры 5 и 6, диска 8 с четырьмя радиальными прорезями 9, жестко закрепленного на нижнем валу, стержней 10, шарнирно соединенных с нижней частью боковой стенки стакана 7 и нижними концами расположенных в радиальных прорезях 9 диска 8, и листовых пружин 11, верхней частью жестко закрепленных на нижней части боковой стенки стакана 7, а нижней частью взаимодействующих со стержнями 10.
Привод вертикальных роторных машин работает следующим образом.
От двигателя 1 вращение передается карданной передаче. При разгоне вращения центробежная сила еще незначительная и пружины 11 удерживают стержни 10 в прорезях 9 диска 8 (фиг.1). Таким образом обеспечиваются фиксирование универсальных шарниров 5 и 6 и жесткость карданной передачи на резонансных частотах вращения при разгоне вращения.
При достижении требуемой технологической скорости вращения центробежная сила значительно возрастает. Под ее действием стержни 10 преодолевают сопротивление пружин 11, совершают угловое перемещение от оси вращения и выходят из прорезей 9. Таким образом осуществляется расфиксирование универсальных шарниров 5 и 6 (фиг.3) для осуществления технологического процесса.
После окончания технологического процесса, совершаемого роторной машиной, двигатель 1 выключают и происходит снижение скорости вращения до полной остановки. При этом центробежная сила снижается до полного исчезновения. Под действием пружин 11 стержни 10 совершают угловое перемещение в сторону оси вращения и вновь входят в прорези 9, т.е. в зацепление с диском 8. Таким образом обеспечиваются фиксирование универсальных шарниров 5 и 6 и жесткость карданной передачи на резонансных частотах при торможении вращения.
Благодаря тому, что достигается временное фиксирование универсальных шарниров 5 и 6, колебания, возникающие на резонансных частотах вращения при разгоне и торможении вращения, не будут проявляться. Это позволяет предотвратить касания и удары ротора с сопрягаемыми частями корпуса и опорных деталей установки.
Формула изобретения
Привод вертикальных роторных машин, содержащий двигатель и карданную передачу, состоящую из трех валов – нижнего, среднего и верхнего, – последовательно соединенных между собой с возможностью пересечения осей посредством универсальных шарниров, при этом один из валов выполнен телескопическим, отличающийся тем, что содержит механизм фиксации универсальных шарниров, состоящий из стакана, дном вверх жестко закрепленного на верхнем валу и охватывающего боковой стенкой универсальные шарниры, диска с четырьмя радиальными прорезями, жестко закрепленного на нижнем валу, четырех стержней, шарнирно соединенных с нижней частью боковой стенки стакана и расположенных нижними концами в прорезях диска, и листовых пружин, верхней частью жестко закрепленных в нижней части боковой стенки стакана, а нижней частью взаимодействующих со стержнями.
РИСУНКИ
|
|