|
|
(21), (22) Заявка: 2003110068/15, 10.08.2001
(24) Дата начала отсчета срока действия патента:
10.08.2001
(30) Конвенционный приоритет:
31.05.2001 (пп.1-12) US 09/871,575
(43) Дата публикации заявки: 27.08.2004
(45) Опубликовано: 20.04.2006
(56) Список документов, цитированных в отчете о поиске:
US 6090173 А, 18.07.2000. SU 1346199 A1, 23.10.1987. RU 2042394 C1, 27.08.1995. WO 99/16534 A1, 08.04.1999.
(85) Дата перевода заявки PCT на национальную фазу:
07.04.2003
(86) Заявка PCT:
US 01/25111 (10.08.2001)
(87) Публикация PCT:
WO 02/20133 (14.03.2002)
Адрес для переписки:
119034, Москва, Пречистенский пер., 14, стр.1, 4-й этаж, “Гоулингз Интернэшнл, Инк.”, пат.пов. В.А.Клюкину
|
(72) Автор(ы):
ГОГИНС Марк А. (US), УИК Томас М. (US)
(73) Патентообладатель(и):
ДОНАЛЬДСОН КОМПАНИ, ИНК. (US)
|
(54) УЗЕЛ ВОЗДУШНОГО ФИЛЬТРА И СПОСОБ ФИЛЬТРАЦИИ
(57) Реферат:
Изобретение предназначено для фильтрации. Узел воздушного фильтра содержит корпус, имеющий воздуховпускное и воздуховыпускное отверстия, перегородку, разделяющую корпус на фильтрующую камеру и камеру чистого воздуха, конструкцию фильтра, включающую пакет гофрированной фильтрующей среды и сообщающуюся с камерой чистого воздуха, при этом пакет гофрированной фильтрующей среды включает подложку, по меньшей мере, частично покрытую слоем тонкого волокна, содержащим полимер конденсации, отличающийся от сополимера, сформированного из циклического лактама и мономера диамина С6-10 или двукислотного мономера С6-10, и смолистую добавку, включающую ароматический олигомер, имеющий молекулярный вес порядка приблизительно от 500 до 3000, в котором добавка смешивается с полимером конденсации. Способ фильтрации включает пропускание воздуха через предлагаемый узел воздушного фильтра. Технический результат: обеспечение высокой эффективности фильтрации потоков при высоких температурах, с высокой влажностью, высокими расходами. 2 н. и 10 з.п. ф-лы, 27 ил., 2 табл. 
Настоящая заявка зарегистрирована в качестве международной патентная заявки РСТ на имя компании Donaldson Company, американской национальной корпорации США от 10 августа 2001 года, с обозначением всех стран, кроме США, и с приоритетом по заявке в США 60/230138, зарегистрированной 5 сентября 2000 года, и заявке в США №09/871582, зарегистрированной 31 мая 2001 года.
Область изобретения
Настоящее изобретение относится к устройству фильтра и способу фильтрации. Более конкретно, заявка относится к устройству для фильтрации с улавливанием твердых частиц из потока газа, например из потока воздуха. Изобретение также относится к способу удаления материала в виде твердых частиц из потока газа.
Настоящее изобретение является дальнейшим развитием технологии компании Donaldson Company, Миннеаполис, штат Миннесота, которая является правопреемником настоящего изобретения. Раскрытие относится к дальнейшему развитию технологии, частично относящейся к предметам изобретения, раскрытым в следующих патентах США: В2 4720292; Des 416308; 5613992; 4020783; и 5112372. Каждый из упомянутых выше патентов также принадлежит компании Donaldson Company, Миннеаполис, штат Миннесота; полное раскрытие каждого из них включено здесь в качестве ссылки.
Изобретение также относится к полимерному материалу и волокну, которое может обладать повышенной стойкостью к неблагоприятным воздействиям окружающей среды, влияние которой проявляется в виде нагрева и высокой влажности, а также стойкостью к радиоактивным материалам и механическим напряжениям. Такие материалы могут использоваться при формировании тонких волокон типа микроволокон и материалов из нановолокна с улучшенной стабильностью и прочностью. Поскольку размер волокна очень мал, срок службы материалов является определяющим параметром. Такие тонкие волокна могут быть использованы в разных областях техники. В одном применении конструкция фильтра может быть выполнена, используя технологию тонкого волокна. Изобретение относится к полимерам, полимерным составам, волокнам, фильтрам, конструкциям фильтров и способам фильтрования. Использование изобретения, в частности, относится к фильтрации твердых частиц из потока текучей среды, например от потока воздуха или жидкости (например, воды). Описанные ниже методики относятся к структурам, имеющим один или большее количество слоев тонкого волокна в фильтрующей среде. Составы и размер волокон выбираются с учетом сочетания их свойств срока службы.
Предпосылки создания изобретения
Твердые частицы, взвешенные в газе, присутствуют во многих отраслях промышленности. В некоторых отраслях промышленности такие твердые частицы – ценное изделие, например крахмал, который должен быть извлечен из отходящего потока газа. В других отраслях, например металлургии, твердые частицы могут быть просто пылью, которая должна быть удалена из воздуха. Системы для очистки потока воздуха или газа, включающего твердые частицы, могут представлять собой сборки воздушных фильтров с фильтрующими элементами в корпусе. Фильтрующий элемент может представлять собой рукав или мешок из ткани или гофрированной бумаги. Очистка фильтра выполняется периодически путем пропускания струи воздуха во внутреннюю часть фильтрующего элемента в обратном направлении. Такие узлы воздушного фильтра раскрыты, например, в патентах США 4218227 и патентах США 4395269, которые включены в описание в качестве ссылки.
Элементы Вентури иногда используются, чтобы направить струю сжатого воздуха в фильтрующий элемент и использовать энергию давления на выходе фильтрующего элемента. Часто входной конец элемента Вентури находится либо вне фильтрующей камеры, либо проходит внутрь фильтрующего элемента. Например, патент США 4218227 раскрывает монтаж элемента Вентури таким образом, что вход элемента Вентури установлен на стороне перегородки фильтрующей камеры противоположного фильтрующего элемента. Патент 3942962 раскрывает элемент Вентури, вход которого входит во внутреннюю часть фильтрующего элемента.
Изобретение также относится к полимерным составам с улучшенными свойствами, которые могут использоваться в разных областях применения, включая формирование волокон, микроволокон, нановолокон, волоконных тканей, волокнистых матовых поверхностей, водопроницаемых конструкций типа мембран, покрытий или пленок. Полимерные материалы по настоящему изобретению – составы, которые имеют физические свойства, обеспечивающие полимерному материалу физическую стойкость к вредному воздействию влажности, высокой температуры, потока воздуха, химикатов и механического напряжения или воздействия на конструкцию фильтра. Изобретение также относится к способам снижения таких воздействий.
При создании нетканой среды фильтра из тонкого волокна использовались различные материалы, включая стекловолокно, металл, керамику и широкий диапазон полимерных составов. Также использовались различные способы для изготовления микро- и нановолокон небольшого диаметра. Один из этих способов включает прохождение материала через тонкий капилляр или отверстие либо в виде расплава, либо в растворе, который затем испаряется. Волокна могут также быть сформированы с помощью “фильер”, которые широко используются для изготовления синтетического волокна типа нейлона. Известно также электростатическое прядение. Такие методики включают использование шприца, сопел, капиллярного или подвижного эмиттера. Эти конструкции обеспечивают получение жидких растворов полимера, которые затем подаются в зону сбора электростатическим полем высокого напряжения. По мере того как эти материалы вытягиваются эмиттером и ускоряются в электростатической зоне, волокно становится очень тонким и может быть сформировано в виде волоконной структуры при испарении раствора. При более жестких условиях применения для фильтрующей среды требуются значительно улучшенные материалы, чтобы противостоять условиям высокой температуры от 100°F до 250°F и до 300°F, высокой влажности от 10% до 90% и до 100% относительной влажности, высокого расхода газа или жидкости и микронных и субмикронных частиц фильтра (в диапазоне от 0,01 микрона до более 10 микрон) и удаляемых абразивных и неабразивных, агрессивных и инертных частиц из потока жидкости.
Соответственно, возникает потребность в полимерных материалах, микро- и нановолоконных материалах и структурах фильтра, которые обеспечивают улучшенные свойства при фильтровании потоков при высоких температурах, с высокой влажностью, высокими расходами, а также для удаления указанных субмикронных и микронных частиц из потока. Для удаления твердых частиц был разработан целый ряд воздушных или газовых фильтров. Тем не менее, продолжаются работы по их усовершенствованию.
Краткое описание изобретения
Изобретение предлагает общие методики для проектирования и применения устройств для очистки воздуха. Эти методики включают предпочтительную конструкцию фильтрующего элемента, а также предпочтительные способы фильтрации. В общих чертах, предпочтительные области применения включают использование в воздушном фильтре барьерной среды, как правило, гофрированной структуры и тонких волокон, которые обеспечивают определенные преимущества. Фильтрующая среда включает, по меньшей мере, сетчатый слой из микро- или нановолокна в сочетании с материалом подложки в механически стабильной конструкции фильтра. Эти слои обеспечивают превосходную фильтрацию, высокий процент захвата частиц, эффективность при минимальном ограничении потока, когда текучая среда типа газа или жидкости проходит через фильтрующую среду. Подложка может быть расположена вверх по потоку текучей среды, вниз по потоку или помещена во внутренний слой. С недавних пор в различных отраслях промышленности уделяется особое внимание использованию фильтрующих сред, т.е. удалению нежелательных частиц из потока газа или, в некоторых случаях, из потока жидкости. Обычный процесс фильтрации состоит в удалении твердых частиц из потока воздуха или потока другого газа или из потока жидкости типа гидравлической жидкости, смазочного масла, топлива, потока воды или другой жидкости. Такие процессы фильтрации требуют механической прочности, химической и физической стойкости микроволокна и материалов подложки. Фильтрующая среда может подвергаться воздействию температур в широком диапазоне, влажности, механической вибрации и ударам агрессивных и инертных, абразивных или неабразивных частиц, в потоке передаваемой среды. Кроме того, фильтрующая среда часто должна обладать способностью самоочищения, когда через нее пропускается обратный импульс давления (короткое реверсирование потока, чтобы удалить поверхностный слой твердых частиц), или иметь возможность другого механизма очистки, который может удалять определенные частицы с поверхности фильтрующей среды. Такая реверсивная очистка может значительно снизить перепад давления после импульсной очистки. Эффективность захвата частиц, как правило, после импульсной очистки не улучшается, однако импульсная очистка снижает перепад давления, экономя энергию в процессе фильтрации. Такие фильтры могут сниматься для обслуживания и очистки в водных или неводных чистящих составах. Такая фильтрующая среда часто формируется, вращая тонкое волокно и затем формируя слой ткани или нанося микроволокно на пористую подложку. В процессе прядения волокно может формировать физические связи между волокнами, объединяя слой и гарантируя волокнистую поверхность подложки. Такой материал может храниться на складе на поддонах и может быть изготовлен в желательном формате фильтра типа картриджей, плоских дисков, коробок, панелей, рукавов и мешков. В таких конструкциях среда может быть, в основном, гофрированной или иметь иную форму, подходящую для ее размещения в опорной конструкции.
Изобретение обеспечивает улучшенный полимерный материал. Такой полимер имеет повышенную физическую и химическую стойкость. Тонкое полимерное волокно диаметром от 200 нанометров до 10 микрон (микроволокно и нановолокно) может быть сформировано в нужном формате изделия (например, когда оно нанесено на подложку). Нановолокно – волокно диаметром менее 200 нанометров или 0,2 микрона. Микроволокно – волокно диаметром более 0,2 микрона, но не более чем 10 микрон. Это тонкое волокно может быть выполнено в виде улучшенной многослойной структуры среды микрофильтрации. Слои тонкого волокна по настоящему изобретению имеют случайное распределение тонких волокон, которые могут быть соединены вместе, чтобы образовать задерживающую сетку. Процесс фильтрации обеспечивается, главным образом, в результате образования барьера из тонких волокон, который препятствует прохождению твердых частиц. Структурные свойства в виде жесткости, прочности, гофрирующей способности обеспечиваются подложкой, на которую наносится тонкое волокно. Тонкие волокна, сцепляющиеся в сетку, имеют такие важные характеристики, как размер микроволокон или нановолокон и относительно небольшие отверстия или пространства между волокнами. Такие пространства между волокнами, как правило, имеют размер приблизительно от 0,01 до 25 микрон, часто приблизительно от 0,1 до 10 микрон.
Фильтр включает слой тонкого волокна и слой целлюлозы, толщина которого зависит от выбора соответствующей подложки. Тонкое волокно добавляет менее одного микрона к толщине ко всему слою волокна плюс фильтрующая среда подложки. В процессе работы фильтры могут останавливать падающую на них частицу, прошедшую через слой тонкого волокна, и могут испытывать существенную поверхностную нагрузку со стороны улавливаемых частиц. Частицы, содержащие пыль или другие примеси, быстро образуют пылевую корку на поверхности тонких волокон, и она поддерживает высокую начальную и общую эффективность при удалении твердых частиц. Даже при сравнительно малых размерах загрязняющих примесей, содержащих частицы размером от 0,01 до 1 микрона, фильтрующая среда имеет возможность накапливать очень большое количество пыли.
Описанные здесь полимерные материалы обладают значительно большей стойкостью к нежелательным воздействиям тепла и влаги; они способны работать при высоких расходах, выдерживать импульсную очистку, противостоять истиранию при действии субмикронных твердых частиц, выдерживать механическую очистку фильтров и другие необходимые условия. Улучшенная характеристика микроволокна и нановолокна получается благодаря повышенному качеству полимерных материалов, из которых вырабатывается это микроволокно и нановолокно. Кроме того, фильтрующая среда согласно изобретению, использующая улучшенные полимерные материалы согласно изобретению, обеспечивает ряд преимуществ, включая большую эффективность, меньшее ограничение расхода, большую прочность и более длительный срок службы (от действия механического напряжении или воздействия неблагоприятной среды) в присутствии абразивных примесей. Кроме того, она имеет гладкую наружную поверхность, свободную от болтающихся волокон или фибрилл. Общая структура фильтрующих материалов обеспечивает более тонкую среду, дающую большую поверхность на единицу объема, меньшую скорость через среду, повышенную эффективность и меньшие ограничения расхода.
Предпочтительный вариант по настоящему изобретению включает смесь полимеров, содержащую первый полимер и второй полимер, отличный от первого (отличающийся по типу полимера, молекулярному весу или по физическим свойствам), который обрабатывается при повышенной температуре. Смесь полимеров может реагировать и формировать единый химический компонент, или он может быть физически объединен в смешанный состав процессом отжига. Отжиг подразумевает физическое изменение, подобно кристаллизации, снятие напряжения или изменение ориентации напряжений. Предпочтительные материалы с помощью химической реакции превращаются в единый полимерный композит, с тем чтобы с помощью дифференциального сканирующего калориметрического анализа (ДСКА) он определялся как однокомпонентный полимерный материал. Такой материал в комбинации с предпочтительными добавками может создавать поверхностное покрытие из добавок на микроволокне, которое обеспечивает защиту от воздействия масел (олеофобность), защиту от влаги (гидрофобность) или повышенную стойкость при совместном воздействии высокой температуры, высокой влажности и тяжелых условий работы. Тонкое волокно из этого класса материалов может иметь диаметр от 2 микрон до менее 0,01 микрона. Такие микроволокна могут иметь гладкую поверхность, содержащую отдельный слой из материала добавки или внешнее покрытие из материала добавки, который частично растворен на поверхности полимера или вплавлен в нее, или то и другое. Предпочтительные материалы для использования в смешанных полимерных системах включают нейлон 6; нейлон 66; нейлон 610; сополимеры нейлона (6-66-610) и другие линейные, главным образом алифатические, композиты нейлона. Предпочтительная нейлоновая сополимерная смола (SVP-651) анализировалась на молекулярный вес с помощью титрования конечной группы. (Дж.Е.Уолз и Г.Б.Тейлор, «Определение молекулярного веса нейлона», «Химический анализ», т.19, номер 7, стр.448-450 (1947)). Величина среднего молекулярного веса (Wn) находилась между 21.500 и 24.800. Состав оценивался с помощью фазовой диаграммы температуры плавления трехкомпонентного нейлона, содержащего нейлон 6 около 45%, нейлон 66 около 20% и нейлон 610 около 25%. (Стр.286, Справочник по нейлоновым пластикам, ред. Мелвина Кохана, издатель Хансер, Нью-Йорк (1995 г.)).
Опубликованные физические свойства смолы SVP-651:
| Свойство |
Способ ASTM |
Единицы |
Стандартная величина |
| Удельный вес |
D-792 |
– |
1,08 |
| Поглощение воды (погружение в воду на 24 часа) |
D-570 |
% |
2,5 |
| Твердость |
D-240 |
по Шору |
D65 |
| Точка плавления |
ДСКА |
°C (°F) |
154 (309) |
| Прочность на разрыв |
D-638 |
МПа (кг/дюйм2) |
50 (7,3) |
| Текучесть |
|
|
|
| Удлинение при разрыве |
D-638 |
% |
350 |
| Модуль изгиба |
D-790 |
МПа(кг/дюйм2) |
180 (26) |
| Объемное удельное сопротивление |
D-257 |
Ом·см |
1012 |
В таких полимерных системах может использоваться поливиниловый спирт, имеющий степень гидролиза от 87 до 99,9%. Предпочтительно, чтобы такие полимерные системы были сшиты. Наиболее предпочтительно, чтобы они были сшиты и содержали значительными количествами олеофобных и гидрофобных добавок.
Другой предпочтительный вариант изобретения включает единичный полимерный материал, объединенный с композитом из добавок для продления срока службы волокна или улучшения эксплуатационных характеристик. Предпочтительные полимеры, применяемые в этом варианте изобретения, включают полимеры нейлона, полимеры поливинилиденхлорида, полимеры поливинилиденфторида, полимеры поливинилового спирта и, в особенности, материалы в сочетании с сильными олеофобными и гидрофобными добавками, что может в результате дать микроволокно или нановолокно с добавками, формирующими покрытие на поверхности тонкого волокна. Применимы в этом изобретении также смеси подобных полимеров, такие как смеси нейлонов, полимеров поливинилхлорида, смесей полимеров поливинилиденхлорида. Кроме того, в этом изобретении также рассматриваются полимерные смеси или сплавы различных полимеров. В этом отношении для формирования микроволоконных материалов по настоящему изобретению пригодны смеси совместимых полимеров. Могут быть использованы составы из добавок, таких как фтористые поверхностно-активные вещества, неионные поверхностно-активные вещества, смолы с низким молекулярным весом, например третичная бутилфеноловая смола, имеющая молекулярный вес менее 3000. Эта смола характеризуется олигомерной связью между фенольными ядрами при отсутствии метиленовых мостовых групп. Положения гидроксила и третичной бутиловой группы могут устанавливаться произвольно по кольцу. Связи между фенольными ядрами всегда находятся после гидроксильной группы, а не располагаются произвольно. Подобным же образом полимерный материал может быть объединен со спирторастворимой нелинейной полимеризованной смолой, полученной из бисфенола А. Такой материал подобен описанной выше третичной бутилфеноловой смоле, в том, что он сформирован с использованием олигомерных связей, которые непосредственно соединяют ароматические кольца друг с другом при отсутствии каких-либо мостовых групп, таких как алкиленовые или метиленовые группы.
Наиболее предпочтительный материал по настоящему изобретению содержит нановолокона, имеющие размер примерно от 10 микрон до 0,01 микрона. Наиболее предпочтительный размер волокна лежит в диапазоне между 0,05 и 0,5 микрона. В зависимости от конкретного применения и наличия импульсной очистки или других устройств очистки фильтра волокно может быть выбрано размером от 2 микрон до 0,01 микрона или от 10 до 0,1 микрона. Такие волокна обеспечивают превосходное действие фильтра, легкость очистки обратным импульсом и другие преимущества. Самые предпочтительные системы полимеров согласно изобретению имеют такую характеристику сцепления, что при контакте с целлюлозной подложкой прочно сцепляются с ней, так что они могут противостоять расслаивающему действию очистки обратным импульсом и другим механическим напряжениям. В таком режиме полимерный материал должен оставаться соединенным с подложкой при воздействии импульса очистки, что в основном соответствует обычным условиям фильтрации, за исключением действия импульсной очистки в обратном направлении сквозь фильтрующую среду. Такое сцепление может возникнуть при действии растворителя в процессе формирования волокна, когда волокно контактирует с подложкой, или в процессе последующей обработки волокна на подложке нагреванием или давлением. Однако было найдено, что характеристики полимера играют важную роль в осуществлении сцепления, так же как и конкретные химические реакции, например реакции с водородном, причем контакт между полимером и подложкой происходит при температуре выше или ниже температуры стеклования (Tg), и состав полимера включает добавки. Полимеры, пластифицированные растворителем или водяным паром, могут обеспечивать хорошее сцепление.
Важным аспектом изобретения является использование описанных микроволоконных и нановолоконных материалов в конструкции фильтра. В такой конструкции материалы из тонких волокон согласно изобретению формируются на подложке фильтра и сцепляются с ней. Могут использоваться подложки из природных и синтетических волокон, например пряденые ткани, нетканые полотна из синтетического волокна и нетканые материалы, изготовленные из смеси целлюлозных, синтетических и стеклянных волокон; нетканые и тканые стеклянные полотна, пластиковый экран, как штампованный, так и перфорированный, а также ультратонкие и среднетонкие мембраны из органических полимеров. Листовая подложка или целлюлозная нетканая сетка может быть встроена в фильтрующую среду, которая помещается на пути потока воздуха или жидкости для удаления из этого потока взвешенных в нем или увлекаемых им твердых частиц. Форма и структура материала фильтра выбираются инженером-проектировщиком. Важным параметром элементов фильтра после формирования является способность противостоять воздействию тепла, влажности или того и другого. Одной из особенностей фильтрующей среды согласно изобретению является ее способность сохраняться при погружении в теплую воду в течение значительного времени. Тест на погружение может дать полезную информацию относительно способности тонкого волокна сохранять работоспособность в условиях влажности при высокой температуре и при очистке элемента фильтра в водных растворах, которые могут содержать значительное количество сильнодействующих чистящих поверхностно-активных веществ и щелочных материалов. Нановолоконные материалы согласно изобретению могут сохранять работоспособность при погружении в горячую воду, сохраняя, по меньшей мере, 50% тонких волокон, сформированных на поверхности подложки. Сохранение, по меньшей мере, 50% тонких волокон может обеспечить достаточную эффективность волокна без потери фильтрующей способности или повышения обратного давления. Наиболее предпочтительным является сохранение, по меньшей мере, 75% волокон.
Краткое описание чертежей
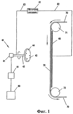
На фигуре 1 представлено типичное электростатическое устройство с эмиттером для производства тонких волокон по настоящему изобретению.
На фигуре 2 показано устройство, используемое для нанесения тонкого волокна на подложку фильтра по технологии, показанной на фигуре 1.
Фигура 3 иллюстрирует типичную внутреннюю структуру материала подложки и отдельное отображение материала из тонкого волокна по настоящему изобретению в сравнении с небольшими твердыми частицами, т.е. 2 и 5 микрон.
На фигурах 4-11 представлены аналитические спектры электронной спектроскопии для химического анализа (ЭСХА), относящиеся к примеру 13.
Фигура 12 иллюстрирует стойкость материала из микроволокна 0,23 и 0,45 из примера 5.
Фигуры 13-16 иллюстрируют повышенную стойкость материалов примеров 5 и 6 к воздействию температуры и влажности по сравнению с немодифицированным полиамидом, растворимым в растворителе нейлонового сополимера.
На фигурах 17-20 показано, что смесь двух сополимеров, нейлонового гомополимера и нейлонового сополимера после термической обработки и объединения с добавками формирует однокомпонентный материал, который не демонстрирует различимые характеристики двух отдельных полимерных материалов, но представляется сшитым или, иначе говоря, химически приведенным к одной фазе.
Фигура 21 – вид сбоку, частично в разрезе на систему фильтрации воздуха, в одном варианте, включающим фильтрующие элементы в соответствии с настоящим изобретением.
Фигура 22 – вид сбоку, частично в разрезе на систему фильтрации воздуха, в другом варианте, включающим фильтрующие элементы и элементы Вентури в соответствии с настоящим изобретением.
Фигура 23 – перспективный вид фильтрующего элемента, используемого в системах, показанных на фигурах 21 и 22.
Фигура 24 – поперечный разрез фильтрующего элемента фигуры 23, показанного по линии 24-24 фигуры 23.
Фигура 25 – увеличенный вид в поперечном сечении на фильтрующий элемент, показанный на фигурах 23 и 24, имеющий уплотнение в системе, показанной на фигуре 21 или 23.
Фигура 26 – частичный поперечный разрез варианта фильтрующего элемента со смонтированным в нем элементом Вентури и используемый в системе, изображенной на фигуре 22.
Фигура 27 – вид сверху на систему импульсной очистки и на элемент Вентури.
Подробное описание изобретения
Тонкие микро- и нановолокна, образующие слой согласно изобретению, представляют собой волокно диаметром от приблизительно 0,001 микрона до 10 микрон, предпочтительно 0,05-0,5 микрона. Толщина типичного фильтрующего слоя из тонких волокон лежит в диапазоне от 1 до 100 диаметров волокна с удельным весом порядка 0,01-240 г/см-2.
Потоки воздуха и газа часто содержат твердые частицы. Необходимо удалить из потока некоторые или все твердые частицы. Например, воздух для вентиляции кабин автомобилей, воздух в дисководах компьютеров, воздух в системах отопления, вентиляции и кондиционирования, воздух жилых помещений, воздух, подаваемый к двигателям автомобилей или к силовому генераторному оборудованию; потоки газа, направляемые к газовым турбинам, и потоки воздуха к различным камерам сгорания часто содержат твердые частицы. Для их удаления используются твердые частицы, заградительные ткани, тканые материалы и рукавные фильтры. В случае воздушного фильтра для салона автомобиля желательно удалить твердые частицы, чтобы обеспечить комфортные условия для пассажиров и/или эстетику салона. В случае потоков воздуха и газа во впускных коллекторах двигателей, газовых турбин и камер сгорания необходимо удалить твердые частицы, потому что они могут повредить внутренние рабочие органы машины. В других случаях промышленные газы производственных процессов или выхлопные газы двигателей также могут содержать материал в виде твердых частиц. Прежде чем такие газы могут или должны быть выброшены в атмосферу через различные последующие устройства, желательно удалить большую часть твердых частиц из этих потоков.
Общее понимание некоторых основных принципов и проблем, связанных с расчетами воздушных фильтров, может быть достигнуто при рассмотрении следующих типов фильтрующей среды: среды с поверхностной загрузкой и глубинной среды. Каждый из этих типов среды хорошо изучен и широко используется. Принципы их действия описаны, например, в патентах США 5082476; 5238474 и 5364456. Полные описания этих трех патентов включены в качестве ссылок.
«Срок службы» фильтра обычно определяется выбранным максимальным перепадом давления на фильтре. Перепад давления на фильтре определяет срок службы на уровне, определенном для данного применения или данной конструкции. Следует понимать, что, как правило, чем больше эффективность (кпд) фильтрующей среды по удалению твердых частиц из потока газа, тем быстрее фильтрующая среда достигнет перепада давления, определенного как предельный срок службы (считая, что другие переменные величины не изменяются). В этом описании термин «неизменно для целей фильтрации» означает поддержание достаточной эффективности удаления твердых частиц из текущего потока, необходимой для выбранной области применения фильтра. Слои тонкого волокна, формируемые на подложке фильтров по настоящему изобретению, должны быть, в основном, однородны как по распределению волокна, так и по рабочим характеристикам. Под однородностью мы понимаем то, что волокно в достаточной мере охватывает подложку, чтобы иметь, по меньшей мере, некоторую измеряемую эффективность фильтрации по всей покрытой волокнами подложке. Необходимая фильтрация может быть обеспечена в широком диапазоне изменения состава волокна. Соответственно, слои тонкого волокна могут измениться по площади покрытия подложки волокном, удельному весу, толщине слоя или другим параметрам волокна, которые определяются рамками настоящего изобретения. Даже относительно небольшая добавка тонкого волокна может увеличить эффективность всего фильтра.
Полимерные материалы были изготовлены из нетканых и тканых тканей, волокон и микроволокон. Полимерный материал обеспечивает физические свойства, требуемые для стабильности изделия. Эти материалы не должны значительно изменятся по размеру, иметь небольшой молекулярный вес, терять гибкость или растрескиваться под действием механических напряжений или ухудшаться физически под воздействием солнечного света, влажности, высоких температур или других отрицательных влияний окружающей среды. Изобретение относится к улучшенному полимерному материалу, который может поддерживать физические свойства под воздействием падающего электромагнитного излучения типа света окружающей среды, высокой температуры, влажности и других физических нагрузок.
Полимерные материалы, которые могут быть использованы в полимерных композитах согласно изобретению, включают как полимерные материалы присоединения, так и конденсационные полимерные материалы, такие как полиолефин, полиацетал, полиамид, полиэфир, простой и сложный эфир целлюлозы, полиалкиленсульфид, полиариленоксид, полисульфон, модифицированные полимеры полисульфона и их смеси. Предпочтительные материалы, которые входят в эти родовые классы, включают полиэтилен, полипропилен, поли(винилхлорид), полиметилметакрилат (и другие акриловые смолы), полистирол и их сополимеры (включая сополимеры блока типа АВА), поли(винилиденфторид), поли(винилиденхлорид), поливиниловый спирт в разных степенях гидролиза (от 87% до 99,5%), в сшитые и не сшитые. Предпочтительные полимеры присоединения, как правило, бывают стекловидными (Tg выше комнатной температуры). Это справедливо для поливинилхлорида и полиметилметакрилата, композитов или сплавов полимера полистирола или низкомолекулярных кристаллических материалов поливинилиденфторида и поливинилового спирта. Одним классом полиамидных конденсационных полимеров являются нейлоновые материалы. Термин «нейлон» – родовое название для всех синтетических полиамидов с длинной цепью. Обычно номенклатура нейлона включает ряд чисел, как, например, в нейлоне 6,6, которые означают, что исходными материалами являются С6 диамин и С6 двухосновная кислота (при этом первая цифра показывает С6 диамин, а вторая цифра показывает компаунд С6 дикарбоновой кислоты). Другой нейлон может быть получен поликонденсацией эпсилон-капролактама в присутствии небольшого количества воды. Эта реакция образует нейлон-6 (полученный из циклического лактама, также известного как эпсилонаминокалроновая кислота), который является линейным полиамидом. Кроме того, рассматриваются также сополимеры нейлона. Сополимеры могут быть получены путем объединения различных соединений диамина, различных соединений двухосновной кислоты и различных составов циклического лактама в реагирующей смеси, а затем формирования нейлона с произвольно расположенными мономерными материалами в полиамидную структуру. Например, материал нейлон 6,6-6,10-нейлон, полученный из гексаметилендиамина и смеси С6 и С10 двукислотных компонентов. Нейлон 6-6, 6-6,10-нейлон, полученный путем сополимеризации эпсилонаминокапроновой кислоты, гексаметилендиамина и смеси материала С6 и двукислотного материала С10.
Блок-сополимеры также применимы для реализации настоящего изобретения. С такими сополимерами важно выбрать растворитель – агент набухания. Выбранный растворитель должен быть таким, чтобы в нем растворялись оба блока. Одним примером является полимер АВА (стирол-ЕР-стирол) или АВ (стирол-ЕР) в растворителе типа метиленхлорида. Если один компонент не растворяется в этом растворителе, он образует гель. Примерами таких блок-сополимеров являются тип Kraton® из стирол-b-бутадиена и стирол-b-гидрогенизированного бутадиена (этилен пропилена), тип Pebax® из е-капролактама-b-окиси этилена, Simpatex® полиэфир-b-окись этилена и полиуретаны окиси этилена и изоцианатов.
Полимеры присоединения, такие как поливинилиденфторид, синдиотактический полистирол, сополимер винилиденфторида и гексафторопропилена, поливиниловый спирт, поливинилацетат, аморфные аддитивные полимеры, такие как поли(акрилонитрил) и его сополимеры с акриловой кислотой и метакрилатами, полистирол, поли(винилхлорид) и его различные сополимеры, поли(метилметакрилат) и его различные сополимеры могут быть сравнительно легко спрядены в растворе, потому что они растворимы при низких давлениях и температурах. Однако для высококристаллического полимера, такого как полиэтилен и полипропилен, требуется раствор с высокой температурой и высоким давлением, если они должны быть спрядены в растворе. Поэтому прядение полиэтилена и полипропилена в растворе очень затруднительно. Электростатическое прядение в растворе является одним из способов производства нановолокон и микроволокон.
Выявляются существенные преимущества при формировании полимерных составов, содержащих два и несколько полимерных материалов в виде смеси полимеров, в формате сплава или в сшитых химических составах. Мы убеждены, что создание таких полимерных композитов улучшает их физические свойства путем изменения свойств полимера, например, путем увеличения гибкости или подвижности полимерной цепи, увеличения общего молекулярного веса и повышения прочности путем образования сеток из полимерных материалов.
В одном варианте такого исполнения два родственных полимерных материала могут быть смешаны для получения необходимых свойств. Например, высокомолекулярный поливинилхлорид может быть смешан с низкомолекулярным поливинилхлоридом. Подобным же образом высокомолекулярный нейлоновый материал может быть смешан с низкомолекулярным нейлоновым материалом. Кроме того, могут быть смешаны различные категории общего полимерного вида. Например, материал высокомолекулярного стирола может быть смешан с высокопрочным низкомолекулярным полистиролом. Материал нейлон-6 может быть смешан с сополимером нейлона, таким как сополимер нейлон-6; 6,6; 6,10. Кроме того, поливиниловый спирт, имеющий низкую степень гидролиза, например 87%, и гидролизный поливиниловый спирт, могут быть смешаны с гидролизованным или сверхгидролизованным поливиниловым спиртом, имеющим степень гидролиза между 98 и 99,9% и выше. Все эти материалы в смеси могут быть сшиты с использованием соответствующих механизмов образования поперечных связей. Нейлоны могут быть сшиты с использованием агентов поперечной связи, которые вступают в реакцию с атомом азота и образуют амидную связь. Молекулы поливинилового спирта могут быть сшиты с использованием гидроксильных реактивных материалов, таких как моноальдегиды, например формальдегид, мочевина, меламин-формальдегидная смола и ее аналоги, борная кислота и другие неорганические соединения, диальдегиды, двукислотные компоненты, уретаны, эпоксиды и другие известные агенты для образования поперечных связей. Технология образования поперечных связей (сшивание полимеров) – хорошо известное явление, в котором создающие поперечные связи реагенты реагируют и образуют ковалентные связи между полимерными цепями, чтобы существенно повысить молекулярный вес, химическую стойкость, общую прочность и стойкость к механическому разрушению.
Мы обнаружили, что добавки могут значительно улучшить свойства полимерных материалов, имеющих форму тонких волокон. Стойкость к воздействию тепла, влаги, удара, механического напряжения и других вредных влияний окружающей среды может быть значительно повышена с помощью добавок. Мы обнаружили, что при обработке микроволоконных материалов согласно изобретению добавки улучшают олеофобные и гидрофобные свойства и могут содействовать повышению химической стойкости этих материалов. Мы убеждены, что тонкие волокна согласно изобретению улучшаются благодаря присутствию этих олеофобных и гидрофобных добавок, поскольку они образуют слой защитного покрытия, размытую поверхность или проникают в поверхность на некоторую глубину, улучшая основные свойства полимерного материала. Мы убеждены, что важной характеристикой этих материалов является присутствие сильной гидрофобной группы, которая может предпочтительно иметь также и олеофобный характер. Сильные гидрофобные группы включают фторуглеродные группы, гидрофобные углеводородные поверхностно активные вещества или блоки и в основном углеводородные олигомерные композиты. Эти материалы производятся в виде композитов, которые содержат часть молекул, в основном совместимых с полимерным материалом, создавая стандартную физическую связь или соединение с полимером, в то время как сильно гидрофобная или олеофобная группа, полученная в результате связи добавки с полимером, формирует защитный поверхностный слой, который остается на поверхности, или сплавляется, или смешивается с поверхностными слоями полимера. Для 0,2-микронного волокна с уровнем добавок 10% рассчитанная толщина поверхности равна примерно 50 Å, если добавки переместились к поверхности. Предполагается, что перемещение происходит благодаря несовместимости олеофобных или гидрофобных групп с основной массой материала. Толщина в 50 Å оказывается достаточной для защитного покрытия. Для волокна диаметром 0,05 микрона толщина в 50 Å соответствует 20% массы. Для толщины волокна 2 микрона толщина 50 Å соответствует 2% массы. Предпочтительно, чтобы добавки использовались в количестве примерно 2-25% по весу. Олигомерные добавки, которые могут использоваться в сочетании с полимерньми материалами согласно изобретению, включают олигомеры, имеющие молекулярный вес примерно от 500 до 5000, предпочтительно примерно от 500 до 3000, включая фтористые соединения, неионные поверхностно активные вещества и смолы или низкомолекулярные олигомеры.
Фторорганические смачивающие вещества, применяющиеся в этом изобретении, представляют собой органические молекулы, выраженные формулой
Rf-G,
в которой Rf – фторзамещенный алифатический радикал, a G – группа, которая содержит, по меньшей мере, одну гидрофильную группу, такую как катионная, анионная, не ионная или амфионная группы. Предпочтительными являются не ионные материалы. Rf – фторированный одновалентный алифатический органический радикал, содержащий, по меньшей мере, два атома углерода. Предпочтительно, чтобы это был насыщенный перфторалифатический одновалентный органический радикал. Однако в качестве заместителей в скелетной цепи могут присутствовать атомы водорода или хлора. Поскольку радикалы, содержащие большое количество атомов углерода, могут содействовать процессу, предпочтительны соединения, содержащие не более 20 атомов углерода, поскольку большие радикалы обычно снижают эффективность использования фтора, чем это возможно с более короткими скелетньми цепями. Предпочтительно, чтобы Rf содержал от 2-8 атомов углерода.
Катионные группы, которые могут использоваться во фторорганических агентах, применяемых в настоящем изобретении, могут включать аминную или четвертичную аммониевую катионную группу, которая может быть бескислородной (например, -NH2) или кислородосодержащей (например, окислы амина). Такие аминные и четвертичные аммониевые катионные гидрофильные группы могут иметь формулы, такие как -NH2, -(NH3)Х, -(NH(R2)2)Х, -(NH(R2)3)X или -N(R2)3 O, где Х – анионный противоион, такой как галогенид, гидрат окиси, сульфат, бисульфат или карбоксилат, алкиловая группа R2-, Н или С1-18, причем каждая группа R2 может быть такой же, как другие группы R, или отличаться от них. Предпочтительно, R2 – это Н или C1-16 алкиловая группа, а Х – галогенид, гидроокись или бисульфат.
Анионные группы, которые могут использоваться во фторорганических смачивающих агентах, применяемых в настоящем изобретении, включают группы, которые при ионизации могут становиться радикалами анионов. Анионные группы могут иметь такие формулы, как -СООМ, -SO3М, -OSO3М, -РО3НМ, -ОРО3М2 или -ОРО3НМ, где М – Н, ион металла (NR1 4)+ или SR1 4)+, где каждый R1 – независимый Н или замещенный или незамещенный алкил C1-С6. Предпочтительно, М – Na+ или К+. Предпочтительные анионные группы фторорганических смачивающих веществ, используемых в настоящем изобретении, имеют формулу -СООМ или -SO3М. В группу анионных фторорганических смачивающих веществ входят анионные полимерные материалы, обычно получаемые из этилен-ненасыщенных карбоксильных мономеров одно- и двукислотных мономеров, имеющих соединенные с ними парные фторуглеродные группы. Такие материалы включают поверхностно активные вещества, поставляемые корпорацией 3М, известные под маркой FC-430 и FC-431.
Амфотерные группы, которые могут использоваться во фторорганическом смачивающем агенте, применяемом в настоящем изобретении, включают группы, которые содержат, по меньшей мере, одну катионную группу и, по меньшей мере, одну анионную группу.
Неионные группы, которые могут использоваться во фторорганических смачивающих веществах, применяемых в настоящем изобретении, включают гидрофильные группы, которые при обычном рН нормального агрономического применения не ионизируются. Неионные группы могут иметь такие формулы, как -O(СН2СН2)х ОН, где х>1, -SO2NH2, -SO4NHCH5CH2OH, -SO2N(CH2CH2H)2, -ONH2, -CONHCH2CH2OH или CON(CH2CH2OH)2. Примеры таких материалов включают материалы следующего состава:
F(CF2CF2)n-CH2CH2O-(СН2Н2O)m-Н,
где n равно 2-8, a m равно 0-20.
Другие фторорганические смачивающие вещества включают катионные соединения фтора, описанные, например, в патентах США 2764602, 2764603, 3147064 и 4069158. Такие амфотерные фторорганические смачивающие вещества включают амфотерные соединения фтора, описанные, например, в патентах США 2764602; 4042522; 4069158; 4069244; 4090967; 4161590 и 4161602. Такие анионные фторорганические смачивающие вещества включают анионные соединения фтора, описанные, например, в патентах США 2803656; 3255131; 3450755 и 4090967.
Примерами таких материалов являются не ионные поверхностно активные вещества компании duPont Zonyl FSN и duPont Zonyl FSO. Другой вариант добавок, которые могут быть использованы в полимерах согласно изобретению, включают низкомолекулярные соединения акрилат фтороуглеводорода, в честности, материал 3М
CF3(СХ2)n-акрилат
где Х представляет собой -F или -CF3, а n равно 1-7.
Кроме того, в качестве добавок для материалов по настоящему изобретению также могут быть использованы неионные углеводородные поверхностно активные вещества, включая этоксилаты низших спиртов, этоксилаты жирной кислоты, нонилфенол и т.п. Примеры таких материалов включают Triton Х-100 и Triton N-101.
Полезными материалами для использования в качестве добавки в композитах согласно изобретению являются третичные бутилфеноловые олигомеры. Такие материалы обычно могут быть сравнительно низкомолекулярными ароматическими фенольными смолами. Такие смолы являются фенольными полимерами, получаемыми с помощью ферментативного окислительного процесса. Отсутствие метиленовых мостов дает уникальную химическую и физическую стойкость. Эти фенольные смолы могут быть сшиты с различными аминами и эпокси-группами, и они совместимы с различными полимерными материалами. Эти материалы, в целом, представляются следующими структурными формулами, которые характеризуются фенольными материалами в повторяющейся структуре, в отсутствие метиленовых мостовых групп содержащими фенольные и ароматические группы.



где n равно 2-20. Примеры этих фенольных материалов включают Enzo-BPA, Enzo-ВРА/фенол, Enzo-TBP, Enzo-COP и другие родственные фенольные смолы, поставляемые фирмой Энзимол Интернейшенл Инк. (Enzimol International Inc.), Колумбус, штат Огайо.
Следует отметить, что для различных применений используются различные нановолоконные фильтрующие среды. Прочные нановолокна и микроволокна, описанные в настоящем изобретении, могут быть добавлены к любой из этих сред. Описываемые здесь волокна могут также быть использованы для замены нановолоконных компонентов в существующих средах, обеспечивая значительное улучшение рабочих характеристик (повышенная эффективность и/или сниженный перепад давления) благодаря их малому диаметру, в то же время обеспечивая увеличенный срок службы.
Полимерные нановолокна и микроволокна известны в данной области техники, но их использование было очень ограничено из-за их хрупкости при механических напряжениях и их восприимчивости к разрушительному действию химических веществ из-за очень высокого отношения площади поверхности к объему. Волокна, описанные в настоящем изобретении, устраняют эти ограничения, поэтому они могут применяться в различных областях фильтрации, текстильной промышленности, в мембранах и других областях применения.
Подробное описание некоторых чертежей
Микроволокно или нановолокно для описываемого устройства может быть получено с помощью процесса электростатического прядения. Соответствующее устройство для получения этого волокна показано на фигуре 1. Это устройство включает бак 80, в котором находится раствор полимера, из которого формируется тонкое волокно, насос 81 и вращающийся излучатель или эмиттер 40, к которому перекачивается раствор полимера. Эмиттер 40, в основном, состоит из вращающейся муфты 41, вращающегося узла 42, содержащего множество смещенных относительно друг друга отверстий 44, и вала 43, соединяющего направленный вперед узел и вращающуюся муфту. Вращающаяся муфта 41 используется для подачи раствора полимера к направленному вперед узлу 42 через полый вал 43. Отверстия 44 разнесены по периферии направленного вперед узла 42. Альтернативно вращающийся узел 42 может быть погружен в бак с полимером (раствор полимера поступает из бака 80 с помощью насоса 81). Вращающийся узел 42 затем захватывает раствор полимера из бака, и, по мере его вращения в электростатическом поле, капля раствора ускоряется этим полем в направлении сборника 70, как будет описано ниже.
В устройстве имеется плоская сетка 60, направленная в сторону эмиттера 40 и несущая сборник волокон (подложку). Воздух может прокачиваться через эту сетку. Сборник 70 проходит вокруг роликов 71 и 72, которые расположены рядом с противостоящими краями сетки 60. Электростатический потенциал высокого напряжения поддерживается между эмиттером 40 и сеткой 60 посредством соответствующего источника электростатического напряжения 61 и проводов 62 и 63, которые соединяют сетку 60 с эмиттером 40.
В процессе работы раствор полимера перекачивается из бака 80 к вращающейся муфте 41 или к баку. Направленный вперед узел 42 вращается, при этом жидкость вытекает из отверстий 44 или захватывается из бака и перемещается от внешнего края эмиттера в направлении сборника 70, расположенного на сетке 60. Разность электростатических потенциалов между сеткой 60 и эмиттером 40 наводит заряд на материале, который заставляет жидкость вытекать из эмиттера в виде тонких волокон, которые притягиваются к сетке 60 и собираются на подложке. В случае полимера в растворе растворитель испаряется из волокон во время их полета к сетке 60. Тонкие волокна соединяются с волокнами подложки, первоначально прикрепленными к сетке 60. Напряженность электростатического поля выбирается с таким расчетом, что полимерный материал при движении от эмиттера к сборнику 70 получает достаточное ускорение, позволяющее превратить его в очень тонкую микроволоконную или нановолоконную структуру. Ускорение или замедление движения сборника волокон дает возможность регулировать количество осаждаемых волокон на формирующуюся среду, управляя, таким образом, толщиной каждого слоя. Вращающийся узел 42 может принимать различные положения. Он может находиться в плоскости вращения так, что эта плоскость будет перпендикулярна поверхности сборника 70 или расположена под любым произвольным углом. Вращающаяся среда может быть расположена параллельно плоскости ориентации или под некоторым углом к ней.
На фигуре 2 представлена блок-схема процесса и устройства для формирования слоя тонких волокон на листовой подложке или среде. На фигуре 2 листовая подложка развернута около блока 20. Листовая подложка 20а затем направляется к склеивающему прессу 21, в котором множество листов подложки могут соединяться в одну подложку в непрерывном рабочем режиме. Листовая подложка непрерывной длины направляется к установке получения тонкого волокна 22, содержащей прядильную машину, представленную на фигуре 1. Прядильная машина формирует тонкое волокно и укладывает это волокно в фильтрующий слой на листообразную подложку. После того как слой тонкого волокна сформирован на листовой подложке в зоне формирования 22, слой тонкого волокна и подложка направляются к установке 23 для термообработки. Листовая подложка и слой тонкого волокна затем проверяется в устройстве контроля эффективности 24 (см. патент США 5203201, который включен в описание в качестве ссылки), и при необходимости подается на направляющий ролик 25. Листовая подложка и слой волокна затем направляются к соответствующему намоточному станку, который наматывает их на соответствующий барабан для дальнейшей обработки на стадиях 26 и 27.
На фигуре 3 представлено изображение, полученное на сканирующем электронном микроскопе, которое показывает взаимное положение обычных частиц пыли, имеющих диаметр около 2 микрон и около 5 микрон, соответствующих размерам пор в стандартной целлюлозной среде и типовых структурах тонкого волокна. На фигуре 3А 2-микронная частица 31 и 5-микронная частица 32 показаны в целлюлозной среде 33, в которой размеры пор несколько превышают диаметр обычных частиц; в противоположность этому, на фигуре 3В 2-микронная частица 31 оказывается примерно равной или чуть больше типичных отверстий между волокнами в волоконной сетке 35, а 5-микронная частица 32 оказывается больше, чем любое отверстие в сетке из тонких волокон 35.
Предшествующее общее описание различных свойств полимерных и тонковолоконных материалов по настоящему изобретению, включая как микроволокна и нановолокна, так и конструкцию используемых фильтрующих сред из тонковолоконных материалов, обеспечивает понимание общего технологического процесса при реализации настоящего изобретения. Описываемые ниже конкретные образцы материалов являются примерами материалов, которые могут быть использованы при формировании тонковолоконных материалов по настоящему изобретению, и они демонстрируют наиболее оптимальный вариант. Эти примерные материалы были получены со следующими характеристиками, имея в виду приведенные условия процесса. Электрически спряденные волокна малого диаметра (менее 10 микрон) получаются при использовании электростатического поля, действующего в качестве силы притяжения и растягивающего струю полимера в очень тонкую нить. В процессе электростатического прядения может быть использован расплавленный полимер, однако волокна меньше 1 микрона лучше всего получаются из полимера в растворе. По мере того как масса полимера вытягивается в нити малого диаметра, раствор испаряется, что содействует уменьшению размера волокна. Выбор растворителя важен по нескольким причинам. Если растворитель высыхает слишком быстро, волокна становятся плоскими, и их диаметр увеличивается. Если растворитель сохнет слишком медленно, он будет заново растворять образующиеся волокна. Поэтому необходимо тщательно согласовать скорости высыхания и формирования волокон. При больших объемах производства большое количество пропускаемого воздуха помогает предотвратить образование огнеопасной атмосферы и уменьшить риск воспламенения. Помогают в этом и негорючие растворители. В производственной обстановке обрабатывающее оборудование время от времени требует чистки. Безопасные, слаботоксичные растворители сводят к минимуму воздействие вредных химических веществ на оператора. Электростатическое прядение может выполняться при расходе через эмиттер 1,5 мм/мин, расстоянии-мишени 8 дюймов, напряжении на эмиттере 88 кВ, скорости вращении эмиттера 200 об/мин и относительной влажности 45%.
Выбор системы полимера важен для конкретной области применения. В системах с импульсной очисткой чрезвычайно тонкий слой микроволокна может помочь свести к минимуму перепад давления и обеспечить наружную поверхность для захвата и удаления частиц. Предпочтительным является тонкий слой волокон диаметром менее 2 микрон, наиболее предпочтительно диаметром менее 0,3 микрона. Важно обеспечить хорошее сцепление между микроволокном или нановолокном и подложкой, на которую эти микроволокна или нановолокна осаждаются. Когда фильтры изготавливаются из сочетания подложки и тонкого слоя микро- и нановолокон, такая структура создает превосходную фильтрующую среду с возможностью самоочистки. Очистка поверхности импульсом обратного давления восстанавливает фильтрующую среду. Поскольку к поверхности прикладывается большое усилие, тонкое волокно со слабым сцеплением с подложкой может расслоиться при поступлении к микроволокну обратного импульса, проходящего внутри фильтра через подложку. Поэтому для надежной работы фильтра очень важно обеспечить хорошее взаимное сцепление между микроволокнами, а также сцепление между волокнами подложки и электрически спряденными волокнами.
Изделия, которые отвечают вышеприведенным требованиям, могут быть получены при использовании волокон, изготовленных из различных материалов. Малые волокна с хорошими свойствами сцепления могут быть изготовлены из таких полимеров, как поливинилиденхлорид, поливиниловый спирт, полимеры и сополимеры, содержащие различные нейлоны, например, нейлон 6; нейлон 4,6; нейлон 6,6; нейлон 6,10 и их сополимеры. Превосходные волокна могут быть изготовлены из ПВДФ, но для того, чтобы изготавливать волокна достаточно малого диаметра, требуются хлорированные растворители. Нейлон 6, нейлон 66 и нейлон 6,10 могут быть получены методом электростатического прядения. Однако растворители, такие как муравьиная кислота, m-крезол, трифтороэтанол, гексафтороизопропанол либо неудобны в обращении, либо очень дороги. Предпочтительные растворители включают воду, этанол, изопропиловый спирт, ацетон и N-метил пирролидон, благодаря их слабой токсичности. Полимеры, совместимые с такими системами растворителей, оценивались всесторонне. Мы обнаружили, что волокна, изготовленные из ПВХ, ПВДХ, полистирола, полиакрилонитрила, ПММА, ПВДФ, требуют дополнительных средств сцепления, чтобы достичь необходимых свойств структуры. Мы обнаружили также, что когда полимеры растворены в воде, этаноле, изопропиловом спирте, ацетоне, метаноле и их смесях и из них получены прочные волокна; эти волокна обладают отличным сцеплением с подложкой, таким образом, создавая превосходную фильтрующую среду для области применения с самоочисткой. Самоочистка с помощью обратного импульса воздуха или вихря полезна в случаях, когда фильтрующая среда используется в условиях с очень высокой концентрацией пыли. В таких областях применения успешно использовались волокна из спирторастворимых полиамидов и поливиниловых спиртов. Примеры спирторастворимых полиамидов включают Macromelt 6238, 6239 и 6900, Elvamide 8061 и 8063 фирмы Дюпон и SVP 637 и 651 компании «Shakespeare Monofilament Company”. Другая группа спирторастворимого полиамида содержит нейлон типа 8, модифицированный алкоксиалкилом нейлон 66 (см. стр.447 Справочника по нейлоновым пластикам, ред. Мелвин Кохан, издатель Хансер, Нью-Йорк, 1995 г.). Примеры поливинилового спирта включают ПВА-217, 224 от Курари, Япония и Винол 540 компании «Air Products and Chemical Company”.
Мы убедились, что фильтры могут выдерживать воздействие экстремальных условий окружающей среды. Фильтры в пустыне в Саудовской Аравии могут работать при температуре в 150°F (65°C) и даже выше. Фильтры, установленные в Индонезии или на побережье залива Галф Коаст в США, могут выдерживать воздействие относительной влажности свыше 90% и температуры свыше 100°F (38°C). Они могут также выдерживать действие дождя. Мы убедились, что фильтры, используемые под капотом транспортных средств, таких как автомобили, грузовики, автобусы, тракторы и строительные машины, могут работать при высокой температуре (93°С), высокой относительной влажности и выдерживать воздействие химических веществ окружающей среды. Мы разработали способы проверки для оценки стойкости микроволоконных систем в суровых условиях – при погружении образцов фильтрующей среды в горячую воду (60°С) в течение 5 минут или при воздействии высокой влажности, высокой температуры и потока воздуха.
На фигуре 21-24 система или узел фильтрации воздуха обозначен общей позицией 110. Показанная на чертеже система состоит из трех узлов или модулей, расположенных рядом друг с другом. Такое устройство может иметь размер порядка 6 на 10 футов.
В системе 110, показанной на фигуре 21, одна боковая панель показана в частично разобранном виде для иллюстрации конструкции различных элементов системы. В этом варианте впускной воздушный патрубок 111 расположен на верхней стенке панели 116, в результате чего насыщенный пылью или другим загрязнителем воздух движется вниз в камеру грязного воздуха 122. Это позволяет системе использовать силу тяжести для перемещения пыли через узел 110 в камеру грязного воздуха 114. Камера грязного воздуха 114 имеет дверцу 113, верхнюю стеновую панель 116, две противоположные стеновые панели 117 (которые отходят вниз от верхней панели), ступенчатую стенку 129 и две наклонные поверхности 123, 124, которые частично образуют пылесборник или бункер 114 в основании устройства.
Вдоль каждой из боковых стеновых панелей 117 крепится проставка или трубная доска 128, имеющая ступенчатую конструкцию. Каждый отдельный фильтрующий элемент 132 устройства 110 смонтирован на указанной трубной доске 128. Трубная доска 128 герметизирована со всех сторон и обеспечивает герметичное отделение камеры грязного воздуха 122 от камеры чистого воздуха 160. Фильтрующие элементы 132 смонтированы ступенчато, трубная доска 128 расположена в камере грязного воздуха 122, причем фильтрующие элементы 132 размещены ступенчато или разделены друг от друга с частичным перекрытием и проходят вниз под острым углом по отношению к горизонтальной плоскости панели 116. При этом в верхней части фильтрующего устройства 110 создается распределительное пространство 133. По мере того как воздух поступает в устройство 110 из впускного патрубка 120, он входит в распределительное пространство 133 перед поступлением в фильтр.
Изображенные на чертеже отдельные фильтрующие элементы включают гофрированную среду 135, сформированную в виде цилиндрических трубчатых элементов, каждый из которых имеет торцевые части. В отличие от описанного ниже предпочтительного выполнения фильтрующей среды конструкция каждого элемента 132 и его крепления к трубной доске 128 аналогична конструкции фильтрующих элементов, раскрытых в патентах США 4395269 и 5562746, каждый из которых включен в описание в качестве ссылки. Подробности конструкции фильтрующего элемента и его оформление в цилиндрическую форму и крепление по торцам описаны в патенте США 4171963 (Шуллер), который включен в описание в качестве ссылки.
Обратимся теперь к фигурам 23 и 24, на которых фильтрующий элемент 132 изображен в разрезе и в перспективе. В целом, фильтрующий элемент 132 имеет первую и вторую противоположные торцевые крышки 133, 134 с трубчатой, предпочтительно цилиндрической, конструкцией фильтрующей среды 135, размещенной меду ними. Фильтрующая среда определяет открытую внутреннюю часть фильтра, которая является каналом для чистого воздуха. Трубчатая фильтрующей среды крепится к обеим торцевым крышкам 133, 134 и в некоторых случаях может быть отлита из полиуретанового материала торцевых крышек 133, 134. В показанном на чертеже фильтрующем элементе 132 имеется также опорная труба или гильза 136 и внешняя опорная труба или гильза 137. Каждая из гильз 136, 137 помогает обеспечить целостность или опору для фильтрующей среды 135.
На фигуре 25 показано уплотнение, создаваемое фильтрующим элементом 132 на трубной доске 128. В частности, первая торцевая крышка 133 включает осевую прокладку 140. Прокладку 140 прижимается к трубной доске 128 ярмом, как описано в патенте США 5803941, и образует уплотнение с трубной доской 128.
На фигуре 21 показано, что фильтрующие элементы 132 расположены парами впритык друг с другом. Каждый из фильтрующих элементов 132, наиболее близкий к трубной доске 128, герметизирован по отношению к трубной доске 128, тогда как каждый из элементов 132, который является наиболее близким к ступенчатой панели 129, герметизирован по отношению к ступенчатой панели 129 посредством хомута. Далее, каждый из фильтрующих элементов 132, который является смежным к другому элементу и состыкован торцами, герметизирован по отношению к смежному фильтрующему элементу 132 между соответствующими торцевыми крышками.
На фигуре 22 показан альтернативный вариант системы фильтрации воздуха 110′. Устройство фигуры 22 аналогично устройству фигуры 11 и включает впускное отверстие, выпускное отверстие 112′, дверцу 113′ и боковые панели 116′, 117′. Далее устройство включает камеру грязного воздуха 122′, камеру чистого воздуха 160′ и трубную доску 128′. Трубная доска 128′ отделяет грязную сторону 122′ от чистой стороны 160′. Фильтрующие элементы 132′ смонтированы в системе фильтрации воздуха 110′ напротив трубной доски 128′. Отличием системы 110′ фигуры 22 и системы 110 фигуры 21 является наличие элементов Вентури 170, которые описаны ниже. На фигуре 26 представлена схема одного из фильтрующих элементов 132, оперативно и герметично установленного на трубной доске 128′. Уплотнительная прокладка 140′ на торцевой крышке 133′ прижата к трубной доске 128′ и формирует уплотнение 141′ с трубной доской 128′.
Система для очистки каждого из фильтрующих элементов 132, 132′ размещена в камере чистого воздуха 160, 160′. Как показано на фигуре 22, система включает множество клапанов импульсного типа 165 и сопел или продувочных трубок 197. Комплект клапана 165 и сопла 197 размещен непосредственно по линии с выпускным отверстием 134 (фигура 26) в трубной доске 128′, чтобы направить струю сжатого воздуха в открытую внутреннюю часть 138 пары фильтрующих элементов 132, 132′. Импульсные клапаны (или обратные клапаны), горелки, трубопроводы для подачи сжатого воздуха, их работа и способы управления хорошо известны специалистам.
Обратимся теперь к фигурам 26 и 27, из которых видно, что каждый элемент Вентури 170 включает колоколообразную часть (входную часть Вентури) 174 и горловую часть 176. В изображенном варианте также имеется диффузор (или выходная часть Вентури) 172. Горловая часть 176 вставлена между диффузором 172 и входной частью Вентури 174. Воздух выходит из элемента Вентури 170 через диффузор 172 и входит в камеру чистого воздуха 160′ после фильтрации и проходит через фильтрующий элемент 132′ из камеры грязного воздуха 122′ при нормальном течении потока воздуха (т.е. без обратной пульсации). Диффузор 172 имеет наклонную, по существу, прямую стенку 177, которая содействует восстановлению давления при нормальной фильтрации. Горловая часть 176 может быть вогнутой по направлению к внутренней части, как описано в патенте США 5562746; или, как показано на фигуре 26, может иметь форму постепенного уменьшения в диаметре от базовой линии 106 до выходной части 172, как описано в патенте США 6090173.
Элемент Вентури 170 расположен на трубной доске 128′ относительно фильтрующего элемента 132′ таким образом, что входная часть Вентури 174 находится в камере чистого воздуха 160′.
Как показано на фигуре 26, элемент Вентури 170 прикреплен к трубной доске 128′ посредством соответствующего зажима 181, соединяющего основу 106 с трубной доской 128′. Другие детали элемента Вентури 170 описаны в Патентах США 5562746 и 6090173, каждый из которых включен здесь в качестве ссылки.
На фигуре 27 сопло 197 импульсной струйной системы схематично показано разделенным на расстояние 182 далеко от элемента Вентури 170. Когда воздух выходит из сопла 197, асимметричная воздушная струя полностью турбулентная и ведет себя как поток с градиентом скорости, не встречающий препятствия в виде стенки. Для этого типа потока воздуха профиль скорости расширяется по мере выхода струи из сопла 197 и идет против поступающего потока воздуха, как показано стрелкой 183. Элемент Вентури 170 позволяет этой струе воздуха войти во внутреннюю часть 138, 138′ фильтрующих элементов 132, 132′ при обеспечении равномерного распределения давления воздуха по всей длине фильтрующей среды 135, 135′ между торцевыми крышками 133, 134.
Расстояние 182 между соплом 197 и базовой линией 106 элемента Вентури 170, как правило, меньше 25 дюймов и больше 10 дюймов. В некоторых устройствах это расстояние составляет приблизительно 22-23 дюйма. В других устройствах это расстояние равно 20-21 дюймам или менее. В этих типах устройств обеспечивается положительная разность давлений очистки, в основном, по всей длине фильтрующей среды 135, 135′.
При работе воздух или другая газовая среда, загруженная частицами, входит в камеру грязного воздуха 122, 122′ через впускное отверстие 120, 120′ и фильтрующие элементы 132, 132′. Твердые частицы удаляются из потока воздуха фильтрующей средой 135, 135′. Как описано ниже, используются предпочтительные составы среды, обладающие хорошими рабочими характеристиками. Очищенный воздух течет в открытую внутреннюю часть фильтра 138, 138′ и в камеру чистого воздуха 160, 160′. Если имеется элемент Вентури 170, чистый воздух проходит через элемент Вентури 170 во внутреннюю часть фильтра 138, 138′ и далее поступает в камеру чистого воздуха 160, 160′. Очищенный воздух выходит из воздухоочистителя 110, 110′ через выпускное отверстие 112, 112′.
После определенного времени работы фильтра фильтрующие элементы 132, 132′ покрываются пылью или другим материалом в виде твердых частиц. Каждый из фильтрующих элементов 132, 132′ очищается импульсной струей через соответствующий клапан 165 и сопло 197, которые выпускают определенное количество сжатого воздуха от сопла 197 в открытую внутреннюю часть фильтра 138, 138′. Если имеется элемент Вентури 170, струя сжатого воздуха направляется в диффузор 172 элемента Вентури 170. Струя воздуха поступает в открытую внутреннюю часть фильтра 138 и проходит через среду 135, 135′ в направлении, противоположном нормальному воздушному потоку при фильтровании. Эта импульсная струя воздуха сдувает корку пыли и другие частицы с поверхности фильтрующей среды 135, 135′ и падают в бункер 14 под силой тяжести.
Предпочтительные составы среды
Когда системы воздухоочистителя описанного выше типа и показанные на фигурах 21 и 22 используются при высокой температуре и высокой влажности окружающей среды (т.е. температуры свыше 120°F (50°C), часто от 140 до 300°F (60-150°С), и относительной влажности (ОВ) свыше 30%, часто больше чем от 50 до 90% ОВ), было найдено, что некоторые составы среды 135, 135′ являются более выгодными. В целом, рассматриваемое устройство включает пакет гофрированной фильтрующей среды, а также подложку, по меньшей мере, частично покрытую слоем тонких волокон. Предпочтительно, чтобы подложка состояла из целлюлозы, на которую накладывается покрытие из тонких волокон.
Конструкция фильтра с тонким волокном включает двухслойную или многослойную структуру, которая содержит один или несколько слоев тонкого волокна, соединенных вместе с или отделенных друг от друга одной или несколькими синтетическими, целлюлозными или смешанными сетками. Другой предпочтительный вариант представляет собой структуру, включающую тонкое волокно в матрице или в смеси с другими волокнами.
Мы полагаем, что наиболее важными характеристиками нановолоконных и микроволоконных слоев в фильтрующей среде являются стойкость к воздействию температуры, влажности и растворителей, особенно если микроволокно контактирует с влагой или растворителем при повышенных температурах. Кроме того, вторым важным свойством материалов согласно изобретению является сцепление материала со структурой подложки. Сцепление слоя микроволокна является важной характеристикой фильтрующего материала, поскольку необходимо, чтобы такой материал мог быть изготовлен без отслоения слоя микроволокна от подложки и чтобы слой микроволокна вместе с подложкой мог быть обработан и превращен в фильтрующую среду в виде сложенных, свернутых в рулон материалов и в другие формы, без заметного расслоения. Мы обнаружили, что нагревание в процессе производства, когда температура повышается до температуры плавления одного полимерного материала или чуть ниже ее, обычно ниже самой низкой температуры плавления, значительно улучшает сцепление волокон друг с другом и с подложкой. При температуре плавления или выше ее тонкое волокно может потерять свою волоконную структуру. Важно также управлять скоростью нагревания. Если волокно подвергается воздействию температуры кристаллизации в течение длительного времени, то также возможна потеря волоконной структуры. Тщательная тепловая обработка также улучшает свойства полимера, что происходит благодаря формированию внешних слоев из добавок, по мере того как материалы добавок перемещаются к поверхности и выводят на поверхность волокна гидрофобные или олеофобные группы.
Критерием характеристики материала является его способность сохранять свои свойства при различных рабочих температурах, т.е. температурах 140°F (60°C), 140°F (71°C), 270°F (21°C) (132), 300°F (150°C) в течение 1 часа или 3 часов, в зависимости от конечного применения, сохраняя в то же время 30%, 50%, 80% или 90% эффективности фильтра. Другим критерием для характеристик является способность материала сохраняться неизменным при различных рабочих температурах, т.е. температурах 140°F, 140°F (71°C), 270°F (132°C), 300°F (150°C) в течение 1 часа или 3 часов, в зависимости от конечного применения, в то же время сохраняя, в зависимости от конечного применения, 30%, 50%, 80% или 90% действующих тонких волокон в слое фильтра. Стойкость при таких температурах важна при низкой влажности, высокой влажности и в насыщенном влагой воздухе. Считается, что микроволокно и материал фильтра согласно изобретению влагоустойчивы, если они способны сохраняться при погружении в воду при температуре выше 140°F (71°C), в то же время сохраняя эффективность в течение более 5 минут. Подобным же образом, стойкость к растворителям в микроволоконном материале и фильтрующей среде согласно изобретению получается благодаря материалу, который способен сохраняться при контакте с растворителем, таким как этанол, углеводород, гидравлическая жидкость или ароматический растворитель в течение 5 минут при 70°F (21°C), в то же время сохраняя 50% эффективности.
Нановолоконные материалы согласно изобретению могут использоваться в различных устройствах фильтров, включая фильтры с импульсной очисткой или другим типом очистки для пылесборников, газовых турбин и систем впуска воздуха двигателей; систем впуска газовых турбин, систем впуска воздуха двигателей с тяжелыми условиями работы, систем впуска воздуха двигателей легковых машин; Z-фильтров; воздуха для кабин автомобилей; воздуха для кабин внедорожных автомобилей, воздуха дисководов, удаления тонера фотокопировальных аппаратов; в фильтрах систем отопления, вентиляции и кондиционирования воздуха, как в коммерческих, так и в жилых помещениях.
Бумажные фильтрующие элементы широко применяются в средах с поверхностной загрузкой. В целом, бумажные элементы содержат плотные маты из целлюлозных, синтетических или других волокон, ориентированных поперек потока газа, несущего твердые частицы. Бумага в основном изготовлена так, чтобы пропускать поток газа и соответствующую пористость с достаточно мелким размером пор, чтобы препятствовать прохождению через нее частиц больше определенного размера. По мере того как газы или жидкости проходят через фильтровальную бумагу, передняя по потоку сторона фильтровальной бумаги осуществляет диффузию и задерживает частицы выбранного размера из потока газа (жидкости), оставляя их на поверхности. Частицы собираются в виде пылевого брикета на передней по потоку стороне фильтрующей бумаги. В должное время пылевой брикет начнет действовать как фильтр, повышая эффективность очистки. Это иногда называется «ростом», т.е. происходит увеличение толщины по отношению к начальной величине.
Простая конструкция фильтра, подобная описанной выше, связана, по меньшей мере, с двумя проблемами. Первая заключается в том, что сравнительно простое повреждение, например разрыв бумаги, приводит к выходу из строя всей системы. Вторая заключается в том, что материал твердых частиц быстро наращивает на передней по потоку стороне фильтра тонкий пылевой брикет или слой, увеличивая перепад давления. Для повышения срока службы загруженных с поверхности фильтрующих сред, например бумажных фильтров, применялись различные способы. Один способ состоит в создании среды в виде складчатой или гофрированной конструкции с тем, чтобы площадь поверхности среды, противостоящая потоку газа, увеличивалась по сравнению с плоской, не сложенной складками конструкции. Хотя это увеличивает срок службы фильтра, этот способ связан с существенными ограничениями. По этой причине среда с поверхностной нагрузкой нашла применение, в первую очередь, в тех областях применения, в которых используются сравнительно небольшие скорости через фильтрующую среду, в основном, не более 20-30 футов в минуту, и обычно порядка 10 футов в минуту или менее. Термин «скорость» в этом контексте означает среднюю скорость материала через среду (т.е. объем потока через всю поверхность среды).
По мере того как скорость потока через гофрированную бумажную среду возрастает, срок службы фильтра снижается на коэффициент, пропорциональный квадрату скорости. Таким образом, когда используется фильтрующая система с поверхностной нагрузкой из гофрированной бумаги в качестве фильтра твердых частиц в устройстве, через которое протекают значительные потоки воздуха, требуется обеспечить сравнительно большую площадь поверхности фильтрующей среды. Например, стандартный цилиндрический элемент фильтра из гофрированной бумаги для дизельного грузовика будет иметь диаметр 9-15 дюймов и длину около 12-24 дюймов с гофрами глубиной 1-2 дюйма. Таким образом, площадь фильтрующей поверхности среды (одна сторона) обычно равна 30-300 квадратным футам.
Во многих областях применения, особенно в тех, где используются сравнительно высокие расходы, применяется фильтрующая среда другого типа, иногда называемая «глубинной» средой. Типичная глубинная среда содержит сравнительно толстый слой из сплетенного волоконного материала. Глубинная среда в целом определяется величиной ее пористости, плотности или процентом содержания твердой фракции. Например, среда с твердой фазой в 2-3% будет представлять собой мат из волокон, расположенных так, что примерно 2-3% всего объема содержит волоконные материалы (твердую фракцию), а остальное пространство заполнено воздухом или газом.
Другим полезным параметром для определения глубинной среды является диаметр волокна. Если процент твердой фракции поддерживается постоянным, а диаметр (размер) волокна уменьшается, размер пор, т.е. пространство между волокнами, уменьшается, т.е. фильтр становится более эффективным и будет лучше улавливать мелкие частицы.
Обычный фильтр с глубинной средой представляет собой среду со сравнительно постоянной (или равномерной) плотностью, т.е. систему, в которой твердая фаза глубинной среды остается практически постоянной по всей ее толщине. Под термином «практически постоянной» в этом контексте имеется в виду, что по всей толщине среды имеются лишь относительно незначительные отклонения плотности, если они вообще имеются. Такие отклонения, например, могут произойти из-за легкого сжатия наружной поверхности кожухом, в котором размещается фильтрующая среда.
Были разработаны устройства с глубинной средой с переменной плотностью; некоторые такие устройства описаны, например, в патентах США 4082476; 5238474 и 5364456. В целом, устройство с глубинной средой может быть спроектировано таким образом, что оно обеспечивает «загрузку» материала твердых частиц полностью по всему его объему или на всю глубину. Таким образом, такие устройства могут быть выполнены таким образом, что до окончания полного срока службы они позволяют загружать большее количество твердых частиц по сравнению с поверхностно загружаемыми системами. Однако, в основном, главным параметром для таких устройств является эффективность, поскольку для значительной загрузки желательно иметь среду с низким содержанием твердой фазы. Системы с переменной плотностью, в частности, описанные в вышеупомянутых патентах, были разработаны для обеспечения достаточной эффективности и более длительного срока службы. В некоторых примерах в таких устройствах среда с поверхностной загрузкой используется в качестве «барьерного» фильтра.
Конструкция фильтрующей среды по настоящему изобретению включает первый слой проницаемой грубой волоконной среды или подложку, имеющую первую поверхность. Первый слой тонковолоконной среды крепится к первому слою проницаемой грубой волоконной среды. Предпочтительно, чтобы первый слой грубого проницаемого волоконного материала содержал бы волокна, имеющие средний диаметр, по меньшей мере, 10 микрон, обычно и предпочтительно примерно от 12 (или 14) до 30 микрон. Предпочтительно также, чтобы первый слой проницаемого грубого волоконного материала содержал бы среду, имеющую удельный вес не более чем 200 г/м2, предпочтительно примерно от 0,50-150 г/м2, а наиболее предпочтительно, по меньшей мере, 8 г/м2. Предпочтительно, чтобы первый слой проницаемой грубой волоконной среды имел бы толщину, по меньшей мере, 0,0005 дюйма (12 микрон), обычно предпочтительно примерно 0,001-0,030 дюйма (25-800 микрон).
В предпочтительных конструкциях первый слой проницаемого грубого волоконного материала содержит материал, который, при оценке его отдельно от остальной конструкции с помощью теста Фрейзера на проницаемость, показывал бы проницаемость, по меньшей мере, 1 метр/мин, наиболее предпочтительно примерно 2-900 метров/мин. Здесь указание на эффективность, если не определено иначе, означает ссылку на эффективность, измеренную по стандарту ASTM-1215-89, с круглыми частицами монодисперсного полистирола размером 0,78 м, при 20 футов/мин (6,1 метра/мин).
Предпочтительно, чтобы слой тонковолоконного материала, прикрепленный к первой поверхности слоя проницаемой грубой волоконной среды, представлял бы собой слой нано- и микроволоконной среды, в которой волокна имеют средние диаметры не более 2 микрон, в основном и предпочтительно не более 1 микрона, а обычно и предпочтительно имеют диаметр волокон менее 0,5 микрона и в диапазоне от 0,05 до 0,5 микрона. Также предпочтительно, чтобы первый слой тонковолоконного материала, прикрепленный к первой поверхности первого слоя проницаемого грубого волоконного материала, имел бы общую толщину не более 30 микрон, более предпочтительно не более 20 микрон, наиболее предпочтительно – не более 10 микрон, а обычно и предпочтительно его толщина находится в пределах 1-8 (а более предпочтительно 5) средних диаметров тонкого волокна этого слоя.
Некоторые предпочтительные конструкции по настоящему изобретению включают фильтрующую среду, раскрытую в описании конструкции фильтра. Некоторые предпочтительные устройства для данного использования содержат среду в виде цилиндрического гофрированного пакета, причем гофры проходят, в целом, продольно, т.е. в том же направлении, что и продольная ось цилиндрического корпуса. В такой конструкции фильтрующая среда может быть размещена между торцевыми крышками, как в обычных фильтрах. Такие конструкции для обычных стандартных целей могут при желании включать прокладки, расположенные впереди и сзади по потоку.
В некоторых областях применения среда по настоящему изобретению может использоваться вместе с другими средами, например с обычной средой, для улучшения общих рабочих характеристик фильтрации или повышения срока службы. Например, среда по настоящему изобретению может быть наложена на обычную среду и использована в виде многослойного пакета или может быть встроена (как единое целое) в структуру среды, включающую один или несколько участков обычной фильтрующей среды. Она может быть использована впереди по потоку такой среды для обеспечения высокой нагрузки и/или позади по потоку от обычной среды в качестве высокоэффективного барьерного фильтра.
Некоторые конструкции по настоящему изобретению могут быть также использованы в системах для фильтрации жидкости, т.е. там, где твердые частицы, которые должны быть отфильтрованы, переносятся в потоке жидкости. Некоторые конструкции по настоящему изобретению могут также использоваться в сборниках тумана, например в устройствах для фильтрации мелких капель влаги из воздуха.
По настоящему изобретению разработаны также способы фильтрации. В этих способах, в основном, для фильтрации используют вышеописанную среду со всеми ее преимуществами. Как будет видно из приведенных далее объяснений и примеров, среда по настоящему изобретению может быть рассчитана с учетом обеспечения сравнительно длительного срока службы в высокоэффективных системах.
Конструкции фильтров описаны в патентах, в которых представлены различные варианты конструкции фильтра и структур, используемых с фильтрующими материалами. Энгель и другие, патент США №4720292, описывают радиальную герметичную конструкцию для сборки фильтра, имеющего в целом цилиндрическую конструкцию фильтрующего элемента, причем элемент фильтра герметизирован с помощью сравнительно мягкой, подобной резине торцевой крышки, имеющей цилиндрическую, обращенную внутрь поверхность. Калбау и др., патент США №5082476, описывают конструкцию фильтра, в котором используется глубинная среда, содержащая пористую подложку с гофрированными компонентами, объединенную с микроволоконными материалами согласно изобретению. Стифельман и др., патент США №5104537, описывают конструкцию фильтра, пригодную для фильтрации жидкой среды. Жидкость вводится в корпус фильтра, протекает через наружную часть фильтра во внутренний кольцевой сердечник и затем возвращается для активного использования в этой конструкции. Такие фильтры очень эффективны при фильтрации гидравлических жидкостей. Энгель и др., патент США №5613992, раскрывают конструкцию фильтра для воздушного коллектора обычного дизельного двигателя. В этой конструкции поступающий воздух может содержать влагу внешней среды. Воздух проходит через фильтр, в то время как влага может стекать на дно корпуса и выводиться из него. Гиллингем и др., патент США №5820646, описывают конструкцию Z-фильтра, в котором используется особым образом гофрированная фильтрующая среда, включающая вставные каналы, которые требуют прохождения потока, по меньшей мере, через один слой фильтрующей среды в Z-образном тракте, чтобы получить нужную характеристику фильтрации. Z-образный пакет гофрированной фильтрующей среды может содержать тонкие волокна согласно изобретению. Глен и др., патент США №5853442, описывают конструкцию корпуса в виде рукава, включающего фильтрующие элементы, которые могут содержать тонковолоконную среду согласно изобретению. Берхоель и др., патент США №5954849, показывают конструкцию пылесборника, который может использоваться при фильтрации обычного воздуха, содержащего много пыли, причем после обработки рабочий элемент выпускает пыль в окружающий воздух. Наконец, Гиллингем в патенте США на промышленный образец №425189 описывает блочный фильтр с Z-образной конструкцией фильтра.
Экспериментальная часть
Описываемые ниже материалы были получены с использованием процесса электростатического прядения.
Эти материалы были спрядены с использованием системы вращающегося эмиттера или системы капиллярного шприца. Оказалось, что обе эти системы производят по существу одни и те же волоконные материалы. Расход через эмиттер был равен 1,5 мл/мин, расстояние до мишени 8 дюймов, напряжение на эмиттере 88 кВ, относительная влажность 45%, скорость вращения эмиттера 35 об/мин.
Пример 1
Влияние размера волокна
Образцы тонких волокон были изготовлены из сополимера нейлона 6, 66, 610. Смола нейлонового сополимера (SVP-651) была анализирована на молекулярный вес с помощью титрования конечной группы (J.E.Walz and G.B.Taylor (Дж.Е.Уолз и Г.Б.Тейлор), «Определение молекулярного веса нейлона», Химический анализ, т.19, №7, стр.448-450 (1947)). Величина среднего молекулярного веса находилась между 21.500 и 24.800. Композит оценивался с помощью фазовой диаграммы температуры плавления трехкомпонентного нейлона, состоящего из нейлона 6 – около 45%, нейлона 66 – около 20% и нейлона 610 – около 25%. (Стр.286 Справочника по нейлоновым пластикам, ред. Мелвина Кохана, изд. Хансера, Нью-Йорк (1995 г.)). Заявленные физические свойства смолы SVP-651 приведены ниже.
| Свойство |
Методика ASTM |
Единица измерения |
Типичная величина |
| Удельный вес |
D-792 |
– |
1,08 |
| Поглощение воды (погружение на 24 ч) |
D-570 |
% |
2,5 |
| Твердость |
D-240 |
D по Шору |
65 |
| Точка плавления |
ДСКА |
°C (°F) |
154 (309) |
| Прочность на разрыв |
D-638 |
МПа |
50 |
Текучесть Удлинение при разрыве |
D-638 |
% |
350 |
| Модуль изгиба |
D-790 |
МПа |
180 |
| Объемное удельное сопротивление |
D-257 |
Ом·см |
1012 |
Смола использовалась производства волокон диаметром от 0,23 до 0,45 микрона. Образцы были пропитаны водой при комнатной температуре, высушены на воздухе, после чего была измерена их эффективность. Более толстое волокно требует больше времени для разрушения и степень его распада меньше, что можно увидеть на графике фигуры 12. Хотя мы не хотели бы ограничиться какой-либо одной теорией, тем не менее, предполагаем, что меньшие волокна, имеющие большее отношение поверхность/объем, более восприимчивы к разрушению под воздействием окружающей среды. Однако толстые волокна не создают достаточно эффективную фильтрующую среду.
Пример 2
Сшивание нейлоновых волокон с фенольной смолой и эпоксидной смолой
Для того чтобы повысить стойкость к действию химических веществ, была предпринята попытка сшивания нейлоновых волокон. Описанный выше сополиамид (нейлон 6, 66, 610) был смешан с фенольной смолой марки Georgia Pacific 5137 и спряден в волокно. Отношение нейлон:фенольная смола и температура плавления смеси представлены ниже.
| Состав |
Температура плавления (°F) |
| Полиамид: Фенольная смола = 100:0 |
150 |
| Полиамид: Фенольная смола = 80:20 |
110 |
| Полиамид: Фенольная смола = 65:35 |
94 |
| Полиамид: Фенольная смола = 50:50 |
65 |
Мы смогли получить сопоставимое волокно из смесей. Смесь 50:50 не могла быть сшита с помощью тепловой обработки, поскольку была разрушена волокнистая структура. Нагревание смеси 65:35 ниже 90°С в течение 12 часов улучшает стойкость полученных волокон к действию химических веществ и препятствует их растворению в спирте. Были использованы смеси полиамида с эпоксидной смолой марки Epon 828 компании «Шелл» и марки Epi-Rez 510.
Пример 3
Поверхностная модификация с помощью фтористой водоотталкивающей добавки (Scotchgard®)
Спиртовые смеси марки Scotchgard® FC-430 и FC-431, поставляемые компанией 3М, были добавлены к полиамиду перед прядением. Добавленное количество твердой фазы составляло 10%. Добавление Scotchgard не препятствовало формированию волокна. Испытания на стенде ТНС (стенд для испытаний воздействием температуры и влажности) показали, что покрытие высокомолекулярной водоотталкивающей добавкой Scotchgard не улучшает водоотталкивающие свойства. Образцы с добавлением Scotchgard нагревались до 300°F (150°C) в течение 10 минут, как предлагалось изготовителем.
Пример 4
Модификация с помощью сшивающих агентов
Полимерная пленка была отлита из полиамидов с титанатовыми сшивающими агентами, поставляемыми компанией Kenrich Petrochemicals, Inc. Они включают изопропил триизостеарол титанат (KR ITS), неопентил (диаллил) (диоктил) фосфат титанат (LICA12), неопентил (диаллил) окситри (N-этилендиамино) этил цирконат (NZ44). Отлитые пленки были погружены в кипящую воду. Контрольный образец без сшивающего агента быстро потерял свою прочность, в то время как образцы с добавлением сшивающего агента сохраняли свою форму до 10 минут. Эти образцы с добавлением сшивающих агентов были спрядены в волокна (толщиной 0,2 микрона).
Пример 5
Модификация с помощью низкомолекулярного полимера р-трет-бутилфенола
Олигомеры пара-трет-бутилфенола с молекулярным весом в диапазоне от 400 до 1100 были закуплены на фирме Enzymol International (г.Колумбус, штат Огайо). Эти низкомолекулярные полимеры растворимы в низших спиртах, таких как этанол, изопропиловый спирт и бутанол. Эти полимеры были добавлены к описанному выше сополиамиду и успешно электростатически спрядены в волокна 0,2 микрона. Некоторые полимеры и добавки затрудняли процесс электропрядения. В отличие от обычной фенольной смолы, описанной в примере 2, мы обнаружили, что эта группа полимеров не препятствует процессу формирования волокон.
Мы нашли, что эта группа добавок защищает тонкие волокна от влажной среды, что представлено на графике. На фигурах 13-16 показано, что олигомеры обеспечивают очень хорошую защиту при 140°F (60°C), влажности 100%, но рабочая характеристика ухудшается при температуре 160°F (71°C). Мы добавляли эти примеси в пропорциях от 5% до 15% используемого полимера и обнаружили, что они одинаково эффективно защищают волокна от воздействия высокой влажности при температуре 140°F (60°C). Мы обнаружили также, что характеристика улучшается и в случае, когда волокна подвергаются воздействию температуры в 150°С в течение короткого времени.
На таблице 1 показано действие температуры и выдержки при добавлении 10% примеси к полиамидным волокнам.
Таблица 1 остаточная эффективность (%) после вымачивания при температуре 140°F (60°C) Время нагрева |
| Температура |
1 минута |
3 минуты |
10 минут |
| 150°С |
98,9 98,8 |
98,8 98,9 |
98,5 98,8 |
| 130°С |
95,4 96,7 |
98,7 98,6 |
99,8 99,6 |
| 110°С |
82,8 86,2 |
90,5 90,9 |
91,7 85,7 |
Это довольно неожиданный результат. Мы обнаружили значительное улучшение водоотталкивающих свойств волокон с этой группой добавок. Чтобы понять, как действует эта группа добавок, мы проанализировали мат из тонких волокон с помощью техники поверхностного анализа, называемой электронной спектроскопией для химического анализа (ЭСХА). Образцы с 10% добавкой, показанные в Таблице 1, анализировались с помощью ЭСХА в университете Миннесоты. Результаты приведены в Таблице 2.
Таблица 2 поверхностная композиция (отношение полимер: добавка) |
| Время нагрева |
| Температура |
1 минута |
3 минуты |
10 минут |
| 150°С |
40:60 |
40:60 |
50:50 |
| 130°С |
60:40 |
56:44 |
62:82 |
| 110°С |
63:37 |
64:36 |
59:41 |
| Без нагрева |
77:23 |
|
|
Сначала, казалось, не имело смысла определять поверхностную концентрацию добавки, более чем вдвое превышающей объемную концентрацию. Однако мы считаем, что это можно объяснить молекулярным весом добавок. Молекулярный вес добавки приблизительно в 600 раз меньше, чем вес начального полимера, формирующего волокно. Поскольку добавки меньше по размеру, они могут двигаться по испаряющимся молекулам растворителя. Таким образом, мы получаем более высокую поверхностную концентрацию добавок. Дальнейшая обработка увеличивает поверхностную концентрацию защитной добавки. Однако при выдержке 10 минут и температуре 150°С концентрация не увеличивается. Это может быть признаком того, что смешивание двух молекул сополиамида и олигомера с течением времени образует цепной полимер. Этот анализ научил нас тому, что надлежащий выбор последующей термической обработки, времени и температуры может помочь улучшить рабочие характеристики, тогда как слишком долгая выдержка может иметь отрицательный эффект.
Затем мы исследовали поверхность микроволокна с этими добавками, используя методику вторичной ионной масс-спектроскопии (ВИМС). Эта методика включает бомбардировку предмета электронами с регистрацией частиц, исходящих от поверхности. Образцы без добавок показывают, что при бомбардировке электронами выделяются азотные группы, указывая на разрушение полиамидных групп. Это также указывает на присутствие небольшого количества примесей типа натрия и кремнийорганического материала (кремния). Образцы с добавкой без термической обработки (концентрация добавки на поверхности – 23%) указывают на доминирующие фрагменты t-бутила и небольшие, но однозначные пики, наблюдаемые для полиамидов. Точно так же наблюдались высокие массовые пики с массовой разницей 148 атомных единиц массы, соответствующие t-бутил фенолу. Для образца, обрабатываемого в течение 10 минут при температуре 150°С (50% поверхности с концентрацией добавок, определенной электронной спектроскопией для химического анализа), было обнаружено присутствие фрагментов и следов t-бутила в пиках для полиамида. Этот анализ не обнаружил пики, связанные со всем t-бутил фенолом и его полимерами. Анализ также обнаружил пик, связанный с фрагментами С2Н3О.
Масс-спектрометрический анализ показал, что голые волокна полиамида выделяют фрагменты азота из экспонируемой полимерной цепи и примеси при бомбардировке поверхности ионами. Добавка без термической обработки не охватывала всю поверхность. Олигомеры t-бутила свободно распределены на поверхности. Когда пучок ионов падает на поверхность, вместе с неустойчивым фрагментом t-бутила, могут отрываться целые молекулы. Добавка с термической обработкой обеспечивает полный охват поверхности. Кроме того, молекулы плотно примыкают друг к другу, так что отрываются только неустойчивые фрагменты типа t-бутила и возможно СН=СН-ОН, а целые молекулы фенола t-бутила остаются на поверхности. Анализы ЭСХА и ВИМС выполнялись на различных глубинах от поверхности. Электронная спектроскопия для химического анализа проникает на большую глубину от поверхности до 100 ангстрем, в то время как ВИМС просматривает глубину только на 10 ангстрем. Результаты обоих анализов совпадают.
Пример 6
Развитие поверхности, покрытой сополимером
Первоначально был взят нейлон типа 8 для приготовления растворимой и сшиваемой смолы для покрытия, наносимого с помощью клея. Этот тип полимера был получен реакцией полиамида 66 с формальдегидом и спиртом в присутствии кислоты. (См. Cairns, T.L.; Foster, H.D.; Larcher, A.W.; Schneider, A.K.; Schreiber, R.S.J., журнал “Chem. Soc”. 1949, 71, 651). Этот тип полимера может быть получен электростатическим прядением и может быть сшит. Однако формирование волокна из этого полимера проходит хуже, чем для сополиамидов, и сшивание может быть затруднено.
Для того чтобы приготовить нейлон типа 8, реактор высокого давления емкостью 10 галлонов был загружен следующими компонентами:
| Нейлон 66 (маркм duPont Zytel 101) |
10 фунтов |
| Метанол |
15.1 фунтов |
| Вода |
2.0 фунта |
| Формальдегид |
12.0 фунтов |
Затем реактор был продут азотом и нагрет под давлением, по меньшей мере, до 135°С. Когда желаемая температура была достигнута, было добавлено небольшое количество кислоты в качестве катализатора. Кислотные катализаторы включают трифторуксусную кислоту, муравьиную кислоту, толуолсульфокислоту, малеиновую кислоту, малеиновый ангидрид, фталевую кислоту, фталевый ангидрид, фосфорную кислоту, лимонную кислоту и их смеси. В качестве катализатора может быть также использован полимер Nation®. После добавления катализатора реакция продолжалась 30 минут. На этом этапе получается вязкий однородный раствор полимера. После некоторого времени проведения реакции содержимое сосуда высокого давления перемещается в ванну, содержащую метанол, воду и основание, например гидроокись аммония или едкий натр, чтобы прервать реакцию. После того, как раствор в достаточной степени охлажден, он осаждается в деионизированной воде. При этом формируются легкие мелкокристаллические гранулы полимера. Гранулы полимера затем центрифугируются и сушатся в вакууме. Этот полимер растворим в метаноле, этиловом спирте, бутиловом спирте и их смесях с водой в разных пропорциях. Он также растворим в смесях различных спиртов.
Полученный таким образом модифицированный алкоксиалкилом полиамид типа 8 растворяется в смеси этилового спирта с водой. Раствор полимера электрически прядется способом, описанным в патенте США №4650516 (Баррис). Со временем вязкость раствора полимера возрастает. Хорошо известно, что вязкость полимера сильно влияет на размер волокна. Поэтому трудно управлять этим процессом в промышленном масштабе при непрерывном производстве. Более того, при равных рабочих условиях полиамиды типа 8 не формируют микроволокно столь же эффективно, как сополиамиды. Однако если раствор приготовлен с добавлением кислотного катализатора, такого как малеиновый ангидрид, толуолсульфокислота, трифторметансульфокислота, лимонная кислота, аскорбиновая кислота и т.д., при тщательной термообработке волоконного мата после фомирования волокон, полученное волокно имеет очень хорошую стойкость к воздействию химических веществ (фигура 13). На этапе сшивания должна соблюдаться осторожность, чтобы при этом не разрушилась волоконная структура.
Мы получили неожиданный результат, когда полиамид типа 8 (полимер В) смешали со спирторастворимыми сополиамидами. При замене 30% по весу полиамида 66, модифицированного алкоксиалкилом или спирторастворимьм сополиамидом, например SVP 637 или 651 (полимер A), Elvamide 8061, обнаружился синергетический эффект. Формирование волокон из смеси происходит более эффективно, чем из каждого компонента в отдельности. Погружение в этиловый спирт и измерение эффективности фильтрации показывает остаточную эффективность фильтрации более 98%, при этом испытание на стенде ТНС показывает результаты, сравнимые с однокомпонентным полиамид ом типа 8. Смесь такого типа показывает, что можно эффективно формировать волокна при отличной фильтрации сополиамида одновременно с отличной стойкостью сшитого полиамида типа 8 к воздействию химических веществ. Тест на погружение в спирт дает основание предполагать, что в сшитом сополиамиде использовался сополиамид, не способный к сшиванию, при обеспечении эффективности фильтрации 98%.
ДСКА (смотри фигуры 17-20) смеси полимера А и В становится неотличимой от ДСКА отдельного полимера А после того, как они нагреты до 250°С (полностью сшитые) с той же температурой плавления. Это дает возможность предположить, что смесь полимера А и полимера является полностью объединенным полимером, полученным путем сшивания полимера В с полимером А. Это совершенно новый класс полиамида.
Подобным же образом смешанный плавлением полиэтилентерефталат с поли(бутилен терефталатом) может иметь аналогичные свойства. Во время плавления при температурах выше температуры плавления любого из компонентов происходит обмен эфирной группы и образуется сополимер ПЭТ (полиэтилентерефталата) и ПБТ (полибутилентерефталата). К тому же в наших опытах температура сшивания была ниже, чем у любого из отдельных компонентов. Не следует ожидать, что такой обмен группы может происходить при низкой температуре. Поэтому мы убеждены, что открыли новое семейство полиамида, получаемое путем смешивания в растворе полиамида типа А и типа В и сшивания при температуре ниже, чем точка плавления любого из компонентов.
Когда мы добавили 10% по весу олигомера t-бутилфенола (добавка 7) и подвергли смесь термообработке при температуре, необходимой для сшивания, мы обнаружили даже лучшие результаты. Мы предполагали, что гидроксильная функциональная группа олигомеров t-бутилфенола будет участвовать в реакции с функциональной группой нейлонов типа 8. Мы обнаружили, что эта система компонентов обеспечит хорошее формирование волокон, повышенную стойкость к высокой температуре и высокой влажности, а также гидрофобность поверхности слоев тонкого волокна.
Мы приготовили образцы из смеси полимера А и полимера В (образец 6А) и другой образец из смеси полимера А, полимера В и добавки 7 (образец 6В). Затем мы сформировали волокно с помощью процесса электропрядения, выдержали волоконный мат при 300°F (150°C) в течение 10 минут и подвергли анализу поверхностный состав с помощью поверхностного анализа электронная спектроскопия для химического анализа.
В таблице показаны ЭСХА образцов 6А и 6В
| Состав (%) |
Образец 6А |
Образец 6В |
| Полимер А |
30 |
30 |
| Полимер В |
70 |
70 |
| Добавка 7 |
0 |
10 |
| Состав поверхности |
без нагрева |
с нагревом |
без нагрева |
с нагревом |
| Полимер А&В (%) |
100 |
100 |
68,9 |
43,0 |
| Добавка 7 |
0 |
0 |
31,1 |
57,0 |
Электронная спектроскопия для химического анализа обеспечивает информацию о составе поверхности, за исключением концентрации водорода. Она обеспечивает информацию об углероде, азоте и кислороде. Поскольку добавка 7 не содержит азота, мы можем оценить отношение азотосодержащих полиамидов и добавки, не содержащей азота, путем сравнения концентрации азота. Дополнительную качественную информацию можно получить, рассматривая спектр энергии связи при 535 и 527 эВ. Связь С=O имеет энергию связи у примерно 531 эВ, а связь С-O имеет энергию связи у 533 эВ. Сравнением высот этих двух пиков можно оценить относительную концентрацию полиамида с преобладанием С=O и добавки исключительно с С-O группами. Полимер В содержит связи С-O, благодаря модификации, и после сшивания концентрация С-O уменьшится. ЭСХА подтверждает, что такая реакция действительно происходила, показывая относительное уменьшение связей С-O. (Фигура 1 для не обработанной термически смеси волокна полимера А и полимера В, фигура 2 для термообработанной смеси волокна полимера А и полимера В.) Когда на поверхности присутствуют молекулы добавки 7, можно ожидать большего количества связей С-O. Это как раз тот случай, который можно видеть на фигурах 3 и 4. (Фигура для спряденной смеси волокон полимера А, полимера В и добавки 7. Фигура для термообработанной смеси волокон полимера А, полимера В и добавки 7.) Фигура 3 показывает, что концентрация связей С-O для примера 7 возрастает. Этот вывод согласуется с поверхностной концентрацией на основании XPS сложного спектра на фигурах 5-8.
Очевидно, что молекулы олигомера t-бутила перемещаются к поверхности тонких волокон и образуют гидрофобное покрытие толщиной около 50 Å. Нейлон типа 8 содержит функциональные группы, такие как -CH2ОН и СН2ОСН3, которые, как ожидается, должны реагировать с группой -ОН t-бутилфенола. Таким образом, мы ожидали увидеть меньше молекул олигомера на поверхности волокон. Мы обнаружили, что наша гипотеза оказалась неверной, и что поверхность сополимера имеет тонкое покрытие.
Образцы 6А, 6В и копия образца, описанного в разделе 5, были подвергнуты тестам на стенде ТНС при температуре 160°F (71°C) и относительной влажности 100%. В предыдущем разделе образцы подвергались воздействию температуры 140°F (60°C) и относительной влажности 100%. В этих условиях t-бутилфенол защищает трехзвенный полимер сополиамида от разрушения. Однако если температура поднимается до 160°F (71°C) при относительной влажности 100%, то олигомер t-бутилфенола плохо защищает нижележащие волокна трет-полимера сополиамида. Мы сравнили образцы при 160°F (71°C) и относительной влажности 100%.
Таблица остаточная эффективность тонкого волокна после воздействия температуры 160°F (71°С) и относительной влажности 100% |
| Образец |
После 1 часа |
После 2 часов |
После 3 часов |
| Образец 6А |
82,6 |
82,6 |
85,9 |
| Образец 6В |
82,4 |
88,4 |
91,6 |
| Образец 5 |
10,1 |
|
|
Таблица показывает, что образец 6В помогает в защите от воздействия высокой температуры и высокой влажности.
Более интересной оказалась разница, когда мы воздействовали на волоконный мат каплями воды. Когда мы налили немного деионизированной воды на поверхность образца 6А, капли воды сразу же растеклись по волоконному мату и намочили также бумажную подложку. С другой стороны, когда мы налили немного воды на поверхность образца 6В, вода образовала шарик и не растеклась по поверхности мата. Мы изменили поверхность образца 6В, чтобы сделать его водоотталкивающим, добавив олигомеры p-t-бутилфенола. Продукт этого типа может быть использован в качестве средства удаления водяного тумана, поскольку капли воды не будут проходить через поверхностный слой из тонких волокон образца 6В.
Образцы 6А, 6В и копия образца из раздела 5 были помещены в термостат, в котором была установлена температура 310°F (154°C). Таблица показывает, что образцы 6А и 6В не изменились, в то время как образец из раздела 5 был сильно поврежден.
Таблица остаточная эффективность тонкого волокна после выдержки при 154°С |
| Образец |
После 6 часов |
После 77 часов |
| Образец 6А |
100% |
100% |
| Образец 6В |
100% |
100% |
| Образец 5 |
34% |
33% |
В то время как добавление олигомера только к полимеру А повышает стойкость слоя тонкого волокна при высокой температуре, добавление добавки 7 не оказывает влияния на действие высокой температуры.
Мы убедительно доказали, что смесь трет-полимера сополиамида, модифицированного алкоксиалкилом нейлона 66 и олигомеров t-бутилфенола, обеспечивает лучшие продукты с повышенной продуктивностью в промышленности при работе тонких волокон в тяжелых условиях, чем любая из смесей трет-полимера сополиамида и олигомера t-бутилфенола или трет-полимера сополиамида и модифицированного алкоксиалкилом нейлона 66. В свою очередь, эти две смеси компонентов являются более совершенными по сравнению с системой из одного компонента.
Пример 7
Смесь совместимых полимеров полиамидов и бисфенола А
Новое семейство полимеров может быть подготовлено путем окислительной связи фенольного кольца (Пекора, А.; Сайрус, В., патент США 4900671 (1990 г.) и Пекора, А.; Сайрус, В.; Джонсон, М. Патент США 5153298 (1992 г.)). Особый интерес представляет полимер, изготовленный из бисфенола А, поставляемого корпорацией «Энзимол» (Enzymol). Окисление бисфенола А в присутствии катализатора пероксидазы соевого масла может начинаться с любой стороны из двух -ОН групп в бисфеноле А. В отличие от поликарбоната на основе бисфенола А, который имеет линейную структуру, этот тип полимера бисфенола А образует очень разветвленные полимеры. Благодаря разветвленной структуре этого полимера он может снизить вязкость смеси полимеров.
Мы обнаружили, что этот тип полимера бисфенола А может быть смешан в растворе с полиамидами. Хансеном приведен параметр растворимости для нейлона равен 18,6. (стр. 317, «Справочник параметров растворимости и других параметров сцепления», ред. А.Бартон, издание CRC Press, Бока Ратон, Флорида, 1985 г.) Если вычислять параметр растворимости (стр.61, «Справочник параметров растворимости»), то расчетный параметр растворимости равен 28,0. Из-за разницы в значениях параметра растворимости не следовало ожидать, что эти компоненты будут смешиваться друг с другом. Однако мы обнаружили, что они хорошо смешиваются и обнаруживают неожиданные свойства.
Была приготовлена смесь 50:50 смолы бисфенола А с молекулярным весом 3000 и сополиамида. Общая концентрация в растворе равнялась 10%. Один сополиамид давал бы диаметр волокна 0,2 микрона. Смесь давала слой волокон около 1 микрона. Бисфенол А с молекулярным весом 7000 неустойчив в смеси с сополиамидом и стремится выпадать в осадок.
Дифференциальный сканирующий калориметрический анализ (ДСКА) показал, что смесь 50:50 обеспечивает недостаточную температуру плавления. Сополиамид имеет температуру плавления около 150°С, а смола из бисфенола А – стекловидный полимер с температурой остекления Tg около 100. Смесь плохо плавится. Когда волоконный мат нагревается до 100°С, он исчезает. Эта смесь дает отличную фильтрующую среду, если максимальная рабочая температура является невысокой, но требуется низкий перепад давления. Эта полимерная система не сшивается приемлемым способом.
Пример 8
Двойная роль полимера бисфенола А в качестве растворителя и твердого тела в смеси
Удивительная роль смеси с полимером бисфенола А состоит в том, что в растворе полимер бисфенола А ведет себя как растворитель, а в твердом виде полимер действует как твердая фаза. Мы нашли, что двойная роль полимера бисфенола А действительно уникальна.
Был создан следующий состав:
| Модифицированный алкоксилом полиамид 66: полимер В |
180 г |
| Смола бисфенола А (мол.вес 3.000): полимер С |
108 г |
| Этиловый спирт типа 190 |
827 г |
| Ацетон |
218 г |
| Деионизированная вода |
167 г |
| Катализатор |
9,3 г |
Вязкость этой смеси, измеренная вискозиметром Брукфильда, равнялась 32,6 сантипуаз. Общая концентрация полимера была 19,2%. Вязкость полимера В при 19,2% равна более 200 сантипуаз. Вязкость одного 12% полимера В в подобном растворе равна примерно 60 сантипуазам. Это является ярким примером того, что смола бисфенола А действует как растворитель, потому что вязкость общего раствора ниже ожидаемой. Полученный диаметр волокна был равен 0,157 микрона. Если при формировании волокна участвовал бы один полимер В, ожидаемый размер волокна был бы менее 0,1 микрона. Иначе говоря, полимер С участвует в формировании волокна. Мы не знаем какого-либо другого случая сохранения такой высокой эффективности и неизменности размера волокна. Это показывает, что полимер С участвует в сшивании как твердый полимер. Другой раствор полимера был приготовлен следующим образом:
| Модифицированный |
|
| алкоксиалкилом полиамид 66: Полимер В |
225 г |
| Смола бисфенола А (мол.вес 3000): Полимер С |
135 г |
| Этиловый спирт типа 190 |
778 г |
| Ацетон |
205 г |
| Деионизированная вода |
157 г |
| Катализатор |
11,6 г |
Вязкость этой смеси равнялась 90,2 сантипуазам. Это очень низкое значение вязкости для 24% твердой фазы. Кроме того, это является свидетельством действия полимера С в качестве растворителя в этом растворе. Однако когда они прядутся в волокно в электростатическом поле, диаметр волокна равен 0,438 микрона. 15% раствор одного полимера В дал бы волокно диаметром около 0,2 микрона. В конечном состоянии полимер С способствует увеличению размера волокна. Кроме того, этот пример показывает, что этот тип полимера с разветвленной цепью действует в растворе как растворитель, а в конечном состоянии – как твердая фаза. После погружения в раствор этилового спирта сохраняется 77,9% эффективности фильтрации, а размер волокна остался неизменным.
Пример 9
Получение сшитых смесей полиамидов/полимера бисфенола А
Были приготовлены три различных образца из смол, спиртов и воды, которые смешивались в течение 2 часов при температуре 60°С. Раствор охлаждался до комнатной температуры, к нему добавлялся катализатор, и эта смесь перемешивалась еще 15 минут. После этого измерялась вязкость раствора, и из него прялись волокна.
Образцы представлены на следующей таблице:
| Состав (г) |
Образец 9А |
Образец 9В |
Образец 9С |
| Полимер В |
12,6 |
14,7 |
3,6 |
| Полимер А |
3,6 |
5,4 |
6,3 |
| Полимер С |
7,2 |
10,8 |
12,6 |
| Этанол 190 |
89,3 |
82,7 |
79,5 |
| Изопропанол |
23,5 |
21,8 |
21,0 |
| Деионизированная вода |
18,0 |
16,7 |
15,9 |
| Катализатор |
0,45 |
0,58 |
0,79 |
| Вязкость (сантипуазы) |
22,5 |
73,5 |
134,2 |
| Размер волокна (микроны) |
0,14 |
0,258 |
0,496 |
Мы выяснили, что эта смесь эффективно создает волокна, вырабатывая примерно на 50% больше массы волокон по сравнению с составом из полимера А. Кроме того, полученные полимерные микроволокна позволяют получить химически стойкое волокно. После погружения в спирт фильтр, изготовленный из этих волокон, сохраняет более 90% эффективности фильтрации и неизменный диаметр волокна, хотя полимер, способный сшиваться, составляет всего 44% твердой фазы. Этот трехполимерный композит, состоящий из сополиамида, модифицированного алкоксиалкилом нейлона 66 и бисфенола А, создает химически стойкий материал, отлично формирующий волокно.
Пример 10
Модифицированный алкоксиалкилом сополимер нейлона 66 и нейлона 46
В 10-литровом реакторе высокого давления были выполнены следующие реакции, и полученные полимеры были проанализированы. После того как была достигнута нужная температура реакции, были добавлены катализаторы, и реакция длилась 15 минут. После этого раствор полимера был охлажден, осажден, полимер был промыт и высушен.
| Содержимое реактора (фунты) |
Цикл 10А |
Цикл 10В |
Цикл 10С |
Цикл 10D |
Цикл 10D |
| Нейлон 4,6 (duPont Zytel 101) |
10 |
5 |
5 |
5 |
5 |
| Нейлон 6,6 (DSM Stanyl 300) |
0 |
5 |
5 |
5 |
5 |
| Формальдегид |
8 |
10 |
8 |
10 |
8 |
| Деионизированная вода |
0,2 |
0,2 |
2 |
0,2 |
2 |
| Метиловый спирт |
22 |
20 |
20 |
20 |
20 |
| |
|
|
|
|
|
| Температура реакции (°С) |
140 |
140 |
140 |
150 |
150 |
| Tg (°С) |
56,7 |
38,8 |
37,7 |
38,5 |
31,8 |
| Tm (°C) |
241,1 |
162,3 |
184,9 |
175,4 |
189,5 |
| |
|
|
|
|
|
| Уровень замещения |
|
|
|
|
|
| Алкокси (вес.%) |
11,9 |
11,7 |
7,1 |
11,1 |
8,4 |
| Метилол (вес.%) |
0,14 |
0,13 |
0,14 |
0,26 |
0,24 |
ДСКА полимера, выполненный с нейлоном 46 и нейлоном 66, показывает широкий разброс температуры плавления (Tm) одиночного компонента, которая ниже температуры плавления модифицированного нейлона 46 (241°С) или модифицированного нейлона 66 (210°С). Это является свидетельством того, что во время реакции оба компонента произвольно распределены вдоль цепи полимера. Таким образом, мы убеждены, что добились получения нового сополимера нейлона 46 и нейлона 66 с модификацией алкоксиалкилом. Эти полимеры растворимы в спиртах и смесях спирта с водой.
| Свойство |
Стандарт ASTM |
Нейлон 6,6 |
Нейлон 4,6 |
| Tm |
|
265°С |
295°С |
| Прочность на растяжение |
D-638 |
13.700 |
8.500 |
| Удлинение при разрыве |
D-638 |
15-18 |
60 |
| Предел текучести при растяжении |
D-638 |
8000-12000 |
|
| Прочность на изгиб |
D-790 |
17.800 |
11.500 |
| Модуль изгиба × 103 фунтов на квадратный дюйм |
D-638 |
230-250 |
250 |
| Твердость на удар фут- |
|
|
|
| фунт/дюйм выемки |
D-256A |
0,55-1,0 |
17 |
| Прогиб под изгибающей нагрузкой 264 фунт/кв. дюйм |
D-648 |
158 |
194 |
Оба эти полимера являются полностью кристаллическими и не растворяются в обыкновенных спиртах. Источник: «Современная энциклопедия пластиков», 1998 г.
Пример 11
Получение сополимера сополиамидов и алкоксилалкила модифицированного сополимера нейлона 46/66 и формирование электроспряденных волокон
Образцы 10В и 10D были преобразованы в волокна, используя вышеописанный способ. Нейлон 46/66 (полимер D), модифицированный алкоксилалкилом, был успешно спряден в электрическом поле. Смешивание полимера D с полимером А обеспечивает дополнительную выгоду в смысле более эффективного формирования волокна и возможность получения больших волокон без ухудшения способности полимера D к сшиванию, как можно видеть из следующей таблицы:
| Полимер А |
Полимер А |
Полимер 10В |
Полимер 10D |
| без добавок |
с доб.30% |
без добавок |
с доб.30% |
| Размер волокна (микрон) 0,183 |
0,464 |
0,19 |
0,3 |
| Массовое отношение 1 |
3 |
1 |
2 |
| Остаточная эффективность фильтрации (%) 87 |
90 |
92 |
90 |
Массовое отношение волокна рассчитано по формуле (полная длина волокна, умноженная на площадь поперечного сечения). Удерживающая способность или эффективность фильтрации измеряется, пропитывая образец фильтра в этиловом спирте. Размер волокна после пропитки спиртом не изменился.
Пример 12
Спряденный в электрическом поле сшитый поливинилацетат
Порошки поливинилацетата (ПВА) были закуплены на фирме Aldrich Chemicals. Они растворялись либо в воде, либо в смеси 50/50 метанола и воды. Они были смешаны с агентом сшивания и катализатором сульфоновой кислоты толуола прежде, чем подвергнуться процессу электропрядения. Конечный волоконный мат был сшит в печи при температуре 150°С в течение 10 минут перед передачей на стенд ТНС.
| |
Образец 12А |
Образец 12В |
Образец 12С |
Образец 12D |
| Гидролиз ПВА |
98-99 |
87-89 |
87-89 |
87-89 |
| Молекулярный вес |
31.500-50,000 |
31.500-50,000 |
31.500-50,000 |
31.500-50,000 |
| ПВА (вес.%) |
10 |
10 |
10 |
10 |
| Растворитель |
Вода |
Смесь |
Смесь |
Смесь |
| Другой полимер |
Отсутствует |
Отсутствует |
Акриловая кислота |
Цимель 385 |
| Другой полимер ПВА (%) |
0 |
0 |
30 |
30 |
| Остаточное волокно, (%), выдержка 1 час |
0 (а) |
0 (а, b) |
95 (b) |
20 (b) |
| Остаточное волокно, (%), выдержка 3 часа |
|
|
90 (а) |
|
(a): температура 171°С при 100% относительной влажности (b): температура 60°С при 100% относительной влажности (c): молекулярный вес 2000 (d): меламиновая формальдегидная смола фирмы Cytec |
Пример 13
В качестве подложки использовалась обычная целлюлоза. Эта подложка имела вес 67 фунтов на 3000 квадратных футов, проницаемость по Фрейзеру 16 футов в минуту при давлении 0,5 дюйма водяного столба, толщину 0,012 дюймов и эффективность слоя тонкого волокна 41,6%. Слой тонкого волокна примера 1 был наложен на поверхность, используя процесс, описанный выше для номинального волокна диаметром 0,2 микрона. Полученный композит имеет эффективность слоя тонкого волокна 63,7%. После выдержки при 140°F (60°C) на воздухе при относительной влажности 100% в течение 1 часа один образец подложки был охлажден и высушен, и эффективность слоя тонкого волокна составила 36,5%. После выдержки при 140°F (60°C) на воздухе при относительной влажности 100% в течение 1 часа образец композита был охлажден и высушен, после чего эффективность слоя тонкого волокна составила 39,7%. Используя описанные выше математические формулы, было найдено, что остаточная эффективность слоя тонкого волокна после 1 часа выдержки составила 13%, при этом количество эффективных тонких волокон составило 11%.
Пример 14
В качестве подложки использовалась обычная целлюлоза. Эта подложка имела удельный вес 67 фунтов на 3000 кв. футов, проницаемость по Фрейзеру 16 футов в минуту при 0,5 дюйма водяного столба, толщину 0,012 дюймов при эффективности слоя тонкого волокна 41,6%. Слой тонкого волокна примера 5 был наложен на поверхность, используя процесс, описанный выше для номинального волокна диаметром 0,2 микрона. Полученный композит имел эффективность слоя тонкого волокна 96,0%. После выдержки при 160°F (71°C) на воздухе при относительной влажности 100% в течение 3 часов один образец подложки был охлажден и высушен, после чего эффективность слоя тонкого волокна составила 35,3%. После выдержки при 160°F (71°C) на воздухе при относительной влажности 100% в течение 3 часов образец композита был охлажден и высушен, и эффективность слоя тонкого волокна составила 68,0%. Используя описанные выше математические формулы, было найдено, что эффективность слоя тонкого волокна после 3 часов выдержки составила 58%, при этом число эффективных тонких волокон составило 29%.
Пример 15
В качестве подложки использовалась обычная целлюлозная среда для фильтрации воздуха. Эта подложка имела удельный вес 67 фунтов на 3000 квадратных футов, проницаемость по Фрейзеру 16 футов в минуту при 0,5 дюйма водяного столба, толщину 0,012 дюйма при эффективности слоя тонкого волокна 41,6%. Слой тонкого состоял из смеси полимера А и полимера В, причем, как описано в примере 6, полимер был добавлен к поверхности, используя процесс, описанный выше для номинального волокна диаметром 0,2 микрона. Полученный композит имел эффективность слоя тонкого волокна 92,9%. После выдержки при 160°F (71°C) на воздухе при относительной влажности 100% в течение 3 часов один образец подложки был охлажден и высушен, после чего эффективность слоя тонкого волокна составила 35,3%. После выдержки при 160°F (71°C) на воздухе при относительной влажности 100% в течение 3 часов образец композита был охлажден и высушен, и эффективность слоя тонкого волокна составила 86%. Используя описанные выше математические формулы, было найдено, что эффективность слоя тонкого волокна после 3 часов выдержки составила 96%, при этом число эффективных тонких волокон составило 89%.
Пример 16
В качестве подложки использовалась обычная целлюлоза, используемая для фильтрации воздуха. Эта подложка имела удельный вес 67 фунтов на 3000 квадратных футов, проницаемость по Фрейзеру 16 футов в минуту при 0,5 дюйма водяного столба, толщину 0,012 дюймов при эффективности слоя тонкого волокна 41,6%. Слой тонкого волокна полимера А, полимера В, олигомера тетрабутилфенола, как описано в примере 6, был добавлен к поверхности, используя процесс, описанный выше для номинального волокна диаметром 0,2 микрона. Полученный композит имел эффективность слоя тонкого волокна 90,4%. После выдержки при 160°F (71°C) на воздухе при относительной влажности 100% в течение 3 часов один образец подложки был охлажден и высушен, после чего эффективность слоя тонкого волокна составила 35.3%. После выдержки при 160°F (71°C) на воздухе при относительной влажности 100% в течение 3 часов образец композита был охлажден и высушен, и эффективность слоя тонкого волокна составила 87.3%. Используя описанные выше математические формулы, было найдено, что эффективность слоя тонкого волокна после 3 часов выдержки была 97%, при этом число эффективных тонких волокон составило 92%.
Пример 17
В качестве подложки использовалась обычная целлюлозная среда для фильтрации воздуха. Эта подложка имела удельный вес 67 фунтов на 3000 квадратных футов, проницаемость по Фрейзеру 16 футов в минуту при 0,5 дюйма водяного столба, толщину 0,012 дюйма при эффективности слоя тонкого волокна 41,6%. Слой тонкого волокна в виде сшитого ПВА с полиакриловой кислотой примера 12 был добавлен к поверхности, используя процесс, описанный выше для номинального волокна диаметром 0,2 микрона. Полученный композит имел эффективность слоя тонкого волокна 92,9%. После выдержки при 160°F (71°C) на воздухе при относительной влажности 100% в течение 2 часов один образец подложки был охлажден и высушен, после чего эффективность слоя тонкого волокна составила 35,3%. После выдержки при 160°F (71°C) на воздухе при относительной влажности 100% в течение 2 часов образец композита был охлажден и высушен, после чего эффективность слоя тонкого волокна составила 83,1%. Используя описанные выше математические формулы, было найдено, что эффективность слоя тонкого волокна после 2 часов выдержки составил 89%, при этом число эффективных тонких волокон составило 76%.
Пример 18 Были изготовлены следующие фильтрующие среды, используя способы, описанные в примерах 1-17 Примеры фильтрующих сред |
| Подложка |
Проницаемость подложки (Фрейзер) |
Удельный вес подложки (фунт/30000 кв.фут) |
Толщина подложки (дюймы) |
Эффективность тонкой подложки (LEFS) |
Эффективность композита (LEFS) |
| Однокомпонентное тонкое волокно на одной подложке (поток проходит через среду в любом направлении) |
(±10%) |
(±10%) |
(±25%) |
(±5%) |
(±5%) |
| Целлюлозная фильтрующая среда для очистки воздуха |
58 |
67 |
0,012 |
11% |
50% |
| Целлюлозная фильтрующая среда для очистки воздуха |
16 |
67 |
0,012 |
43% |
58% |
| Целлюлозная фильтрующая среда для очистки воздуха |
58 |
67 |
0,012 |
11% |
65% |
| Целлюлозная фильтрующая среда для очистки воздуха |
16 |
67 |
0,012 |
43% |
70% |
| Целлюлозная фильтрующая среда для очистки воздуха |
22 |
52 |
0,010 |
17% |
70% |
| Целлюлозная фильтрующая среда для очистки воздуха |
16 |
67 |
0,012 |
43% |
71% |
| Смесь целлюлозы и синтетики с водостойкой смолой |
14 |
70 |
0,012 |
30% |
70% |
| Огнеупорная целлюлозная фильтрующая среда для очистки воздуха |
17 |
77 |
0,012 |
31% |
58% |
| Примеры фильтрующих сред (продолжение) |
| Подложка |
Проницаемость подложки (Фрейзер) |
Удельный вес подложки (фунт /30000 кв.фут) |
Толщина подложки (дюймы) |
Эффективность тонкой подложки (LEFS) |
Эффективность композита (LEFS) |
| Огнеупорная целлюлозная фильтрующая среда для очистки воздуха |
17 |
77 |
0,012 |
31% |
72% |
| Огнеупорная синтетическая фильтрующая среда для очистки воздуха |
27 |
83 |
0,012 |
|
55% |
| Нетканый материал (полиэфир) |
1200 |
15 |
0,007 |
5% |
55% |
| Синтетическая/целлюлозная фильтрующая среда для очистки воздуха |
260 |
76 |
0,015 |
6% |
17% |
| Фильтрующая среда из синтетического материала и стекловолокна для очистки воздуха |
31 |
70 |
0,012 |
55% |
77% |
| Фильтрующая среда из синтетического материала и стекловолокна для очистки воздуха |
31 |
70 |
0,012 |
50% |
90% |
| Подложка |
Проницаемость подложки (Фрейзер) |
Удельный вес подложки (фунт /30000 кв. фут) |
Толщина подложки (дюймы) |
Эффективность тонкой подложки (LEFS) |
Эффективность композита (LEFS) |
| Синтетическая среда (полиэфир) |
300 |
25 |
0,008 |
3% |
65% |
| Синтетическая среда (полиэфир) |
|
|
0,016 |
|
90% |
| Используемая фильтрующая среда была плоской, гофрированной, в виде плоских листов, гофрированных плоских панелей, гофрированных круглых фильтров и Z-фильтров. |
МЕТОДИКИ ИСПЫТАНИЙ
Испытание пропиткой горячей водой
Использование величины эффективности фильтрации в качестве меры числа тонких волокон, функционально удерживаемых в структуре, имеет ряд преимуществ по сравнению с другими возможными способами типа оценки по растровой электронной микроскопии:
– мера фильтрации оценивает несколько квадратных дюймов среды, выдающей лучшую среднюю величину по сравнению с очень небольшой областью, видимой через сканирующий электронный микроскоп в виде микрофотографий (обычно менее 0,0001 квадратного дюйма),
– измерение фильтрации позволяет определить число оставшихся работоспособных волокон в структуре. Те волокна, которые остаются, но слиплись вместе, или другие изменения структуры, включены только по их измеренной эффективности и функциональным возможностям.
Тем не менее, в волокнистых структурах, в которых трудно измерить эффективность фильтрации, могут использоваться другие способы для измерения процента оставшихся волокон и оценки по критерию задержания порядка 50%.
Описание
Настоящий тест является ускоренным индикатором влагостойкости фильтрующей среды. В этом тесте используется стенд проверки эффективности слоя тонкого волокна (испытательный стенд LEFS) для измерения изменения рабочих характеристик фильтрующей среды при погружении в воду. Температура воды является критическим параметром и выбрана на основе истории срока службы исследуемой среды с целью свести к минимуму время испытаний и обеспечения возможности испытания сред различного типа. Типичные температуры воды составляют 70°F, 140°F или 160°F (21°C, 60°C или 71°С).
Процедура
Из материала фильтрующей среды вырезается образец диаметром 4 дюйма. Эффективность захвата частиц загрязнителя контрольным образцом рассчитывается, используя латексные сферы размером 0,8 м в виде испытательной загрязняющей примеси при определении эффективности LEFS (для описания испытания эффективности слоя тонкого волокна см. стандарт ASTM F1215-89), при этом стенд работает со скоростью 20 футов в минуту. Образец затем погружается в дистиллированную воду (как правило, при температуре 140°F (60°C)) в течение 5 минут. Затем образец помещается на стойку сушилки и высушивается при комнатной температуре (как правило, в течение ночи). После того как образец высушен, он неоднократно проверяется на эффективность на испытательном стенде LEFS, используя те же самые условия для первоначальных расчетов.
Описанные выше стадии испытаний повторяются для подложки тонкого волокна без самого тонкого волокна.
Из вышеупомянутой информации можно вычислить составляющую эффективности только для тонкого волокна и результирующую потерю эффективности из-за вредного воздействия воды. После определения потери из-за тонкого волокна можно вычислить величину остаточной эффективности.
Вычисления:
Эффективность слоя тонкого волокна:
Еi = Начальная эффективность композита;
Es = Начальная Эффективность Подложки;
Fe = Слой тонкого волокна
Fe=l-EXP(Ln(l-Ei)-Ln(l-Ex)
Остаточная эффективность слоя тонкого волокна:
Fi = Начальная эффективность слоя тонкого волокна;
Fx = Эффективность пропитанного слоя тонкого волокна;
Fr = Сохраненное тонкое волокно
Fr=Fx/Fi
Процент тонких волокон, сохраняющих эффективные функциональные возможности, также может быть рассчитан по формуле:
%=log(1-Fx)/log(1-Fi)
Критерий прохождения/не прохождения испытаний:
>50% сохранение эффективности
В большинстве промышленных применений фильтров с импульсной очисткой фильтр будет удовлетворительно работать при сохранении, по меньшей мере, 50% эффективности тонкого волокна.
Стенд ТНС (Влияние температуры и влажности)
Описание
Этот стенд служит для того, чтобы оценить устойчивость среды из тонкого волокна воздействию повышенной температуры и высокой влажности при условиях динамического потока. Испытание предназначено для моделирования тяжелых эксплуатационных режимов при промышленном применении фильтров на входе газовых турбин, или на входе воздушного коллектора двигателей внутреннего сгорания. Испытательные образцы высушиваются, и эффективность слоя тонкого волокна проверяется через определенные промежутки времени. Эта система используется, главным образом, для моделирования горячих и влажных условий работы, но может также использоваться для моделирования горячих/холодных сухих рабочих режимов.
Температура – от -31 до 390°F (от -36 до 200°С).
Влажность – от 0 до 100% относительной влажности(максимальная температура для 100% относительной влажности – 160°F (71°C) и максимальная непрерывная продолжительность при этом условии составляет 16 часов.
Расход – от 1 до 35 футов в минуту.
Процедура
Из фильтрующей среды вырезается образец диаметром 4 дюйма.
Эффективность захвата частиц загрязнителя контрольным образцом рассчитывается, используя латексные сферы размером 0,8 м в виде испытательной загрязняющей примеси на испытательном стенде, работающем со скоростью 20 футов в минуту.
Образец затем вставляется в патрон из среды ТНС. Время испытаний может исчисляться минутами и днями в зависимости от условий испытания. Затем образец помещается на стойку сушилки и высушивается при комнатной температуре (как правило, в течение ночи). После того как образец высушен, он неоднократно проверяется на эффективность на испытательном стенде LEFS, используя те же самые условия для первоначальных расчетов.
Эти стадии испытания повторяются для подложки тонкого волокна без самого тонкого волокна.
Из вышеупомянутой информации можно вычислить составляющую эффективности только для тонкого волокна и результирующую потерю эффективности из-за вредного воздействия воды. После определения потери из-за тонкого волокна можно вычислить величину остаточной эффективности.
Критерий прохождения/не прохождения испытаний: >50% сохранения эффективности. При использовании фильтра в промышленности импульсная очистка позволяет сохранить, по меньшей мере, 50% эффективности фильтра.
Тест пропиткой этиловым спиртом
Описание
В этом тесте используется испытательный стенд LEFS для измерения характеристик фильтрующей среды после ее погружения в этиловый спирт при комнатной температуре.
Процедура
Из фильтрующей среды вырезается образец диаметром 4 дюйма. Эффективность захвата частиц загрязнителя контрольным образцом рассчитывается, используя латексные сферы размером 0,8 м в виде испытательной загрязняющей примеси на испытательном стенде, работающем со скоростью 20 футов в минуту. Затем образец погружается в спирт на одну минуту.
Затем образец помещается на стойку сушилки и высушивается при комнатной температуре (как правило, в течение ночи). После сушки образец неоднократно проверяется на эффективность на испытательном стенде LEFS, используя те же самые условия для первоначальных расчетов. Предыдущие стадии испытания повторяются для подложки тонкого волокна без самого тонкого волокна. Из вышеупомянутой информации можно вычислить составляющую эффективности только для тонкого волокна и результирующую потерю эффективности из-за вредного воздействия спирта. После определения потери из-за тонкого волокна можно вычислить величину остаточной эффективности.
Критерий прохождения/не прохождения испытаний: >50% сохранения эффективности.
Приведенные выше описание, примеры и данные обеспечивают полное понимание изобретения. Однако могут быть сделаны различные изменения и варианты по отношению к раскрытому изобретению. Изобретение охвачено следующей формулой изобретения.
Формула изобретения
1. Узел воздушного фильтра, содержащий
(a) корпус, имеющий воздуховпускное отверстие, воздуховыпускное отверстие, перегородку, разделяющую указанный корпус на фильтрующую камеру и камеру чистого воздуха; указанная перегородка включает первое отверстие для прохода воздуха;
(b) первую конструкцию фильтра, сообщающуюся с указанным первым отверстием для прохода воздуха в указанной перегородке;
указанная первая конструкция фильтра включает пакет гофрированной фильтрующей среды, определяющий внутреннюю камеру чистого воздуха конструкции фильтра;
(i) указанная первая конструкция фильтра сообщается с указанной внутренней камерой чистого воздуха фильтра по потоку воздуха и с указанным первым отверстием для прохода потока воздуха в перегородке;
(ii) указанный пакет гофрированной фильтрующей среды включает подложку, по меньшей мере, частично покрытую слоем тонкого волокна, содержащим полимер конденсации, отличающийся от сополимера, сформированного из циклического лактама и мономера диамина С6-10 или двукислотного мономера С6-10, и смолистую добавку, включающую ароматический олигомер, имеющий молекулярный вес порядка приблизительно от 500 до 3000, в котором добавка смешивается с полимером конденсации, содержащем волокно приблизительно от 0,1 до 0,5 мкм;
(d) систему импульсной струйной очистки, которая направляет импульс воздуха во внутреннюю камеру чистого воздуха конструкции фильтра.
2. Узел воздушного фильтра по п.1, содержащий полимер конденсации, отличающийся от сополимера, сформированного из циклического лактама и мономера диамина С6-10 или двукислотного мономера С6-10, и смолистую добавку, включающую олигомер алкилфенольного ароматического ряда, имеющий молекулярный вес порядка приблизительно от 500 до 3000, в котором добавка смешивается с полимером конденсации.
3. Узел воздушного фильтра по п.1, отличающийся тем, что полимеры обрабатываются для формирования однокомпонентной полимерной композиции.
4. Узел воздушного фильтра по п.1, дополнительно содержащий
а) первый элемент Вентури, смонтированный на указанной перегородке с первым отверстием для прохода воздуха и входящий во внутреннюю камеру чистого воздуха указанной первой конструкции фильтра, в котором
(i) указанная система импульсной очистки включает первое сопло, направляющее импульс воздуха в указанный элемент Вентури из камеры чистого воздуха по направлению к указанной первой конструкции фильтра.
5. Узел воздушного фильтра по п.1, отличающийся тем, что (а) указанная перегородка имеет второе отверстие для прохода воздуха и в котором узел дополнительно включает
(i) указанную вторую конструкцию фильтра, сообщающуюся по воздушному потоку с указанным вторым отверстием для прохода воздуха в указанной перегородке; указанная вторая конструкция фильтра включает пакет гофрированной фильтрующей среды, определяющей внутреннюю камеру чистого воздуха второй конструкции фильтра;
(A) указанная вторая конструкция фильтра входит в указанную внутреннюю камеру чистого воздуха второго фильтра и сообщается по потоку воздуха с указанным вторым отверстием для прохода воздуха в перегородке; и
(B) указанный пакет гофрированной фильтрующей среды указанной второй конструкции фильтра включает подложку, по меньшей мере, частично покрытую слоем тонкого волокна;
(ii) второй элемент Вентури, установленный в отверстии указанной перегородки, который входит в указанную внутреннюю камеру чистого воздуха второй конструкции фильтра;
(iii) второе сопло, направляющее импульс воздуха в указанный второй элемент Вентури из указанной камеры чистого воздуха и к указанной второй конструкции фильтра.
6. Способ фильтрации воздуха, содержащий следующие стадии:
(a) подачу воздуха через впускное отверстие корпуса в фильтрующую камеру, причем корпус содержит перегородку, отделяющую фильтрующую камеру от камеры чистого воздуха, имеющую первое отверстие для прохода воздуха;
(b) осуществляют подачу воздуха через пакет гофрированной фильтрующей среды первой конструкции фильтра во внутреннюю камеру чистого воздуха конструкции фильтра, причем первая конструкция фильтра сообщается по потоку воздуха с первым отверстием для прохода воздуха в перегородке, а пакет гофрированной фильтрующей среды определяет внутреннюю камеру чистого воздуха конструкции фильтра;
(i) первая конструкция фильтра сообщается с внутренней камерой чистого воздуха фильтра по потоку воздуха через первое отверстие в перегородке для прохода воздуха;
(ii) пакет фильтрующей среды включает подложку, по меньшей мере, частично покрытую слоем тонкого волокна, включающего полимер конденсации, отличающийся от сополимера, сформированного из циклического лактама и мономера диамина С6-10 или двукислотного мономера С6-10, и смолистую добавку, включающую ароматический олигомер, имеющий молекулярный вес порядка приблизительно от 500 до 3000, в котором добавка смешивается с полимером конденсации, содержащим волокно диаметром приблизительно от 0,1 до 0,5 мкм, и
(с) осуществляют подачу воздуха в камеру чистого воздуха и из корпуса.
7. Способ по п.6, дополнительно включающий стадию подачи импульса воздуха во внутреннюю камеру чистого воздуха конструкции фильтра; указанный воздух, по меньшей мере, частично удаляет частицы, собранные на пакете гофрированной структуры фильтрующей среды.
8. Способ по п.7, отличающийся тем, что указанная стадия подачи импульса воздуха во внутреннюю камеру чистого воздуха конструкции фильтра, который, по меньшей мере, частично удаляет частицы, собранные на пакете гофрированной фильтрующей среды, включает стадию подачи импульса воздуха в элемент Вентури, который установлен внутри камеры чистого воздуха первой конструкции фильтра.
9. Способ по п.6, отличающийся тем, что указанная перегородка корпуса включает множество продольных пакетов гофрированной фильтрующей среды и множество конструкций фильтра, в котором каждый из пакетов гофрированной фильтрующей среды определяет соответствующую внутреннюю камеру чистого воздуха конструкции фильтра.
10. Способ по п.9, дополнительно включающий стадию подачи импульса воздуха во внутреннюю камеру чистого воздуха каждой конструкции фильтра, при этом указанный импульс, по меньшей мере, частично удаляет частицы, собранные на каждом пакете гофрированной фильтрующей среды.
11. Способ по п.10, отличающийся тем, что указанная стадия подачи импульса воздуха во внутренние камеры чистого воздуха каждой конструкции фильтра, по меньшей мере, частично удаляет частицы, собранные на каждом пакете гофрированной фильтрующей среды, включает подачу импульса воздуха во множество элементов Вентури, каждый из которых установлен в соответствующей внутренней камере чистого воздуха конструкции фильтра.
12. Способ по п.6, дополнительно включающий стадию вибрации фильтрующей среды для того, чтобы, по меньшей мере, частично удалить частицы, собранные на пакете гофрированной фильтрующей среды.
РИСУНКИ
|
|