|
(21), (22) Заявка: 2004117879/09, 14.11.2002
(24) Дата начала отсчета срока действия патента:
14.11.2002
(30) Конвенционный приоритет:
14.11.2001 IT VI2001A000240
(45) Опубликовано: 10.04.2006
(56) Список документов, цитированных в отчете о поиске:
ЕР 0756338 А, 39.01.1997. US 5455124 А, 03.10.1995. RU 2125754 C1, 27.01.1995. RU 1715156 С, 30.10.1994.
(85) Дата перевода заявки PCT на национальную фазу:
15.06.2004
(86) Заявка PCT:
IB 02/04758 (14.11.2002)
(87) Публикация PCT:
WO 03/043106 (22.05.2003)
Адрес для переписки:
129010, Москва, ул. Б.Спасская, 25, стр.3, ООО “Юридическая фирма Городисский и Партнеры”, пат.пов. С.А.Дорофееву
|
(72) Автор(ы):
СТОККЬЕРО Франко (IT)
(73) Патентообладатель(и):
СТОККЬЕРО Франко (IT)
|
(54) УЗЕЛ ГЕРМЕТИЗИРУЮЩЕГО И ВЫПУСКНОГО КЛАПАНА ДЛЯ АККУМУЛЯТОРНЫХ БАТАРЕЙ
(57) Реферат:
Изобретение относится к электротехнике. Узел содержит трубчатую втулку, соединенную с крышкой аккумулятора и выполненную с возможностью сообщения наружной окружающей среды с одним или несколькими каналами в указанной крышке. Упругий колпачок по существу трубчатой формы, имеющий открытый конец и конец, закрытый дном, подвижно установлен на внешней поверхности трубчатой втулки. Упругий колпачок имеет корпус по меньшей мере с одной первой частью, с цилиндрической поверхностью вблизи указанного дна, толщина которой меньше толщины второй цилиндрической части корпуса вблизи открытого конца указанного колпачка; причем первая часть характеризуется радиальной упругой деформацией по отношению к остальной части, выполняющей герметизирующую функцию. Технический результат – повышение надежности герметизации и вентиляции аккумуляторных батарей и обеспечение гарантированного времени срабатывания узла клапана, определяемого как время реагирования между открытием и закрытием клапана. 4 з.п. ф-лы, 9 ил. 
Настоящее изобретение относится к герметизирующему и вентиляционному клапану для аккумуляторных батарей.
Известно, что внутри батарей и во время их работы и/или подзарядки образуются газы в результате электролиза и испарения воды электролита, как известно, состоящего из серной кислоты и дистиллированной воды.
Особым типом аккумуляторов являются т.н. рекомбинированные аккумуляторы, в которых газы, образующиеся во время работы, конденсируются внутри аккумулятора, в результате чего отсутствует потребление дистиллированной воды и поэтому долива.
По соображениям безопасности аккумулятор рекомбинированного типа имеет несколько каналов, выполненных в крышке, которая закрывает корпус, содержащий элементы. Элементы соединяют различные электролитические ячейки аккумулятора с предохранительным клапаном, чтобы газ выпускался наружу при превышении заданного давления.
Сам клапан должен также исключать поступление воздуха в аккумулятор, когда во время охлаждения температура и поэтому также и давление внутри аккумулятора снижаются.
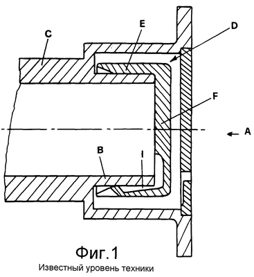
Герметизирующий и вентиляционный клапан для аккумуляторных батарей известного уровня техники показан как пример на Фиг.1 и обозначен в целом позицией А.
Указанный клапан согласно изображению содержит трубчатую втулку В, выступающую из колпачка С аккумулятора и сообщающуюся с внутренним объемом самого аккумулятора. Упругий колпачок на аккумуляторе, обозначенный в целом позицией D, имеет трубчатый корпус Е и закрыт дном F.
Колпачок D, также показанный на Фиг.2 и 3, имеет внутри три паза G, расположенных под углом 120° друг к другу; при этом каждый паз включает часть паза, выполненную в трубчатом корпусе Е, и часть паза, выполненную на дне F.
Конец трубчатого корпуса Е в соответствии с каждым пазом G имеет кромку Н, плотно прилегающую к трубчатой втулке В для герметизации.
При повышении давления внутри аккумулятора образующийся в нем газ выходит изнутри наружу по каналу I, указанному на Фиг.1. Указанный канал ограничен между трубчатой втулкой В и пазом G; при этом за счет наличия канала кромка Н поднимается и поэтому повышенное давление сбрасывается наружу.
Наоборот, в случае снижения давления в аккумуляторе наружное давление прижимает кромки Н к трубчатой втулке В, закрывая вход воздуха в аккумулятор.
Недостаток этого клапана в том, что небольшой размер пазов G и поэтому каналов I между колпачком и трубчатой втулкой В затрудняет сброс повышенного давления и последующее закрытие, в результате чего возрастает инерция клапана. Узел клапана реагирует очень медленно и при повышении внутреннего давления аккумулятора, и при его снижении.
Это означает, что давление может возрасти сверх самых высоких допустимых значений.
Еще один недостаток заключается в том, что герметизирующая поверхность ограничивается только поверхностью контакта между трубчатым корпусом колпачка и трубчатой втулкой. Это не всегда достаточно, чтобы гарантировать герметичность по отношению к поступлению воздуха в аккумулятор извне, когда давление внутри аккумулятора падает.
Как правило, указанные выше недостатки, т.е. значительная инерция открытия и закрытия по отношению к наружному пространству и ограниченная герметизация по отношению к внутреннему пространству в более или менее выраженном виде присутствуют во всех клапанах известного уровня техники, даже если их конструкция отличается от поясняемой и описываемой выше конструкции клапана.
Для устранения некоторых упоминаемых недостатков известного уровня техники публикация WO 01/82395 на имя данного заявителя раскрывает трубчатый корпус, оканчивающийся суживающимся пазом по отношению к наружной поверхности вентиляционной трубчатой втулки. Втулка взаимодействует с внутренней поверхностью упругого трубчатого колпачка, неподвижно соединенного с внешней стороной трубчатой втулки.
Таким образом формируется кольцевая камера между сужением и колпачком, позволяя газам повышенного давления внутри аккумулятора выталкивать трубчатый корпус колпачка в радиальном направлении и одновременно по всему периметру. Это решение облегчает выход газа наружу и поэтому несколько уменьшает инерцию срабатывания узла клапана в целом. И это решение исключает опасное повышение внутреннего давления в аккумуляторе во время его использования.
Хотя, с одной стороны, изобретение, предлагаемое указанным документом, устраняет некоторые указанные недостатки известного уровня техники, но все же остаются неустраненными такие недостатки, как надежность работы узла клапана в целом.
В частности, иногда время срабатывания между открытием и закрытием колпачка более длительное, что означает, что сам колпачок не в состоянии выпускать накапливающийся газ на одном и том же уровне давления. Причина в том, что резина или синтетический каучук, из которого сделан колпачок, пристает к трубчатой втулке, в которой он находится, создавая сопротивление выше заданного. Это прилегание вызывается химической эрозией, обусловленной прохождением газа во время вентиляции.
По существу вентиляционные клапаны известного уровня техники не гарантируют по существу постоянную длительную надежность работы.
Согласно правилу 5.1, ii, РСТ указываются следующие документы – ближайшие аналоги:
– Shamban B: ‘Busak Shamban: Soupapes a la Carte’ Inginieurs de L’Automobile, Raip. Boulogne, Fr, no.690, 1 June 1994 (1994-06-01), page 15 XP000510579 ISSN: 0020-1200.
– EP-A-0756338 (Hagen Batterie AG) 29 January 1997 (1997-01-29).
– US-A-5455124 (Schollenberger Gerd) 3 October 1995 (1995-10-03).
– Patent Abstracts of Japan vol.009, no.049 (E-300), 2 March 1985 (1985-03-02) & JP 59191260 A (Nihon Denchi KK), 30 October 1984 (1984-10-30).
Задача настоящего изобретения заключается в исключении указанных недостатков.
Главная цель изобретения заключается в повышении надежности герметизирующего и вентилирующего узла клапана для аккумуляторных батарей, чтобы обеспечить узел клапана и, в частности, соединенный с трубчатой втулкой колпачок, которые будут гарантировать время реагирования между открытием и закрытием, по существу то же, что и время срабатывания узла клапана.
Еще одна задача настоящего изобретения заключается в обеспечении максимального сокращения времени реагирования между открытием и закрытием, т.е. обеспечении минимального времени между началом повышения внутреннего давления в батарее и вентиляционным выходом газов наружу. В результате этого опасное повышение давления внутри самой батареи не будет нарастать.
Также важно в рекомбинированных батареях, чтобы воздух не поступал извне в батарею, т.е. чтобы герметизирующий и вентиляционный клапан сохранял герметизацию также и во время фактического снижения давления внутри батареи.
Указанные задачи, подробнее поясняемые ниже, решаются с помощью узла герметизирующего и вентиляционного клапана для аккумуляторных батарей, главные признаки которого сформулированы в п.1 формулы изобретения.
Согласно настоящему изобретению уменьшена толщина первой части вблизи дна колпачка, в результате чего обеспечивается значительная упругая деформация при повышенном давлении, в результате чего указанный колпачок легче отходит от втулки. Это существенно для состояния, когда имеет место плотное прилегание колпачка по причине нарушения поверхности, вызванного старением.
Колпачок согласно настоящему изобретению также обеспечивает на участке вблизи края хорошую герметизацию, сохраняя значительную жесткость и общее плотное прилегание к поверхности втулки, когда аккумулятор не работает. Это происходит, когда аккумулятор остывает и снижается давление в вентиляционных каналах крышки аккумулятора.
За счет упоминаемых выше характеристик колпачок согласно настоящему изобретению обеспечивает постоянную во времени надежность работы. При этом время реагирования между вентиляционным открытием и закрытием сокращено и выполненный таким образом колпачок сохраняет по существу стабильные рабочие характеристики во времени.
Прочие характеристики и признаки изобретения подробнее изложены в описании двух предпочтительных его осуществлениях, приводимых в качестве неограничивающего примера и поясняемых прилагаемыми чертежами, на которых:
Фиг.1, 2 и 3 показывают разные виды узла герметизирующего и вентиляционного клапана для аккумуляторных батарей известного уровня техники;
Фиг.4 – продольный разрез узла клапана согласно настоящему изобретению;
Фиг.5 – перспективное изображение с пространственным разделением деталей узла клапана, показанного на Фиг.4;
Фиг.6 и 7 – увеличенное изображение узла клапана согласно настоящему изобретению на двух разных этапах работы;
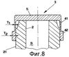
Фиг.8 и 9 – два разных этапа работы узла клапана, имеющего втулку разной формы согласно Фиг.6 и 7.
Согласно Фиг.4 и 5 узел клапана в соответствии с настоящим изобретением, в целом обозначенный позицией 1, установлен на крышке С аккумулятора, на конце одного или нескольких вентиляционных каналов S, соединяющих элементы аккумулятора с окружающей средой.
Согласно изобретению: упругий колпачок 3 из пластмассы высокой степени упругости или из эластомера, более наглядно показанный в увеличенном масштабе на Фиг.6-9, имеет в трубчатой части 4 первую часть по существу с цилиндрической поверхностью, примыкающую к его дну 5. Эта часть имеет толщину Т1, меньшую по сравнению с толщиной Т2 остальной части 42 у края 43 колпачка 3.
И цилиндрическая часть уменьшенной толщины Т1, и последующая часть с толщиной Т2 указанного упругого колпачка согласно примеру на Фиг.6 плотно прилегают к внешней поверхности вентиляционной втулки 7.
Очевидно, радиальная упругость первой части 41 превышает таковую остальной части 42 по причине своей уменьшенной толщины. Поэтому согласно Фиг.7 и 9, когда внутри аккумулятора повышенное давление поступает в канал S для выхода наружу, то это повышенное давление легко деформирует стенки 41 колпачка 3. При этом создается первый отходящий участок 410 относительно внешней поверхности втулки 2.
За счет этого создается предпочтительный маршрут легко выходящего наружу газа.
Также очевидно, что толщина Т2 части 42 вблизи края создает область надежной герметизации и поэтому определенная форма упругого колпачка 3 гарантирует рабочую надежность, по существу постоянную с течением времени.
Эта особая форма с небольшим уменьшением толщины колпачка поэтому обеспечивает возможность надежного отхода самого колпачка при повышении давления и в результате этого стабильное и по существу постоянное время открытия и закрытия клапана.
Также необходимо отметить, что когда аккумулятор не работает, давление внутри трубчатого канала 7 снижается по причине остывания аккумулятора. Поэтому важно, чтобы упругий колпачок обеспечивал герметизацию для предотвращения поступления воздуха в аккумулятор. Это обеспечивается за счет плотного прилегания втулки и к цилиндрической стенке 7, и к кольцеобразному краю 71, на который опирается дно 5 колпачка 3.
Очевидно, что применение упругого колпачка в соответствии с характеристиками настоящего изобретения зависит только частично от наружной конфигурации втулки. Фиг.6 и 7 показывают втулку 7 по существу с цилиндрическим сечением; Фиг.8 и 9 показывают трубчатую втулку 2 с конусообразным концом. Этот конус имеет сечение 22 усеченного конуса, образуя вместе с колпачком 3 камеру, в которой накапливается газ, который затем оказывает расширяющее радиальное усилие на участок 41 уменьшенной толщины.
Что касается характеристик формы колпачка, то предпочтительно, но не обязательно, чтобы длина части 41 уменьшенной толщины была равна остальной части 42 или превышала его.
Предпочтительно, но не обязательно, чтобы толщина Т1 части 41 была равна половине толщины Т2 части 42 или превышала ее.
Когда аккумулятор не работает, колпачок 8 обеспечивает герметизацию с цилиндрической поверхностью, которая контактирует с цилиндрической поверхностью трубчатой втулки 2, и с поверхностью 5 дна, которая контактирует с кольцевым краем 23 втулки 2.
В соответствии с излагаемым выше описанием настоящее изобретение решает все изложенные выше задачи.
Описываемое здесь изобретение может предусматривать варианты его выполнения, например другие формы упругого колпачка и/или конусообразное сужение трубчатой втулки.
Формула изобретения
1. Узел (1) герметизирующего и вентиляционного клапана для аккумуляторных батарей, содержащий
по меньшей мере одну, по существу, трубчатую втулку (2), соединенную с крышкой (С) аккумуляторной батареи и выполненную с возможностью сообщения наружной окружающей среды по меньшей мере с одним каналом (S), выполненным в указанной крышке (С);
упругий колпачок (3), установленный на внешней поверхности указанной трубчатой втулки; причем колпачок имеет закрытый конец (5), открытый конец и трубчатый корпус (4), состоящий из первой и второй примыкающих друг к другу цилиндрических частей (41, 42),
отличающийся тем, что стенка первой цилиндрической части (41), прилегающая к закрытому концу, тоньше стенки второй цилиндрической части, прилегающей к открытому концу; при этом толщина стенки первой цилиндрической части одинакова по всей ее окружности, толщина стенки второй цилиндрической части одинакова по всей ее окружности и обе части контактируют с внешней поверхностью указанной втулки; причем радиальная упругая деформация указанной первой цилиндрической части превышает таковую второй цилиндрической части, тем самым обеспечивая герметизирующую функцию.
2. Узел клапана по п.1, отличающийся тем, что имеющая уменьшенную толщину первая цилиндрическая часть (41) колпачка (3) имеет длину, равную длине второй цилиндрической части (42), расположенной вблизи края указанного колпачка или превышающую ее.
3. Узел клапана по п.1 или 2, отличающийся тем, что уменьшенная толщина указанной первой цилиндрической части указанного колпачка равна половине толщины второй цилиндрической части (42) или превышает ее.
4. Узел клапана по п.1, отличающийся тем, что по меньшей мере одна, по существу, трубчатая втулка, на которой установлен колпачок, имеет, по существу, цилиндрическую форму (7).
5. Узел клапана по п.1, отличающийся тем, что по меньшей мере одна, по существу, трубчатая втулка, на которой установлен колпачок (3), имеет, по существу, трубчатую форму со скошенным (22) или более тонким краем, чтобы образовать кольцевую камеру между указанным колпачком и указанной втулкой.
РИСУНКИ
MM4A – Досрочное прекращение действия патента СССР или патента Российской Федерации на изобретение из-за неуплаты в установленный срок пошлины за поддержание патента в силе
Дата прекращения действия патента: 15.11.2009
Извещение опубликовано: 27.09.2010 БИ: 27/2010
|