|
|
(21), (22) Заявка: 2002100082/09, 05.04.2001
(24) Дата начала отсчета срока действия патента:
05.04.2001
(30) Конвенционный приоритет:
10.08.2000 JP 2000-243205
(43) Дата публикации заявки: 20.08.2003
(45) Опубликовано: 10.04.2006
(56) Список документов, цитированных в отчете о поиске:
WO 9631952, 10.10.1996. RU 96120771 А, 10.01.1999. RU 2037888 C1, 19.06.1995. WO 9407332, 31.01.1994. WO 9429867, 22.12.1994. RU 2117337 C1, 10.08.1998.
(85) Дата перевода заявки PCT на национальную фазу:
08.01.2002
(86) Заявка PCT:
JP 01/02963 (05.04.2001)
(87) Публикация PCT:
WO 07/78300 (18.10.2001)
Адрес для переписки:
103735, Москва, ул. Ильинка, 5/2, ООО “Союзпатент”, пат.пов. С.Б.Фелициной
|
(72) Автор(ы):
АСАНО Томоюки (JP), ОСАВА Еситомо (JP), ИСИГУРО Рюдзи (JP), МИЦУЗАВА Ацуси (JP), ОИСИ Татео (JP)
(73) Патентообладатель(и):
СОНИ КОРПОРЕЙШН (JP)
|
(54) УСТРОЙСТВО И СПОСОБ ЗАПИСИ/ВОСПРОИЗВЕДЕНИЯ ИНФОРМАЦИИ
(57) Реферат:
Изобретение относится к устройству записи/воспроизведения информации. Технический результат заключается в минимизации нагрузки по распределению данных. В древовидной системе распределения ключей обновленные данные главного ключа и ключа носителя передаются вместе с блоком обновления ключа. Блок обновления ключа таков, что каждое из устройств, включенное в качестве листьев древовидной структуры, имеет листовой ключ и ограниченный узловой ключ. Конкретный блок обновления ключа может быть генерирован для группы, идентифицируемой конкретным узлом, и распределен в группу для ограничения устройства, для которого можно обновить ключ. Любое устройство, не принадлежащее к группе, не может расшифровывать ключ, за счет чего можно обеспечить защиту распределения ключа. В частности, в системе, использующей главный ключ с управляемым поколением, можно распределять главный ключ, обновленный с помощью блока обновления ключа. 9 н. и 49 з.п. ф-лы, 46 ил. 
Область техники, к которой относится изобретение
Данное изобретение относится в целом к устройству записи информации, устройству воспроизведения информации, способу записи информации, способу воспроизведения информации, носителю информации и средству обслуживания программы и, в частности, к устройству записи информации, устройству воспроизведения информации, способу записи информации, способу воспроизведения информации, носителю информации и средству обслуживания программы, в которых используется способ распределения ключей с древовидной иерархической структурой для уменьшения размера сообщения, за счет чего минимизируется нагрузка по распределению данных, когда необходимо обновить ключ, такой как главный ключ, ключ носителя или т.п. В частности, данное изобретение относится к устройству записи информации, устройству воспроизведения информации, способу записи информации, способу воспроизведения информации, носителю информации и средству обслуживания программы, в которых используется метод распределения ключей, в котором каждое из числа n устройств записи/воспроизведения расположено на каждом листе дерева для распределения необходимого ключа, такого как главный или ключ носителя информации, для записи или воспроизведения данных содержимого в или с носителя информации через носитель информации или линию связи, и распределенный таким образом главный ключ или ключ носителя используется каждым устройством записи/воспроизведения для записи или воспроизведения данных содержимого.
Уровень техники
В связи с последними успехами в развитии цифровой техники обработки сигналов преобладающее значение имеют цифровые устройства записи/воспроизведения и носители информации. С помощью такого цифрового устройства записи/воспроизведения и носителя информации можно повторно записывать и воспроизводить, например, изображения или звук без ухудшения их качества. Поскольку цифровые данные можно повторно копировать много раз без ухудшения качества изображения и звука, то носители информации с незаконно записанными на них цифровыми данными при поступлении на рынок лишают владельцев авторских прав на различное содержимое, такое как музыка, кинофильмы и т.д., или же законных распространителей содержимого, прибыли, которую бы они получали при невозможности незаконного копирования. Для предотвращения такого незаконного копирования цифровых данных, в последнее время в цифровые устройства записи/воспроизведения и носители информации были введены различные системы предотвращения незаконного копирования.
В качестве примера указанных выше систем предотвращения незаконного копирования в дисководе MD (мини-диска) (MD является товарным знаком) используется SCMS (система управления последовательностью копирования). SCMS функционирует так, что на стороне устройства воспроизведения данных звуковые данные выдаются вместе с сигналом SCMS из цифрового интерфейса (DIF), в то время как на стороне устройства записи данных запись звуковых данных со стороны устройства воспроизведения данных контролируется на основе сигнала SCMS со стороны устройства воспроизведения данных, что предотвращает незаконное копирование звуковых данных.
В частности, указанный сигнал SCMS показывает, что звуковые данные являются допущенными для свободного копирования данными, которые можно свободно копировать много раз, данными для одноразового копирования, которые можно копировать только один раз, или запрещенными для копирования данными, копирование которых запрещено. На стороне устройства записи данных при приеме звуковых данных из цифрового интерфейса обнаруживается сигнал SCMS, передаваемый вместе со звуковыми данными. Если сигнал SCMS показывает, что звуковые данные являются свободными для копирования данными, то звуковые данные весте с сигналом SCMS записываются на мини-диск. Если сигнал SCMS показывает, что звуковые данные являются разрешенными для одного копирования данными, то звуковые данные преобразуются в запрещенные для копирования данные и сигнал SCMS вместе с звуковыми данными записывается на мини-диск. Кроме того, если сигнал SCMS показывает, что звуковые данные являются запрещенными для копирования данными, то звуковые данные не записываются на мини-диск. С помощью сигнала SCMS обеспечивается предотвращение незаконного копирования защищенных авторским правом звуковых данных в блок дисковода мини-диска.
Однако SCMS является действенной только тогда, когда само устройство записи данных выполнено с возможностью контролирования записи звуковых данных со стороны устройства воспроизведения данных на основе сигнала SCMS. Поэтому системе SCMS трудно поддерживать дисковод мини-диска, выполненный без возможности выполнения контроля SCMS. Для применения SCMS, например, устройство воспроизведения DVD использует систему скремблирования содержимого для предотвращения незаконного копирования защищенных авторским правом данных.
Система скремблирования содержимого выполнена так, что зашифрованные данные изображения, звуковые данные и т.п. записываются в DVD-ROM (память, доступная только для считывания) и каждому лицензированному устройству воспроизведения DVD дается шифровальный ключ для расшифровки зашифрованных данных. Лицензия выдается устройству воспроизведения DVD, выполненному в соответствии с заданными правилами работы, исключающими незаконное копирование и т.д. Поэтому при использовании шифровального ключа лицензированное устройство воспроизведения DVD может расшифровывать зашифрованные данные, записанные в DVD-ROM, для воспроизведения видео и аудиоданных из DVD-ROM.
С другой стороны, нелицензированное устройство воспроизведения DVD не может расшифровывать зашифрованные данные, записанные в DVD-ROM, поскольку оно не имеет шифровального ключа для зашифрованных данных. Таким образом, система скремблирования содержимого не дает устройству воспроизведения DVD, не отвечающему условиям лицензирования, возможность воспроизводить DVD-ROM, в которой записаны цифровые данные, с целью предотвращения незаконного копирования.
Однако система скремблирования содержимого, используемая в DVD-ROM, направлена на носитель информации, на который пользователь не может записывать данные (называемый в последующем как носитель ROM), но не на любой носитель информации, на который пользователь может записывать данные (называемый в последующем как носитель RAM).
Таким образом, копирование всех зашифрованных данных, записанных в носителе ROM, в том виде как они есть, в носитель RAM создает так называемое пиратское издание данных, которое может воспроизводится лицензированным устройством воспроизведения DVD.
Для решения этой проблемы заявитель данного изобретения предложил, как раскрыто в выложенной заявке Японии №224461 от 1999 (заявка на патент Японии №25310 от 1998), способ, в котором информация для идентификации каждого носителя информации (называемая в последующем как информация идентификации носителя) записывается с другими данными на носитель информации для обеспечения доступа к информации идентификации носителя в носителе информации только тогда, когда устройство воспроизведения, которое должно воспроизводить носитель информации, лицензировано для информации идентификации носителя.
Согласно этому способу данные в носителе информации шифруют личным ключом (главным ключом), полученным посредством лицензирования информации идентификации носителя, так что любое нелицензированное устройство воспроизведения не может получить какие-либо значимые данные, даже если оно может считывать зашифрованные данные. Следует отметить, что устройство воспроизведения, лицензированное для информации идентификации носителя, имеет режим работы, ограничивающий незаконное копирование.
Лицензированное устройство воспроизведения может получать доступ к информации идентификации носителя. Информация идентификации носителя является уникальной для каждого носителя информации. Даже если не лицензированное устройство воспроизведения сможет копировать все зашифрованные данные, записанные в таком носителе информации, на новый носитель информации, то данные, записанные таким образом на новый носитель информации, не могут быть правильно расшифрованы нелицензированным устройством воспроизведения, а также лицензированным устройством воспроизведения. Таким образом, по существу возможно предотвратить незаконное копирование данных.
Необходимо напомнить, что в указанной выше обычной системе главный ключ, хранящийся в лицензированном устройстве, обычно является общим ключом для всех устройств, включенных в одну и ту же систему. Главный ключ, общий для множества устройств в системе, хранится для обеспечения воспроизведения одним устройством носителя информации, имеющим данные, записанные в него другим устройством в системе (для обеспечения взаимной работы устройств).
Однако, если злоумышленник успешно вскроет устройство, включенное в систему, и извлечет главный ключ, то зашифрованные данные, записанные во всей системе, могут быть расшифрованы и вся система будет разрушена. Для предотвращения этого, если станет известно, что вскрытие устройства привело к раскрытию главного ключа, необходимо заменить главный ключ новым ключом, и новый главный ключ необходимо выдать всем устройствам, включенным в систему, за исключением устройства, которое было вскрыто. Эту меру можно выполнить наиболее просто посредством выдачи каждому устройству уникального ключа (ключа устройства), шифрования нового главного ключа каждым из ключей устройства для создания соответствующей величины, и передачи этой величины в каждое из устройств через носитель информации. Однако это увеличивает размер предназначенного для передачи сообщения пропорционально количеству устройств, для которых оно предназначено.
Сущность изобретения
В соответствии с этим, целью данного изобретения является устранение указанных выше недостатков уровня техники посредством создания системы, в которой используется древовидный метод распределения ключей для уменьшения размера сообщения, минимизируя тем самым нагрузку по распределению нового или обновленного ключа, такого как главный ключ, ключ носителя информации или т.п. То есть, целью данного изобретения является создание устройства записи информации, устройства воспроизведения информации, способа записи информации, способа воспроизведения информации, носителя записанной информации и средства обслуживания программы, в которых используется метод распределения ключа, в котором каждое из числа n устройств записи/воспроизведения расположено на каждом из листов дерева, для распределения необходимого ключа, такого как главный ключ или ключ носителя, для записи или воспроизведения данных содержимого с или в носитель информации через носитель информации или линию связи, и главный ключ или ключ носителя, распределенный таким образом, используется каждым устройством записи/воспроизведения для записи или воспроизведения данных содержимого.
Согласно первому аспекту данного изобретения может быть создано устройство записи информации для записи информации в носитель информации, при этом устройство содержит криптографическое средство, имеющее узловой ключ, уникальный для каждого из узлов, включенных в иерархическую древовидную структуру, в которую включены множество устройств записи информации в качестве листов древовидной структуры, и листовой ключ, уникальный для каждого из устройств записи информации, и которое шифрует данные, подлежащие сохранению в носителе информации; при этом криптографическое средство генерирует шифровальный ключ на основе данных для генерирования шифровального ключа, встроенных в устройство записи информации, для шифрования данных, подлежащих сохранению в носителе информации; при этом данные для генерирования шифровального ключа являются данными, которые можно обновлять с помощью, по меньшей мере, узлового ключа или листового ключа.
В указанном выше устройстве записи информации согласно данному изобретению данные для генерирования шифровального ключа являются главным ключом, общим для множества устройств записи информации.
Кроме того, в указанном выше устройстве записи информации согласно данному изобретению данные для генерирования шифровального ключа являются ключом носителя, уникальным для конкретного носителя информации.
Кроме того, в указанном выше устройстве записи информации согласно данному изобретению узловой ключ может быть обновлен, то есть распределяется, когда обновляется узловой ключ, блок обновления ключа (KRB), производный от шифрования узлового ключа обновления с помощью по меньшей мере узлового ключа или листового ключа на нижней ступени древовидной структуры для устройства записи информации в листе, где необходимо обновить данные для генерирования шифровального ключа, и криптографическое средство в устройстве записи информации принимает данные обновления для данных генерирования шифровального ключа, зашифрованных обновленным узловым ключом, шифрует блок обновления ключа для получения обновленного узлового ключа, и вычисляет данные обновления для данных генерирования шифровального ключа на основе обновленного узлового ключа, полученного таким образом.
Кроме того, в указанном выше устройстве записи информации согласно данному изобретению блок обновления ключа хранится в носителе информации и криптографическое средство шифрует блок обновления ключа, считанный с носителя информации.
Кроме того, в указанном выше устройстве записи информации согласно данному изобретению данные для генерирования шифровального ключа имеют номер поколения в качестве информации обновления, коррелированной с ним, и криптографическое средство сохраняет в носителе информации в качестве номера поколения записи номер поколения данных для генерирования шифровального ключа, которые были использованы при сохранении зашифрованных данных в носителе информации.
Кроме того, в указанном выше устройстве записи информации согласно данному изобретению селективно выполняются следующие процедуры шифрования в зависимости от того, установлено или нет ограничение устройства воспроизведения: когда ограничение устройства воспроизведения не установлено, то генерируется первый шифровальный ключ для данных, подлежащих сохранению в носителе информации, на основе данных для генерирования первого шифровального ключа для шифрования данных, подлежащих сохранению в носителе информации, с помощью первого шифровального ключа, и данные для генерирования первого шифровального ключа сохраняются в носителе информации, или же, когда установлено ограничение устройства воспроизведения, генерируется второй шифровальный ключ для данных, подлежащих сохранению в носителе информации, на основе данных для генерирования второго шифровального ключа, встроенных в устройство записи информации, для шифрования данных, подлежащих сохранению в носителе информации, с помощью второго шифровального ключа.
Кроме того, в указанном выше устройстве записи информации согласно данному изобретению, когда не установлено ограничение устройства воспроизведения, то криптографическое средство генерирует уникальный титульный ключ из главного ключа, поколение которого является управляемым, хранящегося в устройстве записи информации, идентификатора диска, являющегося идентификатором, уникальным для носителя информации, титульного ключа, уникального для данных, подлежащих записи в носитель информации, и идентификатора устройства, являющегося идентификатором для устройства записи информации, и генерирует первый шифровальный ключ из уникального титульного ключа, или же, когда установлено ограничение устройства воспроизведения, криптографическое средство генерирует уникальный титульный ключ из главного ключа, поколение которого является управляемым, хранящегося в устройстве записи информации, идентификатора диска, являющегося идентификатором, уникальным для носителя информации, титульного ключа, уникального для данных, подлежащих записи в носитель информации, и уникального для устройства ключа, уникального для устройства записи информации, и генерирует второй шифровальный ключ из уникального титульного ключа.
Указанное выше устройство записи информации согласно данному изобретению дополнительно содержит средство обработки транспортного потока для присоединения штампа времени входа (ATS) к каждому из дискретных транспортных пакетов, включенных в транспортный поток, криптографическое средство генерирует блочный ключ в качестве ключа шифрования данных блока, включающих более одного транспортного пакета, каждый из которых имеет присоединенный штамп времени входа, и блочный ключ в качестве шифровального ключа генерируется при шифровании данных, подлежащих сохранению в носителе информации, на основе данных для генерирования шифровального ключа и начального числа блока, которое является дополнительной информацией, уникальной для данных блока, и включает штамп времени входа.
Кроме того, в указанном устройстве записи информации согласно данному изобретению криптографическое средство шифрует данные блока, подлежащие сохранению в носителе информации, в соответствии с алгоритмом DES (стандарт шифрования данных).
В указанном устройстве записи информации дополнительно предусмотрено интерфейсное средство для приема информации, подлежащей записи в носитель информации, и идентификации информации управления копированием, присоединенной к каждому из пакетов, включенных в транспортный поток, для определения на основе информации управления копированием, возможна или нет запись в носитель информации.
В указанном устройстве записи информации дополнительно предусмотрено интерфейсное средство для приема информации, подлежащей записи в носитель информации, и идентификации двухбитового индикатора режима шифрования (EMI), в качестве информации управления копированием, для определения на основе EMI, возможна или нет запись в носитель информации.
Согласно второму аспекту данного изобретения может быть создано устройство воспроизведения информации для воспроизведения информации с носителя информации, при этом устройство содержит криптографическое средство, имеющее узловой ключ, уникальный для каждого из узлов, включенных в иерархическую древовидную структуру, в которую включены множество устройств записи информации в качестве каждого из листов древовидной структуры, и листовой ключ, уникальный для каждого из устройств записи информации, и которое расшифровывает данные, хранящиеся в носителе информации; при этом криптографическое средство генерирует ключ расшифровки на основе данных для генерирования ключа расшифровки, встроенных в устройство записи информации, для расшифровки данных, хранящихся в носителе информации; при этом данные для генерирования ключа расшифровки являются данными, которые можно обновлять с помощью, по меньшей мере, узлового ключа или листового ключа.
В указанном выше устройстве воспроизведения информации согласно данному изобретению данные для генерирования ключа расшифровки являются главным ключом, общим для множества устройств записи информации.
Кроме того, в указанном выше устройстве воспроизведения информации согласно данному изобретению данные для генерирования ключа расшифровки являются ключом носителя, уникальным для конкретного носителя информации.
Кроме того, в указанном выше устройстве воспроизведения информации согласно данному изобретению узловой ключ может быть обновлен, то есть распределяется, когда обновляется узловой ключ, блок обновления ключа (KRB), производный от шифрования узлового ключа обновления с помощью по меньшей мере узлового ключа или листового ключа на нижней ступени древовидной структуры для устройства воспроизведения информации в листе, где необходимо обновить данные для генерирования шифровального ключа, и криптографическое средство в устройстве записи информации принимает данные обновления для данных генерирования ключа расшифровки, зашифрованные обновленным узловым ключом, шифрует блок обновления ключа для получения обновленного узлового ключа, и вычисляет данные обновления для данных генерирования ключа расшифровки на основе обновленного узлового ключа, полученного таким образом.
Кроме того, в указанном выше устройстве воспроизведения информации согласно данному изобретению блок обновления ключа сохраняется в носителе информации и криптографическое средство шифрует блок обновления ключа, считанный с носителя информации.
Кроме того, в указанном выше устройстве воспроизведения информации согласно данному изобретению данные для генерирования ключа расшифровки имеют номер поколения в качестве информации обновления, коррелированной с ним, и криптографическое средство считывает с носителя информации, при расшифровке зашифрованных данных с носителя информации, номер поколения данных для генерирования шифровального ключа, которые были использованы при шифровании зашифрованных данных, и генерирует ключ расшифровки из данных для генерирования ключа расшифровки, соответствующих считанному таким образом номеру поколения.
Кроме того, в указанном выше устройстве воспроизведения информации согласно данному изобретению селективно выполняются следующие процедуры, каждая из которых подлежит выполнению в зависимости от того, установлено или нет ограничение устройства воспроизведения: когда ограничение устройства воспроизведения не установлено, то генерируется первый ключ расшифровки для зашифрованных данных, хранящихся в носителе информации, на основе данных для генерирования первого ключа расшифровки, хранящихся в носителе информации, зашифрованные данные расшифровываются с помощью первого ключа расшифровки, или же, когда установлено ограничение устройства воспроизведения, то генерируется второй ключ расшифровки для зашифрованных данных, хранящихся в носителе информации, на основе данных для генерирования второго шифровального ключа, встроенных в устройство записи информации, и зашифрованные данные расшифровываются с помощью второго ключа расшифровки.
Кроме того, в указанном выше устройстве воспроизведения информации согласно данному изобретению, когда не установлено ограничение устройства воспроизведения, то криптографическое средство получает главный ключ с управляемым поколением, хранящийся в устройстве записи информации, и получает из носителя информации идентификатор диска, являющийся идентификатором, уникальным для носителя информации, титульный ключ, уникальный для данных, подлежащих расшифровке, и идентификатор устройства, являющийся идентификатором для устройства записи информации, записавшего зашифрованные данные, для генерирования уникального титульного ключа из главного ключа, идентификатора диска, титульного ключа, и ключа устройства, и первого ключа расшифровки из уникального титульного ключа, или же, когда установлено ограничение устройства воспроизведения, то криптографическое средство получает главный ключ с управляемым поколением, хранящийся в устройстве записи информации, и уникальный для устройства ключ, уникальный для устройства записи информации и хранящийся в нем, и получает из носителя информации идентификатор диска, являющийся идентификатором, уникальным для носителя информации, и титульный ключ, уникальный для данных, подлежащих расшифровке, для генерирования уникального титульного ключа из главного ключа, идентификатора диска, титульного ключа и уникального для устройства ключа, и второй ключ расшифровки генерируется из уникального титульного ключа.
Указанное выше устройство воспроизведения информации согласно данному изобретению дополнительно содержит средство обработки транспортного потока для управления выдачей данных на основе штампа времени входа (ATS), присоединенного к каждому из множества транспортных пакетов, включенных в данные блока, расшифрованные с помощью криптографического средства, криптографическое средство генерирует блочный ключ в качестве ключа расшифровки для данных блока, включающих более одного пакетов, каждый из которых имеет присоединенный штамп времени входа, и генерирует блочный ключ в качестве ключа расшифровки при расшифровке зашифрованных данных, хранящихся в носителе информации, на основе данных, включающих данные для генерирования ключа расшифровки, и начального числа блока, которое является дополнительной информацией, уникальной для данных блока, и включает штамп времени входа.
Кроме того, в указанном устройстве воспроизведения информации согласно данному изобретению криптографическое средство расшифровывает зашифрованные данные, хранящиеся в носителе информации, в соответствии с алгоритмом DES.
В указанном устройстве воспроизведения информации дополнительно предусмотрено интерфейсное средство для приема информации, подлежащей записи в носитель информации, и идентификации информации управления копированием, присоединенной к каждому из пакетов, включенных в транспортный поток, для определения на основе информации управления копированием, возможно или нет воспроизведение с носителя информации.
В указанном устройстве воспроизведения информации дополнительно предусмотрено интерфейсное средство для приема информации, подлежащей записи в носитель информации, и идентификации двухбитового индикатора режима шифрования (EMI), в качестве информации управления копированием, для определения на основе EMI, возможно или нет воспроизведение с носителя информации.
Согласно третьему аспекту данного изобретения может быть создан способ записи информации для записи информации в носитель информации, при этом способ содержит стадии: обновления данных генерирования шифровального ключа для генерирования шифровального ключа для шифрования данных, подлежащих записи в носитель информации, с помощью по меньшей мере узлового ключа, уникального для каждого из узлов, включенных в иерархическую древовидную структуру, в которую включены множество различных устройств записи информации в качестве каждого из листов древовидной структуры, или листового ключа, уникального для каждого из устройств записи информации; и генерирования шифровального ключа на основе данных для генерирования шифровального ключа для шифрования, данных, подлежащих сохранению в носителе информации.
В указанном выше устройстве способе информации согласно данному изобретению данные для генерирования шифровального ключа являются главным ключом, общим для множества устройств записи информации.
Кроме того, в указанном выше способе записи информации согласно данному изобретению данные для генерирования шифровального ключа являются ключом носителя, уникальным для конкретного носителя информации.
Кроме того, в указанном выше способе записи информации согласно данному изобретению узловой ключ может быть обновлен, то есть распределяют, когда обновляется узловой ключ, блок обновления ключа (KRB), производный от шифрования обновленного узлового ключа с помощью, по меньшей мере узлового ключа или листового ключа на нижней ступени древовидной структуры для устройства записи информации в листе, где необходимо обновить данные для генерирования шифровального ключа, и стадия обновления включает стадии: получения обновленного узлового ключа посредством шифрования блока обновления ключа, и вычисления данных для обновления данных для генерирования шифровального ключа на основе обновленного узлового ключа, полученного таким образом.
Кроме того, в указанном выше способе записи информации согласно данному изобретению данные для генерирования шифровального ключа имеют номер поколения в качестве информации обновления, коррелированной с ним, и криптографическая стадия дополнительно содержит стадию сохранения в носителе информации, при сохранении зашифрованных данных в носителе информации, номера поколения данных для генерирования шифровального ключа, которые были использованы, в качестве номера поколения записи.
Кроме того, в указанном выше способе записи информации согласно данному изобретению криптографическая стадия включает следующие две процедуры, одну из которых селективно выполняют в зависимости от того, установлено или нет ограничение устройства воспроизведения: когда ограничение устройства воспроизведения не установлено, то генерируют первый шифровальный ключ для данных, подлежащих сохранению в носителе информации, на основе данных для генерирования первого шифровального ключа, шифруют данные, подлежащие сохранению в носителе информации, с помощью первого шифровального ключа, и сохраняют данные для генерирования первого шифровального ключа в носителе информации; и когда установлено ограничение устройства воспроизведения, то генерируют второй шифровальный ключ для данных, подлежащих сохранению в носителе информации, на основе данных для генерирования второго шифровального ключа, встроенных в устройство записи информации, и шифруют данные, подлежащие сохранению в носителе информации, с помощью второго шифровального ключа.
Кроме того, в указанном выше способе записи информации согласно данному изобретению криптографическая стадия включает следующие две процедуры: когда не установлено ограничение устройства воспроизведения, то криптографическое средство генерирует уникальный титульный ключ из главного ключа с управляемым поколением, хранящегося в устройстве записи информации, идентификатора диска, являющегося идентификатором, уникальным для носителя информации, титульного ключа, уникального для данных, подлежащих записи в носитель информации, и идентификатора устройства, являющегося идентификатором для устройства записи информации, и генерирует первый шифровальный ключ из уникального титульного ключа; и когда установлено ограничение устройства воспроизведения, то криптографическое средство генерирует уникальный титульный ключ из главного ключа с управляемым поколением, хранящегося в устройстве записи информации, идентификатора диска, являющегося идентификатором, уникальным для носителя информации, титульного ключа, уникального для данных, подлежащих записи в носитель информации, и уникального для устройства ключа, уникального для устройства записи информации, и генерирует второй шифровальный ключ из уникального титульного ключа.
Указанный выше способ записи информации согласно данному изобретению дополнительно содержит стадию обработки транспортного потока для присоединения штампа времени входа (ATS) к каждому из дискретных транспортных пакетов, включенных в транспортный поток, в криптографической стадии генерируют блочный ключ в качестве ключа шифрования данных блока, включающих более одного транспортных пакетов, каждый из которых имеет присоединенный штамп времени входа, и генерируют блочный ключ в качестве шифровального ключа при шифровании данных, подлежащих сохранению в носителе информации, на основе данных, включающих данные для генерирования шифровального ключа, и начального числа блока, которое является дополнительной информацией, уникальной для данных блока, и включает штамп времени входа.
Кроме того, в указанном способе записи информации согласно данному изобретению в криптографической стадии шифруют данные, подлежащие сохранению в носителе информации, в соответствии с алгоритмом DES.
В указанном способе записи информации согласно данному изобретению идентифицируют в данных информацию управления копированием, присоединенную к каждому из пакетов, включенных в транспортный поток, для определения на основе информации управления копированием, возможна или нет запись в носитель информации.
В указанном способе записи информации согласно данному изобретению идентифицируют двухбитовый индикатор режима шифрования (EMI), в качестве информации управления копированием, для определения на основе EMI, возможна или нет запись в носитель информации.
Согласно четвертому аспекту данного изобретения может быть создан способ воспроизведения информации для воспроизведения информации с носителя информации, при этом способ содержит стадии: обновления данных для генерирования ключа расшифровки, из которых генерируют ключ расшифровки для расшифровки зашифрованных данных, хранящихся в носителе информации, с помощью по меньшей мере узлового ключа, уникального для каждого из узлов, включенных в иерархическую древовидную структуру, в которую включены множество различных устройств воспроизведения информации в качестве каждого из листьев древовидной структуры, или листового ключа, уникального для каждого из устройств воспроизведения информации; и генерирования ключа расшифровки из данных для генерирования ключа расшифровки, обновленных в стадии обновления, для расшифровки данных, хранящихся в носителе информации.
В указанном выше способе воспроизведения информации согласно данному изобретению данные для генерирования ключа расшифровки являются главным ключом, общим для множества устройств записи информации.
Кроме того, в указанном выше способе воспроизведения информации согласно данному изобретению данные для генерирования ключа расшифровки являются ключом носителя, уникальным для конкретного носителя информации.
Кроме того, в указанном выше способе воспроизведения информации согласно данному изобретению узловой ключ может быть обновлен, то есть распределяют, когда обновляется узловой ключ, блок обновления ключа (KRB), производный от шифрования узлового ключа обновления с помощью, по меньшей мере узлового ключа или листового ключа на нижней ступени древовидной структуры для устройства воспроизведения информации в листе, где необходимо обновить данные для генерирования шифровального ключа, и криптографическая стадия включает стадии: шифрования блока обновления ключа для получения обновленного узлового ключа; и вычисления данных обновления для данных генерирования ключа расшифровки на основе обновленного узлового ключа, полученного таким образом.
Кроме того, в указанном выше способе воспроизведения информации согласно данному изобретению данные для генерирования ключа расшифровки имеют номер поколения в качестве информации обновления, коррелированной с ним, и в криптографической стадии считывают с носителя информации при расшифровке зашифрованных данных с носителя информации, номер поколения данных для генерирования шифровального ключа, которые были использованы при шифровании зашифрованных данных, для генерирования ключа расшифровки из данных для генерирования ключа расшифровки, соответствующих считанному таким образом номеру поколения.
Кроме того, в указанном выше способе воспроизведения информации согласно данному изобретению криптографическая стадия включает следующие две процедуры, каждая из которых подлежит выполнению в зависимости от того, установлено или нет ограничение устройства воспроизведения: когда ограничение устройства воспроизведения не установлено, то генерируют первый ключ расшифровки для зашифрованных данных, хранящихся в носителе информации, на основе данных для генерирования первого ключа расшифровки, хранящихся в носителе информации, зашифрованные данные расшифровывают с помощью первого ключа расшифровки, или же, когда установлено ограничение устройства воспроизведения, то генерируют второй ключ расшифровки для зашифрованных данных, хранящихся в носителе информации, на основе данных для генерирования второго шифровального ключа, встроенных в устройство записи информации, и зашифрованные данные расшифровывают с помощью второго ключа расшифровки.
Кроме того, в указанном выше способе воспроизведения информации согласно данному изобретению, когда не установлено ограничение устройства воспроизведения, то получают главный ключ с управляемым поколением, хранящийся в устройстве записи информации, а также получают из носителя информации идентификатор диска, являющийся идентификатором, уникальным для носителя информации, титульный ключ, уникальный для данных, подлежащих расшифровке, и идентификатор устройства, являющийся идентификатором для устройства записи информации, записавшего зашифрованные данные, для генерирования уникального титульного ключа из главного ключа, идентификатора диска, титульного ключа, и ключа устройства, и первого ключа расшифровки из уникального титульного ключа; и когда установлено ограничение устройства воспроизведения, то получают главный ключ с управляемым поколением, хранящийся в устройстве записи информации, и уникальный для устройства ключ, уникальный для устройства записи информации и хранящийся в нем, а также получают из носителя информации идентификатор диска, являющийся идентификатором, уникальным для носителя информации, и титульный ключ, уникальный для данных, подлежащих расшифровке, для генерирования уникального титульного ключа из главного ключа, идентификатора диска, титульного ключа и уникального для устройства ключа; и генерируют второй ключ расшифровки из генерированного таким образом уникального титульного ключа.
В указанном выше способе воспроизведения информации согласно данному изобретению устройство воспроизведения дополнительно содержит средство обработки транспортного потока для управления выдачей данных на основе штампа времени входа (ATS), присоединенного к каждому из множества транспортных пакетов, включенных в расшифрованный блок; и в криптографической стадии генерируют блочный ключ в качестве ключа расшифровки для данных блока, включающих более одного пакетов, каждый из которых имеет присоединенный штамп времени входа, и генерируют блочный ключ в качестве ключа расшифровки при расшифровке зашифрованных данных, хранящихся в носителе информации, на основе данных, включающих данные для генерирования ключа расшифровки, и начального числа блока, которое является дополнительной информацией, уникальной для данных блока, и включает штамп времени входа.
Кроме того, в указанном способе воспроизведения информации согласно данному изобретению криптографическое средство расшифровывает зашифрованные данные, хранящиеся в носителе информации, в соответствии с алгоритмом DES.
Кроме того, в указанном способе воспроизведения информации согласно данному изобретению идентифицируют в данных информацию управления копированием, присоединенную к каждому из пакетов, включенных в транспортный поток, для определения на основе информации управления копированием, возможно или нет воспроизведение с носителя информации.
Кроме того, в указанном способе воспроизведения информации согласно данному изобретению идентифицируют двухбитовый индикатор режима шифрования (EMI), в качестве информации управления копированием, для определения на основе EMI, возможно или нет воспроизведение с носителя информации.
Согласно пятому аспекту данного изобретения может быть создан носитель информации, способный записывать информацию, имеющий хранящийся в нем блок обновления ключа (KRB), производный от шифрования обновленного узлового ключа с помощью по меньшей мере узлового ключа, уникального для каждого из узлов, включенных в иерархическую древовидную структуру, в которую включены множество различных устройств записи информации в качестве каждого из листов древовидной структуры, или листового ключа, уникального для каждого из устройств записи информации.
Кроме того, в указанном носителе информации согласно данному изобретению включены данные, производные от шифрования с помощью обновленного узлового ключа данных для генерирования шифровального ключа, используемых в устройстве записи информации для генерирования шифровального ключа для шифрования данных, подлежащих сохранению в носителе информации.
Кроме того, в указанном носителе информации согласно данному изобретению включены данные, производные от расшифровки с помощью обновленного узлового ключа данных для генерирования ключа расшифровки, используемых в устройстве воспроизведения информации для генерирования ключа расшифровки для расшифровки данных, хранящихся в носителе информации.
Кроме того, в указанном носителе информации согласно данному изобретению хранится информация о поколении данных для генерирования шифровального ключа или ключа расшифровки.
Согласно шестому аспекту данного изобретения может быть создано устройство изготовления носителя информации для изготовления носителя информации, при этом устройство содержит: память для хранения блока обновления ключа (KRB), производного от шифрования обновленного узлового ключа с помощью, по меньшей мере узлового ключа, уникального для каждого из узлов, включенных в иерархическую древовидную структуру, в которую включены множество различных устройств записи информации в качестве каждого из листов древовидной структуры, или листового ключа, уникального для каждого из устройств записи информации; и блок управления для управления записью блока обновления ключа (KRB), хранящегося в памяти, в носитель информации.
Кроме того, в указанном устройстве изготовления носителя информации в памяти дополнительно хранятся по меньшей мере идентификатор носителя информации и зашифрованные данные для генерирования шифровального ключа или зашифрованные данные для генерирования ключа расшифровки, и блок управления управляет записью в носитель информации по меньшей мере идентификатора носителя информации и зашифрованных данных для генерирования шифровального ключа или зашифрованных данных для генерирования ключа расшифровки.
Кроме того, в указанном устройстве изготовления носителя информации в памяти дополнительно хранится информация о поколении данных для генерирования шифровального ключа или данных для генерирования ключа расшифровки, и блок управления управляет записью информации о поколении в носитель информации.
Согласно седьмому аспекту данного изобретения может быть создан способ изготовления носителя информации, содержащий стадии: сохранения в памяти блока обновления ключа (KRB), производного от шифрования обновленного узлового ключа с помощью по меньшей мере узлового ключа, уникального для каждого из узлов, включенных в иерархическую древовидную структуру, в которую включены множество различных устройств записи информации в качестве каждого из листов древовидной структуры, или листового ключа, уникального для каждого из устройств записи информации; и записи в носитель информации блока обновления ключа (KRB), хранящегося в памяти.
Кроме того, в указанном способе изготовления носителя информации в памяти дополнительно сохраняют по меньшей мере идентификатор носителя информации и зашифрованные данные для генерирования шифровального ключа или зашифрованные данные для генерирования ключа расшифровки, и записывают в носитель информации по меньшей мере идентификатор носителя информации и зашифрованные данных для генерирования шифровального ключа или зашифрованные данных для генерирования ключа расшифровки.
Кроме того, в указанном способе изготовления носителя информации в памяти дополнительно сохраняют информацию о поколении данных для генерирования шифровального ключа или данных для генерирования ключа расшифровки, и управляют записью информации о поколении в носитель информации.
Согласно восьмому аспекту данного изобретения может быть создано средство обслуживания программы для обслуживания компьютерной программы, под которой осуществляется обработка информации для записи информации в носитель информации в компьютерной системе, при этом компьютерная программа содержит стадии: обновления данных генерирования шифровального ключа для генерирования шифровального ключа для шифрования данных, подлежащих записи в носитель информации, с помощью по меньшей мере узлового ключа, уникального для каждого из узлов, включенных в иерархическую древовидную структуру, в которую включены множество различных устройств записи информации в качестве каждого из листов древовидной структуры, или листового ключа, уникального для каждого из устройств записи информации; и генерирования шифровального ключа на основе данных для генерирования шифровального ключа для шифрования данных, подлежащих сохранению в носителе информации.
Согласно девятому аспекту данного изобретения может быть создано средство обслуживания программы для обслуживания компьютерной программы, под которой осуществляется воспроизведение информации с носителя информации в компьютерной системе, при этом компьютерная программа содержит стадии: обновления данных для генерирования ключа расшифровки, из которых генерируют ключ расшифровки для расшифровки зашифрованных данных, хранящихся в носителе информации, с помощью по меньшей мере узлового ключа, уникального для каждого из узлов, включенных в иерархическую древовидную структуру, в которую включены в качестве каждого из листов древовидной структуры, или листового ключа, уникального для каждого из устройств воспроизведения информации; и генерирования ключа расшифровки из данных для генерирования ключа расшифровки, обновленных в стадии обновления, для расшифровки данных, хранящихся в носителе информации.
Согласно данному изобретению используется метод распределения ключа в иерархической древовидной структуре для уменьшения размера подлежащего распределению сообщения, необходимого для обновления ключа. А именно, в способе распределения ключа каждый из числа n устройств записи/воспроизведения расположен на каждом из листов дерева. Метод используется для распределения необходимого ключа, такого как главный ключ или ключ носителя, для записи или воспроизведения данных содержимого на или с носителя информации, через носитель информации или линию связи, и распределенный таким образом главный ключ или ключ носителя используется каждым устройством записи/воспроизведения для записи или воспроизведения данных содержимого.
Согласно одному из режимов данного изобретения содержимое, подлежащее записи в носитель информации, формируется из пакетов TS (транспортного потока), определенных в MPEG-2, и записывается в носитель информации вместе со штампом времени входа, являющимся информацией о времени, в которое пакет принимается устройством записи, присоединенной к каждому из пакетов TS. ATS является в некотором смысле случайными данными из 24 до 32 бит. ATS обозначает штамп времени входа.
Число Х пакетов TS, каждый из которых имеет штамп времени входа, присоединенный к нему, записываются в один блок (сектор) носителя информации. Штамп времени входа, присоединенный к первому пакету TS в каждом блоке, включенном в транспортный поток, используется для генерирования блочного ключа для шифрования данных в блоке.
Таким образом, данные в каждом блоке можно шифровать уникальным блочным ключом без необходимости обеспечения специальной зоны для хранения ключа и доступа к любым данным, кроме основных данных, во время записи или воспроизведения.
Кроме того, дополнительно к штампу времени входа (ATS) к пакету TS, подлежащему записи, можно присоединять информацию управления копированием (CCI), и использовать ATS и CCI для генерирования блочного ключа.
Следует отметить, что средства обслуживания программы согласно восьмому и девятому аспектам данного изобретения являются, например, средством, которое обслуживает компьютерную программу в пригодном для считывания компьютером виде в компьютерной системе общего назначения, способной выполнять различные программные коды. Средство не ограничивается какой-либо специальной формой, а может быть любым носителем информации, таким как CD, FD, МО и т.д., а также средством передачи, таким как сеть.
Указанное средство обслуживания программы определяет структурное и функциональное взаимодействие между компьютерной программой и средством для выполнения функций заданной компьютерной программы в компьютерной системе. Другими словами, когда компьютерная программа установлена в компьютерную систему через средство обслуживания программы, то оно работает во взаимодействии с компьютерной программой для обеспечения действий, аналогичных действиям в других аспектах данного изобретения.
Краткое описание чертежей
Эти и другие задачи, признаки и преимущества данного изобретения следуют из приведенного ниже подробного описания предпочтительных вариантов выполнения данного изобретения со ссылками на прилагаемые чертежи, на которых изображено:
фиг.1 изображает блок-схему структуры (1) устройства записи/воспроизведения информации согласно данному изобретению;
фиг.2 – блок-схему структуры (2) устройства записи/воспроизведения информации согласно данному изобретению;
фиг.3А и 3В – графические схемы операций, выполняемых в процессе записи информации в устройстве записи/воспроизведения информации согласно данному изобретению;
фиг.4А и 4В – графические схемы операций, выполняемых в процессе воспроизведения информации в устройстве записи/воспроизведения информации согласно данному изобретению;
фиг.5 – формат данных, обрабатываемый в устройстве записи/воспроизведения информации согласно данному изобретению,
фиг.6 – блок-схему средства обработки транспортного потока (TS) в устройстве записи/воспроизведения информации согласно данному изобретению;
фиг.7А-7С – транспортный поток, обрабатываемый в устройстве записи/воспроизведения информации согласно данному изобретению;
фиг.8 – блок-схему средства обработки транспортного потока (TS) в устройстве записи/воспроизведения информации согласно данному изобретению;
фиг.9 – блок-схему средства обработки транспортного потока (TS) в устройстве записи/воспроизведения информации согласно данному изобретению;
фиг.10 – пример дополнительной информации данных блока, обрабатываемых в устройстве записи/воспроизведения информации согласно данному изобретению;
фиг.11 – схему древовидной структуры для иллюстрации шифрования ключей, таких как главный ключ, ключ носителя и т.д., для устройства записи/воспроизведения согласно данному изобретению;
фиг.12А и 12В – примеры блока обновления ключа (KRB), используемого при распределении ключей, таких как главный ключ, ключ носителя и т.д., для устройства записи/воспроизведения согласно данному изобретению;
фиг.13 – примеры распределения ключа расшифровки, соответственно, расшифровки с использованием блока обновления ключа для главного ключа в устройстве записи/воспроизведения согласно данному изобретению;
фиг.14 – последовательность операций, выполняемых при расшифровке с использованием блока обновления ключа для главного ключа в устройстве записи/воспроизведения согласно данному изобретению;
фиг.15 – последовательность операций, выполняемых при сравнении поколения главного ключа при записи содержимого в устройстве записи/воспроизведения согласно данному изобретению;
фиг.16 – блок-схему (1) шифрования, выполняемого для записи данных в устройстве записи/воспроизведения информации согласно данному изобретению в системе, в которой может быть установлено ограничение устройства воспроизведения;
фиг.17 – блок-схему (2) шифрования, выполняемого для записи данных в устройстве записи/воспроизведения информации согласно данному изобретению в системе, в которой может быть установлено ограничение устройства воспроизведения;
фиг.18 – графическую схему операций, выполняемых при записи данных в устройстве записи/воспроизведения информации согласно данному изобретению в системе, в которой может быть установлено ограничение устройства воспроизведения;
фиг.19 – пример генерирования уникального для диска ключа в устройстве записи/воспроизведения согласно данному изобретению;
фиг.20 – графическую схему операций, выполняемых при генерировании уникального титульного ключа в устройстве записи/воспроизведения информации согласно данному изобретению в системе, в которой может быть установлено ограничение устройства воспроизведения;
фиг.21 – пример генерирования уникального титульного ключа в устройстве записи/воспроизведения согласно данному изобретению в системе, в которой может быть установлено ограничение устройства воспроизведения;
фиг.22 – генерирование блочного ключа в устройстве записи/воспроизведения информации согласно данному изобретению;
фиг.23 – блок-схему расшифровки, выполняемой для воспроизведения данных в устройстве записи/воспроизведения информации согласно данному изобретению в системе, в которой может быть установлено ограничение устройства воспроизведения;
фиг.24 – графическую схему операций, выполняемых при расшифровке для воспроизведения данных в устройстве записи/воспроизведения информации согласно данному изобретению в системе, в которой может быть установлено ограничение устройства воспроизведения;
фиг.25 – графическую схему операций, выполняемых при принятии решения при воспроизведении данных, можно или нет воспроизводить данные, в устройстве записи/воспроизведения информации, согласно данному изобретению в системе, в которой может быть установлено ограничение устройства воспроизведения;
фиг.26 – графическую схему операций, выполняемых при генерировании уникального титульного ключа для воспроизведения данных в устройстве записи/воспроизведения информации согласно данному изобретению в системе, в которой может быть установлено ограничение устройства воспроизведения;
фиг.27 – примеры распределения ключа и расшифровки с использованием блока обновления ключа для ключа носителя в устройстве записи/воспроизведения согласно данному изобретению;
фиг.28 – графическую схему операций, выполняемых при расшифровке с использованием блока обновления ключа для ключа носителя в устройстве записи/воспроизведения согласно данному изобретению;
фиг.29 – графическую схему операций, выполняемых при записи содержимого с использованием блока обновления ключа для ключа носителя в устройстве записи/воспроизведения согласно данному изобретению;
фиг.30 – блок-схему (1) шифрования, выполняемого для записи данных с использованием ключа носителя в устройстве записи/воспроизведения информации согласно данному изобретению в системе, в которой может быть установлено ограничение устройства воспроизведения;
фиг.31 – блок-схему (2) шифрования, выполняемого для записи данных с использованием ключа носителя в устройстве записи/воспроизведения информации согласно данному изобретению в системе, в которой может быть установлено ограничение устройства воспроизведения;
фиг.32 – графическую схему операций, выполняемых при записи данных с использованием ключа носителя в устройстве записи/воспроизведения информации согласно данному изобретению в системе, в которой может быть установлено ограничение устройства воспроизведения;
фиг.33 – блок-схему шифрования, выполняемого для воспроизведения данных с использованием ключа носителя в устройстве записи/воспроизведения информации согласно данному изобретению в системе, в которой может быть установлено ограничение устройства воспроизведения;
фиг.34 – графическую схему операций, выполняемых при воспроизведении данных с использованием ключа носителя в устройстве записи/воспроизведения информации согласно данному изобретению в системе, в которой может быть установлено ограничение устройства воспроизведения;
фиг.35 – графическую схему операций, выполняемых при принятии решения при воспроизведении данных с использованием ключа носителя, можно или нет воспроизводить данные, в устройстве записи/воспроизведения информации согласно данному изобретению в системе, в которой может быть установлено ограничение устройства воспроизведения;
фиг.36 – блок-схему структуры устройства записи/воспроизведения, согласно данному изобретению, в котором принимается снаружи блок обновления ключа через средство связи или т.п., и сохраняется в носителе информации;
фиг.37 – блок-схему процедуры, в соответствии с которой в устройстве записи/воспроизведения, согласно данному изобретению принимается снаружи блок обновления ключа через средство связи или т.п., и сохраняется в носителе информации;
фиг.38 – графическую схему операций, выполняемых при приеме снаружи блока обновления ключа через средство связи или т.п., и сохранения его в носителе информации в устройстве записи/воспроизведения согласно данному изобретению;
фиг.39 – процедуру, в соответствии с которой в устройстве записи/воспроизведения, согласно данному изобретению осуществляется прием снаружи блока обновления ключа через средство связи или т.п., и его сохранение в носителе информации;
фиг.40А и 40В – графические схемы операций, выполняемых для управления копированием при записи данных в устройстве записи/воспроизведения информации согласно данному изобретению;
фиг.41А и 41В – графические схемы операций, выполняемых для управления копированием при воспроизведении данных в устройстве записи/воспроизведения информации согласно данному изобретению;
фиг.42 – блок-схему системы обработки данных для обработки данных с помощью программного обеспечения в устройстве записи/воспроизведения информации;
фиг.43 – блок-схему устройства для изготовления носителя информации, который используется в устройстве записи/воспроизведения согласно данному изобретению;
фиг.44 – графическую схему операций, выполняемых при изготовлении носителя информации, который используется в устройстве записи/воспроизведения согласно данному изобретению;
фиг.45 – пример формата блока обновления ключа, используемого в устройстве записи/воспроизведения согласно данному изобретению;
фиг.46А-46С – метку для блока обновления ключа, используемого в устройстве записи/воспроизведения согласно данному изобретению.
Наилучшие варианты осуществления изобретения
[Конфигурация системы]
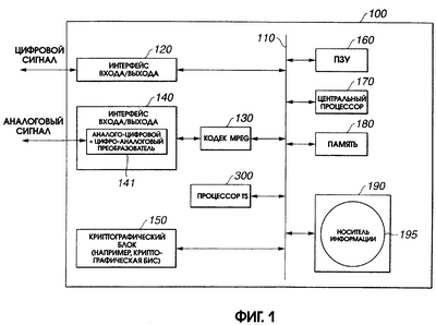
На фиг.1 схематично показана блок-схема варианта выполнения устройства записи/воспроизведения информации согласно данному изобретению. Устройство записи/воспроизведения обозначено в целом позицией 100. Как показано на фиг.1, устройство 100 записи/воспроизведения содержит интерфейс 120 входа/выхода, кодек 130 MPEG, интерфейс 140 входа/выхода, содержащий комбинацию 141 из аналого-цифрового преобразователя и цифроаналогового преобразователя, криптографический блок 150, ПЗУ 160 (память только для считывания), центральный процессор 170, память 180, привод 190 для носителя 195 информации и средство 300 обработки транспортного потока (процессор TS). Компоненты соединены друг с другом шиной 110.
Интерфейс 120 входа/выхода принимает цифровые сигналы, включенные в каждое из различных содержимых, таких как изображение, звук, программа или т.п., подаваемые извне, и подает их в шину 110, а также наружу. Кодек 130 MPEG выполняет декодирование MPEG зашифрованных согласно MPEG данных, подаваемых через шину 110, и выдает декодированные согласно MPEG данные в интерфейс 140 входа/выхода при одновременном выполнении кодирования MPEG цифровых сигналов, подаваемых из интерфейса 140 входа/выхода, и выдает данные в шину 110. Интерфейс 140 входа/выхода включает в себя комбинацию 141 из аналого-цифрового преобразователя и цифроаналогового преобразователя. Интерфейс 140 входа/выхода принимает аналоговые сигналы в качестве содержимого извне, выполняет аналого-цифровое преобразование данных и выдает полученные таким образом цифровые сигналы в кодек 130 MPEG, при одновременном выполнении цифроаналогового преобразования цифровых сигналов из кодека 130 MPEG и выдачи полученных при этом аналоговых сигналов наружу.
Криптографический блок 150 является, например, однокристальной большой интегральной схемой. Она выполняет шифрование или расшифровку цифровых сигналов в содержимом, полученном через шину 110, и выдает данные в шину 110. Следует отметить, что криптографический блок не ограничивается однокристальной большой интегральной схемой, а может быть комбинацией из различных типов программного обеспечения или аппаратного обеспечения. Криптографический блок типа программного обеспечения будет дополнительно описан ниже.
В ПЗУ 160 хранится листовый ключ, являющийся ключом устройства, уникальным, например, для каждого устройства записи/воспроизведения или для группы из множества устройств записи/воспроизведения, и узловой ключ, являющийся ключом устройства, уникальным для множества устройств записи/воспроизведения или для множества групп. Центральный процессор 170 выполняет программу, хранящуюся в памяти 180, для управления кодеком 130 MPEG, криптографическим блоком 150 и т.д. Память 180 является, например, энергонезависимой памятью для хранения, например, программы, которую должен выполнять центральный процессор 170, и данных, необходимых для работы центрального процессора 170. Привод 190 осуществляет привод носителя 195 информации, способного записывать цифровые данные, для считывания цифровых данных с носителя 195 информации, и выдает данные в шину 110, при одновременной подаче цифровых данных, подаваемых через шину 110, в носитель 195 записи для записи в нем. Следует отметить, что устройство 100 записи/воспроизведения может быть выполнено так, что ПЗУ 160 хранит программу, в то время как память 180 хранит ключи устройства.
Носитель 195 информации является средством, способным хранить цифровую информацию, таким как один из оптических дисков, включая DVD, CD и т.п., магнитооптический диск, магнитный диск, магнитная лента или полупроводниковые запоминающие устройства, включая RAM (ОЗУ) и т.п. В данном варианте выполнения носитель 195 информации является сменно устанавливаемым в привод 190. Однако следует отметить, что носитель 195 информации может быть интегрирован в устройство 100 записи/воспроизведения.
Средство 300 обработки транспортного потока (процессор TS) извлекает транспортные пакеты, относящиеся к заданной программе (содержимому), например, из транспортного потока, имеющего множество телевизионных программ (содержимого), мультиплексированного в нем, сохраняет информацию о времени появления извлеченного транспортного пакета вместе с каждым пакетом в носителе 195 информации, и контролирует время появления транспортного потока для считывания из носителя 195 информации. Дальнейшее описание процессора 300 TS будет приведено ниже со ссылками на фиг.6 и последующие фигуры.
Для транспортного потока установлен штамп времени входа (ATS) в качестве времени появления каждого из транспортных пакетов в транспортном потоке. Время появления определяется во время шифрования для предотвращения сбоя оконечного декодера системы транспортного потока (T-STD), являющегося виртуальным декодером, определенным в системах MPEG-2, и во время считывания транспортного потока, время появления контролируется с помощью штампа времени входа, присоединенного к каждому транспортному пакету. Процессор 300 TS выполняет указанные типы управления. Например, при записи транспортных пакетов в носитель информации, транспортные пакеты записываются как исходные пакеты, расположенные без промежутка между последовательными пакетами, и время появления каждого пакета сохраняется неизменным, что обеспечивает управление временем выхода каждого транспортного пакета во время считывания с носителя информации. Процессор 300 TS присоединяет штамп времени входа (ATS), указывающий время, в которое каждый из транспортных пакетов был принят, когда данные записываются в носитель 195 информации, такой как DVD.
В устройстве 100 записи/воспроизведения согласно данному изобретению содержимое, включающее транспортный поток, в котором к каждому транспортному пакету присоединен штамп времени входа, шифруется с помощью криптографического блока 150, и зашифрованное таким образом содержимое сохраняется в носителе 195 информации. Кроме того, криптографический блок 150 выполняет расшифровку зашифрованного содержимого, хранящегося в носителе 195 информации. Подробное описание этого шифрования и расшифровки будет приведено ниже.
Следует отметить, что на фиг.1 криптографический блок 150 и процессор 300 TS показаны как отдельные блоки для простоты иллюстрации и пояснения, однако эти функции могут быть интегрированы в однокристальную большую интегральную схему или же выполняться с помощью комбинации элементов программного обеспечения и аппаратного обеспечения.
Дополнительно к структуре, показанной на фиг.1, устройство записи/воспроизведения, согласно данному изобретению, может иметь структуру, показанную на фиг.2. Показанное на фиг.2 устройство записи/воспроизведения обозначено в целом позицией 200. В устройстве 200 записи/воспроизведения носитель 195 информации сменно устанавливается в интерфейс 210 носителя информации в виде блока привода. Запись данных в носитель 195 информации и считывание данных с него возможны также при его использовании в другом устройстве записи/воспроизведения.
[Запись и воспроизведение данных]
На фиг.3 и 4 показаны графические схемы операций, выполняемых при записи данных в носитель информации в устройстве записи/воспроизведения, показанном на фиг.1 или 2, и при считывании данных с носителя информации. Для записи цифровых сигналов в качестве содержимого извне в носитель 195 информации, выполняются операции, показанные в графической схеме на фиг.3А. А именно, когда цифровые сигналы в качестве содержимого (цифрового содержимого) подаются на интерфейс 120 входа/выхода через последовательную шину 1394 IEEE или т.п., то интерфейс 120 входа/выхода принимает цифровое содержимое и выдает данные в процессор 300 TS через шину 110 на стадии S301.
На стадии S302 процессор 300 TS генерирует данные блока, в котором штамп времени входа присоединен к каждому из транспортных пакетов в транспортном потоке, и выдает данные в криптографический блок 150 через шину 110.
На стадии S303 криптографический блок 150 выполняет шифрование принятого цифрового содержимого и выдает зашифрованное содержимое в привод 190 или интерфейс 210 носителя информации через шину 110. На стадии S304 зашифрованное цифровое содержимое записывается в носитель 195 информации через привод 190 или интерфейс 210 носителя информации. Здесь устройство записи/воспроизведения выходит из процедуры записи. Описание шифрования с помощью криптографического блока 150 приведено ниже.
Следует напомнить, что в качестве стандарта для защиты цифрового содержимого, передаваемого между устройствами через последовательную шину IEEE 1394, была установлена защита “5CDTCP (зашита цифровой передачи содержимого пяти компаний)” (называемая в последующем DTCP) пятью компаниями, включая Сони Корпорэйшн, которая является заявителем данного изобретения. Она предусматривает, что в случае передачи цифрового содержимого, не являющегося свободным для копирования, между устройствами, сторона передатчика и приемника должны перед передачей взаимно подтвердить, что информация управления копированием может быть правильно обработана, затем цифровое содержимое шифруется на передающей стороне для его передачи, и зашифрованное цифровое содержимое (зашифрованное содержимое) расшифровывается на стороне приема.
При передаче и приеме данных по этому стандарту DTCP, интерфейс 120 входа/выхода на стороне приема данных принимает зашифрованное содержимое через последовательную шину IEEE 1394, расшифровывает зашифрованное содержимое в соответствии со стандартом DTCP и затем выдает данные в виде открытого или расшифрованного содержимого в криптографический блок 150 (на стадии S301).
Для шифрования на основе DTCP цифрового содержимого необходимо генерировать изменяющийся во времени ключ. Зашифрованное цифровое содержимое, включающее шифровальный ключ, использованный для шифрования, передается через последовательную шину IEEE 1493 на сторону приема, и приемная сторона расшифровывает зашифрованное цифровое содержимое ключом, включенным в содержимое.
Ниже приводится описание записи наружных аналоговых сигналов в качестве содержимого в носитель 195 информации со ссылками на графическую схему, показанную на фиг.3В. Когда интерфейс 140 входа/выхода принимает аналоговые сигналы в качестве содержимого (аналогового содержимого) на стадии S321, то процесс переходит на стадию S322, где комбинация 141 из аналого-цифрового преобразователя и цифро-аналогового преобразователя выполняет аналого-цифровое преобразование аналогового содержимого для создания цифровых сигналов в качестве содержимого (цифрового содержимого).
Цифровое содержимое подается в кодек 130 MPEG, который выполняет на стадии S323 кодирование MPEG цифрового содержимого, а именно кодирование цифрового содержимого посредством сжатия MPEG, и подает закодированное содержимое в криптографический блок 150 через шину 110.
В последующих стадиях S324, 325 и 326 выполняются операции, аналогичные операциям, выполняемым на стадиях S302 и 303 на фиг.3А. Таким образом, процессор 300 TS присоединяет штамп времени входа к каждому из транспортных пакетов, криптографический блок 150 шифрует содержимое, и зашифрованное содержимое, полученное при этом, записывается в носитель 195 информации. Здесь устройство записи/воспроизведения выходит из процедуры записи.
Ниже приводится описание операций, выполняемых для воспроизведения содержимого с носителя 195 информации и выдачи в виде цифрового или аналогового содержимого наружу, со ссылками на графическую схему на фиг.4. Это выполняется согласно графической схеме, показанной на фиг.4А. Сначала на стадии S401 зашифрованное содержимое считывается с носителя 195 информации с помощью привода 190 или интерфейса 210 носителя информации, и выдается через шину 110 в криптографический блок 150.
На стадии S402 криптографический блок 150 расшифровывает зашифрованное содержимое, поступившее из привода 190 или интерфейса 210 носителя информации, и выдает расшифрованные данные в процессор 300 TS через шину 110.
На стадии S403 процессор 300 TS определяет время выхода на основе штампа времени входа, присоединенного к каждому из транспортных пакетов, включенных в транспортный поток, для выполнения управления в соответствии со штампом времени входа, и подает данные в интерфейс 120 входа/выхода через шину 110. Следует отметить, что операции обработки в процессоре 300 TS и расшифровка цифрового содержимого в криптографическом блоке 150 будут дополнительно описаны ниже.
Следует отметить, что когда цифровое содержимое выдается через последовательную шину IEEE 1394, то интерфейс 120 входа/выхода выполняет на стадии S404 взаимную аутентификацию с взаимодействующим устройством, как указывалось выше, в соответствии со стандартом DTCP, и затем шифрует цифровое содержимое для передачи.
Для считывания содержимого с носителя 195 информации и выдачи его в виде аналогового содержимого наружу, выполняются операции воспроизведения, показанные на графической схеме на фиг.4В.
А именно, в последовательных стадиях S421, 422 и 423 выполняются операции, аналогичные операциям, выполняемым на стадиях S401, 402 и 403 на фиг.4А. За счет этого расшифрованное цифровое содержимое, полученное из криптографического блока 150, подается в кодек 130 MPEG через шину 110.
На стадии S424 кодек 130 выполняет декодирование MPEG цифрового содержимого, а именно расширяет цифровые данные, и подает данные в интерфейс 140 входа/выхода. На стадии S425 интерфейс 140 входа/выхода выполняет цифро-аналоговое преобразование цифрового содержимого, подвергнутого декодированию MPEG в кодеке 130 на стадии S424, с помощью комбинации 141 из аналого-цифрового преобразователя и цифро-аналогового преобразователя. Затем интерфейс 140 входа/выхода переходит на стадию S426, где он выдает наружу аналоговое содержимое. На этом устройство записи/воспроизведения выходит из процедуры воспроизведения.
[Формат данных]
Ниже приводится описание формата данных, записываемых в или считываемых с носителя информации, согласно данному изобретению, со ссылками на фиг.5. Минимальный модуль, считываемый или записываемый на носитель информации согласно данному изобретению, называется блоком. Один блок имеет размер 192*Х байтов (например, Х=32).
Согласно данному изобретению к каждому определенному в MPEG-2 пакету (из 188 байтов) TS (транспортного потока) присоединяется штамп времени входа (ATS) для создания данных из 192 байтов, и Х таких данных считается одним блоком. Штамп времени входа является данными из 24-32 битов, указывающими время входа. Как указывалось выше, ATS обозначает штамп времени входа. Штамп времени входа является случайными данными, соответствующими времени входа каждого пакета. Один блок (сектор) носителя информации записывает Х пакетов TS (транспортного потока), к каждому из которых присоединен штамп времени входа. Согласно данному изобретению штамп времени входа, присоединенный к первому из пакетов TS в каждом из блоков, включенных в транспортный поток, используется для генерирования блочного ключа, который используется для шифрования данных в каждом блоке (секторе).
Уникальный для каждого блока ключ генерируется посредством генерирования шифровального блочного ключа на основе случайного штампа времени входа. Созданный таким образом уникальный для блока ключ используется для шифрования каждого блока. Кроме того, посредством генерирования блочного ключа на основе штампа времени входа, отпадает необходимость предоставления зоны в носителе информации для хранения шифровального ключа для каждого блока и становится возможным эффективное использование основной зоны данных в носителе информации. Кроме того, во время воспроизведения нет необходимости доступа к данным помимо содержащихся в основной зоне, что обеспечивает более эффективные запись или воспроизведение.
Следует отметить, что начальное число блока, показанное на фиг.5, является дополнительной информацией, включающей штамп времени входа. Начальное число блока может также включать информацию управления копированием (CCI) в дополнение к штампу времени входа. В этом случае информация управления копированием и штамп времени входа используются для генерирования блочного ключа.
Следует отметить, что согласно данному изобретению большинство данных в содержимом, хранящемся в носителе информации, таком как DVD, являются зашифрованными. Как показано внизу фиг.5, m байтов (например, m=8 или 16 байтам) в начальной части блока записываются как открытые, или не зашифрованные данные, а именно как не зашифрованные, в то время как остальные данные (m+1 и далее) зашифрованы, поскольку длина зашифрованных данных ограничена, так как шифрование выполняется в модулях из 8 байтов. Следует отметить, что если бы шифрование выполнялось, например, в модулях из 1 байта, а не в модулях из 8 байтов, то все данные, за исключением начального числа блока, можно было бы шифровать с помощью ряда из 4 байтов в начальной части блока (m=4).
[Операции, выполняемые процессором TS]
Ниже приводится подробное описание функции ATS. Как указывалось выше, ATS является штампом времени входа, присоединяемым к каждому из транспортных пакетов, включенных в транспортный поток, для сохранения времени входа пакета TS.
Таким образом, когда извлекается, например, из множества телевизионных программ (содержимых), мультиплексированных в транспортном потоке, один или несколько транспортных пакетов, включенных в транспортный поток, то они приходят с нерегулярными интервалами (смотри фиг.7А). Время, в которое входит каждый из транспортных пакетов в транспортном потоке, является важным для транспортного потока, и время входа определяется во время кодирования для предотвращения сбоев оконечного декодера системы транспортного потока (T-STD), являющегося виртуальным декодером, определенным в системах MPEG-2 (ISO/IEC 13818-1).
Во время воспроизведения транспортного потока время входа контролируется на основе штампа времени входа, присоединенного к каждому транспортному пакету. Поэтому при записи транспортных пакетов в носитель информации, необходимо сохранить время входа транспортного пакета. При записи транспортных пакетов в носитель информации, такой как DVD, к каждому транспортному пакету присоединяется штамп времени входа, указывающий время входа каждого транспортного пакета, подлежащего записи на носитель информации.
На фиг.6 показана блок-схема, иллюстрирующая операции, выполняемые в процессоре 300 TS при записи транспортного потока, подаваемого через цифровой интерфейс, в носитель информации, такой как DVD. Как показано на фигуре, транспортный поток подается в виде цифровых данных, таких как сигналы цифрового вещания, с терминала 600 в процессор 300 TS. Как показано на фиг.1 или 2, транспортный поток подается с терминала 600 через интерфейс 120 входа/выхода или интерфейс 140 входа/выхода и кодек 130 MPEG.
Транспортный поток подается в синтаксический анализатор 602 битового потока, который обнаруживает пакет PCR (указатель синхронизации программы) во входящем транспортном потоке. Пакет PCR является пакетом, в котором закодирован PCR, определенный в системах MPEG-2. Пакеты PCR кодированы с временными интервалами менее 100 мс. PCR представляет время, когда транспортный пакет приходит на сторону приема, с частотой 27 МГц.
Затем схема 603 фазовой синхронизации (PLL) с частотой 27 МГц привязывает тактовый генератор с частотой 27 МГц устройства записи/воспроизведения к PCR транспортного потока. Схема 604 генерирования штампа времени генерирует штамп времени на основе отсчета тактовых импульсов с частотой 27 МГц. Схема 605 присоединения начального числа блока присоединяет к транспортному пакету штамп времени, указывающий время, когда первый байт транспортного пакета входит в сглаживающий буфер 606, в качестве штампа времени входа (ATS).
Транспортный пакет с присоединенным к нему штампом времени входа выходит из терминала 607 через сглаживающий буфер 606 в криптографический блок 150, в котором он: шифруется, как будет дополнительно описано ниже, и затем записывается в носитель 195 информации через привод 190 (смотри фиг.1) и интерфейс 210 носителя информации (смотри фиг.2).
На фиг.7 показаны в качестве примера операции, выполняемые для записи входящего транспортного потока в носитель информации. На фиг.7А показан вход транспортных пакетов, включенных в определенную программу (содержимое). На горизонтальной оси на фиг.7А показана база времени, указывающая время транспортного потока. Как показано на фиг.7А, в данном варианте выполнения транспортные пакеты во входящем транспортном потоке приходят через неравномерные отрезки времени.
На фиг.7В показан выходной сигнал схемы 605 присоединения начального числа блока. Эта схема 605 присоединяет начальное число блока, включающее штамп времени входа, указывающий время прихода каждого из транспортных пакетов транспортного потока, к каждому из транспортных пакетов и выдает исходный пакет. На фиг.7С показаны исходные пакеты, записанные в носитель информации. Как показано на фиг.7С, исходные пакеты записываются в носитель информации без промежутка между последовательными пакетами. Благодаря такому расположению исходных пакетов без промежутка между ними, можно эффективно использовать зону записи в носителе информации.
На фиг.8 показана блок-схема процессора 300 TS, иллюстрирующая процедуру обработки данных для считывания транспортного потока с носителя 195 информации. Транспортный пакет, расшифрованный в криптографическом блоке, который будет дополнительно описан ниже, и имеющий присоединенный к нему штамп времени входа, подается с терминала 800 в схему 801 отделения начального числа блока, где штамп времени входа и транспортный пакет отделяются друг от друга. Здесь предусмотрена схема 804 генерирования времени для вычисления времени на основе счета тактовых импульсов тактового генератора 805 с частотой 27 МГц устройства воспроизведения.
Следует отметить, что первый штамп времени входа устанавливается как исходная величина в схеме 804 генерирования времени. Здесь предусмотрен также компаратор 803 для сравнения штампа времени входа с текущим временем, подаваемым из схемы 804 генерирования времени. Предусмотрена также схема 802 управления выходом для выдачи транспортного пакета в кодек 130 MPEG или цифровой интерфейс 120 входа/выхода, когда время, генерированное схемой 804 генерирования времени, становится равным времени штампа входа.
На фиг.9 показано кодирование MPEG входных аудиовизуальных сигналов в кодеке 130 MPEG устройства 100 записи/воспроизведения и кодирование транспортного потока в процессоре 300 TS. А именно, на фиг.9 показана блок-схема операций, выполняемых как в кодеке 130 MPEG, показанном на фиг.1 или 2, так и в процессоре 300 TS. Видеосигналы подаются с терминала 901 в видеокодер 902 MPEG.
Видеокодер 902 MPEG кодирует входные видеосигналы в видеопоток MPEG и выдает данные в буфер 903 видеопотока. Видеокодер 902 MPEG также выдает информацию модуля доступа к видеопотоку MPEG в диспетчер 908 мультиплексирования. “Модуль доступа” видеопотока содержит тип, количество кодированных битов и штамп времени декодирования для каждого кадра. Тип кадра является информацией о кадре I/P/B, а штамп времени декодирования является информацией, определенной в системах MPEG-2.
Аудиосигналы подаются с терминала 904 в аудиокодер 905 MPEG. Аудиокодер 905 MPEG кодирует входные звуковые сигналы в звуковой поток MPEG и выдает данные в буфер 906. Аудиокодер 905 MPEG выдает также информацию модуля доступа к звуковому потоку MPEG в диспетчер 908 мультиплексирования. Модуль доступа звукового потока является звуковым кадром, а информация модуля доступа содержит число закодированных битов и штамп времени декодирования каждого звукового кадра.
В диспетчер 908 мультиплексирования подается как информация видеодоступа, так и информация аудиодоступа, и он управляет кодированием визуального и звукового потоков на основе информации модуля доступа. Диспетчер 908 мультиплексирования содержит тактовый генератор для генерирования опорного времени с частотой 27 МГц и тем самым задает информацию управления кодированием пакета для транспортного пакета в соответствии с T-STD, который является виртуальной моделью декодера, определенного в MPEG- 2. Информация управления кодированием пакета содержит тип и длину потока, подлежащего пакетированию.
В случае, когда информация управления кодированием пакета относится к видеопакетам, то коммутатор 976 помещается на их сторону а для считывания из буфера 903 видеопотока видеоданных из длины полезных данных, обозначенной информацией управления кодированием пакетов, и подает данные в кодер 909 транспортных пакетов.
В случае, когда информация управления кодированием пакетов относится к звуковым пакетам, то коммутатор 976 помещается на их сторону b для считывания из буфера 906 звукового потока звуковых данных из длины полезных данных, обозначенной информацией управления кодированием пакетов, и подает данные в кодер 909 транспортных пакетов.
В случае, когда информация управления кодированием пакетов относится к пакетам PCR, то кодер 909 транспортных пакетов получает PCR, поставляемый из диспетчера 908 мультиплексирования, и выдает наружу пакеты PCR. Для указания того, что информация управления кодированием пакетов не кодирует пакеты, в кодер 909 транспортных пакетов ничего не подается.
Для указания того, что информация управления кодированием пакетов не кодирует пакеты, кодер 909 транспортных пакетов не выдает пакеты. В противном случае создаются транспортные пакеты на основе информации управления кодированием пакетов и подаются на выход. Поэтому кодер 909 транспортных пакетов прерывисто выдает транспортные пакеты. Предусмотрен также калькулятор 910 штампа времени входа для вычисления штампа времени входа, указывающего время, в которое первый байт транспортного пакета приходит на сторону приема, на основе PCR, подаваемого из диспетчера 908 мультиплексирования.
Поскольку PCR (указатель синхронизации программы), подаваемый из диспетчера 908 мультиплексирования, указывает время, в которое десятый байт транспортного пакета, определенного в MPEG-2, прибывает на сторону приема, то величина времени штампа входа является временем байта за 10 байтов до времени, указываемого PCR.
Схема 911 присоединения начального числа блока присоединяет штамп времени входа к каждому из пакетов, выдаваемых кодером 909 транспортных пакетов. Транспортный пакет с присоединенным штампом времени входа, выданный из схемы 911 присоединения начального числа блока, подается в криптографический блок 150 через сглаживающий буфер 912, где он шифруется, как будет дополнительно описано ниже, и затем сохраняется в носителе 195 информации.
Для сохранения на носителе 195 информации транспортные пакеты с присоединенным штампом времени входа располагаются без промежутка между ними, как показано на фиг.7С, и затем сохраняются на носителе 195 информации перед выполнением шифрования в криптографическом блоке 150. Даже если транспортные пакеты располагаются без промежутка между ними, то обращение к штампу времени входа, присоединенного к каждому из пакетов, обеспечивает возможность контролирования времени подачи транспортных пакетов на сторону приема.
Следует отметить, что размер штампа времени входа не ограничен 32 битами, а может быть в пределах от 24 до 32 битов. Чем больше длина в битах штампа времени входа, тем длиннее операционный цикл счетчика времени штампа времени входа. Например, в случае, когда счетчик времени штампа времени входа является двоичным счетчиком, точность счета которого соответствует 27 МГц, то штамп времени входа длиной 24 бита появится снова через примерно 0,6 с. Этот временной интервал является достаточно длительным для обычного транспортного потока, поскольку пакетный интервал транспортного потока определен в MPEG-2 равным максимально 0,1 с. Однако длина в битах штампа времени входа может составлять более 24 бит для достаточного допуска.
За счет указанного изменения длины в битах штампа времени входа, конфигурация начального числа блока, являющегося дополнительными данными к данным блока, может быть нескольких типов. Примеры конфигурации начального числа блока показаны на фиг.10. Пример 1 на фиг.10 является начальным числом блока при использовании штампа времени входа длиной 32 бита. Пример 2 на фиг.10 является начальным числом при использовании штампа времени входа длиной 30 бит и информации управления копированием (CCI) длиной 2 бита. Информация управления копированием указывает контролируемое состояние копирования данных, имеющих информацию управления копированием, присоединенную к ним. SCMS (система управления последовательным копированием) и CGMS (система управления созданием копий) являются наиболее хорошо известными в качестве информации управления копированием. Эта информация управления копированием указывает, что данные с присоединенной к ним информацией управления копированием разрешены для неограниченного копирования (свободными для копирования), данные разрешены для копирования только один раз (разрешены для одноразового копирования) или же данные запрещены для копирования (запрещенные для копирования данные).
Пример 3, показанный на фиг.10, является начальным числом блока при использовании штампа времени входа из 24 бит, информации управления копированием из 2 бит и другой информации из 6 бит. Другая информация может быть выбрана из различных видов информации, таких как информация, указывающая операцию включения/выключения системы Macrovision, которая является механизмом управления копированием для аналоговых видеоданных, когда данные начального числа блока выдаются в аналоговой форме.
[Древовидная структура для распределения ключа]
Устройство записи/воспроизведения, показанное на фиг.1 или 2, распределяет для каждого из других устройств записи/воспроизведения, включенных в систему, главный ключ, необходимый для записи данных в носитель информации или для воспроизведения данных с носителя информации, как будет описано ниже. На фиг.11 показано распределение ключа в устройстве записи/воспроизведения в системе записи с древовидной структурой. Числа от 0 до 15, показанные в нижней части фиг.11, обозначают отдельные устройства записи/воспроизведения. Таким образом, на фиг.11 каждый из листов древовидной структуры соответствует каждому из устройств записи/воспроизведения (называемых в последующем “устройствами”).
Во время изготовления (или при рассылке), в каждом из устройств 0-15 сохраняется узловой ключ, относящийся к узлу от его собственного листа до корня, и листовой ключ для каждого листа в заданном исходном дереве. “К0000”-“К1111” в следующей снизу части на фиг.11 являются листовыми ключами, относящимися, соответственно, к устройствам 0-15, a “KR” в самом верхнем узле до “K111” в нижних узлах являются узловыми ключами.
В показанной на фиг.11 древовидной структуре, например, устройство 0 имеет листовой ключ К0000 и узловые ключи К000, К00 и KR. Устройство 5 имеет листовой ключ К0101 и узловые ключи К010, К01, К0 и KR. Устройство 15 имеет листовой ключ К1111 и узловые ключи K111, K11, K1 и KR. Следует отметить, что дерево, показанное на фиг.11, включает только 16 устройств от 0 до 15, расположенных в 4 ступенях, и хорошо сбалансировано относительно горизонтальной симметрии, однако оно может включать больше устройств, расположенных в нем, и иметь различное число ступеней в различных своих частях.
Устройства записи/воспроизведения (устройства), включенные в древовидную структуру, показанную на фиг.11, включают различные типы устройств записи/воспроизведения, использующих различные носители информации, такие как DVD, CD, MD, карточка памяти (memory stick) и т.д. Кроме того, в древовидной структуре сосуществуют друг с другом различные службы приложений. Система распределения ключа, показанная на фиг.11, применима при сосуществовании друг с другом таких разных устройств и приложений.
В системе, в которой сосуществуют такие устройства и приложения, часть дерева, показанная в круге из штриховых линий на фиг.11 и включающая устройства 0, 1, 2 и 3, принимается за группу, в которой устройства используют одинаковый носитель информации. Например, каждое из устройств, включенное в обведенную кругом группу, принимает зашифрованное общее содержимое, переданное от поставщика содержимого, или общий главный ключ, или выдает зашифрованные данные оплаты платы за содержимое к поставщику или в регулирующую оплату организацию. Поставщик содержимого, регулирующая оплату организация или организация, организующая передачу данных, коллективно с каждым из устройств передают данные в обведенную кругом часть на фиг.11, т.е. в устройства 0, 1, 2 и 3, образующие одну группу. В дереве, показанном на фиг.11, имеется более, чем одна такая группа.
Следует отметить, что узловым ключом и листовым ключом можно коллективно управлять с помощью определенного центра управления ключами или с помощью каждой из групп, включающих поставщика содержимого, организацию, регулирующую оплату, и т.д., что приводит к необходимости иметь различные обмены данными с каждой группой. Если, например, эти узловые и листовые ключи были раскрыты, то они обновляются центром управления ключами, поставщиком, организацией, организующей оплату, и т.д.
В древовидной структуре, показанной на фиг.11, четыре устройства 0, 1, 2 и 3, включенные в одну группу, владеют общими ключами К00, К0 и KR в качестве узловых ключей. За счет этого общего использования узловых ключей, например, один общий главный ключ может обслуживать только устройства 0, 1, 2 и 3. Например, за счет установки самого узлового ключа К000, который используется сообща в качестве главного ключа, только устройства 0, 1, 2 и 3 могут установить общий главный ключ без приема какого-либо нового ключа. При распределении к устройствам 0, 1, 2 и 3 через сеть или в виде хранящейся в носителе информации величины Enc (К00, Kmaster), полученной путем шифрования нового главного ключа Kmaster узловым ключом К00, только устройства 0, 1, 2 и 3 могут анализировать величину Enc (К00, Kmaster) с помощью общего узлового ключа К00, которым владеет каждое из устройств, для получения главного ключа Kmaster. Следует отметить, что величина Enc (Ка, Kb) является данными, производными от шифрования Kb с помощью Ка.
Если во время t будет обнаружено, что, например, ключи К0011, К001, К00, К0 и KR, которыми владеет устройство 3, были проанализированы и вскрыты злоумышленниками (хакерами), то необходимо отсоединить устройство 3 от системы для защиты данных, передаваемых из системы и в систему (группу, включающую устройства 0, 1, 2 и 3). Для этого необходимо изменить узловые ключи К001, К00, К0 и KR, соответственно, в новые ключи K(t)001, K(t)00, K(t)0, K(t)R и необходимо передать новые ключи в устройства 0, 1 и 2. Следует отметить, что K(t)aaa является обновленным ключом ключа Кааа в поколении t.
Ниже приводится описание распределения обновленного ключа. Ключ обновляется посредством подачи таблицы, состоящей из блока данных, называемого блоком обновления ключа (KRB), как показано на фиг.12А, в каждое из устройств 0, 1 и 2 через сеть или в виде записи в носителе информации.
Как показано на фиг.12А, блок обновления ключа сформирован в виде блока данных, имеющего структуру данных, которая может обновить только устройство, нуждающееся в обновлении ключа. Показанный на фиг.12А пример является блоком данных, сформированным для распределения обновленного узлового ключа поколения t в устройства 0, 1 и 2, включенных в древовидную структуру, показанную на фиг.11. Как следует из фиг.11, устройства 0 и 1 нуждаются в обновленных узловых ключах K(t)00, K(t)0 и K(t)R, в то время как устройство 2 нуждается в обновленных узловых ключах K(t)001, K(t)00, K(t)0 и K(t)R.
Как показано на фиг.12А, блок обновления ключа включает множество шифровальных ключей. Нижний шифровальный ключ является Enc(K0010, K(t)00l). Это – обновленный узловой ключ K(t)001, зашифрованный листовым ключом К0010 устройства 2. Устройство 2 может расшифровывать этот шифровальный ключ своим собственным листовым ключом для получения K(t)001. Устройство 2 может также расшифровывать шифровальный ключ Enc(K(t)001, K(t)00) на следующей нижней ступени ключом K(t)001, которое оно получило посредством расшифровки и получения тем самым обновленного узлового ключа K(t)001. После этого устройство 2 расшифровывает шифровальный ключ Enc(K(t)00, K(t)0) на следующей верхней ступени на фиг.12А для получения обновленного узлового ключа K(t)0, и расшифровывает шифровальный ключ Enc(K(t)0, K(t)R) на верхней ступени на фиг.12А для получения обновленного шифровального ключа K(t)R. С другой стороны, для устройств 0 и 1 нет необходимости в обновлении узлового ключа К000, однако необходимо обновить узловые ключи K(t)00, K(t)0 и K(t)R. Устройства 0 и 1 расшифровывают шифровальный ключ Enc(K000, K(t)00) на третьей сверху ступени на фиг.12А для получения обновленного узлового ключа K(t)00. Последовательно, устройства 0 и 1 расшифровывают шифровальный ключ Enc(K(t)00, K(t)0) на второй сверху ступени на фиг.12А для получения обновленного узлового ключа K(t)0, и расшифровывают шифровальный ключ Enc(K(t)00, K(t)R) на верхней ступени на фиг.12А для получения обновленного узлового ключа K(t)R. Таким образом, устройства 0, 1 и 2 могут получать обновленные узловые ключи K(t)00, K(t)0 и K(t)R. Следует отметить, что “индекс” на фиг.12А указывает абсолютный адрес узлового ключа и листового ключа, используемого в качестве ключа расшифровки.
Узловые ключи К0 и KR на верхней ступени древовидной структуры, показанной на фиг.11, не нуждаются в обновлении. В случае, когда необходимо обновить только узловой ключ К00, использование блока обновления ключа, показанного на фиг.12В, обеспечивает распределение обновленного узлового ключа K(t)00 в устройства 0, 1 и 2.
Блок обновления ключа, показанный на фиг.12В, можно использовать для распределения нового главного ключа для общего использования, например, в конкретной группе. В частности, устройства 0, 1, 2 и 3 в группе, показанной в штриховом круге на фиг.11, используют определенный носитель информации и нуждаются в новом общем главном ключе K(t)master. В это время узловой ключ K(t)00, производный от обновления узлового ключа К00, общего для устройств 0, 1, 2 и 3, используется для распределения данных Enc(K(t), K(t)master), производных от шифрования нового общего главного ключа К(t)master, вместе с блоком обновления ключа, показанным на фиг.12В. С помощью этого распределения могут распределяться данные, которые не могут быть расшифрованы в устройствах, включенных в другую группу, например, в устройстве 4.
То есть, устройства 0, 1 и 2 могут получать главный ключ К(t)master во время t посредством расшифровки зашифрованных данных с помощью K(t)00, полученного путем обработки блока обновления ключа.
[Распределение главного ключа с использованием блока обновления ключа]
На фиг.13 показана процедура для получения главного ключа К(t)master во время t устройством 0, получившим данные Enc(K(t)00, K(t)master), производные от шифрования нового общего главного ключа K(t)master с помощью K(t)00, и блок обновления ключа, показанный на фиг.12В.
Как показано на фиг.13, устройство 0 генерирует узловой ключ K(t)00 посредством аналогичной указанной выше обработки блока обновления ключа из блока обновления ключа во время t (поколения, в котором хранится блок обновления ключа) и узлового ключа К000, предварительно сохраненного в устройстве. Кроме того, устройство 0 расшифровывает обновленный главный ключ К(t)master с помощью расшифрованного обновленного узлового ключа K(t)00, шифрует его своим собственным листовым ключом К0000 для последующего использования и сохраняет. Следует отметить, что в случае, когда устройство 0 может надежно сохранять обновленный главный ключ К(t)master, то нет необходимости в шифровании его листовым ключом К0000.
Ниже приводится описание процесса получения обновленного главного ключа со ссылками на графическую схему, показанную на фиг.14. При этом предполагается, что устройство записи/воспроизведения получило самый последний главный ключ К(с)master во время поставки и надежно хранит его в своей собственной памяти (более точно, в зашифрованном своим собственным листовым ключом виде).
Когда носитель информации, имеющий хранящиеся в нем обновленный главный ключ К(n)master и блок обновления ключа, установлен в устройство записи/воспроизведения, то последнее сначала считывает на стадии S1401 номер n поколения главного ключа К(n)master (называемый в последующем информацией о номере n поколения предшествующей записи) из носителя информации. Носитель информации имеет номер n поколения главного ключа К(n)master, предварительно записанный в нем. Затем устройство записи/воспроизведения считывает зашифрованный главный ключ С из своей собственной памяти. На стадии S1402 оно сравнивает номер с поколения своего собственного зашифрованного главного ключа с номером n поколения, указанном информацией о номере n поколения предшествующей записи, для принятия решения, какое из них моложе или старше, поколение с или n.
Если устройство записи/воспроизведения принимает на стадии S1402 решение, что поколение n, указанное информацией о номере n поколения предшествующей записи, не младше поколения с зашифрованного главного ключа, хранящегося в его собственной памяти, т.е. если поколение с зашифрованного главного ключа С, хранящегося в памяти, является тем же или более старшим, чем поколение n, указанное информацией о номере n поколения предшествующей записи, то устройство записи/воспроизведения перепрыгивает стадии S1403-1408 и выходит из процедуры обновления главного ключа. В этом случае, поскольку нет необходимости в обновлении главного ключа K(c)master (зашифрованного главного ключа С), хранящегося в памяти устройства записи/воспроизведения, то обновление не выполняется.
С другой стороны, если устройство записи/воспроизведения принимает на стадии S1402 решение, что поколение n, указанное информацией о номере n поколения предшествующей записи, является младше, чем поколение с зашифрованного главного ключа С, хранящегося в памяти, т.е. если поколение с зашифрованного главного ключа С, хранящегося в памяти, является более старшим, чем поколение n, указанное информацией о номере n поколения предшествующей записи, то устройство записи/воспроизведения переходит на стадию S1403, где оно считывает блок обновления ключа из носителя информации.
На стадии S1404 устройство записи/воспроизведения вычисляет ключ K(t)00 для узла 00 во время (время t на фиг.13), указанное информацией о номере n поколения предшествующей записи, из блока обновления ключа, считанного на стадии S1403, листового ключа (К0000 для устройства 0 на фиг.11) и узловых ключей (К000 и К00 … для устройства 0 на фиг.11), хранящихся в его памяти.
На стадии S1405 оно проверяет, получен ли на стадии S1404 ключ K(t)00. Если нет, то это означает, что устройство записи/воспроизведения было исключено из группы в древовидной структуре в это время, и устройство записи/воспроизведения перепрыгивает стадии S1406-1408 и выходит из процедуры обновления главного ключа.
Если K(t)00 был получен, то устройство записи/воспроизведения переходит на стадию S1406, где оно считывает величину, производную от шифрования главного ключа во время t с помощью Enc(K(t)00, K(t)master), а именно K(t)00, считанного с носителя информации. На стадии S1407 устройство записи/воспроизведения высчитывает К(t)master посредством расшифровки зашифрованной величины с помощью K(t)00.
На стадии S1408 устройство записи/воспроизведения шифрует К(t)master своим собственным листовым ключом (К0000 для устройства 0 на фиг.11) и сохраняет его в памяти. Здесь устройство записи/воспроизведения выходит из процедуры обновления главного ключа.
Следует напомнить, что главный ключ используется в возрастающем порядке от времени (поколения) 0, однако каждое из устройств в системе желательно должно быть способным получать, путем вычисления, главный ключ более старшего поколения из главного ключа нового поколения. Таким образом, устройство записи/воспроизведения должно иметь одностороннюю функцию f и генерировать главный ключ в проверяемом поколении посредством применения своего собственного главного ключа в односторонней функции f количество раз, соответствующее разнице между поколением главного ключа и поколением необходимого главного ключа.
В частности, например, в случае, когда поколение главного ключа МК, хранящегося в устройстве записи/воспроизведения является поколением i+1, в то время как поколение главного ключа МК, необходимого для воспроизведения данных (использованного при записи данных) является поколением i-1, то устройство записи/воспроизведения генерирует главный ключ К(i-1)master с использованием два раза односторонней функции f и вычисления f(f(К(i+1)master)).
В случае, когда поколение главного ключа, хранящегося в устройстве записи/воспроизведения является поколением i+1, в то время как поколение необходимого главного ключа является поколением i-2, то устройство записи/воспроизведения генерирует главный ключ К(i-2)master с использованием два раза односторонней функции f и вычисления f(f(f(К(i+1)master))).
Односторонняя функция может быть, например, хеш-функцией. В частности, хеш-функция может быть, например, MD5 (профиль сообщения 5), SHA-1 (надежный хешалгоритм – 1) или т.п. Организация, выпускающая ключи, определяет главные ключи K(0)master, K(1)master, K(2)master, … K(n)master, с помощью которых можно предварительно генерировать поколение, более старшее, чем текущее поколение, с использованием односторонней функции. То есть, прежде всего должен быть установлен ключ К(N)master поколения N и к ключу К(N)master применена один раз односторонняя функция, за счет чего генерируются один за другим главные ключи К(N-1)master, K(N-2)master, …, К(1)master, К(0)master предшествующих поколений. Главные ключи должны использоваться один за другим, начиная с K(0)master наиболее раннего поколения. Следует отметить, что предполагается, что односторонняя функция, используемая для генерирования главного ключа поколения, более старшего, чем текущее поколение, установлена во всех устройствах записи/воспроизведения.
В качестве односторонней функции может также использоваться, например, криптография с открытым ключом. В этом случае выпускающая ключи организация должна иметь личный ключ, который основан на криптографии с открытым ключом, и выпускать открытый ключ, соответствующий личному ключу каждого из всех устройств записи/воспроизведения. Организация, выпускающая ключи, должна устанавливать главный ключ К(0)master поколения 0 и использовать главные ключи, начиная с ключа К(0)master. To есть, когда выпускающая ключи организация нуждается в главном ключе К(i)master, более младшем, чем главный ключ первого поколения, то она преобразует главный ключ K(i-1)master одно поколение перед ключом К(i)master с помощью личного ключа для генерирования главного ключа К(i)master для использования. Таким образом, выпускающая ключи организации не должна предварительно генерировать главный ключ поколения N с использованием односторонней функции. С помощью такого пути генерирования ключей, теоретически возможно генерировать главный ключ во всех поколениях. Следует отметить, что если устройство записи/воспроизведения имеет главный ключ для одного поколения, то оно способно преобразовывать главный ключ с помощью открытого ключа для получения главного ключа для поколений, более старших, чем это поколение.
Ниже приводится описание операций, выполняемых устройством записи/воспроизведения для записи содержимого в свой собственный носитель информации со ссылками на графическую схему, показанную на фиг.15. Данные содержимого шифруются главным ключом одного поколения, распределенного от поставщика содержимого в каждое из устройств записи/воспроизведения через сеть или носитель информации.
Сначала на стадии S1501 устройство записи/воспроизведения считывает предварительно записанную информацию о номере n поколения с носителя информации. Оно получает поколение с зашифрованного главного ключа С, хранящегося в его собственной памяти. На стадии S1502 устройство записи/воспроизведения выполняет сравнение между поколением с зашифрованного главного ключа С и поколением n, указанным информацией о номере n поколения предшествующей записи, для определения, какое поколение младше или старше, поколение с или n.
Если результатом принятия решения на стадии S1502 является то, что поколение с зашифрованного главного ключа С не младше, чем поколение n, указанное информацией о номере n поколения предшествующей записи, а именно, если поколение с зашифрованного главного ключа С, хранящегося в памяти, старше, чем поколение n, указанное информацией о номере n поколения предшествующей записи, то устройство записи/воспроизведения перепрыгивает стадию S1503, т.е. выходит из процедуры без записи данных содержимого.
С другой стороны, если результатом принятия решения на стадии S1502 является то, что поколение с зашифрованного главного ключа С, хранящегося в памяти устройства записи/воспроизведения, младше, чем поколение n, указанное информацией о номере n поколения предшествующей записи, а именно, если поколение с зашифрованного главного ключа С, хранящегося в памяти, является тем же или младше, чем поколение n, указанное информацией о номере n поколения предшествующей записи, то устройство записи/воспроизведения переходит на стадию S1503, где оно записывает данные содержимого.
[Шифрование и запись данных содержимого с помощью главного ключа с управляемым поколением]
Ниже приводится описание процедуры шифрования данных содержимого с помощью главного ключа с управляемым поколением и сохранения данных в носителе информации в устройстве записи/воспроизведения. Следует отметить, что блочный ключ генерируется на основе данных, включающих главный ключ с управляемым поколением, и данные содержимого, сформированные из транспортного потока, как указывалось выше, шифруются блочным ключом и сохраняются в носителе информации, как будет описано ниже. Кроме того, будут приведены два примера: один, в котором данные, записанные в носитель информации одним устройством записи/воспроизведения, можно воспроизводить в другом устройстве воспроизведения, и другой, в котором данные нельзя воспроизводить в другом устройстве воспроизведения.
Ниже приводится описание со ссылками на блок-схемы на фиг.16 и 17 и графическую схему на фиг.18. В качестве носителя информации в последующем принимается оптический диск. В этом варианте выполнения для предотвращения копирования бит за битом данных, записанных в носителе информации, идентификатор диска, как уникальная для носителя информации информация идентификации, выполняет роль шифровального ключа данных.
Сначала приводится описание шифрования данных с помощью криптографического блока 150 со ссылками на блок-схемы на фиг.16 и 17.
Устройство 1600 записи/воспроизведения считывает главный ключ 1601, идентификатор 1631 устройства и уникальный для устройства ключ 1632, хранящиеся в его собственной памяти 180 (смотри фиг.1 и 2). Главный ключ 1601 является личным ключом, хранящимся в лицензированном устройстве записи/воспроизведения. Он является управляемым в соответствии с поколением, как было описано выше, и имеет соответствующий номер. Главный ключ является общим ключом для множества устройств записи/воспроизведения, а именно, например, для устройств, окруженных прерывистой круговой линией на фиг.11. Идентификатор устройства является идентификатором для устройства 1600 записи/воспроизведения. Этот идентификатор является, например, порядковым номером, предварительно сохраненным в устройстве записи/воспроизведения. Идентификатор устройства можно открывать. Уникальный для устройства ключ является личным ключом, уникальным для устройства 1600 записи/воспроизведения. Он задается с изменением от одного устройства записи/воспроизведения к другому. Эти ключи хранятся в памяти устройства 1600 записи/воспроизведения.
Устройство 1600 записи/воспроизведения проверяет, записан ли уже идентификатор 1603 диска в качестве информации идентификации в носитель 1620 информации, который является, например, оптическим диском. Если будет установлено, что идентификатор 1603 диска записан в носитель 1620 информации, то устройство 1600 записи/воспроизведения считывает его (как показано на фиг.16). Если нет, то устройство 1600 записи/воспроизведения генерирует идентификатор 1701 диска по случайному закону или с помощью заданного метода генерирования случайных чисел, например, с помощью криптографического блока 150, и записывает идентификатор в диск (как показано на фиг.17). Для каждого диска должен быть доступным только один такой идентификатор (1603) диска. Так что идентификатор диска может храниться в зоне ввода или т.п. диска.
Затем устройство 1600 записи/воспроизведения генерирует уникальный для диска ключ 1602 из главного ключа и идентификатора диска (как обозначено в позиции 1602). Как показано на фиг.19, уникальный для диска ключ генерируется с помощью одного из двух следующих способов. А именно, в одном методе (пример 1) главный ключ и идентификатор диска подставляются в хеш-функцию с использованием функции шифрования блока и используется результат подстановки. В другом методе (пример 2) данные, производные от комбинирования бит за битом главного ключа и идентификатора диска, подставляются в хеш-функцию SHA-1, определенную в FIPS 180-1, для обеспечения выдачи 160 битов и используются только данные необходимой длины из 160 разрядного выхода.
Затем генерируется уникальный титульный ключ для каждой записи (как указано в позиции 1604) по случайному закону или с помощью заданного метода генерирования случайных чисел в криптографическом блоке 150 (смотри фиг.1 и 2), и записывается в диск 1620.
Кроме того, устанавливается флаг, указывающий, какие титулы (данные) можно воспроизводить только в устройстве записи/воспроизведения, записавшего данные (установлено ограничение устройства воспроизведения), или же, что данные можно также воспроизводить в любом другом устройстве записи/воспроизведения (ограничение устройства воспроизведения не установлено), а именно флаг ограничения устройства воспроизведения (как показано в позиции 1633), и записывается в диск 1620 (как показано в позиции 1635). Кроме того, устройство 1600 записи/воспроизведения извлекает идентификатор устройства в качестве информации идентификации устройства (как показано в позиции 1631) и записывает его в диск 1620 (как показано в позиции 1634).
Дополнительно к этому, устройство 1600 записи/воспроизведения получает номер поколения главного ключа/ который оно использует, а именно номер поколения (номер n поколения записи) главного ключа, хранящийся в его собственной памяти (как показано в позиции 1650), и сохраняет его в качестве номера 1651 поколения записи в носителе (диске) 1620 информации.
Диск имеет файл управления данными, в котором хранится информация, какой титул сформирован из данных и откуда данные, и в котором могут хранится титульный ключ 1605, флаг 1635 ограничения устройства воспроизведения, идентификатор 1634 устройства и номер 1651 поколения главного ключа (номер n поколения записи).
Следует отметить, что носитель 1620 информации имеет предварительно записанный в нем номер поколения предыдущей записи, и только содержимое, зашифрованное главным ключом поколения, более молодого или одинакового с номером поколения предыдущей записи, хранящегося в носителе 1620 информации, может быть воспроизведено. Описание этой системы будет приведено ниже при описании воспроизведения данных.
Затем генерируется уникальный титульный ключ либо из комбинации из уникального для диска ключа, титульного ключа и идентификатора устройства, либо из комбинации из уникального для диска ключа, титульного ключа и уникального для устройства ключа.
А именно, в случае, когда не установлено ограничение для устройства воспроизведения, уникальный титульный ключ генерируется из уникального для диска ключа, титульного ключа и идентификатора устройства. С другой стороны, в случае, когда установлено ограничение для устройства воспроизведения, уникальный титульный ключ генерируется из уникального для диска ключа, титульного ключа и уникального для устройства ключа.
В частности, уникальный титульный ключ генерируется как в примере 1 или примере 2, показанных на фиг.21. В примере 1 титульный ключ, уникальный для диска ключ и идентификатор устройства (когда не установлено ограничение устройства воспроизведения), или уникальный для устройства ключ (когда установлено ограничение устройства воспроизведения) подставляются в хеш-функцию, основанную на функции шифрования блока, и результат подстановки используется в качестве уникального титульного ключа. В примере 2 данные, генерированные посредством комбинирования бит за битом главного ключа, идентификатора диска и идентификатора устройства (когда не установлено ограничение для устройства воспроизведения) или уникального для устройства ключа (когда установлено ограничение для устройства воспроизведения), подставляются в хеш-функцию SHA-1, определенную в FIPS 180-1, и из выходных данных длиной в 160 бит, полученных в результате подстановки, используют необходимую длину данных в качестве уникального титульного ключа.
Как указывалось выше, уникальный для диска ключ генерируется из главного ключа и идентификатора диска, и затем генерируется уникальный титульный ключ из уникального для диска ключа, титульного ключа и идентификатора устройства или же из титульного ключа и уникального для устройства ключа. Однако следует отметить, что уникальный титульный ключ можно генерировать непосредственно из главного ключа, идентификатора диска, титульного ключа и идентификатора устройства или уникального для устройства ключа без использования уникального для диска ключа или же ключ, эквивалентный уникальному титульному ключу, можно генерировать из главного ключа, идентификатора диска и идентификатора устройства (когда не установлено ограничение для устройства воспроизведения) или уникального для устройства ключа (когда установлено ограничение для устройства воспроизведения) без использования титульного ключа.
Следует напомнить, что в случае использования одного из форматов передачи, определенных, например, в указанном выше стандарте 5CDTCP, данные передаются в некоторых случаях в виде пакетов TS MPEG-2. Когда, например, телеприставка, принявшая спутниковое вещание, передает вещание в устройство записи с использованием формата передачи 5CDTCP, то телеприставка должна предпочтительно передавать, также в последовательной шине IEEE 1394, пакеты TS MPEG-2, переданные по пути передачи спутникового вещания, поскольку не требуется преобразование данных.
Устройство 1600 записи/воспроизведения принимает подлежащие записи данные содержимого в виде пакетов TS и процессор 300 TS присоединяет к каждому пакету TS штамп времени входа, который является информацией, указывающей время, в которое пакет TS был принят. Следует отметить, что, как указывалось выше, начальное число блока, присоединенное к данным блока, может состоять из комбинации из штампа времени входа, информации управления копированием и другой информации.
Число Х (например, Х=32) пакетов TS, к каждому из которых присоединен штамп времени входа, располагаются смежно друг с другом для образования одного блока данных (как показано в верхней части фиг.5). Как показано в нижних частях фиг.16 и 11, байты 1-4 в начальной части данных блока, поданных для шифрования, отделяются (в селекторе 1608) для выдачи начального числа блока, включающего штамп времени входа из 32 битов. Генерируется блочный ключ, являющийся шифровальным ключом для данных в блоке (как показано в позиции 1607), из начального числа блока и генерированного ранее уникального титульного ключа.
На фиг.22 показан пример генерирования блочного ключа. На фиг.22 показаны два примера генерирования блочного ключа из 64 битов из начального числа блока из 32 битов и уникального титульного ключа из 64 битов.
В примере 1, показанном в верхней половине фиг.22, используется функция шифрования, длина ключа которой составляет 64 бита, и вход и выход равны, соответственно, 64 битам. Уникальный титульный ключ используется в качестве ключа для этой функции, комбинация из начального числа блока и постоянной из 32 бит подставляется в функцию шифрования, и результат подстановки принимается в качестве блочного ключа.
В примере 2 используется хеш-функция SHA-1,определенная в FIPS 180-1. Комбинация из уникального титульного ключа и начального числа блока подставляется в хеш-функцию SHA-1, и выход из 160 битов сокращается до 64 битов при использовании, например, только младших 64 битов. Эти 64 бита используются в качестве блочного ключа.
Выше приведено описание примеров генерирования блочного ключа, в которых генерируются уникальный для диска ключ, уникальный титульный ключ и блочный ключ. Однако блочный ключ может быть генерирован из главного ключа, идентификатора диска, титульного ключа и начального числа блока для каждого блока и идентификатора устройства (когда не установлено ограничение устройства воспроизведения) или уникального для устройства ключа (когда установлено ограничение устройства воспроизведения) без генерирования уникального для диска ключа и уникального титульного ключа.
Генерированный таким образом блочный ключ используется для шифрования данных блока. Как показано в нижних частях фиг.16 и 17, байты 1-m (например, m=8) в начальной части данных блока, включающие начальное число блока, отделяются (в селекторе 1608) для того, чтобы не быть зашифрованными, а байты от (m+1) до последнего шифруются (как показано в позиции 1609). Следует отметить, что m байтов, которые не шифруются, включают первый – четвертый байты в качестве начального числа блока. Байты от m+1 и далее данных блока, выделенные в селекторе 1608, шифруются (как показано в позиции 1609) в соответствии с алгоритмом шифрования, заданном в криптографическом блоке 150. Алгоритм шифрования может быть, например, DES (стандарт шифрования данных), определенным в FIPS 46-2.
Когда длина блока (размер входных/выходных данных) в используемом алгоритме шифрования равна 8 байтам, как в DES, то все данные блока, включающие байты (m+1) и следующие без остатка, могут быть зашифрованы, например, при Х=32 и m, кратном 8.
А именно, в случае, когда Х пакетов TS хранятся в одном блоке, размер входных/выходных данных алгоритма шифрования составляет L байтов, и n является произвольным натуральным числом, определяющим X, m и L так, что 192*Х=m+n*L, что делает лишней обработку остатка.
Зашифрованные байты (m+1) и далее данных блока комбинируются с первыми не зашифрованными байтами 1-m данных блока с помощью селектора 1610 и сохраняются в качестве зашифрованного содержимого 1612 в носителе 1620 информации.
С помощью указанных выше операций содержимое шифруется блок за блоком блочным ключом, генерированным из начального числа блока, включающего главный ключ с управляемым поколением и штамп времени входа, и сохраняются в носителе информации.
Как указывалось выше, поскольку данные содержимого зашифрованы главным ключом с управляемым поколением и сохраняются в носителе информации, то данные могут быть расшифрованы или носитель информации может воспроизводиться в любом другом устройстве записи/воспроизведения, только когда поколение другого устройства записи/воспроизведения по меньшей мере такое же, как поколение устройства записи/воспроизведения, записавшего данные содержимого в носитель информации, или же моложе, чем поколение главного ключа, использованного при записи данных содержимого.
Когда ограничение устройства воспроизведения не установлено, то блочный ключ генерируется на основе идентификатора устройства. С другой стороны, когда установлено ограничение устройства воспроизведения, то блочный ключ генерируется на основе уникального для устройства ключа. Когда ограничение устройства воспроизведения установлено, то данные воспроизведения можно воспроизводить только в том устройстве записи/воспроизведения, которое записало данные.
А именно, когда не установлено ограничение для устройства воспроизведения, блочный ключ, являющийся ключом для использования для шифрования данных блока, генерируется из данных, включающих идентификатор устройства, и идентификатор устройства сохраняется в носителе информации. Поэтому устройство воспроизведения, которое намерено воспроизводить содержимое с носителя информации, может получить идентификатор устройства из носителя информации, установленного в нем, и таким образом генерирует аналогичный блочный ключ. Таким образом, данные блока могут быть расшифрованы. Однако в случае, когда установлено ограничение для устройства воспроизведения, блочный ключ, являющийся ключом для использования для шифрования данных блока, генерируется из данных, включающих уникальный для устройства ключ. Поскольку этот уникальный для устройства ключ является личным ключом, который изменяется от одного устройства к другому, то он не может быть получен другим устройством. В случае, когда данные блока зашифрованы для сохранения в носителе информации, то запись данных не выполняется в носитель информации, имеющий сохраненный в нем уникальный для устройства ключ. Поэтому, поскольку один и тот же уникальный для устройства ключ не может быть получен даже если носитель информации, имеющий сохраненные в нем зашифрованные данные блока, установлен в другое устройство воспроизведения, то не может быть генерирован шифровальный ключ для расшифровки блока данных, и тем самым данные блока не могут быть расшифрованы для воспроизведения. Следует отметить, что операции воспроизведения будут дополнительно описаны ниже.
Ниже со ссылками на фиг.18 приводится описание последовательности операций, выполняемых в процессоре 300 TS для присоединения штампа времени входа, и последовательность операций, выполняемых для шифрования в криптографическом блоке 150 при записи данных. На стадии S1801 на фиг.18 устройство записи/воспроизведения считывает главный ключ, идентификатор устройства, который идентифицирует устройство записи/ воспроизведения, и уникальный для устройства ключ, хранящийся в его собственной памяти 180.
На стадии S1802 устройство записи/воспроизведения проверяет, записан ли уже идентификатор диска в качестве информации идентификации в носитель информации. Если будет установлено, что записан, то устройство записи/воспроизведения считывает на стадии S1803 идентификатор диска. Если нет, то устройство записи/воспроизведения генерирует идентификатор диска по случайному закону или с помощью заданного метода, и записывает его на стадии S1804 в диск. Затем на стадии S1805 устройство записи/воспроизведения генерирует уникальный для диска ключ из главного ключа и идентификатора диска. Уникальный для диска ключ генерируется с использованием, например, функции SHA-1, определенной в FIPS 180-1, или хеш-функции, основанной на функции шифрования блока, как указывалось выше.
На стадии S1806 устройство записи/воспроизведения извлекает титульный ключ, уникальный для каждой записи, флаг ограничения устройства воспроизведения, идентификатор устройства, являющийся информацией идентификации для устройства, и номер поколения главного ключа и записывает их в диск. Затем на стадии S1807 устройство записи/воспроизведения генерирует уникальный титульный ключ из уникального для диска ключа, титульного ключа и идентификатора устройства (когда не установлено ограничение для устройства воспроизведения) или уникального для устройства ключа (когда установлено ограничение для устройства воспроизведения).
На фиг.20 показана последовательность операций, выполняемых при генерировании уникального титульного ключа. На стадии S2001 криптографический блок 150 определяет, должно ли быть установлено ограничение устройства воспроизведения, на основе инструктивных данных, введенных пользователем устройства записи/воспроизведения, или ограничивающей использование информации, присоединенной к содержимому.
Если результатом определения, выполненного на стадии S2001, является Нет, а именно, если не установлено ограничение для устройства воспроизведения, то устройство записи/воспроизведения переходит на стадию S2002, где оно генерирует уникальный титульный ключ из уникального для диска ключа, титульного ключа и идентификатора устройства.
Если результатом определения, выполненного на стадии S2001, является Да, а именно, если установлено ограничение для устройства воспроизведения, то устройство записи/воспроизведения переходит на стадию S2003, где оно генерирует уникальный титульный ключ из уникального для диска ключа, титульного ключа и уникального для устройства ключа с использованием хеш-функции SHA-1 или хеш-функции, основанной на функции шифрования блока.
На стадии S1808 устройство записи/воспроизведения принимает подлежащие повторному шифрованию данные подлежащих записи данных содержимого в виде пакетов TS. На стадии S1809 процессор 300 TS присоединяет к каждому пакету TS штамп времени входа, являющийся информацией, указывающей время, в которое пакет был принят. В качестве альтернативного решения, процессор 300 TS присоединяет к каждому пакету TS комбинацию из информации управления копированием, штампа времени входа и другой информации. Затем на стадии S1810 устройство записи/воспроизведения принимает один за другим пакеты TS, к каждому из которых присоединен штамп времени входа, и определяет, принято ли число Х (например, Х=32) пакетов TS, образующих один блок, или данные идентификации, указывающие на то, что принят последний пакет. Когда выполнено одно из указанных выше условий, то устройство записи/воспроизведения переходит на стадию S1811, где оно располагает Х пакетов TS или пакеты TS вплоть до последнего смежно друг с другом для образования одного блока данных.
Затем на стадии S1812 криптографический блок 150 генерирует блочный ключ, являющийся ключом для шифрования данных в указанном блоке, из 32 битов (начального числа блока, включающего штамп времени входа) в начальной части данных блока и уникального титульного ключа, генерированного на стадии S1807.
На стадии S1813 данные блока, сформированные на стадии S1811, шифруются блочным ключом. Как указывалось выше, байты (m+1) до последнего байта в данных блока, подвергаются шифрованию. Алгоритм шифрования является, например, DES (стандарт шифрования данных), определенным в FIPS 46-2.
На стадии S1814 зашифрованные данные блока записываются в носитель информации. На стадии S1815 определяется, были или нет записаны все данные в носитель информации. Когда все данные блока записаны, устройство записи/воспроизведения выходит из процедуры записи. Если нет, то устройство записи/воспроизведения возвращается на стадию S1808, где обрабатывает оставшиеся данные.
[Расшифровка для воспроизведения записанных данных с помощью главного ключа с управляемым поколением]
Ниже приводится со ссылками на блок-схему на фиг.23 и графическую схему на фиг.24-26 описание операций, выполняемых для расшифровки для воспроизведения зашифрованного содержимого, записанного в носитель информации, как было описано выше.
Описание последовательности операций, выполняемых при расшифровке и воспроизведении, приводится со ссылками на блок-схему на фиг.23 и графическую схему на фиг.24. На стадии S2401 на фиг.24 устройство 2300 записи/воспроизведения считывает идентификатор 2302 диска и номер поколения предыдущей записи с диска 2320, главный ключ 2301, идентификатор 2331 устройства в качестве идентификатора устройства и уникальный для устройства ключ 2332 из своей собственной памяти. Как следует из предшествующего описания процедуры записи, идентификатор диска является идентификатором, уникальным для диска, записанным ранее в диск, или же идентификатором, генерированным устройством записи/воспроизведения и записанным в диск.
Номер 2360 поколения предшествующей записи является информацией о поколении, уникальной для диска в качестве носителя информации. Номер поколения предшествующей записи сравнивается с номером поколения главного ключа, с помощью которого данные были записаны, а именно с номером 2350 поколения записи, для принятия решения, можно ли воспроизводить данные. Главный ключ 2301 является личным ключом, хранящимся в лицензированном устройстве записи/воспроизведения, поколение которого является управляемым. Идентификатор устройства является идентификатором, уникальным для устройства записи/воспроизведения, и уникальный для устройства ключ является личным ключом, уникальным для устройства записи/воспроизведения.
Затем на стадии S2402 устройство записи/воспроизведения 2300 считывает титульный ключ для данных, подлежащих считыванию с диска, а также идентификатор устройства записи/воспроизведения, которое записало данные, флаг ограничения устройства воспроизведения, установленный в соответствии с данными, и номер поколения (Поколение №) главного ключа, использованного при записи данных, т.е. номер 2350 поколения записи. Затем на стадии S2403 устройство записи/воспроизведения определяет, можно ли воспроизводить данные, подлежащие считыванию. Последовательность операций для принятия этого решения подробно показана на фиг.25.
На стадии S2501 на фиг.25 устройство записи/воспроизведения определяет, что является более младшим или более старшим, поколение предшествующей записи, считанное на стадии S2401, или номер поколения записи, считанный на стадии S2402. В случае, когда результат принятия решения показывает, что поколение, указанное номером поколения записи не является более младшим, чем поколение, указанное номером поколения предшествующей записи, т.е. если поколение, указанное информацией о поколении записи данных является более старшим, чем поколение, указанное информацией о поколении предшествующей записи, то устройство записи/воспроизведения принимает решение, что данные нельзя воспроизводить, и перепрыгивает через стадии S2404-2409 и выходит из процедуры без воспроизведения данных. Поэтому, в случае, когда содержимое, записанное в носитель информации, было зашифровано главным ключом, поколение которого является более старшим, чем поколение, указанное информацией о предшествующей записи, то воспроизведение данных не разрешено и воспроизведение не выполняется.
Таким образом, указанная выше процедура служит для принятия решения, что данные, зашифрованные и записанные в носитель информации с помощью ключа старого поколения устройством записи, которое не получило ключ самого последнего поколения, поскольку была вскрыта его незаконность, и для воспрещения воспроизведения любого носителя информации, в который были записаны данные таким незаконным устройством записи. Таким образом, обеспечивается возможность исключить использование незаконного устройства записи.
С другой стороны, когда результат принятия решения на стадии S2501 показывает, что поколение, указанное номером поколения записи является более младшим, чем поколение, указанное номером поколения предшествующей записи, а именно если поколение, указанное информацией о поколении записи данных является тем же самым или более младшим, чем поколение, указанное информацией о поколении предшествующей записи, и поэтому содержимое, записанное в носитель информации, было зашифровано главным ключом, поколение которого является более молодым, чем поколение, указанное номером поколения предшествующей записи, то устройство записи/воспроизведения переходит на стадию S2502, где оно получает информацию о поколении зашифрованного главного ключа С, хранящуюся в его собственной памяти, и выполняет сравнение между поколением зашифрованного главного ключа и поколением, указанным информацией о поколении шифрования, для принятия решения, какое из поколений является более младшим или более старшим, чем другое.
Если результат принятия решения на стадии S2502 показывает, что поколение главного ключа С, хранящегося в памяти, не является более младшим, чем поколение, указанное информацией о поколении записи, а именно, если поколение главного ключа С, хранящегося в памяти, является более старшим, чем поколение, указанное информацией о поколении записи, то устройство записи/воспроизведения принимает решение, что содержимое нельзя воспроизводить, перепрыгивает стадии S2404-2409 и выходит из процедуры без воспроизведения содержимого.
Если результат принятия решения на стадии S2502 показывает, что поколение главного ключа С, хранящегося в памяти, является более младшим, чем поколение, указанное информацией о поколении записи, т.е. если поколение главного ключа С является тем же или более младшим, чем поколение, указанное информацией о поколении записи, то устройство записи/воспроизведения переходит на стадию S2503, где оно проверяет, записаны ли данные, которое оно намерено считывать, в режиме ограничения устройства воспроизведения.
На стадии S2503 устройство записи/воспроизведения определяет, означает ли информация ограничения устройства воспроизведения, указанная флагом ограничения устройства воспроизведения, что “Установлено ограничение устройства воспроизведения”. Если будет определено, что “Установлено ограничение устройства воспроизведения”, то устройство записи/воспроизведения переходит на стадию S2504, где оно определяет, выполняется ли условие “Идентификатор устройства, считанный с носителя информации, совпадает с идентификатором самого устройства воспроизведения”. В случае наличия совпадения, устройство записи/воспроизведения принимает решение, что рассматриваемые данные можно воспроизводить. Если же информация ограничения устройства воспроизведения, указываемая флагом ограничения устройства воспроизведения, показывает, что “Установлено ограничение устройства воспроизведения”, и когда “Идентификатор устройства, считанный с носителя информации, не совпадает с идентификатором самого устройства воспроизведения”, то устройство записи/воспроизведения принимает решение, что данные не могут быть воспроизведены.
Если результат принятия решения показывает, что возможно воспроизведение данных, то устройство записи/воспроизведения переходит на стадию S2404, где оно генерирует уникальный для диска ключ из идентификатора диска и главного ключа (как показано в позиции 2303), как будет описано ниже. Данные, полученные за счет комбинирования бит за битом главного ключа и идентификатора диска, подставляются, например, в хеш-функцию SHA-1, определенную в FIPS 180-1, и только необходимая длина данных из выхода длиной 160 бит, полученных в результате подстановки, используется в качестве уникального для диска ключа. В качестве альтернативного решения, главный ключ и идентификатор диска подставляются в хеш-функцию, использующую функцию шифрования блока, и результат подстановки используется в качестве уникального для диска ключа. Главный ключ, используемый при этом, является ключом, считанным с носителя информации на стадии S2402, и поколение которого указывается номером поколения записи данных. Если устройство записи/воспроизведения имеет главный ключ, поколение которого является более младшим, чем поколение главного ключа, то оно может генерировать с помощью любого описанного выше метода главный ключ поколения, указанного номером поколения записи, и дополнительно генерировать уникальный для диска ключ с помощью генерированного таким образом главного ключа.
Затем на стадии S2405 устройство записи/воспроизведения генерирует уникальный титульный ключ, как описано ниже со ссылками на фиг.26. На стадии S2601 криптографический блок 150 определяет, установлено или нет ограничение устройства воспроизведения, на основе флага ограничения устройства воспроизведения, считанного с диска. Если информация ограничения устройства воспроизведения, указанная считанным флагом 2335 ограничения устройства воспроизведения, показывает, что “Ограничение устройства воспроизведения установлено” и “Идентификатор 2334 устройства, считанный с носителя информации, совпадает с идентификатором 2331 самого устройства воспроизведения”, или же если информация ограничения устройства воспроизведения, указанная флагом 2333 ограничения устройства воспроизведения, показывает, что “Ограничение устройства воспроизведения не установлено”, то данные можно воспроизводить. Если информация ограничения устройства воспроизведения, указанная флагом 2333 ограничения устройства воспроизведения, показывает, что “Ограничение устройства воспроизведения установлено” и “Идентификатор 2334 устройства, считанный с носителя информации, не совпадает с идентификатором 2331 самого устройства воспроизведения”, то данные нельзя воспроизводить.
Причина, по которой данные нельзя воспроизводить, заключается в том, что блочный ключ для расшифровки данных не может быть генерирован, поскольку данные были зашифрованы блочным ключом, генерированным из уникального для устройства ключа для устройства записи/воспроизведения, записавшего данные, и устройства записи/воспроизведения, отличные от устройства записи/ воспроизведения, записавшего данные, не имеют тот же самый уникальный для устройства ключ.
В случае возможности воспроизведения данных генерируется уникальный титульный ключ из комбинации из уникального для диска ключа, титульного ключа и идентификатора устройства или же из комбинации из уникального для диска ключа, титульного ключа и уникального для устройства ключа.
Таким образом, когда не установлено ограничение устройства воспроизведения, то уникальный титульный ключ генерируется из уникального для диска ключа, титульного ключа и идентификатора устройства. Когда установлено ограничение устройства воспроизведения, то уникальный титульный ключ генерируется из уникального для диска ключа, титульного ключа и уникального для самого устройства воспроизведения ключа. Для генерирования уникального титульного ключа можно использовать хеш-функцию SHA-1 или хеш-функцию, основанную на функции шифрования блока.
Ниже описание приводится со ссылками на графическую схему, показанную на фиг.26. Если результатом принятия решения на стадии S2601 является Нет, а именно, если ограничение устройства воспроизведения не установлено, то устройство записи/ воспроизведения переходит на стадию S2602, где оно генерирует уникальный титульный ключ из уникального для диска ключа, титульного ключа и идентификатора устройства.
Если результатом принятия решения на стадии S2601 является Да, а именно, если ограничение устройства воспроизведения установлено, то устройство записи/воспроизведения переходит на стадию S2603, где оно генерирует уникальный титульный ключ из уникального для диска ключа, титульного ключа и уникального для устройства ключа с использованием хеш-функции SHA-1 или хеш-функции, основанной на функции шифрования блока.
Как указывалось выше, уникальный для диска ключ генерируется из главного ключа и идентификатора диска, а уникальный титульный ключ генерирует из комбинации из уникального для диска ключа, титульного ключа и идентификатора устройства или из комбинации из титульного ключа и уникального для устройства ключа. Однако уникальный титульный ключ можно генерировать непосредственно из главного ключа, идентификатора диска, титульного ключа или идентификатора устройства или уникального для устройства ключа без использования уникального для диска ключа или можно генерировать ключ, эквивалентный уникальному титульному ключу, из главного ключа, идентификатора диска и идентификатора устройства (когда не установлено ограничение устройства воспроизведения) или уникального для устройства ключа (когда установлено ограничение устройства воспроизведения) без использования титульного ключа.
Затем на стадии S2406 устройство записи/воспроизведения считывает по старшинству данные блока зашифрованного содержимого 2312 с диска, отделяет на стадии S2407 начальное число блока, составляющее 4 байта в передней части данных блока, в селекторе 2310 и генерирует блочный ключ из начального числа блока и уникального титульного ключа, генерированного на стадии S2405.
Блочный ключ можно генерировать в соответствии с указанным выше со ссылками на фиг.22. То есть, блочный ключ из 64 битов можно генерировать из начального числа блока длиной 32 бита и уникального титульного ключа длиной 64 бита.
Выше было приведено описание генерирования уникального для диска ключа, уникального титульного ключа и блочного ключа. Однако, следует отметить, что блочный ключ можно генерировать для каждого блока из главного ключа, идентификатора диска, титульного ключа, начального числа блока и идентификатора устройства (когда не установлено ограничение устройства воспроизведения) или уникального для устройства ключа (когда установлено ограничение устройства воспроизведения) без генерирования уникального для диска ключа и уникального титульного ключа.
На стадии S2408 зашифрованные данные блока расшифровываются генерированным таким образом блочным ключом (как показано в позиции 2309) и выдаются в виде расшифрованных данных в селектор 2308. Следует отметить, что расшифрованные данные включают штамп времени входа, присоединенный к каждому из транспортных пакетов, включенных в транспортный поток, и поток обрабатывается на основе штампа времени входа в указанном процессоре 300 TS. После этого данные можно использовать, например, для отображения изображения или для воспроизведения музыки.
Таким образом, содержимое, зашифрованное блоками и сохраненное в носителе информации, можно расшифровывать для воспроизведения с помощью блочного ключа, генерированного из начального числа блока, включающего штамп времени входа, по блокам. Устройство записи/воспроизведения расшифровывает зашифрованные данные блока и на стадии S2409 определяет, считаны ли все данные. Если считаны все данные, то устройство записи/воспроизведения выходит из процедуры. Если нет, то устройство записи/воспроизведения возвращается на стадию S2406, где оно считывает оставшиеся данные.
[Обработка с помощью ключа носителя, действительного только для носителя информации]
В указанном выше варианте выполнения блок обновления ключа используется для передачи главного ключа в каждое устройство записи/воспроизведения, и этот главный ключ используется для записи или воспроизведения данных с или в устройство записи/воспроизведения.
Главный ключ действителен для каждой записи данных в его поколении. Устройство записи/воспроизведения, получившее главный ключ поколения, может расшифровывать данные, которые были записаны в этом поколении и в более раннем поколении в системе, к которой принадлежит устройство записи/воспроизведения. Однако, поскольку природа главного ключа такова, что он действителен для всей системы, то успешное вскрытие главного ключа любым злоумышленником отрицательно воздействует на всю систему.
Однако в качестве ключа, подлежащего передачи с использованием блока обновления ключа носителя информации, можно использовать ключ носителя, который действителен только для носителя информации, а не главный ключ, действительный для всей системы. Ниже приводится описание использование ключа носителя вместо главного ключа (второй вариант выполнения). Однако следует отметить, что будут описаны только различия второго варианта выполнения от указанного выше первого варианта выполнения.
Аналогично фиг.13, на фиг.27 показано использование устройством 0 во время t блока обновления ключа, хранящегося в носителе информации, листового ключа К0000, предварительно записанного в нем, и узловых ключей К000 и К00, для генерирования обновленного узлового ключа K(t)00, и получение нового ключа К(t)media на основе обновленного узлового ключа K(t)00. Ключ K(t)media используется при записи и воспроизведении данных в и из носителя информации.
Следует отметить, что номер n поколения предшествующей записи, показанный на фиг.27, не является обязательно необходимым, а приведен в качестве опции, поскольку ключ носителя не имеет поколения, младшего или старшего, как это имеет место для главного ключа.
Например, когда носитель информации устанавливается в каждое устройство записи/воспроизведения для записи или воспроизведения данных, то устройство записи/воспроизведения вычисляет ключ К(t)media для носителя информации и использует его для последующего доступа к носителю информации, как показано в графической схеме на фиг.28.
Считывание блока обновления ключа на стадии S2801 и обработка блока обновления ключа на стадии S2802 на фиг.28 аналогичны операциям, выполняемым на стадиях S1403 и 1404 на фиг.14.
На стадии S2803 устройство записи/воспроизведения считывает с носителя информации зашифрованные данные Enc(K(t)00), K(t)media), производные от шифрования ключа K(t)media с помощью узлового ключа K(t)00, и шифрует данные на стадии S2804 для получения ключа носителя. Если устройство записи/воспроизведения исключено или отозвано из группы в древовидной структуре, показанной на фиг.11, то оно не может получить ключ носителя и тем самым не может записывать или воспроизводить данные с носителя информации.
Ниже приводится описание записи данных в носитель информации. Однако, поскольку ключ носителя не имеет концепции поколения, младшего или старшего, как главный ключ, то нельзя проверить, можно или нет записывать данные, посредством сравнения поколений информации о поколении предшествующей записи и главного ключа, хранящегося в самом устройстве записи/воспроизведения, как показано на фиг.15, а необходимо определить, если ключ носителя получен с помощью указанной выше обработки, можно ли записывать данные, с помощью последовательности операций, показанной на фиг.29. Как показано в графической схеме на фиг.29, на стадии S2901 определяется, получен ли ключ носителя, и только когда ключ носителя получен, то содержимое записывается на стадии S2902.
[Запись данных с помощью ключа носителя, действительного только для носителя информации]
Ниже приводится описание записи данных содержимого со ссылками на блок-схемы на фиг.30 и 31 и графическую схему на фиг.32.
Так же как в первом варианте выполнения, в этом втором варианте выполнения носитель информации является оптическим диском. Кроме того, для второго варианта выполнения справедливо то, что для предотвращения копирования бит за битом данных с носителя информации, идентификатор диска, в качестве информации идентификации, уникальной для носителя информации, используется в качестве ключа для шифрования данных.
Фиг.30 и 31 аналогичны фиг.16 и 17 для первого варианта выполнения, за исключением того, что используется ключ носителя вместо главного ключа и не используется номер поколения записи, указывающий поколение главного ключа. Разница между фиг.30 и 31 аналогична разнице между фиг.16 и 17, и она относится к записи идентификатора диска. А именно, при записи данных, показанной на фиг.30, идентификатор диска не записывается, в то время как при записи данных, показанной на фиг.31, идентификатор диска записывается.
На фиг.32 показана запись данных в этом варианте выполнения, в котором используется ключ носителя. А именно, блок-схема на фиг.32 соответствует графической схеме для первого варианта выполнения, показанной на фиг.18. Ниже приводится описание в основном различий операций, показанных на фиг.32, от операций, выполняемых в первом варианте выполнения.
На стадии S3201 на фиг.32 устройство 3000 записи/воспроизведения считывает идентификатор устройства и уникальный для устройства ключ, хранящиеся в его собственной памяти, а также ключ К(t)media, вычисленный и сохраненный ранее на стадии S2804 на фиг.28.
На стадии S3202 устройство 3000 записи/воспроизведения проверяет, хранится ли уже идентификатор диска в носителе 3020 информации (оптическом диске). Если идентификатор диска уже хранится, то устройство 3000 записи/воспроизведения считывает идентификатор диска на стадии S3203 (как на фиг.30). Если идентификатор диска не хранится, то устройство 3000 записи/воспроизведения генерирует идентификатор диска по случайному закону или с помощью заданного метода и записывает его в диск на стадии S3204 (как на фиг.31). Для одного диска должен быть доступен только один идентификатор диска. Таким образом, идентификатор диска может быть сохранен в зоне ввода или т.п. диска. В любом случае устройство 3000 записи/воспроизведения переходит на стадию S3205.
На стадии S3205 устройство 3000 записи/воспроизведения использует главный ключ и идентификатор диска, считанные на стадии S3201, для генерирования уникального для диска ключа. Уникальный для диска ключ можно генерировать с использованием ключа носителя вместо главного ключа, так же, как в первом варианте выполнения.
Затем устройство 3000 записи/воспроизведения переходит на стадию S3206, где оно генерирует титульный ключ, уникальный для каждой записи, по случайному закону или с помощью заданного метода, и записывает его в диск. В то же самое время устройство 3000 записывает в диск флаг ограничения устройства воспроизведения в качестве информации, указывающей, можно ли воспроизводить титул (данные) только в устройстве, записавшем их (когда установлено ограничение устройства воспроизведения), или же можно воспроизводить в любом другом устройстве (когда не установлено ограничение устройства воспроизведения), и идентификатор устройства самого устройства 3000 записи/воспроизведения.
Диск имеет файл управления данными, в котором хранится информация о том, какой титул сформирован из каких данных и откуда данные, и в котором можно хранить титульный ключ, флаг ограничения устройства воспроизведения и идентификатор устройства.
Операции на стадиях S3207-3215 являются аналогичными операциям, выполняемым на стадиях S1807-1815 на фиг.18, поэтому их описание повторно не приводится.
Следует отметить, что выше указывалось, что уникальный для диска ключ генерируется из ключа носителя и идентификатора диска, и уникальный титульный ключ генерируется из уникального для диска ключа, титульного ключа и идентификатор устройства или из титульного ключа и уникального для устройства ключа, однако уникальный титульный ключ можно генерировать непосредственно из ключа носителя, идентификатора диска, титульного ключа и идентификатора устройства или уникального для устройства ключа без использования уникального для устройства ключа, и можно генерировать ключ, эквивалентный уникальному титульному ключу, из ключа носителя, идентификатора диска и идентификатора устройства (когда не установлено ограничение устройства воспроизведения) или уникального для устройства ключа (когда установлено ограничение устройства воспроизведения) без использования титульного ключа.
Ключ носителя можно использовать, также как указывалось выше, для записи данных в носитель информации.
[Воспроизведение данных с помощью ключа носителя, действительного только для носителя информации]
Ниже приводится описание воспроизведения данных, записанных как указано выше, со ссылками на блок-схему на фиг.33 и графическую схему на фиг.34.
Фиг.33 аналогична фиг.23 для первого варианта выполнения, за исключением того, что используется ключ носителя вместо главного ключа, и не используется номер поколения записи.
На стадии S3401 на фиг.34 устройство 3000 записи/воспроизведения считывает идентификатор диска с диска 3420, являющегося носителем информации, и идентификатор устройства уникального для самого устройства, уникальный для устройства ключ, являющийся ключом, уникальным для самого устройства, и ключ носителя, вычисленный и временно сохраненный ранее на стадии S2804 на фиг.28, из своей собственной памяти.
Следует отметить, что если устройство 3400 записи/воспроизведения не может получить ключ носителя даже после выполнения операций, показанных на фиг.28, с носителем информации, вставленного в него, то оно выходит из процедуры без попытки воспроизведения каких-либо данных.
Затем на стадии S3402 устройство 3400 записи/воспроизведения считывает титульный ключ для данных, подлежащих считыванию с диска, идентификатор устройства для устройства, записавшего данные, и флаг ограничения устройства воспроизведения для данных.
Затем на стадии S3403 устройство 3400 записи/воспроизведения определяет, можно ли воспроизводить данные. Операции, выполняемые на стадии S3403, подробно показаны на фиг.35.
На стадии S3501 устройство 3400 записи/воспроизведения определяет, может ли быть получен ключ носителя. Если ключ носителя не может быть получен, то данные нельзя воспроизводить. Если ключ носителя может быть получен, то устройство 3400 записи/воспроизведения переходит на стадию S3502. Операции, выполняемые на стадиях S3502 и 3503 аналогичны операциям, выполняемым на стадиях S2503 и 2504 на фиг.25. Когда флаг ограничения устройства воспроизведения обозначает, что “Установлено ограничение устройства воспроизведения”, а также ключ устройства для устройства, считавшего данные, считанный из носителя информации на стадии S3503, и идентификатор устройства для устройства 3400 записи/воспроизведения, считанный из памяти на стадии S3401, совместно означают, что “Устройство, записавшее данные, не является устройством воспроизведения”, то устройство 3400 записи/воспроизведения принимает решение, что “Данные нельзя воспроизводить”, перепрыгивает через стадии S3404-3409 и выходит из процедуры без воспроизведения данных. В любом другом случае, отличном от указанного выше, устройство 3400 записи/воспроизведения принимает решение, что “Данные можно воспроизводить”, и переходит на стадию S3404.
Операции, выполняемые на стадиях S3404-3409, аналогичны операциям, выполняемым на стадиях S2404-2409 на фиг.29, и поэтому их описание повторно не приводится.
Следует отметить, что в приведенном выше описании уникальный для диска ключ генерируется из ключа носителя и идентификатора диска, и уникальный титульный ключ генерируется из уникального для диска ключа, титульного ключа и идентификатора устройства или из титульного ключа и уникального для устройства ключа, однако уникальный титульный ключ можно генерировать из ключа носителя, идентификатора диска, титульного ключа и идентификатора устройства или уникального для устройства ключа без использования уникального для устройства ключа, и можно генерировать ключ, эквивалентный уникальному титульному ключу, из ключа носителя, идентификатора диска и идентификатора устройства (когда не установлено ограничение устройства воспроизведения) или уникального для устройства ключа (когда установлено ограничение устройства воспроизведения) без использования титульного ключа.
Данные можно записывать в носитель информации и воспроизводить с носителя информации указанным выше образом.
[Сохранение устройством записи/воспроизведения блока обновления ключа (KRB) в носителе информации]
Следует напомнить, что в примере, показанном и описанном выше, блок обновления ключа предварительно сохраняется в носителе информации, однако устройство 3600 записи/воспроизведения может записывать блок обновления ключа, который оно получило из какого-либо другого устройства через интерфейс 120 или 140 входа/выхода, модем 3601 или т.п., в носитель информации при первичной записи данных в носитель информации или же при каждой записи данных в носитель информации, как показано на фиг.36.
То есть, например, в первом варианте выполнения устройство записи/воспроизведения может быть выполнено с возможностью получения заранее блока обновления ключа и главного ключа, зашифрованного узловыми ключами, через интерфейс 120 или 140 входа/выхода, модем 3601 или т.п. и сохранения их в своей собственной памяти 180, как показано на фиг.37, и затем обработки данных при записи данных содержимого в носитель информации, как показано в графической схеме на фиг.38.
Ниже описание выполняется со ссылками на фиг.38. На стадии S3801 устройство записи/воспроизведения проверяет, записан ли уже блок обновления ключа в носитель информации, в который предстоит записывать данные. Если будет установлен, что блок обновления ключа уже записан в носитель информации, то устройство записи/воспроизведения перепрыгивает стадию S3802 и выходит из процедуры (переходит к процедуре записи данных). Если в результате проверки будет установлено, что в носитель информации не записан блок обновления ключа, то устройство записи/воспроизведения переходит на стадию S3902, где оно записывает блок обновления ключа и зашифрованный главный ключ, хранящиеся в его собственной памяти 180, в носитель информации, как показано на фиг.39. После выполнения этой записи устройство записи/воспроизведения переходит к записи данных содержимого.
Указанный способ не ограничивается записью данных с помощью главного ключа, а может применяться для записи данных с помощью ключа носителя, как во втором варианте выполнения.
[Управление копированием при записи данных]
Для защиты прибыли владельца авторских прав лицензированное устройство должно управлять копированием содержимого.
То есть, при записи содержимого в носитель информации необходимо проверять, можно или нет копировать содержимое, и записывать только данные, которые можно копировать. Для воспроизведения содержимого с носителя информации и выдачи данных также необходимо защищать содержимое от нелегального копирования в последующем.
Ниже приводится описание операций устройства записи/воспроизведения, показанного на фиг.1 и 2, для записи или воспроизведения такого содержимого при одновременном управлении копированием со ссылками на графические схемы, показанные на фиг.40 и 41.
Во-первых, для записи внешнего содержимого цифровых сигналов в носитель информации выполняются операции записи, иллюстрированные в графической схеме, показанной на фиг.40А. Ниже приводится в качестве примера описание операций на фиг.40А относительно устройства 100 записи/воспроизведения, показанного на фиг.1. Интерфейс 120 входа/выхода принимает на стадии S4001 содержимое цифровых сигналов (цифровое содержимое) через последовательную шину IEEE 1394 или т.п., и устройство записи/воспроизведения переходит на стадию S4002.
На стадии S4002 интерфейс 120 входа/выхода определяет, можно ли копировать подаваемое цифровое содержимое. То есть, в случае, когда принятое интерфейсом 120 входа/выхода содержимое не зашифровано (например, на интерфейс 120 входа/выхода подается открытое или не зашифрованное содержимое без применения указанного выше стандарта DTCP), то принимается решение, что содержимое можно копировать.
В данном случае предполагается, что устройство 100 записи/воспроизведения является устройством, соответствующим стандарту DTCP, и записывает данные в соответствии со стандартом DTCP. Стандарт DTCP определяет индикатор режима копирования (EMI) из 2 бит в качестве информации управления копированием. Когда индикатор режима копирования равен 00В (В указывает, что предшествующая величина является двоичным числом), то это означает, что содержимое можно свободно копировать (свободное копирование). Когда индикатор режима копирования равен 01В, то это означает, что содержимое нельзя копировать более заданного предела (ограниченное копирование). Кроме того, когда индикатор режима копирования равен 10В, то это означает, что содержимое можно копировать один раз (однократное копирование). Когда индикатор режима копирования равен 11В, то это означает, что содержимое запрещено для копирования (запрещенное копирование).
Сигналы, подаваемые в интерфейс 120 входа/выхода устройства 100 записи/воспроизведения содержат, индикатор режима копирования. Когда индикатор режима копирования означает “свободное копирование” или “однократное копирование”, то принимается решение, что содержимое можно копировать. С другой стороны, когда индикатор режима копирования означает “ограниченное копирование” или “запрещенное копирование”, то принимается решение, что содержимое нельзя копировать.
Если результатом принятия решения на стадии S4002 является то, что содержимое нельзя копировать, то устройство 100 записи/воспроизведения пропускает стадии S4003-4005 и выходит из процедуры записи. Поэтому в этом случае содержимое не копируется в носитель 195 информации.
Если результатом принятия решения на стадии S4002 является то, что содержимое можно копировать, то устройство 100 записи/воспроизведения переходит на стадию S4003. Затем на стадиях S4003-4005 устройство 100 записи/воспроизведения последовательно выполняет операции, аналогичные операциям на стадиях S302, 303 и 304 на фиг.3А. То есть, процессор 300 TS присоединяет штамп времени входа к каждому пакету TS, включенному в транспортный поток, криптографический блок 150 шифрует данные, и зашифрованные данные из криптографического блока 150 записываются в носитель 195 информации. Здесь устройство записи/воспроизведения выходит из процедуры записи.
Следует отметить, что индикатор режима копирования включен в цифровые сигналы, подаваемые в интерфейс 120 входа/выхода. В случае, когда цифровое содержимое записывается в носитель 195 информации, индикатор режима копирования или информация, указывающая статус управления копированием, аналогичная индикатору режима копирования (например, включенная информация управления копированием, определенная стандартом DTCP или т.п.), записывается вместе с цифровым содержимым.
Обычно, информация, обозначающая однократное копирование” преобразуется в “ограниченное копирование” и записывается для запрещения копирования сверх заданного предела.
Устройство записи/воспроизведения согласно данному изобретению записывает информацию управления копированием, такую как индикатор режима копирования (EMI), включенная информация управления копированием (CCI), т.е. присоединенная к пакетам TS. То есть, также как в примерах 2 и 3 на фиг.10, к каждому пакету TS присоединяются 32 бита, включающие 24-30 битов штампа времени хода и информацию управления копированием, как показано на фиг.5.
Для записи, внешнего содержимого аналоговых сигналов в носитель информации выполняется процедура записи, представленная графической схемой на фиг.40В. Ниже приводится описание процедуры записи, показанной на фиг.40В. Содержимое из аналоговых сигналов (аналоговое содержимое) подается на стадии S4011 в интерфейс 140 входа/выхода. Затем устройство записи/воспроизведения переходит на стадию S4012, где оно определяет, можно ли копировать принятое аналоговое содержимое.
На стадии S4012 принимается решение на основе того, содержат или нет сигналы, принятые интерфейсом 140 входа/выхода, сигнал Macrovision и сигнал CGMS-A (система управления количеством копирования для аналоговых сигналов). При записи на ленту видеокассет VHS сигнал Macrovision является шумом. Если сигнал Macrovision включен в сигналы, принятые интерфейсом 140 входа/выхода, то принимается решение, что аналоговое содержимое нельзя копировать.
Сигнал CGMS-A является сигналом CGMS, используемым для управления копированием цифровых сигналов, и применяется для управления копированием аналоговых сигналов. Он указывает, что содержимое можно свободно копировать или копировать один раз или нельзя копировать (свободное копирование, однократное копирование и запрещенное копирование).
Поэтому, если сигнал CGMS-A включен в сигнал, принятый интерфейсом 140 входа/выхода и означает “свободное копирование” или “одноразовое копирование”, то принимается решение, что аналоговое содержимое можно копировать. Когда сигнал CGMS-A означает “запрещенное копирование”, то принимается решение, что аналоговое содержимое нельзя копировать.
Кроме того, в случае, когда в сигналы, принятые интерфейсом 140 входа/выхода, не включен ни сигнал Macrovision, ни сигнал CGMS-A, то принимается решение, что аналоговое содержимое можно копировать.
Если на стадии S4012 будет принято решение, что аналоговое содержимое нельзя копировать, то устройство 100 записи/воспроизведения перепрыгивает через стадии S4013-4017 и выходит из процедуры записи. Поэтому в этом случае содержимое не записывается в носитель 195 информации.
Если на стадии S4012 будет установлено, что аналоговое содержимое можно копировать, то устройство записи/воспроизведения переходит на стадию S4013. Затем на стадиях S4013-4017 последовательно выполняются операции, аналогичные операциям, выполняемым на стадиях S322-326 на фиг.3В, при этом содержимое преобразуется в цифровое содержимое и затем подвергается кодированию MPEG, выполняются обработка транспортного потока и шифрование для записи в носитель информации. Здесь устройство записи/воспроизведения выходит из процедуры записи.
Следует отметить, что когда аналоговые сигналы, приятые интерфейсом 140 входа/выхода, включают сигнал CGMS-A, то сигнал CGMS-A также записывается в носитель информации, когда записывается аналоговое содержимое в носитель информации. А именно, сигнал CGMS-A записывается на месте информации управления копированием или другой информации, показанных на фиг.10. Обычно, информация, обозначающая “одноразовое копирование” преобразуется в “ограниченное копирование” для предотвращения копирования сверх заданного предела. Однако такое преобразование и не выполняется при условии, что в системе установлено правило, по которому информация управления копированием “одноразовое копирование” не должна преобразовываться в “ограниченное копирование”, а должно восприниматься как “ограниченное копирование”.
[Управление копированием при воспроизведении данных]
Затем содержимое считывается с носителя информации и выдается в виде цифрового содержимого наружу, как показано в графической схеме на фиг.41А. Ниже приводится описание операций, показанных на фиг.41А. Сначала на стадиях S4101, 4102 и 4103 выполняют операции, аналогичные операциям, выполняемым на стадиях S401, 402 и 403 на фиг.4А, при этом зашифрованное содержимое, считанное с носителя информации, расшифровывается с помощью криптографического блока 150 и выполняется обработка транспортного потока. После выполнения этой обработки цифровое содержимое подается на интерфейс 120 входа/выхода через шину 110.
На стадии S4104 интерфейс 120 входа/выхода определяет, можно ли впоследствии копировать цифровое содержимое, поданное в него. А именно, в случае, когда цифровое содержимое, поданное в интерфейс 120 входа/выхода, не включает индикатор режима копирования или информацию, указывающую статус управления копированием (информацию управления копированием), подобную индикатору режима копирования, то принимается решение, что содержимое можно копировать в последующем.
В случае, когда цифровое содержимое, подаваемое в интерфейс 120 входа/выхода включает, например, индикатор режима копирования, а именно, в случае, когда индикатор режима копирования был записан в соответствии со стандартом DTCP во время записи данных, и если индикатор режима копирования (записанный индикатор режима копирования) обозначает “свободное копирование”, то также принимается решение, что содержимое можно копировать в последующем. Когда индикатор режима копирования обозначает “ограниченное копирование”, то принимается решение, что содержимое нельзя копировать в последующем.
Следует напомнить, что обычно записанный индикатор режима копирования не обозначает “одноразовое копирование” и “запрещенное копирование”, поскольку значение индикатора режима копирования “одноразовое копирование” преобразуется в “ограниченное копирование” во время записи данных, а цифровое содержимое, имеющее значение индикатора режима копирования “запрещенное копирование”, не записывается в носитель информации. Однако преобразование индикатора режима копирования может не выполняться при условии, что в системе принято правило, что информация управления копированием “одноразовое копирование” не должна преобразовываться в “ограниченное копирование” для записи, а должна восприниматься как “ограниченное копирование”.
Если на стадии S4104 будет принято решение, что содержимое можно копировать в последующем, то интерфейс 120 входа/выхода переходит на стадию S4105, где он выдает цифровое содержимое наружу и выходит из процедуры воспроизведения.
Если на стадии S4104 будет принято решение, что содержимое нельзя копировать в последующем, то интерфейс 120 входа/выхода переходит на стадию S4106, где он выдает в соответствии со стандартом DTCP или т.п. цифровое содержимое в такой форме, которую нельзя копировать, и выходит из процедуры воспроизведения.
То есть, в случае, когда записанный EMI обозначает “запрещенное копирование”, как указывалось выше (или если в системе определено правило, что информация управления копированием “одноразовое копирование” не должна преобразовываться в “ограниченное копирование для записи, а должна восприниматься как “запрещенное копирование”, и EMI, записанное при том условии означает “одноразовое копирование”), то содержимое запрещается для дальнейшего копирования.
Таким образом, интерфейс 120 входа/выхода выполняет взаимную аутентификацию с взаимодействующим устройством в соответствии со стандартом DTCP. Если взаимодействующее устройство является законным (устройством, соответствующим стандарту DTCP), то интерфейс 120 входа/выхода шифрует цифровое содержимое и выдает данные наружу.
Затем для воспроизведения содержимого с носителя информации и выдачи данных в виде аналогового содержимого, выполняется воспроизведение в соответствии с графической схемой на фиг.41В. Ниже приводится описание операций воспроизведения со ссылками на фиг.41В. На стадиях S4111-4115 выполняются операции, аналогичные операциям, выполняемым на стадиях S421-425 на фиг.4В. А именно, зашифрованное содержимое считывается и подвергаются расшифровке, обработке TS, декодированию MPEG и цифро-аналоговому преобразованию. Полученное таким образом аналоговое содержимое принимается интерфейсом 140 входа/выхода.
На стадии S4116 интерфейс 140 входа/выхода принимает решение, можно ли копировать поставляемое содержимое в последующем. А именно, в случае, когда не будет обнаружена информация управления копированием, записанная вместе с записанным содержимым, то принимается решение, что содержимое можно копировать в последующем.
В случае, когда индикатор режима копирования (EMI) или информация управления копированием была записана во время записи содержимого в соответствии, например, со стандартом DTCP, и если индикатор режима копирования или информация управления копированием обозначает “свободное копирование”, то принимается решение, что содержимое можно копировать в последующем.
В случае, когда индикатор режима копирования или информация управления обозначает “ограниченное копирование”, или же в случае, когда в системе принято правило, что информация управления копированием “одноразовое копирование” не должна преобразовываться в “ограниченное копирование” для записи, а должна восприниматься как “ограниченное копирование” и если индикатор режима копирования или информация управления копированием, записанная при этих условиях, обозначает “одноразовое копирование”, то принимается решение, что содержимое нельзя копировать в последующем.
Кроме того, в случае, когда аналоговое содержимое, поставляемое в интерфейс 140 входа/выхода, включает сигнал CGMS-A, а именно в случае, когда сигнал CGMS-A был записан вместе с содержимым во время записи содержимого, и если сигнал CGMS-A обозначает “свободное копирование”, то принимается решение, что аналоговый сигнал можно копировать в последующем. Когда сигнал CGMS-A обозначает “запрещенное копирование”, то принимается решение, что аналоговое содержимое нельзя копировать в последующем.
Если на стадии S3416 принимается решение, что аналоговое содержимое можно копировать в последующем, то интерфейс 140 входа/выхода переходит на стадию S4117, где он выдает аналоговые сигналы, поступившие в него, в неизмененном виде и выходит из процедуры воспроизведения.
Если на стадии S4116 принимается решение, что аналоговое содержимое нельзя копировать в последующем, то интерфейс 140 входа/выхода переходит на стадию S4118, где он выдает аналоговые сигналы, поступившие в него, в таком виде, что содержимое не может быть копировано, и выходит из процедуры воспроизведения.
А именно, в случае, когда информация управления копированием, такая как записанный индикатор режима копирования, обозначает как и выше “ограниченное копирование” (в качестве альтернативного решения, в случае, когда в системе принято правило, что информация управления копированием “одноразовое копирование” не должна преобразовываться в “ограниченное копирование” для записи, а должна восприниматься как “ограниченное копирование”, и если информация управления копированием, такая как индикатор режима копирования, записанный при этих условиях, обозначает “одноразовое копирование”), то содержимое запрещается для дальнейшего копирования.
Таким образом, интерфейс 140 входа/выхода присоединяет сигнал Macrovision и сигнал CGMS-A, обозначающий “запрещенное копирование”, к аналоговому содержимому и выдает аналоговый сигнал наружу. В случае, когда сигнал CGMS-A обозначает, например, “запрещенное копирование”, то содержимое запрещается для дальнейшего копирования. Таким образом, интерфейс 140 входа/выхода модифицирует сигнал CGMS-A в “запрещенное копирование” и выдает его вместе с аналоговым содержимым наружу.
Как указывалось выше, посредством управления копированием содержимого во время записи или воспроизведения содержимого можно предотвращать копирование содержимого за пределами разрешенного диапазона для содержимого (незаконное копирование).
[Структура процессора данных]
Следует отметить, что указанные выше последовательности операций могут быть выполнены с помощью аппаратного обеспечения или с помощью программного обеспечения. А именно, криптографический блок 150 может быть образован из одной большой интегральной схемы шифрования/расшифровки, а криптография, а именно шифрование/расшифровка, выполняемая криптографическим блоком 150, может выполняться компьютером общего назначения или же однокристальным микрокомпьютером, выполняющим соответствующую программу. Аналогичным образом, процессор 300 TS может быть заменен программным обеспечением. Для выполнения последовательностей операций по обработке транспортного потока с помощью программного обеспечения, программу, включающую программное обеспечение, устанавливают в компьютер общего назначения, однокристальный микрокомпьютер или т.п. На фиг.42 показан пример структуры одного варианта выполнения компьютера, в котором установлена программа для выполнения последовательности операций.
Программа может быть предварительно записана на жесткий диск 4205 и в ПЗУ 4203 в качестве носителя информации, включенного в компьютер. В качестве альтернативного решения, программа может быть сохранена (записана) временно или постоянно в съемный носитель 4210 информации, такой как гибкий диск, CD-ROM (компакт-диск только для считывания), МО (магнитооптический диск), DVD (цифровой универсальный диск), магнитный диск, полупроводниковая память или т.п. Такой съемный носитель 4210 информации может быть создан как так называемое пакетное программное обеспечение.
Следует напомнить, что программа может быть установлена в компьютер с указанного выше съемного носителя 4210 информации, или же передана с сайта загрузки в компьютер с помощью сети радиосвязи через спутник цифрового вещания, или же передана в компьютер по кабелю через сеть, такую как местная вычислительная сеть, Интернет или т.п., компьютер принимает переданную таким образом программу с помощью своего блока 4208 связи и устанавливает ее на встроенный жесткий диск 4205.
Как показано, компьютер содержит центральный процессор 4202. Центральный процессор 4202 соединен с интерфейсом 4211 ввода/вывода через шину 4201. Когда центральный процессор 4202 получает инструкцию из блока 4207 ввода, обслуживаемого пользователем, такого как клавиатура, мышь или т.п., через интерфейс 4211 ввода/вывода, то он выполняет программу, хранящуюся в ПЗУ 4203.
В качестве альтернативного решения, центральный процессор 4202 загружает в ОЗУ 4204 для выполнения программу, хранящуюся в жестком диске 4205, программу, переданную со спутника или из сети, принятую блоком 4208 связи и установленную на жесткий диск 4205, или программу, считанную со съемного носителя 4210 информации, установленного в привод 4209, и установленную на жесткий диск 4205.
Таким образом, центральный процессор 4202 выполняет операции, показанные в указанных выше графических схемах, или операции, показанные в указанных выше блок-схемах. Центральный процессор 4202 выдает результаты этих операций из блока 4206 вывода, такого как жидкокристаллический экран (LCD) или громкоговоритель, или передает их из блока 4208 связи, или записывает их на жесткий диск 4205 через интерфейс 4211 ввода/вывода, по потребности.
Следует отметить, что операции или процессы для описания программы, которая обеспечивает выполнение компьютером различных операций, может не всегда выполняться в той временной последовательности, как и в графических схемах, а может содержать операции, которые выполняются параллельно или индивидуально (например, параллельные процессы или объектные процессы).
Программа может быть программой, которая может выполняться одним компьютером или же децентрализованным образом множеством компьютеров. Кроме того, программа может быть программой, которую можно передавать в удаленный компьютер для выполнения.
Выше приводилось описание данного изобретения применительно к примеру, в котором криптографический блок, образованный из однокристальной большой интегральной схемы шифрования, расшифровки, шифрует и расшифровывает содержимое. Однако следует отметить, что блок шифрования/расшифровки содержимого может быть одним модулем программного обеспечения, который подлежит выполнению с помощью, например, центрального процессора 170, показанного на фиг.1 и 2. Аналогичным образом, операции процессора 300 TS могут выполняться одним модулем программного обеспечения, который подлежит выполнению с помощью центрального процессора 170.
[Устройство и способ для изготовления носителя информации]
Данное изобретение также обеспечивает создание устройства и способа для изготовления указанного выше носителя информации, согласно данному изобретению. Ниже приводится описание устройства и способа.
На фиг.43 показано устройство для изготовления диска, которое записывает также идентификатор диска, блок обновления ключа и зашифрованный главный ключ или ключ носителя в носитель информации.
Устройство для изготовления диска, показанное на фиг.43, записывает идентификатор диска, блок обновления ключа и зашифрованный главный ключ или ключ носителя в носитель информации, уже собранный в процессе сборки (не изображен), а также номер n поколения предшествующей записи главного ключа в носитель информации по потребности.
Устройство 4300 для изготовления диска содержит память 4302, в которую предварительно хранится идентификатор диска, блок обновления ключа и зашифрованный главный ключ или ключ носителя, или любое другое средство памяти, интерфейс 4303 носителя информации, который выполняет запись и считывание в и с носителя 4350 информации, интерфейс 4304 входа/выхода, являющийся интерфейсом для других устройств, контроллер 4301, который управляет указанными выше компонентами, и шину 4305, которая соединяет указанные компоненты друг с другом.
В примере, показанном на фиг.43, память 4302 и интерфейс 4303 носителя информации могут быть внешними устройствами, соединенными с устройством 4300 для изготовления диска.
Идентификатор диска, блок обновления ключа, зашифрованный главный ключ и номер n поколения предшествующей записи выдаются, например, центром выдачи ключей (не изображен) и предварительно сохраняются во встроенной или внешней памяти.
Идентификатор диска, блок обновления ключа и зашифрованный главный ключ или ключ носителя, хранящиеся в памяти 4302, записываются в носитель информации через интерфейс 4303 носителя информации под управлением контроллера 4301. Следует отметить, что номер n поколения предшествующей записи записывается в носитель информации по потребности.
Идентификатор диска, блок обновления ключа, зашифрованный главный ключ или ключ носителя, хранящиеся в памяти 4302, и номер n поколения предшествующей записи могут быть предварительно сохранены в памяти 4302, как указывалось выше, а также могут присылаться, например, из центра выдачи ключей через интерфейс 4304 входа/выхода.
На фиг.44 показана последовательность операций, выполняемых в способе изготовления носителя информации, согласно данному изобретению для изготовления носителя информации и записи идентификатора диска, блока обновления ключа, зашифрованного блока обновления ключа или ключа носителя и номера n поколения предшествующей записи в носитель информации.
В способе изготовления носителя информации сначала на стадии S4401 на фиг.44 собирают носитель информации, такой как DVD, CD или т.п., с помощью хорошо известного способа сборки (не изображен).
Затем на стадии S4402 устройство записи/воспроизведения, показанное на фиг.43, записывает в изготовленный носитель информации идентификатор диска, блок обновления ключа и зашифрованный главный ключ или ключ носителя. Устройство записи/воспроизведения также записывает при необходимости в носитель информации номер поколения n предшествующей записи.
После выполнения указанного выше процесса изготовления носитель информации, имеющий записанные в нем идентификатор диска, блок обновления ключа и зашифрованный главный ключ или ключ носителя, поставляется с фабрики. При необходимости носитель информации поставляется с фабрики также с записанным номером п поколения предшествующей записи.
[Формат блока обновления ключа]
На фиг.45 показан пример формата блока обновления ключа (KRB). В формате “Версия” 4501 идентифицирует версию блока обновления ключа. “Глубина” 4502 обозначает номер ступеней иерархического дерева блока обновления ключа для устройства, для которого предназначен носитель информации. “Указатель данных” 4503 обозначает позицию части данных в блоке обновления ключа, и “Указатель метки” 4504 указывает позицию части метки. “Указатель подписи” 4505 указывает позицию подписи. В “части данных” 4506 хранятся данные, производные от шифрования, например, узловых ключей, подлежащих обновлению.
“Часть метки” 4507 является меткой, указывающей геометрию зашифрованных узловых ключей и листовых ключей, хранящихся в части данных. Ниже приводится описание правила присоединения меток со ссылками на фиг.46, на которой показан пример передачи блока обновления ключа, описанного выше применительно к фиг.12А. Текущие данные показаны в правой таблице на фиг.46. Адрес верхнего узла, включенного в текущий шифровальный ключ, принимается в качестве адреса верхнего узла. В этом случае, поскольку адрес верхнего узла содержит ключ K(t)R обновления корневого ключа, то он равен “KR”.
Как показано на фиг.46, данные Enc(K(t)0, K(t)R) на верхней ступени в шифровальном ключе занимают позицию в иерархическом дереве, показанную в левой части фигуры. Ближайшими данными к данным Enc(K(t)0, K(t)R) являются данные Enc(K(t)00, K(t)0) в левом нижнем положении предшествующих данных. Когда здесь нет данных, то метка устанавливается на 0. Когда данные есть, то метка устанавливается на 1. Метка устанавливается как {левая (L) метка, правая (R) метка}. Поскольку имеются данные слева от самых верхних данных Enc(K(t)0, K(t)R), то метка Lметка=0. Данных не имеется справа от данных Enc(K(t)0, K(t)R), поэтому метка Rметка=1. Таким способом метку устанавливают для всех данных для образования ряда данных и ряда меток, показанных на фиг.46С. Узлы в дереве должны предпочтительно обрабатываться с помощью метода “сначала ширина” или “сначала глубина”. В методе “сначала ширина” узлы одной и той же ступени обрабатываются сначала в направлении ширины. В методе “сначала глубина” узлы одной и той же ступени обрабатываются сначала в направлении глубины.
Ниже приводится дальнейшее описание формата блока обновления ключа со ссылками на фиг.45. “Сигнатура” в формате является электронной подписью, выполненной, например, центром выдачи ключей, организацией, регулирующей оплату, или т.п., которая выдала блок обновления ключа. Устройство, принявшее блок обновления ключа, подтверждает посредством верификации подписи, что принятый блок обновления ключа является блоком, выданным законной организацией, выдающей блок обновления ключа.
Выше приводилось подробное описание данного изобретения применительно к специальным вариантам выполнения изобретения. Однако очевидно, что варианты выполнения могут быть модифицированы или изменены специалистами в данной области техники без отхода от объема и идеи данного изобретения. А именно, поскольку данное изобретение раскрыто с помощью примеров, то варианты выполнения не следует интерпретировать ограничительным образом. Данное изобретение по существу определено в формуле изобретения, приведенной ниже.
Промышленная применимость
Как указывалось выше, поскольку обновленные данные главного ключа и ключа носителя передаются все вместе с блоком обновления ключа с помощью древовидной системы распределения ключей, то устройство записи/воспроизведения информации, согласно данному изобретению, может передавать или распределять подлежащие расшифровке ключи только в устройство, к котором необходимо обновить ключи, и тем самым можно уменьшить размер сообщения, подлежащего распределению. Кроме того, ключ, который может быть расшифрован только конкретной группой устройств, заданной древовидной структурой, и который не может быть расшифрован любым другим устройством, не относящимся к группе, можно распределять с помощью сообщения сокращенной длины, так что обеспечивается защита распределения или доставки ключа.
Согласно данному изобретению ключ, подлежащий передаче в каждое из устройств записи/воспроизведения с помощью древовидной системы распределения ключей, может быть главным ключом, который может использоваться совместно в системе, заданной конкретной группой, включенной в древовидную структуру, или ключом носителя, уникальным для каждого носителя информации. За счет генерирования блока обновления ключа, уникального для каждого устройства записи/воспроизведения или носителя информации, и доставки его им через сеть или носитель, можно просто и надежно обновлять ключ.
Таким образом, согласно данному изобретению можно строить систему записи/воспроизведения информации, в которой можно исключить незаконное копирование (против воли владельца авторских прав) защищенных авторским правом данных, таких как фильмы, музыка и т.п.
С помощью системы, в которой используется управляемый в соответствии с поколением главный ключ и в которой можно распределять главный ключ, обновляемый с помощью блока обновления ключа, можно генерировать блок уникального ключа, ориентированный на устройство, способное обновлять обновленный главный ключ, зашифрованный и распределяемый вместе с блоком обновления ключа. Таким образом, согласно данному изобретению можно генерировать зашифрованный главный ключ, который может быть расшифрован только устройством, нуждающимся в обновлении главного ключа, и надежно обновлять главный ключ без выполнения обычной аутентификации с каждым устройством.
Кроме того, в устройстве записи/воспроизведения информации и в способе записи/воспроизведения информации согласно данному изобретению выполняется не только шифрование с помощью главного ключа с управляемым поколением или ключа носителя, но также шифрование с устанавливаемым ограничением устройства воспроизведения, для сохранения данных в носителе информации. Благодаря такой системе, данные записываются в носитель информации посредством использования уникального для устройства ключа для воздействия на шифровальный ключ, с помощью которого были зашифрованы данные, когда установлено ограничение устройства воспроизведения (данные могут воспроизводиться только ограниченным устройством воспроизведения). В случае, когда не установлено ограничение устройства воспроизведения, используют идентификатор устройства для оказания воздействия на шифровальный ключ, с помощью которого были зашифрованы данные, при этом шифруются данные, подлежащие записи в носитель информации. Кроме того, поскольку информация идентификации устройства для устройства, записавшего данные, и информация, указывающая, что было использовано для записи данных, режим ограничения устройства воспроизведения или режим не ограничения устройства воспроизведения (флаг ограничения устройства воспроизведения), записывается в носитель информации, то только устройство, знающее уникальный для устройства ключ и записавшее данные, может расшифровать данные, кода установлено ограничение устройства воспроизведения. Когда ограничение устройства воспроизведения не установлено, то любое устройство может расшифровывать данные с помощью информации идентификации устройства (идентификатора устройства) для устройства, записавшего данные.
Устройство и метод записи/воспроизведения информации, согласно данному изобретению, обеспечивают генерирование шифровального блочного ключа для данных блока на основе штампа времени входа, который является случайными данными, соответствующими времени прихода каждого пакета. Таким образом, можно генерировать уникальный ключ, который изменяется от одного блока к другому, использовать разный шифровальный ключ для каждого блока и тем самым повышать защиту от криптоанализа данных. За счет генерирования блочного ключа на основе штампа времени входа, нет необходимости предусматривать в носителе информации зону для хранения шифровального ключа для каждого блока, и тем самым можно более эффективно использовать зону для основных данных. Кроме того, во время записи или воспроизведения данных не требуется доступа к другим данным кроме основных данных, за счет чего можно более эффективно выполнять запись или воспроизведение.
Формула изобретения
1. Устройство записи информации для записи информации в носитель информации, при этом устройство содержит криптографическое средство, имеющее узловой ключ, уникальный для каждого из узлов, включенных в иерархическую древовидную структуру, в которую включены множество устройств записи информации в качестве каждого из листьев древовидной структуры, и листовой ключ, уникальный для каждого из устройств записи информации, и которое шифрует данные, подлежащие сохранению в носителе информации; при этом криптографическое средство генерирует шифровальный ключ на основе данных для генерирования шифровального ключа, встроенных в устройство записи информации, для шифрования данных, подлежащих сохранению в носителе информации; и при этом данные для генерирования шифровального ключа являются данными, которые можно обновлять с помощью, по меньшей мере, узлового ключа или листового ключа; и средство записи, предназначенное для записи данных, зашифрованных криптографическим средством, в носитель информации.
2. Устройство по п.1, отличающееся тем, что данные для генерирования шифровального ключа являются главным ключом, общим для множества устройств записи информации.
3. Устройство по п.1, отличающееся тем, что данные для генерирования шифровального ключа являются ключом носителя, уникальным для конкретного носителя информации.
4. Устройство по п.1, отличающееся тем, что узловой ключ может быть обновлен; когда обновляется узловой ключ, распределяется блок обновления ключа (KRB), производный от шифрования узлового ключа обновления с помощью, по меньшей мере, узлового ключа или листового ключа на нижней ступени древовидной структуры, в устройство записи информации в листе, где необходимо обновить данные для генерирования шифровального ключа; и криптографическое средство в устройстве записи информации принимает данные обновления для данных генерирования шифровального ключа, зашифрованных обновленным узловым ключом, шифрует блок обновления ключа для получения обновленного узлового ключа и вычисляет данные обновления для данных генерирования шифровального ключа на основе обновленного узлового ключа, полученного таким образом.
5. Устройство по п.4, отличающееся тем, что блок обновления ключа хранится в носителе информации и криптографическое средство шифрует блок обновления ключа, считанный с носителя информации.
6. Устройство по п.1, отличающееся тем, что данные для генерирования шифровального ключа имеют номер поколения в качестве информации обновления, коррелированной с ним; и криптографическое средство сохраняет в носителе информации в качестве номера поколения записи номер поколения данных для генерирования шифровального ключа, которые были использованы при сохранении зашифрованных данных в носителе информации.
7. Устройство по п.1, отличающееся тем, что селективно выполняются следующие процедуры шифрования в зависимости от того, установлено или нет ограничение устройства воспроизведения: когда ограничение устройства воспроизведения не установлено, то генерируется первый шифровальный ключ для данных, подлежащих сохранению в носителе информации, на основе данных для генерирования первого шифровального ключа для шифрования данных, подлежащих сохранению в носителе информации, с помощью первого шифровального ключа, и данные для генерирования первого шифровального ключа сохраняются в носителе информации; и когда установлено ограничение устройства воспроизведения, то генерируется второй шифровальный ключ для данных, подлежащих сохранению в носителе информации, на основе данных для генерирования второго шифровального ключа, встроенных в устройство записи информации, для шифрования данных, подлежащих сохранению в носителе информации, с помощью второго шифровального ключа.
8. Устройство по п.7, отличающееся тем, что криптографическое средство выполняет следующее в зависимости от того, установлено или нет ограничение устройства воспроизведения: когда не установлено ограничение устройства воспроизведения, то криптографическое средство генерирует уникальный титульный ключ из главного ключа, поколение которого является управляемым, хранящегося в устройстве записи информации, идентификатора диска, являющегося идентификатором, уникальным для носителя информации, титульного ключа, уникального для данных, подлежащих записи в носитель информации, и идентификатора устройства, являющегося идентификатором для устройства записи информации, для генерирования первого шифровального ключа из уникального титульного ключа; и когда установлено ограничение устройства воспроизведения, криптографическое средство генерирует уникальный титульный ключ из главного ключа с управляемым поколением, хранящегося в устройстве записи информации, идентификатора диска, являющегося идентификатором, уникальным для носителя информации, титульного ключа, уникального для данных, подлежащих записи в носитель информации, и уникального для устройства ключа, уникального для устройства записи информации, для генерирования второго шифровального ключа из уникального титульного ключа.
9. Устройство по п.1, отличающееся тем, что дополнительно содержит средство обработки транспортного потока для присоединения штампа времени входа (ATS) к каждому из дискретных транспортных пакетов, включенных в транспортный поток; при этом криптографическое средство генерирует блочный ключ в качестве ключа шифрования данных блока, включающих более одного транспортных пакетов, каждый из которых имеет присоединенный штамп времени входа; и криптографическое средство генерирует блочный ключ в качестве шифровального ключа при шифровании данных, подлежащих сохранению в носителе информации, на основе данных, включающих данные для генерирования шифровального ключа, и начального числа блока, которое является дополнительной информацией, уникальной для данных блока, и включает штамп времени входа.
10. Устройство по п.1, отличающееся тем, что криптографическое средство шифрует данные, подлежащие сохранению в носителе информации, в соответствии с алгоритмом DES (стандарт шифрования данных).
11. Устройство по п.1, отличающееся тем, что предусмотрено интерфейсное средство для приема информации, подлежащей записи в носитель информации; при этом интерфейсное средство идентифицирует информацию управления копированием, присоединенную к каждому из пакетов, включенных в транспортный поток, для определения на основе информации управления копированием, возможна или нет запись в носитель информации.
12. Устройство по п.1, отличающееся тем, что предусмотрено интерфейсное средство для приема информации, подлежащей записи в носитель информации; при этом интерфейсное средство идентифицирует двухбитовый индикатор режима шифрования (EMI) в качестве информации управления копированием для определения на основе EMI, возможна или нет запись в носитель информации.
13. Устройство воспроизведения информации для воспроизведения информации с носителя информации, включающее средство воспроизведения для воспроизведения информации с носителя информации, при этом устройство, имеющее узловой ключ, уникальный для каждого из узлов, включенных в иерархическую древовидную структуру, в которую включены множество устройств записи информации в качестве каждого из листьев древовидной структуры, и листовой ключ, уникальный для каждого из устройств записи информации, содержит криптографическое средство для расшифровки зашифрованных данных, хранящихся в носителе информации; при этом криптографическое средство генерирует ключ расшифровки на основе данных для генерирования ключа расшифровки, встроенных в устройство записи информации, для расшифровки данных, хранящихся в носителе информации; и при этом данные для генерирования ключа расшифровки являются данными, которые можно обновлять с помощью, по меньшей мере, узлового ключа или листового ключа.
14. Устройство по п.13, отличающееся тем, что данные для генерирования ключа расшифровки являются главным ключом, общим для множества устройств записи информации.
15. Устройство по п.13, отличающееся тем, что данные для генерирования ключа расшифровки являются ключом носителя, уникальным для конкретного носителя информации.
16. Устройство по п.13, отличающееся тем, что узловой ключ может быть обновлен; распределяется, когда обновляется узловой ключ, блок обновления ключа (KRB), производный от шифрования узлового ключа обновления с помощью, по меньшей мере узлового ключа или листового ключа на нижней ступени древовидной структуры, в устройство воспроизведения информации в листе, где необходимо обновить данные для генерирования шифровального ключа; и криптографическое средство в устройстве записи информации принимает данные обновления для данных генерирования ключа расшифровки, зашифрованных обновленным узловым ключом, шифрует блок обновления ключа для получения обновленного узлового ключа и вычисляет данные обновления для данных генерирования ключа расшифровки на основе обновленного узлового ключа, полученного таким образом.
17. Устройство по п.13, отличающееся тем, что блок обновления ключа сохраняется в носителе информации и криптографическое средство шифрует блок обновления ключа, считанный с носителя информации.
18. Устройство по п.13, отличающееся тем, что данные для генерирования ключа расшифровки имеют номер поколения в качестве информации обновления, коррелированной с ним, и криптографическое средство считывает с носителя информации при расшифровке зашифрованных данных с носителя информации номер поколения данных для генерирования шифровального ключа, которые были использованы при шифровании зашифрованных данных, и генерирует ключ расшифровки из данных для генерирования ключа расшифровки, соответствующих считанному таким образом номеру поколения.
19. Устройство по п.13, отличающееся тем, что селективно выполняются следующие процедуры расшифровки, каждая из которых подлежит выполнению в зависимости от того, установлено или нет ограничение устройства воспроизведения: когда ограничение устройства воспроизведения не установлено, то генерируется первый ключ расшифровки для зашифрованных данных, хранящихся в носителе информации, на основе данных для генерирования первого ключа расшифровки, хранящихся в носителе информации, для расшифровки зашифрованных данных с помощью первого ключа расшифровки; и когда установлено ограничение устройства воспроизведения, то генерируется второй ключ расшифровки для зашифрованных данных, хранящихся в носителе информации, на основе данных для генерирования второго шифровального ключа, встроенных в устройство записи информации, для расшифровки зашифрованных данных с помощью второго ключа расшифровки.
20. Устройство по п.19, отличающееся тем, что криптографическое средство в зависимости от того, установлено или нет ограничение устройства воспроизведения, выполняет следующее: когда не установлено ограничение устройства воспроизведения, то криптографическое средство получает главный ключ с управляемым поколением, хранящийся в устройстве записи информации, и получает из носителя информации идентификатор диска, являющийся идентификатором, уникальным для носителя информации, титульный ключ, уникальный для данных, подлежащих расшифровке, и идентификатор устройства, являющийся идентификатором для устройства записи информации, записавшего зашифрованные данные, для генерирования уникального титульного ключа из главного ключа, идентификатора диска, титульного ключа, и ключа устройства, и первого ключа расшифровки из уникального титульного ключа; и когда установлено ограничение устройства воспроизведения, то криптографическое средство получает главный ключ с управляемым поколением, хранящийся в устройстве записи информации, и уникальный для устройства ключ, уникальный для устройства записи информации и хранящийся в нем, и получает из носителя информации идентификатор диска, являющийся идентификатором, уникальным для носителя информации, и титульный ключ, уникальный для данных, подлежащих расшифровке, для генерирования уникального титульного ключа из главного ключа, идентификатора диска, титульного ключа и уникального для устройства ключа и второй ключ расшифровки генерируется из уникального титульного ключа.
21. Устройство по п.13, отличающееся тем, что дополнительно содержит средство обработки транспортного потока для управления выдачей данных на основе штампа времени входа (ATS), присоединенного к каждому из множества транспортных пакетов, включенных в данные блока, расшифрованные с помощью криптографического средства; при этом криптографическое средство генерирует блочный ключ в качестве ключа расшифровки для данных блока, включающих более одного пакетов, каждый из которых имеет присоединенный штамп времени входа; и генерируется блочный ключ в качестве ключа расшифровки при расшифровке зашифрованных данных, хранящихся в носителе информации, на основе данных, включающих данные для генерирования ключа расшифровки, и начального числа блока, которое является дополнительной информацией, уникальной для данных блока, включающей штамп времени входа.
22. Устройство по п.13, отличающееся тем, что криптографическое средство расшифровывает зашифрованные данные, хранящиеся в носителе информации, в соответствии с алгоритмом DES.
23. Устройство по п.13, отличающееся тем, что дополнительно предусмотрено интерфейсное средство для приема информации, подлежащей записи в носитель информации; при этом интерфейсное средство идентифицирует информацию управления копированием, присоединенную к каждому из пакетов, включенных в транспортный поток, для определения на основе информации управления копированием, возможно или нет воспроизведение с носителя информации.
24. Устройство по п.13, отличающееся тем, что дополнительно предусмотрено интерфейсное средство для приема информации, подлежащей записи в носитель информации; при этом интерфейсное средство идентифицирует двухбитовый индикатор режима шифрования (EMI) в качестве информации управления копированием для определения на основе EMI, возможно или нет воспроизведение с носителя информации.
25. Способ записи информации для записи информации в носитель информации, при этом способ содержит стадии обновления данных для генерирования шифровального ключа для генерирования шифровального ключа для шифрования данных, подлежащих записи в носитель информации, с помощью, по меньшей мере, узлового ключа, уникального для каждого из узлов, включенных в иерархическую древовидную структуру, в которую включены множество различных устройств записи информации в качестве каждого из листьев древовидной структуры, или листового ключа, уникального для каждого из устройств записи информации; генерирования шифровального ключа на основе данных для генерирования шифровального ключа для шифрования данных, подлежащих сохранению в носителе информации; и записи зашифрованных данных в носитель информации.
26. Способ по п.25, отличающийся тем, что данные для генерирования шифровального ключа являются главным ключом, общим для множества устройств записи информации.
27. Способ по п.25, отличающийся тем, что данные для генерирования шифровального ключа являются ключом носителя, уникальным для конкретного носителя информации.
28. Способ по п.25, отличающийся тем, что узловой ключ может быть обновлен; когда обновляется узловой ключ, распределяют блок обновления ключа, производный от шифрования узлового ключа обновления с помощью, по меньшей мере, узлового ключа или листового ключа на нижней ступени древовидной структуры в устройство записи информации в листе, где необходимо обновить данные для генерирования шифровального ключа; и стадия обновления включает стадии получения обновленного узлового ключа посредством шифрования блока обновления ключа и вычисления данных обновления для данных для генерирования шифровального ключа на основе обновленного узлового ключа, полученного таким образом.
29. Способ по п.25, отличающийся тем, что данные для генерирования шифровального ключа имеют номер поколения в качестве информации обновления, коррелированной с ним, и криптографическая стадия дополнительно содержит стадию сохранения в носителе информации при сохранении зашифрованных данных в носителе информации, номера поколения данных для генерирования шифровального ключа, которые были использованы, в качестве номера поколения записи.
30. Способ по п.25, отличающийся тем, что криптографическая стадия включает следующие две процедуры, одну из которых селективно выполняют в зависимости от того, установлено или нет ограничение устройства воспроизведения: когда ограничение устройства воспроизведения не установлено, то генерируют первый шифровальный ключ для данных, подлежащих сохранению в носителе информации, на основе данных для генерирования первого шифровального ключа данные, подлежащие сохранению в носителе информации, шифруют с помощью первого шифровального ключа и данные для генерирования первого шифровального ключа сохраняют в носителе информации; и когда установлено ограничение устройства воспроизведения, то генерируют второй шифровальный ключ для данных, подлежащих сохранению в носителе информации, на основе данных для генерирования второго шифровального ключа, встроенных в устройство записи информации, и шифруют данные, подлежащие сохранению в носителе информации, с помощью второго шифровального ключа.
31. Способ по п.30, отличающийся тем, что криптографическая стадия в зависимости от того, установлено или нет ограничение устройства воспроизведения, выполняет следующее: когда не установлено ограничение устройства воспроизведения, то криптографическое средство генерирует уникальный титульный ключ из главного ключа с управляемым поколением, хранящегося в устройстве записи информации, идентификатора диска, являющегося идентификатором, уникальным для носителя информации, титульного ключа, уникального для данных, подлежащих записи в носитель информации, и идентификатора устройства, являющегося идентификатором для устройства записи информации, и генерирует первый шифровальный ключ из уникального титульного ключа; и когда установлено ограничение устройства воспроизведения, то криптографическое средство генерируют уникальный титульный ключ из главного ключа с управляемым поколением, хранящегося в устройстве записи информации, идентификатора диска, являющегося идентификатором, уникальным для носителя информации, титульного ключа, уникального для данных, подлежащих записи в носитель информации, и уникального для устройства ключа, уникального для устройства записи информации, и генерирует второй шифровальный ключ из уникального титульного ключа.
32. Способ по п.25, отличающийся тем, что дополнительно содержит стадию обработки транспортного потока для присоединения штампа времени входа (ATS) к каждому из дискретных транспортных пакетов, включенных в транспортный поток, в криптографической стадии: генерируют блочный ключ в качестве ключа шифрования для данных блока, включающих более одного транспортных пакетов, каждый из которых имеет присоединенный штамп времени входа, и генерируют блочный ключ в качестве шифровального ключа при шифровании данных, подлежащих сохранению в носителе информации, на основе данных, включающих данные для генерирования шифровального ключа, и начального числа блока, которое является дополнительной информацией, уникальной для данных блока, и включает штамп времени входа.
33. Способ по п.25, отличающийся тем, что на криптографической стадии шифруют данные, подлежащие сохранению в носителе информации, в соответствии с алгоритмом DES.
34. Способ по п.25, отличающийся тем, что идентифицируют в данных информацию управления копированием, присоединенную к каждому из пакетов, включенных в транспортный поток, для определения на основе информации управления копированием, возможна или нет запись в носитель информации.
35. Способ по п.25, отличающийся тем, что идентифицируют двухбитовый индикатор режима шифрования (EMI) в качестве информации управления копированием для определения на основе EMI, возможна или нет запись в носитель информации.
36. Способ воспроизведения информации для воспроизведения информации с носителя информации, при этом способ содержит стадии воспроизведения информации с носителя информации; обновления данных для генерирования ключа расшифровки, из которых генерируют ключ расшифровки для расшифровки информации, считанной с носителя информации, с помощью по меньшей мере узлового ключа, уникального для каждого из узлов, включенных в иерархическую древовидную структуру, в которую включены в качестве каждого из листьев древовидной структуры, или листового ключа, уникального для каждого из устройств воспроизведения информации; и генерирования ключа расшифровки из данных для генерирования ключа расшифровки, обновленных в стадии обновления, для расшифровки данных, хранящихся в носителе информации.
37. Способ по п.36, отличающийся тем, что данные для генерирования ключа расшифровки являются главным ключом, общим для множества устройств записи информации.
38. Способ по п.36, отличающийся тем, что данные для генерирования ключа расшифровки являются ключом носителя, уникальным для конкретного носителя информации.
39. Способ по п.36, отличающийся тем, что узловой ключ может быть обновлен; когда обновляется узловой ключ, распределяют блок обновления ключа (KRB), производный от шифрования узлового ключа обновления с помощью, по меньшей мере, узлового ключа или листового ключа на нижней ступени древовидной структуры в устройство воспроизведения информации в листе, где необходимо обновить данные для генерирования шифровального ключа; и криптографическая стадия включает стадии шифрования блока обновления ключа для получения обновленного узлового ключа и вычисления данных обновления для данных генерирования ключа расшифровки на основе обновленного узлового ключа, полученного таким образом.
40. Способ по п.36, отличающийся тем, что данные для генерирования ключа расшифровки имеют номер поколения в качестве информации обновления, коррелированной с ним, и в криптографической стадии считывают с носителя информации при расшифровке зашифрованных данных с носителя информации номер поколения данных для генерирования шифровального ключа, которые были использованы при шифровании зашифрованных данных, для генерирования ключа расшифровки из данных для генерирования ключа расшифровки, соответствующих считанному таким образом номеру поколения.
41. Способ по п.36, отличающийся тем, что криптографическая стадия включает следующие две процедуры, каждая из которых подлежит селективному выполнению в зависимости от того, установлено или нет ограничение устройства воспроизведения: когда ограничение устройства воспроизведения не установлено, то генерируют первый ключ расшифровки для зашифрованных данных, хранящихся в носителе информации, на основе данных для генерирования первого ключа расшифровки, хранящихся в носителе информации, зашифрованные данные расшифровывают с помощью первого ключа расшифровки; и когда установлено ограничение устройства воспроизведения, то генерируют второй ключ расшифровки для зашифрованных данных, хранящихся в носителе информации, на основе данных для генерирования второго шифровального ключа, встроенных в устройство записи информации, и зашифрованные данные расшифровывают с помощью второго ключа расшифровки.
42. Способ по п.41, отличающийся тем, что криптографическая стадия включает следующие две процедуры: когда не установлено ограничение устройства воспроизведения, то получают главный ключ с управляемым поколением, хранящийся в устройстве записи информации, а также получают из носителя информации идентификатор диска, являющийся идентификатором, уникальным для носителя информации, титульный ключ, уникальный для данных, подлежащих расшифровке, и идентификатор устройства, являющийся идентификатором для устройства записи информации, записавшего зашифрованные данные, для генерирования уникального титульного ключа из главного ключа, идентификатора диска, титульного ключа, и ключа устройства, и первого ключа расшифровки из уникального титульного ключа; и когда установлено ограничение устройства воспроизведения, то получают главный ключ с управляемым поколением, хранящийся в устройстве записи информации, и уникальный для устройства ключ, уникальный для устройства записи информации и хранящийся в нем, а также получают из носителя информации идентификатор диска, являющийся идентификатором, уникальным для носителя информации, и титульный ключ, уникальный для данных, подлежащих расшифровке, для генерирования уникального титульного ключа из главного ключа, идентификатора диска, титульного ключа и уникального для устройства ключа; и генерируют второй ключ расшифровки из генерированного таким образом уникального титульного ключа.
43. Способ по п.36, отличающийся тем, что устройство воспроизведения дополнительно содержит средство обработки транспортного потока для управления выдачей данных на основе штампа времени входа (ATS), присоединенного к каждому из множества транспортных пакетов, включенных в расшифрованный блок; и в криптографической стадии генерируют блочный ключ в качестве ключа расшифровки для данных блока, включающих более одного пакетов, каждый из которых имеет присоединенный штамп времени входа; и генерируют блочный ключ в качестве ключа расшифровки при расшифровке зашифрованных данных, хранящихся в носителе информации, на основе данных, включающих данные для генерирования ключа расшифровки, и начального числа блока, которое является дополнительной информацией, уникальной для данных блока, и включает штамп времени входа.
44. Способ по п.36, отличающийся тем, что зашифрованные данные, хранящиеся в носителе информации, расшифровывают в соответствии с алгоритмом DES.
45. Способ по п.36, отличающийся тем, что идентифицируют в данных информацию управления копированием, присоединенную к каждому из пакетов, включенных в транспортный поток, для определения на основе информации управления копированием, возможно или нет воспроизведение с носителя информации.
46. Способ по п.36, отличающийся тем, что идентифицируют двухбитовый индикатор режима шифрования (EMI) в качестве информации управления копированием для определения на основе EMI, возможно или нет воспроизведение с носителя информации.
47. Носитель информации, способный записывать информацию, имеющий хранящийся в нем блок обновления ключа (KRB), производный от шифрования обновленного узлового ключа с помощью, по меньшей мере, узлового ключа, уникального для каждого из узлов, включенных в иерархическую древовидную структуру, в которую включены множество различных устройств записи информации в качестве каждого из листьев древовидной структуры, или листового ключа, уникального для каждого из устройств записи информации.
48. Носитель информации по п.47, отличающийся тем, что включены данные, производные от шифрования с помощью обновленного узлового ключа данных для генерирования шифровального ключа, используемых в устройстве записи информации для генерирования шифровального ключа для шифрования данных, подлежащих сохранению в носителе информации.
49. Носитель информации по п.47, отличающийся тем, что включены данные, производные от расшифровки с помощью обновленного узлового ключа данных для генерирования ключа расшифровки, используемых в устройстве воспроизведения информации для генерирования ключа расшифровки для расшифровки зашифрованных данных, хранящихся в носителе информации.
50. Носитель информации по п.47, отличающийся тем, что хранится информация о поколении данных для генерирования шифровального ключа или ключа расшифровки.
51. Устройство обработки информации для записи информации в носитель информации, при этом устройство содержит память для хранения блока обновления ключа (KRB), производного от шифрования обновленного узлового ключа с помощью, по меньшей мере, узлового ключа, уникального для каждого из узлов, включенных в иерархическую древовидную структуру, в которую включены множество различных устройств записи информации в качестве каждого из листьев древовидной структуры, или листового ключа, уникального для каждого из устройств записи информации; и блок управления для управления записью блока обновления ключа (KRB), хранящегося в памяти, в носитель информации.
52. Устройство по п.51, отличающееся тем, что в памяти дополнительно хранятся по меньшей мере идентификатор носителя информации и зашифрованные данные для генерирования шифровального ключа или зашифрованные данные для генерирования ключа расшифровки; и блок управления управляет записью в носитель информации, по меньшей мере, идентификатора носителя информации или зашифрованных данных для генерирования шифровального ключа или зашифрованных данных для генерирования ключа расшифровки.
53. Устройство по п.51, отличающееся тем, что в памяти дополнительно хранится информация о поколении данных для генерирования шифровального ключа или данных для генерирования ключа расшифровки и блок управления управляет записью информации о поколении в носитель информации.
54. Способ обработки информации для записи информации в носитель информации, содержащий стадии сохранения в памяти блока обновления ключа (KRB), производного от шифрования обновленного узлового ключа с помощью, по меньшей мере, узлового ключа, уникального для каждого из узлов, включенных в иерархическую древовидную структуру, в которую включены множество различных устройств записи информации в качестве каждого из листьев древовидной структуры, или листового ключа, уникального для каждого из устройств записи информации; и записи в носитель информации блока обновления ключа (KRB), хранящегося в памяти.
55. Способ по п.54, отличающийся тем, что в памяти дополнительно сохраняют, по меньшей мере, идентификатор носителя информации и зашифрованные данные для генерирования шифровального ключа или зашифрованные данные для генерирования ключа расшифровки и записывают в носитель информации, по меньшей мере, идентификатор носителя информации и зашифрованные данные для генерирования шифровального ключа или зашифрованные данные для генерирования ключа расшифровки.
56. Способ по п.54, отличающийся тем, что в памяти дополнительно сохраняют информацию о поколении данных для генерирования шифровального ключа или данных для генерирования ключа расшифровки и управляют записью информации о поколении в носитель информации.
57. Носитель информации, содержащий компьютерную программу, под управлением которой компьютер выполняет стадии обновления данных для генерирования шифровального ключа для шифрования данных, подлежащих записи в носитель информации, с помощью, по меньшей мере, узлового ключа, уникального для каждого из узлов, включенных в иерархическую древовидную структуру, в которую включены множество различных устройств записи информации в качестве каждого из листьев древовидной структуры, или листового ключа, уникального для каждого из устройств записи информации; и генерирования шифровального ключа на основе данных для генерирования шифровального ключа для шифрования данных, подлежащих сохранению в носителе информации.
58. Носитель информации, содержащий компьютерную программу, под управлением которой компьютер выполняет стадии обновления данных для генерирования ключа расшифровки, из которых генерируется ключ расшифровки для расшифровки зашифрованных данных, хранящихся в носителе информации, с помощью, по меньшей мере, узлового ключа, уникального для каждого из узлов, включенных в иерархическую древовидную структуру, в которую включены различные устройства воспроизведения информации в качестве каждого из листьев древовидной структуры, или листового ключа, уникального для каждого из устройств воспроизведения информации; и генерирования ключа расшифровки из данных для генерирования ключа расшифровки, обновленных в стадии обновления, для расшифровки данных, хранящихся в носителе информации.
РИСУНКИ
|
|