|
(21), (22) Заявка: 2001123250/28, 17.08.2001
(24) Дата начала отсчета срока действия патента:
17.08.2001
(30) Конвенционный приоритет:
18.08.2000 (пп.1-48) JP 2000-248952
(43) Дата публикации заявки: 10.07.2003
(45) Опубликовано: 10.04.2006
(56) Список документов, цитированных в отчете о поиске:
US 4329575 А, 11.05.1982. US 5537387 А, 16.07.1996. WO 93/00680 A1, 07.01.1993. US 6088182 А, 11.07.2000. US 5734630 А, 31.03.1998. RU 2141691 C1, 20.11.1999.
Адрес для переписки:
103735, Москва, ул. Ильинка, 5/2, ООО “Союзпатент”, пат.пов. С.Б.Фелицыной
|
(72) Автор(ы):
ОБАТА Манабу (JP), МАЦУМУРА Митсунори (JP)
(73) Патентообладатель(и):
СОНИ КОРПОРЕЙШН (JP)
|
(54) ДИСКОВЫЙ КАРТРИДЖ, СПОСОБ ЕГО ИЗГОТОВЛЕНИЯ И СИСТЕМА ЗАПИСИ/ВОСПРОИЗВЕДЕНИЯ
(57) Реферат:
Изобретение относится к дисковому картриджу для записи и воспроизведения информации. Дисковый картридж выполняют посредством размещения в корпусе оптического диска, поверхность записи которого содержит кольцевые: внутреннюю зону, зажимную зону, переходную зону, зону записи информации и краевую зону. Информацию идентификации дискового картриджа записывают в переходной зоне оптического диска так, чтобы она была различима снаружи корпуса. Такое техническое решение позволяет пользователю узнавать, какое содержимое записано в дисковом картридже, без необходимости его воспроизведения. 3 н. и 45 з.п. ф-лы, 10 ил. 
Данная заявка основывается на приоритетной заявке JP 2000-248952, поданной в Патентное ведомство Японии 18 августа 2000, полное содержание которой включено в данное описание.
Область техники, к которой относится изобретение
Данное изобретение относится к дисковому картриджу, выполненному с возможностью записи и воспроизведения информации, к способу его изготовления и к системе записи/воспроизведения для записи и воспроизведения информации на такой дисковый картридж и с него.
Уровень техники
В настоящее время реализована возможность записи и/или воспроизведения содержимого телевизионных программ на дисковый картридж и с него, представленный обычно DVD-RAM (DVD-накопитель с возможностью перезаписи), имеющим в нем диск большой емкости, такой как оптический диск, магнитооптический диск и т.п.
Сущность изобретения
Такой тип дискового картриджа большой емкости позволяет записывать значительно большее количество информации. Таким образом, возникает проблема при попытке определить, какой дисковый картридж содержит какую информацию, для чего требовалось вставлять дисковые картриджи по одному в устройство записи/воспроизведения и проигрывать их, что являлось очень неудобным.
Поэтому необходимо было создать новый дисковый картридж, способ его изготовления и систему записи/воспроизведения, которые позволяют пользователю просто узнавать, какая информация хранится на каком дисковом картридже без последовательного вставления всех дисковых картриджей.
С целью решения указанной выше проблемы, связанной с уровнем техники, созданный дисковый картридж, согласно одному аспекту данного изобретения, состоит из диска и корпуса для размещения этого диска. Диск имеет: центральное отверстие, выполненное в центре; кольцевую зону держателя диска, которая проходит в радиальном направлении от указанного центрального отверстия; переходную зону, которая является кольцевой и расположена за зоной держателя диска и не используется для записи информации; и зону записи информации для записи информации, которая является кольцевой и расположена за переходной зоной. Указанная зона записи информации содержит: первую кольцевую зону, которая расположена на внутренней стороне зоны записи информации диска и в которой информация записывается без возможности перезаписи; и вторую кольцевую зону, которая расположена за первой кольцевой зоной и в которой информация записывается с возможностью перезаписи. Кольцевая часть, включающая указанную переходную зону и указанную первую кольцевую зону, определяется как третья кольцевая зона, так что информация идентификации дискового картриджа, относящаяся только к этому диску, записывается в части этой третьей кольцевой зоны, и эта информация идентификации дискового картриджа указывается видимым снаружи корпуса образом.
Поэтому, поскольку информация идентификации дискового картриджа, соответствующая только соответствующему диску, записана в третьей кольцевой зоне диска, то если можно записывать информацию идентификации содержимого и индексную (описательную) информацию содержимого, описывающую содержимое, одновременно с записью содержимого на диск, то эту информацию идентификации содержимого и индексную (описательную) информацию содержимого можно записывать с корреляцией с информацией идентификации дискового картриджа с помощью устройства записи/воспроизведения, используемого для дискового картриджа.
Кроме того, способ изготовления дискового картриджа согласно изобретению предназначен для изготовления дискового картриджа, который содержит диск, на котором создана зона записи информации, и корпус для размещения диска. Способ содержит стадии образования: зону держателя диска, которая проходит кольцом в радиальном направлении от центрального отверстия, предусмотренного в центре диска; переходную зону, которая является кольцевой и расположена за зоной держателя диска и которая не используется для записи информации; и зону записи информации, которая расположена за переходной зоной. Способ дополнительно содержит: первую стадию для формирования первой кольцевой зоны и второй кольцевой зоны в области записи информации, при этом первая кольцевая зона расположена на внутренней стороне зоны записи информации для записи информации без возможности перезаписи, вторая кольцевая зона расположена на внешней стороне зоны записи информации с возможностью перезаписи; вторую стадию установки диска, изготовленного на первой стадии, в корпус; третью стадию записи информации идентификации дискового картриджа, которая присваивается однозначным образом каждому диску, в третьей кольцевой зоне, которая определена как включающая переходную зону и первую кольцевую зону; и четвертую стадию нанесения указанной выше информации идентификации дискового картриджа видимым снаружи корпуса образом.
Кроме того, система записи/воспроизведения, согласно одному аспекту данного изобретения, содержит дисковый картридж и устройство записи/воспроизведения. Дисковый картридж имеет диск, на который можно записывать информацию и с которого можно воспроизводить информацию, и корпус для размещения диска, в котором имеется возможность записывать информацию идентификации дискового картриджа, которая присваивается однозначно этому диску, и эта информация идентификации дискового картриджа также указывается на корпусе видимым снаружи образом. Кроме того, устройство записи/воспроизведения содержит: записывающее устройство для записи содержимого программы, информации идентификации дискового картриджа, присвоенной однозначно каждой части программы, и индексной информации содержимого на диск в дисковом картридже, установленном в устройство записи/воспроизведения; воспроизводящее устройство для воспроизведения информации идентификации дискового картриджа, содержимого, информации идентификации содержимого и индексной информации содержимого, которые записаны на диск; запоминающее устройство для хранения информации идентификации дискового картриджа, информации идентификации содержимого и индексной информации содержимого, которые воспроизводятся воспроизводящим устройством, с взаимосвязью между ними; и поисковое устройство для поиска информации из информации идентификации дискового картриджа, информации идентификации содержимого и индексной информации содержимого, которые записаны в запоминающем устройстве.
Таким образом, в запоминающем устройстве устройства записи/воспроизведения информация идентификации содержимого и индексная информация содержимого записаны в связи с информацией идентификации дискового картриджа, которая однозначно присвоена диску в дисковом картридже, который установлен в устройство записи/воспроизведения.
Поэтому, с использованием поискового устройства можно извлекать информацию идентификации содержимого и/или индексную информацию содержимого, находящуюся в запоминающем устройстве, в соответствии с информацией идентификации дискового картриджа, которая предусмотрена видимым образом снаружи корпуса дискового картриджа, или выполнять поиск информации идентификации дискового картриджа, которая предусмотрена видимым образом снаружи корпуса, в соответствии с индексной информацией содержимого.
Как указано выше, дисковый картридж и способ его изготовления имеют те преимущества, что информация идентификации дискового картриджа, присвоенная однозначным образом каждому диску, записывается в третьей кольцевой зоне диска, при этом если обеспечивается запись на диске информации идентификации содержимого и индексной информации содержимого, описывающей содержимое, когда выполняется запись содержимого программы на диск, то обеспечивается хранение этой информации идентификации содержимого и индексной информации содержимого в соединении с информацией идентификации дискового картриджа с использованием устройства записи/воспроизведения для этого дискового картриджа.
Таким образом, становится возможным извлечение информации идентификации содержимого и индексной информации содержимого в соответствии с информацией идентификации дискового картриджа, которая предусмотрена видимым снаружи корпуса образом, или же, в качестве альтернативного решения, выполнять поиск информации идентификации дискового картриджа, которая видима снаружи корпуса, в соответствии с индексной информацией содержимого, обеспечивая тем самым простым образом информацию о том, какое содержимое программы записано на каком диске, без необходимости воспроизведения всего содержимого, записанного в дисковом картридже.
Кроме того, в соответствии с системой записи/воспроизведения, согласно данному изобретению, информация идентификации содержимого и индексная (описательная) информация содержимого записаны во взаимосвязи с информацией идентификации дискового картриджа в памяти устройства записи/воспроизведения. Поэтому можно извлекать информацию идентификации содержимого и индексную информацию содержимого, хранящиеся в памяти, на основе информации идентификации дискового картриджа, предусмотренной узнаваемым образом снаружи корпуса дискового картриджа, или находить информацию идентификации дискового картриджа, которая предусмотрена с возможностью распознавания снаружи корпуса, в соответствии с индексной информацией содержимого.
Поэтому можно просто узнавать, какое содержимое записано в каком дисковом картридже без необходимости воспроизведения содержимого дискового картриджа.
Краткое описание чертежей
Указанные выше и другие задачи, признаки и преимущества данного изобретения следуют из приведенного ниже описания предпочтительных в настоящее время вариантов выполнения изобретения со ссылками на прилагаемые чертежи, на которых:
фиг.1 изображает оптический диск, который образует дисковый картридж согласно варианту выполнения данного изобретения в изометрической проекции;
фиг.2 – диаграмму, иллюстрирующую физический формат оптического диска, составляющего дисковый картридж согласно данному изобретению;
фиг.3А-3В – конструкцию дискового картриджа согласно данному изобретению, при этом на фиг.3А показан дисковый картридж в разнесенной изометрической проекции, а на фиг.3В – в собранном состоянии;
фиг.4 – стадии процесса изготовления диска согласно данному изобретению;
фиг.5А-5Е – стадии процесса записи информации идентификации дискового картриджа на оптический диск и на корпус диска;
фиг.6 – полную систему записи/воспроизведения согласно данному изобретению;
фиг.7 – блок-схему конфигурации системы записи/воспроизведения согласно данному изобретению;
фиг.8 – содержимое записи, хранящееся в памяти устройства записи/воспроизведения системы записи/воспроизведения согласно данному изобретению;
фиг.9 – добавочную информацию, записанную в содержимое радиовещания, коммерческое программное обеспечение и в записанные видеокассеты; и
фиг.10А-10C – примеры записи на дисковый картридж информации идентификации дискового картриджа, при этом на фиг.10А показан пример использования печати, на фиг.10В – пример использования наклейки со штриховым кодом и на фиг.10C – пример использования памяти для записи.
Предпочтительный вариант выполнения изобретения
Ниже приводится описание предпочтительных вариантов выполнения данного изобретения со ссылками на прилагаемые чертежи.
Дисковый картридж
На фиг.3А-3В показана конструкция дискового картриджа согласно данному изобретению, на фиг.3А показан дисковый картридж в изометрической проекции в разобранном состоянии, а на фиг.3В – в собранном состоянии в изометрической проекции.
Дисковый картридж состоит из диска и корпуса, в котором размещается этот диск.
Корпус 200 состоит из верхней коробки 210, зажимной пластины 220, промежуточной коробки 230, первого дискового затвора 240, второго дискового затвора 250, язычка 260 запирания затвора (запирающий рычаг), язычка 270 запрещения записи (защитный язычок) и нижней коробки 280.
Верхняя коробка 210 и нижняя коробка 280 плотно входят друг в друга. В пространстве между верхней коробкой 210 и нижней коробкой 280 предусмотрены, последовательно сверху, зажимная пластина 220, оптический диск 100, промежуточная коробка 230, первый дисковый затвор 240 и второй дисковый затвор 250.
Верхняя коробка 210 имеет верхнюю пластину 211 корпуса, которая имеет приблизительно прямоугольную форму, и верхнюю часть 212 боковой стенки, которая выступает из периферийной кромки верхней пластины 211 корпуса.
Нижняя коробка 280 имеет нижнюю пластину 281 корпуса, которая имеет приблизительно прямоугольную форму, и нижнюю часть 282 боковой стенки, которая выступает из периферийной кромки нижней пластины 281 корпуса. В нижней коробке 280 предусмотрено нижнее отверстие 283, которое проходит от центра нижней пластины 281 корпуса в направлении нижней части 282 боковой стенки.
Эти верхняя коробка 210 и нижняя коробка 280 вставляются друг в друга своими частями 212, 282 боковой стенки, образуя тем самым указанное выше внутреннее пространство для размещения диска.
Зажимная пластина 220 установлена с возможностью магнитного прижимания к магниту, вставленному в электродвигатель дисковода (не изображен).
Когда дисковый картридж 1000 вставляется в устройство записи/воспроизведения, то оптический диск 100 вращается приводным механизмом устройства записи/воспроизведения через зажимную пластину 220.
Промежуточная коробка 230, которая прочно крепится на верхней коробке 210, содержит дисковую часть 231, которая немного больше периферии оптического диска 100, и часть 232 боковой стенки, выступающей вверх по ее периметру. В промежуточной коробке 230 предусмотрено отверстие 233, которое проходит от центра дисковой части 231 в направлении части 232 боковой стенки, приблизительно в соответствии с отверстием 283 нижней коробки 280. Оптический диск 100 расположен внутри закрытого пространства, образованного дисковой частью 231 промежуточной коробки 230 и ее частью 232 боковой стенки для предотвращения проникновения пыли.
Первый и второй дисковые затворы 240, 250 установлены с возможностью вращения в пространстве между промежуточной коробкой 230 и нижней коробкой 280 и приводятся во вращение для открывания и закрывания нижнего отверстия 283 нижней коробки 280 и отверстия 233 промежуточной коробки 230. Первый и второй дисковые затворы 240, 250 обеспечивают закрывание отверстия 283 в нижней коробке 280 и нижнего отверстия 233 в промежуточной коробке 230 всегда, когда дисковый картридж 1000 не установлен в устройство записи/воспроизведения, и открывание их, когда дисковый картридж 1000 вставлен в устройство записи/воспроизведения, с помощью приводного механизма.
Язычок 260 запирания затворов, который установлен с возможностью поворота на нижней коробке 280, обеспечивает запирание первого дискового затвора 240 и второго дискового затвора 250, которые зацепляются в закрытом состоянии, и их фиксирование. Когда дисковый картридж 1000 вставлен в устройство записи/воспроизведения, то язычок 260 запирания затворов под действием механизма устройства записи/воспроизведения выводит из запертого состояния первый и второй дисковые затворы 240, 250 и они открываются.
Язычок 270 воспрещения записи предусмотрен с возможностью скольжения на наружной поверхности боковой стенки верхней коробки 210 или нижней коробки 280. За счет скользящего перемещения этого язычка 270 воспрещения записи можно разрешать или запрещать операцию записи на оптический диск 100 в устройстве записи/воспроизведения.
В соответствии с описанной выше системой, когда первый и второй затворы 240, 250 открывают отверстия 283, 233, то поверхность 110 записи оптического диска 100 доступна снаружи, а когда они закрывают отверстия 283, 233, то поверхность 110 записи оптического диска 100 закрыта для доступа снаружи.
Оптический диск
Ниже приводится описание оптического диска согласно данному изобретению.
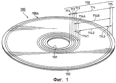
На фиг.1 показан в изометрической проекции оптический диск, который образует дисковый картридж согласно одному варианту выполнения изобретения. На фиг.2 схематично показана диаграмма, иллюстрирующая физический формат оптического диска, который образует дисковый картридж согласно данному изобретению.
Как показано на фиг.1 и 2, оптический диск 100 имеет круглый корпус 100А подложки диска и центральное отверстие 101, образованное в центре корпуса 100А подложки.
На одной поверхности корпуса 100А подложки образована кольцевая поверхность записи. Эта поверхность записи имеет внутреннюю зону 111, имеющую кольцевую форму, зажимную зону 112, которая является зоной удерживания диска в дисковом картридже согласно данному изобретению, переходную зону 113, зону 114 записи информации и краевую зону 115, которые расположены последовательно от внутренней стороны диска до его наружной периферии.
Внутренняя зона 111 и зажимная зона 112 являются частями, где присоединена зажимная пластина 220. В данном случае описывается в качестве примера вариант выполнения изобретения, в котором как внутренняя зона 111, так и зажимная зона 112 удерживаются зажимной пластиной 220. Поэтому зона удерживания диска описывается как зажимная зона 112. Однако изобретение не ограничивается этим и диск может удерживаться с помощью любого другого средства, кроме зажимной пластины 220, с достижением того же результата.
Переходная зона 113, которая образована между зажимной зоной 112 и зоной 114 записи информации, является частью, где информация не записывается. Краевая зона 115, которая образована между зоной 114 записи информации и наружной периферийной частью 102 оптического диска 100, является частью, где информация не записывается.
Зона 114 записи информации включает выдавленную зону 114А, которая является первой кольцевой зоной диска в дисковом картридже согласно данному изобретению, которая образована внутри в радиальном направлении оптического диска 100, и перезаписываемую зону 114В, которая является второй кольцевой зоной диска в дисковом картридже согласно данному изобретению, которая образована снаружи в радиальном направлении диска. Как переходная зона 113, так и выдавленная зона 114А соответствуют третьей кольцевой зоне, являющейся предметом изобретения.
Выдавленная зона 114А является зоной, где информация записана без возможности перезаписи. Запись информации в выдавленной зоне 114А выполняется на стадии образования вогнутых выемок. Эта стадия образования выемок выполняется одновременно с процессами формования, согласно фиг.4А и 4В, описание которых приведено ниже.
Поскольку информация записывается в этой выдавленной зоне 114А в виде системы вогнутых выемок, то эту информацию невозможно перезаписывать.
Перезаписываемая зона 114В для записи информации с возможностью перезаписи включает выемки, которые образованы прессованием для указания адресной информации внутри оптического диска 100. Запись информации в перезаписываемой зоне 114В выполняют путем образования системы выемок, имеющей канавку и площадку в кристаллическом состоянии и в аморфном состоянии в пленке записи с использованием оптического луча, который излучается снимателем устройства.
Зона 114 записи информации включает указанные выше выдавленную зону 114А и перезаписываемую зону 114В. Однако, как показано на фиг.1 и 2, формат зоны 114 записи информации поделен, начиная от внутреннего периметра, на зону 1141 ввода, зону 1142 данных и зону 1143 вывода соответственно.
Зона 1141 ввода включает всю часть выдавленной зоны 114А и часть переписываемой зоны 114В, которая граничит с выдавленной зоной 114А.
Эта зона 1141 ввода позволяет записывать на диск общую информацию (такую как скорость вращения, тип диска, информацию отслеживания и т.п.), калибровки мощности лазера, информацию управления исправлением ошибок и т.п. в качестве информации ввода.
Зона 1143 вывода содержит часть зоны 114 записи информации вблизи периферии диска и позволяет записывать в качестве информации вывода информацию управления исправлением ошибок и т.п.
Зона 1142 данных расположена между зоной 1141 ввода и зоной 1143 вывода в зоне 114 записи информации, в которой информация записывается с возможностью перезаписи.
Например, указанный выше оптический диск 100, согласно данному изобретению, является оптическим диском с изменением фазы, обеспечивающим возможность повторной записи. Такой оптический диск с изменением фазы обеспечивает реверсивное изменение своей записывающей пленки между кристаллическим состоянием и аморфным состоянием, за счет чего изменяется отражательная способность записывающей пленки в кристаллическом состоянии и в аморфном состоянии. Информация записывается и воспроизводится с использованием этого изменения отражательной способности.
Изготовление оптического диска
Ниже приводится описание процесса изготовления оптического диска со ссылками на фиг.4А-4Е в качестве первой стадии способа изготовления дискового картриджа согласно изобретению.
Поликарбонатную подложку 2 (которая соответствует подложке 100 на фиг.1) отливают под давлением после помещения расплавленного поликарбоната в пресс-форму, снабженную матрицей 1, как показано на фиг.4А-4В. После этого на поликарбонатной подложке 2 образуют площадку 2А и канавку 2В. Матрица 1 снабжена выпуклой частью для образования выемок в выдавленной зоне 114А и в перезаписываемой зоне 114В. С помощью этого литья под давлением формируются эти выемки.
Затем, как показано на фиг.4С, на поликарбонатной подложке 2 формируют записывающую пленку 3, обеспечивающую запись информации с помощью изменения фазы, и на записывающей пленке 3 формируют защитную пленку 4. На следующей стадии, показанной на фиг.4Е, выполняют процесс инициализации записывающей пленки 3 с помощью излучения лазерного луча или нагревания, чем заканчивается изготовление оптического диска 100, имеющего кольцевую внутреннюю зону 111, зажимную зону 112, переходную зону 113, зону 114 записи информации и краевую зону 115.
Дисковый картридж и его признаки
Дисковый картридж 1000 выполняется путем помещения оптического диска 100, изготовленного указанным выше образом, в корпус 200. Согласно данному изобретению, на этот оптический диск записывают информацию идентификации дискового картриджа, присваиваемую однозначно каждому оптическому диску 100, и информация идентификации дискового картриджа, записанная на оптический диск 100, дополнительно указывается на корпусе 200, в котором размещен этот оптический диск 100, так, чтобы ее можно было видеть снаружи. Ниже приводится более подробное описание этого признака изобретения.
Информация идентификации дискового картриджа, которая является информацией, однозначно присваиваемой каждому оптическому диску 100, может создаваться последовательно в виде, например, порядкового номера или случайного числа такой длины, чтобы отличаться от другого оптического диска.
Кроме того, информация идентификации дискового картриджа может состоять из комбинации знаков, включая буквы алфавита и числа.
Запись информации идентификации дискового картриджа
Ниже приводится описание записи информации идентификации дискового картриджа на оптический диск 100 со ссылками на фиг.1.
Поскольку информация идентификации дискового картриджа является данными, специально присваиваемыми каждому оптическому диску 100, то необходимо записывать эту информацию идентификации дискового картриджа на оптический диск 100 в виде, легко считываемом снимателем устройства записи/воспроизведения при установке этого оптического диска в устройство записи/воспроизведения для выполнения операций записи/воспроизведения на дисковый картридж 1000.
Кроме того, в зоне 114 записи информации имеется установленная выдавленная зона 114А для записи информации без возможности перезаписи. Для образования выемок в этой выдавленной зоне 114А необходима матрица, отличная для каждого диска. Однако использование отдельной матрицы для каждого оптического диска является непрактичным.
Поэтому необходимо записывать информацию идентификации дискового картриджа в виде, отличающемся от вида записи информации в зоне 114 записи информации.
Поэтому, согласно изобретению, переходную зону 113 и выдавленную зону 114А, которые образуют первую кольцевую зону диска, согласно данному изобретению используют в качестве зоны, соответствующей третьей кольцевой зоне диска для записи информации идентификации дискового картриджа.
Информацию идентификации дискового картриджа записывают путем образования множества прямоугольных структур, каждая из которых имеет свою длину в радиальном направлении оптического диска и свою ширину в направлении периметра, и расположенных на расстоянии друг от друга в направлении периметра. Более точно, информация идентификации дискового картриджа выражается с помощью комбинации сжатия и расширения зазора между множеством прямоугольных структур в направлении периметров, или посредством комбинирования различных размеров множества прямоугольных структур в направлении их ширины. Указанные выше прямоугольные структуры можно формировать, например, с помощью следующего процесса.
Поскольку записывающая пленка с изменением фазы образована также на переходной зоне 113 и на части выдавленной зоны 114А, то прямоугольную структуру формируют путем изменения фазы в записывающей пленке с изменением фазы путем облучения записывающей пленки лазерным лучом. А именно, ее записывают с помощью процесса лазерной маркировки.
Кроме того, поскольку переходная зона 113 и часть выдавленной зоны 114А также покрыты защитным слоем, то прямоугольная структура может быть образована с помощью процесса печати на поверхности указанного защитного слоя.
В качестве альтернативного решения, если оптический диск является магнитно-оптическим диском, то на переходной зоне 113 и на части выдавленной зоны 114А также образуют отражающую пленку, выполненную, например, из алюминия. Поэтому прямоугольную структуру наносят посредством частичного удаления отражающей пленки с помощью облучения лазерным лучом. А именно, запись выполняют с помощью процесса лазерной резки.
Кроме того, прямоугольная структура может быть образована на переходной зоне и на части выдавленной зоны 114А с помощью процесса выдавливания.
Прямоугольная структура, выполненная указанным выше образом, может считываться снимателем устройства вследствие различия отражательной способности части с прямоугольной структурой и других частей вне ее.
Кроме того, можно по усмотрению использовать всю часть, включающую переходную зону 113 и выдавленную зону 114А в качестве зоны для записи информации идентификации дискового картриджа, или же только часть ее. В последующем описании вариантов выполнения изобретения предполагается, что информация идентификации дискового картриджа записывается в переходной зоне 113.
Указанная информация идентификации дискового картриджа также предусматривается на открытой стороне корпуса 200, так чтобы она была визуально различима снаружи. В этом варианте выполнения изобретения информация идентификации дискового картриджа прикреплена на открытой части корпуса 200 (на наружной боковой стенке верхней коробки 210 или нижней коробки 280 корпуса 200) так, чтобы она была видна снаружи. На фиг.5, 6 и 10 позицией 202 обозначена каждая информация идентификации дискового картриджа, предусмотренная на наружной стороне корпуса 200.
Информация идентификации дискового картриджа, предусмотренная на корпусе 200, может быть любым числом, достаточно длинным для предотвращения повторов среди множества дисковых картриджей 1000, принадлежащих пользователю, и легко распознаваемым визуально пользователем. Поэтому достаточны, например, трех- или четырехзначные числа. Поэтому на практике считается адекватным указывать на корпусе 200 последние трех- или четырехзначные числа информации идентификации дискового картриджа, записанной на соответствующем оптическом диске 100.
А именно, при предположении, что информация идентификации дискового картриджа, подлежащая записи в переходной зоне 113 оптического диска, состоит из комбинации знаков, включающих буквы алфавита и цифры, из N цифр, информация 202 идентификации дискового картриджа, подлежащая указанию на корпусе 200, может иметь комбинацию знаков из М цифр, включая последние цифры, при этом М
Ниже приводится описание стадий записи информации идентификации дискового картриджа на оптический диск 100 и на корпус 200.
На фиг.5А-5Е показаны стадии записи информации идентификации дискового картриджа на оптический диск 100 и на корпус 200.
Как показано на фиг.5А-5В, оптический диск 100, изготовленный с помощью стадий, показанных на фиг.4А – 4Е, вставлен в корпус 200. А именно, эти стадии соответствуют второй стадии изготовления дискового картриджа согласно данному изобретению.
Как показано на фиг.5С, информация идентификации дискового картриджа, присвоенная оптическому диску 100, записывается в переходной зоне 113 оптического диска 100 в виде изменения фазы в записывающей пленке посредством, например, облучения лазерным лучом из устройства L лазерной маркировки. А именно, эта стадия соответствует третьей стадии способа изготовления дискового картриджа согласно данному изобретению.
Затем, как показано на фиг.5D, часть 202 полной информации идентификации дискового картриджа, включая четыре последние цифры, например “1234”, наносят на наружную боковую стенку корпуса 200, например на наружную боковую поверхность верхней или нижней коробок 210, 280 корпуса 200, путем облучения лазерным лучом с использованием устройства L лазерной маркировки. А именно, этот процесс соответствует четвертой стадии способа изготовления дискового картриджа согласно данному изобретению. Кроме того, способ записи информации идентификации дискового картриджа на корпусе 200 может включать по выбору любую гравировку, маркировку ультразвуковым пером, маркировку воздушным пером, струйную печать и т.п.
Наконец, эта процедура завершается помещением дискового картриджа 1000 в футляр 300, как показано на фиг.5Е.
Информацию 202 идентификации дискового картриджа можно наносить на корпус 200 также с помощью следующего процесса.
На первой стадии, перед размещением оптического диска 100 в корпусе 200, на него записывают его информацию идентификации дискового картриджа с использованием процесса лазерной маркировки или нагревания. Эта стадия соответствует третьей стадии данного изобретения.
Затем оптический диск 100 помещают в корпус 200. Эта стадия соответствует второй стадии способа изготовления дискового картриджа.
Информация идентификации дискового картриджа, записанная на оптический диск 100, считывается снимателем и его информация 202 идентификации дискового картриджа в соответствии с результатом считывания указывается на части боковой стенки корпуса 200 с использованием способа лазерной маркировки или любого другого способа, указанного выше. Эта стадия соответствует четвертой стадии способа изготовления дискового картриджа.
Кроме того, информацию 202 идентификации дискового картриджа можно наносить на корпус 200 с помощью следующего процесса.
Перед размещением оптического диска 100 в корпусе 200 на нем записывают его информацию идентификации дискового картриджа с использованием процесса лазерной маркировки или нагревания. Эта стадия соответствует третьей стадии способа изготовления дискового картриджа согласно данному изобретению.
Затем оптический диск 100 помещают в корпус 200. Эта стадия соответствует второй стадии способа изготовления дискового картриджа.
Его информацию идентификации дискового картриджа в соответствии с результатом считывания указывают на части боковой стенки корпуса 200 с использованием способа лазерной маркировки или любого другого способа, указанного выше. Эта стадия соответствует четвертой стадии способа изготовления дискового картриджа.
Таким образом, опуская стадию считывания информации идентификации дискового картриджа с оптического диска 100, можно организовать так, что одновременно с записью информации идентификации дискового картриджа на оптический диск 100 можно наносить его информацию идентификации дискового картриджа в соответствии с тем, что было записано, на корпус 200 видимым снаружи образом.
Система записи/воспроизведения
Ниже приводится описание конфигурации системы записи/воспроизведения, согласно изобретению для записи и/или воспроизведения указанного выше дискового картриджа 1000.
На фиг.6 схематично показан полный состав системы записи/воспроизведения согласно изобретению, а на фиг.7 показана блок-схема системы записи/воспроизведения согласно изобретению.
Как показано на фиг.6 и 7, система 2000 записи/воспроизведения состоит из дискового картриджа 1000, устройства 2100 записи/воспроизведения, дисплея 2200 и т.п.
Как показано на фиг.6, устройство 2100 записи/воспроизведения состоит из корпуса 2110, выключателя 2112 электропитания, предусмотренного на корпусе 2110, рабочих схем 2114, блока 2116 загрузки/выгрузки, приемных схем 2118, дисплейного блока 2120 для индикации рабочего состояния и блока 2122 памяти. Указанная выше рабочая часть 2114 предназначена для выполнения операций управления, таких как воспроизведение, остановка, быстрая перемотка вперед, перемотка назад, выгрузка и т.п. Блок 2116 загрузки/выгрузки предназначен для установки и/или выгрузки дискового картриджа 1000. Приемные схемы 2118 предназначены для приема радиосигналов (или инфракрасных сигналов), излучаемых дистанционным пультом 2130 управления. С помощью дистанционного пульта 2130 управления можно выдавать те же команды на выполнение операций или функций, что и с помощью рабочих схем 2114.
Как показано на фиг.7, устройство 2100 записи/воспроизведения дополнительно снабжено центральным процессором 2124, схемами 2116 записи/воспроизведения и снимателем 2128.
Центральный процессор 2124 управляет рабочими схемами 2118, блоком 2122 памяти, схемами 2126 записи/воспроизведения и снимателем 2128.
Схемы 2126 записи/воспроизведения имеют задачу воспроизводить сигнал, полученный с помощью снимателя 2128 с оптического диска 100 в дисковом картридже 1000, и выдавать сигнал для отображения на дисплее 2200, а также задачу ввода информации через сниматель 2128 для записи на оптический диск 100.
Сниматель 2128 предназначен для записи и воспроизведения информации путем облучения оптического диска 100 лазерным лучом. А именно, в соответствии с вводимым сигналом записи он записывает информацию (такую как содержимое, информацию идентификации содержимого и индексную (описательную) информацию содержимого, которые будут описаны ниже) в перезаписываемой зоне зоны записи информации, а также считывает информацию, записанную в выдавленной зоне и в перезаписываемой зоне оптического диска 100, для выдачи в качестве сигнала воспроизведения.
Кроме того, пульт 2130 дистанционного управления и рабочие схемы 2114 выполнены с возможностью ввода вручную индексной (описательной) информации содержимого (будет описана ниже). При этом вводимая под управлением центрального процессора 2124 индексная информации содержимого подается в качестве сигнала записи из схем 2126 записи/воспроизведения на сниматель 2128 для управления и записи в перезаписываемой зоне оптического диска.
В качестве примера, указанный блок 2122 памяти является запоминающим устройством системы записи/воспроизведения согласно данному изобретению. Центральный процессор 2124, схемы 2126 записи/воспроизведения и сниматель 2128 в комбинации создают средство воспроизведения системы записи/воспроизведения согласно данному изобретению. Кроме того, центральный процессор 2124 является устройством выборки (поиска); рабочие схемы 2114, пульт 2130 дистанционного управления и приемные схемы 2118 в комбинации составляют рабочие схемы, а дисплей 2200 образует дисплейное устройство системы записи/воспроизведения согласно данному изобретению.
Ниже приводится описание функций системы 2000 записи/воспроизведения, описанной со ссылками на фиг.6 и 7. Описание приводится в качестве примера, когда дисковый картридж установлен для записи и воспроизведения телевизионной программы.
Когда загружен дисковый картридж 1000, то под управлением центрального процессора 2124 выполняются запись и воспроизведение информации на оптический диск 100 и с него, а также в блок 2122 памяти и из него.
Ниже приводится описание содержимого, информации идентификации содержимого и индексной информации содержимого, подлежащих записи на оптическом диске 100.
Содержимое является информацией самой телевизионной программы, которая включает в себя данные изображения, звуковые данные, данные символов и т.п., подлежащих записи в зоне 1142 данных.
Информация идентификации содержимого является информацией, присваиваемой каждой части содержимого, записанного в зоне 1142 данных, при этом она присваивается так, чтобы по меньшей мере не повторяться в одном и том же оптическом диске. Информация идентификации содержимого создается, например, центральным процессором 2124, а также управляется и записывается в части зоны 1142 данных оптического диска 100.
Индексная информация содержимого представляет собой данные, относящиеся к каждой части содержимого, подлежащего записи в зоне 1142 данных оптического диска 100, которые включают в себя, например, название программы, ключевые слова, дату и время вещания, длительность периода времени записи, данные, указывающие характер программы, звуковые данные, данные изображения (пиктограмму изображения) и т.п. Индексную информацию содержимого создает пользователь, например, путем управления рабочими схемами 2114 или пультом 2130 дистанционного управления, и она записывается в части зоны 1142 данных оптического диска 100.
Кроме того, формат индексной информации содержимого может быть задан для обеспечения ввода данных в соответствии с их заданным форматом.
Ниже приводится описание информации, подлежащей записи в выдавленной зоне 114А зоны 1141 ввода, и информации, подлежащей записи в зоне 1143 вывода.
Как показано на фиг.1 и 2, в зоне ввода 1141 оптического диска 100 выдавленная зона 114А используется для записи неперезаписываемой информации, такой как общая информация о диске (тип диска, линейная скорость, информация слежения и т.п.), и сигнала настройки. Поэтому со стороны устройства 2100 записи/воспроизведения не предпринимается никакой попытки записывать информацию в этой выдавленной зоне 114А и разрешена лишь операция воспроизведения информации из этой зоны.
В зоне 1141 ввода часть, соответствующая перезаписываемой зоне 114В, используется для калибровки мощности лазера, или для записи информации для управления исправлением дефектов диска.
В зоне 1143 вывода записывается также информация вывода, такая как информация для управления исправлением дефектов диска и т.п.
Ниже приводится описание информации, подлежащей записи в блок 2122 памяти устройства 2100 записи/воспроизведения.
На фиг.8 показана таблица содержимого, записанного в блоке памяти устройства записи/воспроизведения системы записи /воспроизведения согласно данному изобретению.
Как показано на фиг.8, в блоке 2122 памяти записаны информация CNs (CN1, CN2, CN3, CN4, CN5, …) идентификации содержимого, индексная информация CDs (CD1, CD2, CD3, CD4, CD5, …) содержимого, в соответствии с каждой информацией IDs (ID1, ID2, IDS, ID4, IDS, …) идентификации картриджа, записанной на оптический диск 100 с корреляцией между ними.
Для этого центральный процессор 2124 может выполнять операцию поиска для извлечения информации, хранящейся в блоке 2122 памяти. Например, можно извлекать частную информацию CN идентификации содержимого и/или индексную информацию CD содержимого с использованием в качестве ключа информацию ID идентификации дискового картриджа. В качестве альтернативного решения, центральный процессор может извлекать частную информацию ID идентификации дискового картриджа и/или информацию CN идентификации содержимого с использованием в качестве ключа индексной информации CD содержимого.
Запись этой информации ID идентификации дискового картриджа, информации CN идентификации содержимого и индексной информации CD содержимого в блок 2122 памяти осуществляется во время записи содержимого программы в дисковый картридж 1000, загруженный в устройство 2100 записи/воспроизведения.
В качестве альтернативного решения, они записываются во время воспроизведения содержимого уже записанной программы с дискового картриджа 1000, загруженного в устройство 2100 записи/воспроизведения. Кроме того, создание информации CNs идентификации содержимого выполняется центральным процессором 2124 на основе таблицы содержимого информации IDs идентификации дискового картриджа и информации CNs идентификации содержимого, хранящихся в блоке 2122 памяти, так что не происходит повторов среди множества индексных информаций CDs содержимого, относящихся к той же информации ID идентификации дискового картриджа.
Кроме того, ввод и создание индексной информации CDs содержимого с помощью центрального процессора 2124 осуществляется пользователем путем управления рабочими схемами 2124 или пунктом 2130 дистанционного управления. Для этого индексная информация CD содержимого, согласно варианту выполнения изобретения, состоит из информации, которая может быть введена с помощью рабочих схем 2114 или пульта 2130 дистанционного управления, такой как название программы, дата и время их вещания, длительность времени вещания, информация, указывающая на характер программы (текстовые данные или цепочка символов) и т.п. Кроме того, если устройство 2100 записи/воспроизведения выполнено с возможностью подключения к компьютеру, то можно записывать информацию изображения, такую как пиктограмма изображения и/или звуковая информация, в блок 2122 памяти с использованием компьютера в качестве индексной информации CD содержимого.
Кстати, блок 2122 памяти может содержать полупроводниковую память, жесткий диск или т.п. Кроме того, поскольку емкость памяти блока 2122 является конечной, то при насыщении информацией блока 2122 памяти может быть предусмотрено, что более старая или ненужная записанная информация стирается в порядке старшинства для обеспечения записи новой информации.
Ниже приводится описание операции поиска со ссылками на фиг. 6-8 с использованием информации идентификации дискового картриджа 1000, информации идентификации содержимого и индексной информации содержимого.
Как показано на фиг.6, предполагается, что имеется множество дисковых картриджей 1000, в которых уже записано содержимое программ. Информация 202 идентификации дискового картриджа, предусмотренная на корпусе 200 каждого дискового картриджа 1000, указывается с помощью четырех последних десятичных цифр полной информации ID идентификации дискового картриджа, как указывалось выше. Предполагается, что в данном случае соответствующая информация ID идентификации дискового картриджа имеет вид, например, “1234”, “5678”, “0001”, “3333”, “0111” или “6666”.
Ниже приводится сначала описание операции для распознавания содержимого программы, записанной в дисковом картридже 1000, имеющего информацию 202 идентификации дискового картриджа “1234”.
Операция поиска в дисковом картридже 1000 с целью ознакомления с его содержимым с использованием номера 202 идентификации дискового картриджа в качестве ключа запускается посредством ввода “1234”, которые имеются на корпусе 200 дискового картриджа 1000, с помощью пульта 2130 дистанционного управления или рабочих схем 2114.
В ответ на команду поиска, полученную через приемные схемы 2118, центральный процессор 2124 выполняет операцию поиска в блоке 2122 памяти с использованием числа “1234” информации 202 идентификации дискового картриджа в качестве перекрестного ключа.
Затем результат этой операции поиска выводится на дисплей 2200. А именно, как показано на фиг.6, аналогично информации 202 идентификации дискового картриджа, описанной выше, информация 2202 идентификации дискового картриджа, соответствующая цифрам “1234”, которые являются четырьмя последними цифрами информации ID идентификации дискового картриджа, отображается на дисплее, а также на дисплее отображается информация CNs идентификации содержимого: “333”, “456”, “,,,”. Затем в виде списка содержимого на дисплее отображается индексная информация CDs содержимого, соответствующая каждой информации CN идентификации содержимого, такая как “Фильм АВС”, 2001/10/01″, “Игра на первенство Японии по бейсболу “G против L”, 2000/10/13″, “…”. В показанном на фиг.6 примере в качестве индексной информации CD содержимого содержаться названия программ и дата начала записи.
Таким образом, без необходимости действительной загрузки дискового картриджа 1000 в устройство 2100 записи/воспроизведения пользователь имеет возможность узнать индексную информацию CD содержимого, записанного в дисковом картридже 1000.
Кроме того, когда пользователь желает знать, какое содержимое записано в каком дисковом картридже 1000, то пользователь выполняет операцию поиска, описание которой приведено ниже.
На первой стадии пользователь дает команду на выполнение операции поиска с помощью пульта 2130 дистанционного управления или рабочих схем 2114 с использованием ключевого слова или любых данных, содержащихся в индексной информации CD содержимого в качестве ключа поиска.
Центральный процессор 2114 выполняет поиск ключевого слова в блоке памяти 2122 с использованием указанного выше ключевого слова в качестве перекрестного ключа.
Затем результат его поиска выводится на дисплей 2200.
Например, на дисплее 2200 отображается множество информации 2202 идентификации дискового картриджа, соответствующих ключевым словам одного или более двух дисковых картриджей, и одновременно на дисплее отображается в виде таблицы информации CNs идентификации содержимого и индексные информации CDs содержимого, соответствующие каждой из множества информаций 2202 идентификации дискового картриджа. В данном примере указывается на дисплее 2200 информация идентификации дискового картриджа, например, в виде четырех цифр, аналогично информации 202 идентификации дискового картриджа, которая нанесена на корпус 200 дискового картриджа 1000 видимым снаружи образом.
Таким образом, в соответствии с информацией 202 идентификации дискового картриджа, нанесенной видимым снаружи образом на корпусе 200, пользователь может определить конкретный дисковый картридж 1000, в котором записано желаемое содержимое программы.
А именно, пользователь может ознакомиться с конкретным дисковым картриджем 1000, в котором хранится желаемое содержимое, из информации 2202 идентификации дискового картриджа, отображенной на дисплее, без необходимости действительной загрузки каждого дискового картриджа 1000 в устройство 2100 записи/воспроизведения.
Кроме того, посредством записи и управления информацией, такой как адрес каждой части содержимого, записанный в зоне 1142 данных оптического диска 100, находящейся в корреляции с информацией CN идентификации содержимого, устройство 2100 записи/воспроизведения может иметь следующие функции, использующие индексную информацию содержимого.
Например, во время отображения на дисплее 2200 частной информации 2202 идентификации дискового картриджа, информаций CNs идентификации содержимого, соответствующих ей, и индексных информации CDs содержимого, соответствующих ей, пользователь вводит в центральный процессор 2100 конкретную информацию CN идентификации содержимого, которое он желает воспроизвести, например, с помощью рабочих схем 2114.
Затем дисковый картридж 1000, соответствующий информации 2202 идентификации дискового картриджа, находящейся в данный момент на дисплее, загружается в устройство 2100 записи/воспроизведения.
Центральный процессор 2124 считывает адрес содержимого, связанного с информацией CN идентификации содержимого, указанной выше, в загруженном дисковом картридже 1000 из его зоны 1142 данных, в которой адреса координируются и управляются центрально, затем управляет снимателем 2128 и схемами 2126 записи/воспроизведения для осуществления операции воспроизведения содержимого.
Кроме того, если в индексной информации CD содержимого содержится время записи записанного содержимого, то центральный процессор 2124 может также вычислять оставшееся время записи путем вычитания суммы времени записи соответствующего содержимого из полного времени имеющейся в распоряжении зоны записи оптического диска 100 и указывать его на дисплее 2120 устройства 2100 записи/воспроизведения.
Дополнительно к этому можно также сравнивать оставшееся время, имеющееся в распоряжении для записи, и время, необходимое для записи нового содержимого, затем выбрать подходящую кассету, способную записывать новое содержимое.
Кроме того, можно также обеспечивать регулирование качества записи, так что все содержимое может быть записано на выбранный дисковый картридж.
Хотя в качестве примера описано создание и ввод информации CNs идентификации содержимого и индексной информации CDs содержимого пользователем с помощью рабочих схем 2114 или пульта 2130 дистанционного управления, однако их можно создавать с использованием добавочной информации, которая передается вместе с программой.
Кроме того, в случае выполнения копии содержимого программы на дисковый картридж с коммерчески доступного программного обеспечения или с записанной видеокассеты, можно также создавать информацию CN идентификации содержимого и индексную информацию CD содержимого с использованием добавочной информации, записанной в этом программном обеспечении или в видеокассете.
Ниже приводится описание этой добавочной информации.
На фиг.9 показана таблица, в которой приведена добавочная информация, записанная в содержимом вещания, в коммерческом программном обеспечении и в записанных видеокассетах.
Ниже приводится пример записи содержимого вещания на дисковый картридж 1000.
В случае цифрового вещания через базовые станции (BS), цифрового вещания с коммутацией каналов (CS), цифрового вещания с использованием поверхностной волны и т.п. к содержимому добавляется информация электрического указателя программы (EPG) (т.е. электронная информация программы) в качестве добавочной информации. В этой информации EPG содержится идентификатор содержимого, который однозначно присваивается этой программе вещания, и описание данных содержимого программы. Эти данные содержимого (описание содержимого) включают информацию о названии программы, время вещания, длительность вещания и т.п.
Кроме того, на фиг.9 данные содержимого (описание содержимого) включают в себя уже информацию настройки и другую дополнительную информацию, которую должен добавлять пользователь. Дополнительная информация является информацией, которая может дополнительно создаваться пользователем.
Поэтому можно использовать указанный выше идентификатор содержимого в качестве информации CN идентификации содержимого, а указанные выше данные содержимого – в качестве индексной информации CD содержимого.
Кроме того, в случае, когда нет добавочной информации, соответствующей указанной выше информации EPG, как, например, в аналоговом вещании с использованием поверхностной волны, необходимо создавать информацию CN идентификации содержимого в устройстве 2100 записи/воспроизведения и вводить индексную информацию CD содержимого с помощью рабочих схем 2114 или пульта 2130 дистанционного управления.
Ниже приводится пример записи коммерческого программного обеспечения в дисковый картридж 1000.
В случае коммерческого программного обеспечения (продаваемого с защитой авторских прав), в котором содержится добавочная информация, включающая идентификатор содержимого и данные (индекс) содержимого, аналогично указанной выше информации EPG, можно записывать информацию CN идентификации содержимого и индексную информацию CD содержимого с использованием идентификатора содержимого и данных содержимого в дисковый картридж 1000, аналогично описанному выше случаю вещания с использованием базовых станций.
Кроме того, для коммерческого программного обеспечения без записанной добавочной информации (например, коммерческая видеолента), необходимо создавать информацию CN идентификации содержимого в устройстве 2100 записи/воспроизведения и вводить индексную информацию CD содержимого через рабочие схемы 2114 или пульт 2130 дистанционного управления.
Ниже приводится описание примера записи на дисковый картридж 1000 содержимого, записываемого с использованием цифрового видеорекодера (DV), или содержимого, отредактированного пользователем.
В этих случаях, поскольку не записана добавочная информация, соответствующая указанной информации EPG, необходимо создавать информацию CN идентификации содержимого в устройстве 2100 записи/воспроизведения и вводить индексную информацию CD содержимого через рабочие схемы 2114 или пульт 2130 дистанционного управления.
Согласно варианту выполнения изобретения, описанному выше, информация ID идентификации дискового картриджа записывается не только на оптический диск 100, но также наносится информация 202 идентификации дискового картриджа на корпус 200 дискового картриджа 1000 с возможностью визуального распознавания снаружи.
Однако изобретение не ограничивается этим и ниже приводится описание другой информации идентификации дискового картриджа, отличной от описанной выше, которая может быть записана на дисковый картридж 1000 дополнительно к информации 202 идентификации дискового картриджа.
На фиг.10А-10С показаны различные примеры записи информации идентификации дискового картриджа на соответствующих дисковых картриджах согласно данному изобретению. На фиг.10А показан пример записи с использованием печати в изометрической проекции, на фиг.10В показан в изометрической проекции другой пример с использованием наклейки со штриховым кодом и на фиг.10С показан в изометрической проекции еще один пример выполнения записи с использованием памяти.
А именно, как показано на фиг.10А, информацию 301 идентификации дискового картриджа, аналогичную информации 202 идентификации дискового картриджа, наносимую на корпус 200, наносят на печать 300А и приклеивают на корпус 200, например, на наружную поверхность его верхней коробки 210 во время изготовления дискового картриджа 1000.
Поэтому в этом случае можно распознавать информацию идентификации дискового картриджа с другого угла зрения, чем на часть боковой стенки дискового картриджа 1000.
Как показано на фиг.10В, информацию ID идентификации дискового картриджа, записанную на оптический диск 100 в дисковом картридже 1000, можно печатать в виде информации 302 идентификации дискового картриджа на наклейке 300В со штриховым кодом, которая наклеивается снаружи, например, на верхнюю коробку 210 корпуса 200 с возможностью визуального распознавания извне, во время изготовления дискового картриджа 1000.
В этом случае в устройстве 2100 записи/воспроизведения или в пульте 2130 дистанционного управления может быть предусмотрено устройство для считывания штрихового кода, или же может быть предусмотрено отдельно специальное устройство для считывания штрихового кода, так что оно считывает информацию 302 идентификации дискового картриджа с указанной наклейки 300В со штриховым кодом. В этом случае, без необходимости воспроизведения оптического диска 100 с использованием снимателя, можно считывать информацию 302 идентификации дискового картриджа непосредственно с наклейки 300В со штриховым кодом.
Как показано на фиг.10С, может быть предусмотрена память 300С, являющаяся блоком дополнительной памяти, согласно данному изобретению, в которой хранится информация ID идентификации дискового картриджа, записанная на оптический диск 100, помещенный в дисковый картридж 1000, например, на верхней коробке 210 корпуса 200, в процессе изготовления дискового картриджа 1000.
В этом случае в устройстве 2100 записи/воспроизведения может быть предусмотрено устройство считывания памяти, способное считывать записанную информацию, для считывания информации ID идентификации дискового картриджа из этой памяти 300С. В этом примере выполнения, без необходимости воспроизведения оптического диска 100 с использованием снимателя, можно считывать информацию идентификации дискового картриджа непосредственно из памяти 300С.
Указанная память 300С может быть памятью так называемого контактного типа с внешним контактным терминалом, или памятью так называемого бесконтактного типа без внешнего контактного терминала.
Хотя в приведенном выше описании вариантов выполнения изобретения указано, что информация 202 идентификации дискового картриджа наносится на наружную поверхность корпуса 200, однако изобретение не ограничивается этим и информацию 202 идентификации дискового картриджа можно наносить в любом другом месте, если ее можно распознавать визуально снаружи корпуса 200. Для этого в соответствии с изобретением можно по усмотрению наносить информацию идентификации дискового картриджа внутри корпуса 200 и предусматривать отверстие, которое обеспечивает доступ к информации идентификации дискового картриджа снаружи, так, чтобы эта информация идентификации дискового картриджа была видна снаружи корпуса 200.
Дополнительно к этому в приведенном выше описании предпочтительных вариантов выполнения изобретения в качестве используемого оптического диска указывается оптический диск с изменением фазы, однако изобретение не ограничивается этим, а можно использовать любые другие типы дисков, такие как магнитно-оптический диск, используемый в MD, и диск с изменением органического красителя, используемый в CD-R.
Хотя изобретение описано применительно к предпочтительным вариантам выполнения с определенной степенью подробности, очевидно, что возможны многие изменения и вариации. Поэтому следует понимать, что данное изобретение может быть реализовано на практике отличным от приведенного в описании образом без выхода из объема и идеи изобретения.
Формула изобретения
1. Дисковый картридж, имеющий диск и корпус для размещения диска, при этом указанный диск содержит центральное отверстие, предусмотренное в его центре; зону держателя диска, которая является кольцевой и проходит наружу от указанного центрального отверстия; переходную зону, которая является кольцевой и проходит наружу от указанной зоны держателя диска, при этом указанная переходная зона не используется для записи информации; и зону записи информации, которая является кольцевой и проходит наружу от указанной переходной зоны, при этом указанная зона записи информации используется для записи информации,
в котором указанная зона записи информации содержит первую кольцевую зону для записи информации без возможности перезаписи, расположенную на внутренней стороне в радиальном направлении указанного диска; и вторую кольцевую зону для записи информации с возможностью перезаписи, расположенную снаружи от указанной первой кольцевой зоны в радиальном направлении,
и указанная переходная зона и указанная первая кольцевая зона образуют третью кольцевую зону; и информация идентификации дискового картриджа, которая однозначно присваивается указанному диску, записывается в части указанной третьей кольцевой зоны и предусматривается с возможностью визуального распознавания снаружи указанного корпуса.
2. Дисковый картридж по п.1, в котором тип записи указанной информации идентификации дискового картриджа в указанной третьей кольцевой зоне отличается от типа записи информации в указанной зоне записи информации.
3. Дисковый картридж по п.1, в котором задана зона ввода для записи информации ввода, которая включает указанную первую кольцевую зону и часть указанной второй кольцевой зоны, смежную с указанной первой кольцевой зоной, на внутренней стороне в радиальном направлении диска; и оставшаяся зона, за исключением указанной зоны ввода в указанной второй кольцевой зоне, содержит зону данных для записи информации содержимого и зону вывода для записи информации вывода.
4. Дисковый картридж по п.3, в котором информация идентификации содержимого, которая присваивается каждой части содержимого, записанного в указанной зоне данных, для их идентификации, и индексная информация содержимого, описывающая содержимое, записанное в указанной зоне данных, записываются в указанной зоне данных.
5. Дисковый картридж по п.1, в котором запись указанной информации идентификации дискового картриджа в указанной третьей кольцевой зоне выполняется путем образования множества прямоугольных структур, каждая из которых имеет длину в радиальном направлении диска и ширину в его периферийном направлении, расположенных на расстоянии друг от друга в периферийном направлении.
6. Дисковый картридж по п.1, в котором указанная информация идентификации дискового картриджа выражается комбинацией сжатия и расширения зазора между указанным множеством прямоугольных структур в указанном периферийном направлении.
7. Дисковый картридж по п.1, в котором указанная информация идентификации дискового картриджа выражается комбинацией размеров в направлении ширины указанного множества прямоугольных структур.
8. Дисковый картридж по п.5, в котором указанное множество прямоугольных структур образовано с помощью процесса лазерной маркировки или с помощью процесса лазерной вырезки.
9. Дисковый картридж по п.5, в котором в указанной третьей кольцевой зоне предусмотрена записывающая пленка с изменением фазы и указанное множество прямоугольных структур образуется путем лазерного облучения указанной записывающей пленки с изменением фазы для обеспечения изменения фазы в указанной записывающей пленке с изменением фазы.
10. Дисковый картридж по п.5, в котором указанное множество прямоугольных структур образуется с помощью процесса прессования.
11. Дисковый картридж по п.1, в котором указанная информация идентификации дискового картриджа записывается с возможностью оптического воспроизведения.
12. Дисковый картридж по п.1, в котором указанная информация идентификации дискового картриджа записывается с возможностью воспроизведения с помощью снимателя, который оптически воспроизводит информацию, записанную в указанной зоне записи информации.
13. Дисковый картридж по п.1, в котором указанная информация идентификации дискового картриджа содержит комбинацию знаков.
14. Дисковый картридж по п.13, в котором указанные знаки содержат по меньшей мере цифровые или буквенные знаки.
15. Дисковый картридж по п.1, дополнительно содержащий блок вспомогательной памяти, предусмотренный в указанном дисковом картридже, для хранения указанной информации идентификации дискового картриджа, при этом указанный блок вспомогательной памяти выполнен с возможностью обеспечения считывания с помощью контактного или бесконтактного снимателя.
16. Дисковый картридж по п.1, в котором на указанный дисковый картридж наклеивается печать со штриховым кодом, указывающим указанную информацию идентификации дискового картриджа.
17. Дисковый картридж по п.1, в котором на указанный дисковый картридж наклеивается печать, имеющая сформированную видимым образом указанную информацию идентификации дискового картриджа.
18. Дисковый картридж по п.1, в котором указанная информация идентификации дискового картриджа, записанная в части указанной третьей кольцевой зоны, содержит комбинацию знаков из N цифр, в то время как указанная информация идентификации дискового картриджа, предусмотренная видимым снаружи образом на указанном корпусе, содержит комбинацию знаков из М цифр, при этом М
19. Способ изготовления дискового картриджа, имеющего диск, имеющий зону записи информации, образованную для записи информации, и корпус для размещения диска, при этом указанный способ содержит первую стадию формирования зоны держателя диска, которая проходит в виде кольца и снаружи от центрального отверстия, предусмотренного в центре указанного диска; переходной зоны, которая проходит в виде кольца и снаружи от указанной зоны держателя диска, при этом указанная переходная зона не используется для записи информации; и зоны записи информации, которая проходит в виде кольца и снаружи от указанной переходной зоны, при этом указанная зона записи информации содержит первую кольцевую зону для записи информации без возможности перезаписи, расположенную на внутренней стороне в радиальном направлении указанного диска; и вторую кольцевую зону для записи информации с возможностью перезаписи, расположенную снаружи от указанной первой кольцевой зоны в радиальном направлении; вторую стадию заключения указанного диска, изготовленного на указанной первой стадии, в корпус; третью стадию записи информации идентификации дискового картриджа, которая однозначно присваивается указанному диску, в указанной третьей кольцевой зоне, которая включает указанную переходную зону и указанную первую кольцевую зону; и четвертую стадию нанесения указанной информации идентификации дискового картриджа видимым снаружи указанного корпуса образом.
20. Способ изготовления дискового картриджа по п.19, в котором указанную третью стадию записи указанной информации идентификации дискового картриджа в указанной третьей кольцевой зоне выполняют способом, отличающимся от способа записи информации в указанной зоне записи информации.
21. Способ изготовления дискового картриджа по п.19, в котором в указанной первой стадии указанную первую кольцевую зону и часть указанной второй кольцевой зоны, расположенную на внутренней стороне в радиальном направлении диска и смежную с указанной первой кольцевой зоной, формируют в качестве зоны ввода для записи информации ввода и оставшуюся зону указанной второй кольцевой зоны за исключением указанной зоны ввода формируют в качестве зоны данных для записи информации содержимого и зоны вывода для записи информации вывода.
22. Способ изготовления дискового картриджа по п.19, в котором указанная третья стадия записи указанной информации идентификации дискового картриджа в указанной третьей кольцевой зоне содержит формирование множества прямоугольных структур, каждая из которых имеет длину в радиальном направлении диска и ширину в его периферийном направлении, расположенных на расстоянии друг от друга в периферийном направлении.
23. Способ изготовления дискового картриджа по п.22, в котором указанную информацию идентификации дискового картриджа, записанную в третьей стадии, выражают комбинацией сжатия и расширения зазора между указанным множеством прямоугольных структур в указанном периферийном направлении.
24. Способ изготовления дискового картриджа по п.22, в котором указанную информацию идентификации дискового картриджа, записанную в указанной третьей стадии, выражают комбинацией различных размеров в направлении ширины указанного множества прямоугольных структур.
25. Способ изготовления дискового картриджа по п.22, в котором указанную третью стадию формирования указанного множества прямоугольных структур выполняют с помощью процесса лазерной маркировки.
26. Способ изготовления дискового картриджа по п.22, в котором указанную третью стадию формирования указанного множества прямоугольных структур выполняют с помощью процесса прессования.
27. Способ изготовления дискового картриджа по п.22, в котором в указанной третьей кольцевой зоне предусматривают записывающую пленку с изменением фазы и указанную третью стадию формирования указанного множества прямоугольных структур выполняют путем лазерного облучения указанной записывающей пленки с изменением фазы для обеспечения изменения фазы в указанной записывающей пленке с изменением фазы.
28. Способ изготовления дискового картриджа по п.19, в котором указанную информацию идентификации дискового картриджа, записанную в указанной третьей стадии, записывают с возможностью оптического воспроизведения.
29. Способ изготовления дискового картриджа по п.19, в котором указанную информацию идентификации дискового картриджа, записанную в указанной третьей стадии, записывают с возможностью воспроизведения с помощью снимателя, который оптически воспроизводит информацию, записанную в указанной зоне записи информации.
30. Способ изготовления дискового картриджа по п.19, в котором указанная информация идентификации дискового картриджа, записанная в указанной третьей стадии, содержит комбинацию знаков.
31. Способ изготовления дискового картриджа по п.30, в котором указанная комбинация знаков содержит по меньшей мере цифровые или буквенные знаки.
32. Способ изготовления дискового картриджа по п.19, в котором указанная информация идентификации дискового картриджа, записанная в части указанной третьей кольцевой зоны в указанной третьей стадии, содержит комбинацию знаков из N цифр, в то время как указанная информация идентификации дискового картриджа, предусмотренная видимым снаружи образом на указанном корпусе в указанной четвертой стадии, содержит комбинацию знаков из М цифр, которые соответствуют последним М цифрам, включая по меньшей мере одну цифру из N цифр, при этом М
33. Система записи/воспроизведения, имеющая дисковый картридж и устройство записи/воспроизведения, в которой указанный дисковый картридж включает в себя диск, выполненный с возможностью записи/воспроизведения информации и корпус для размещения указанного диска, при этом в указанном диске записывается информация идентификации дискового картриджа, которая однозначно придается указанному диску, и указанная информация идентификации дискового картриджа предусматривается видимым образом на указанном корпусе, и указанное устройство записи/воспроизведения содержит записывающее средство для записи содержимого информации, информации идентификации содержимого, которая однозначно придается каждому указанному содержимому, и индексной информации содержимого, описывающей содержимое на диске в указанном дисковом картридже, который загружен в указанное устройство записи/воспроизведения;
воспроизводящее средство для воспроизведения указанной информации идентификации дискового картриджа, указанного содержимого, указанной информации идентификации содержимого и указанной индексной информации содержимого, которые записаны в указанном диске;
запоминающее средство для хранения указанной информации идентификации дискового картриджа, указанной информации идентификации содержимого и указанной индексной информации содержимого, которые воспроизводятся с помощью указанного воспроизводящего средства с корреляцией между собой; и
средства поиска для поиска информации с помощью указанной информации идентификации дискового картриджа, указанной информации идентификации содержимого и/или указанной индексной информации содержимого, которые записаны в указанном запоминающем средстве.
34. Система записи/воспроизведения по п.33, в которой указанный диск имеет центральное отверстие, предусмотренное в его центре; зону держателя диска, которая проходит в виде кольца и радиально от указанного центрального отверстия; переходную зону, которая проходит в виде кольца и радиально от указанной зоны держателя диска, при этом указанная переходная зона не используется для записи информации; и зону записи информации, которая проходит в виде кольца и радиально от указанной переходной зоны для записи информации, при этом указанная зона записи информации содержит первую кольцевую зону для записи информации без возможности перезаписи, расположенную на внутренней стороне в радиальном направлении диска, и вторую кольцевую зону для записи информации с возможностью перезаписи, расположенную снаружи от указанной первой кольцевой зоны в радиальном направлении, и третью кольцевую зону, которая содержит указанную переходную зону и указанную первую кольцевую зону и выполнена с возможностью записи указанной информации идентификации дискового картриджа в части указанной третьей кольцевой зоны.
35. Система записи/воспроизведения по п.33, в которой тип записи указанной информации идентификации дискового картриджа в указанной третьей кольцевой зоне отличается от типа записи информации в указанной зоне записи информации.
36. Система записи/воспроизведения по п.33, в которой предусмотрена зона ввода для записи информации ввода в указанной первой зоне и части указанной второй кольцевой зоны, расположенной на внутренней стороне в радиальном направлении диска, смежно с указанной первой кольцевой зоной, и оставшаяся часть указанной второй кольцевой зоны, за исключением указанной зоны ввода, содержит зону данных для записи информации содержимого и зону вывода для записи информации вывода.
37. Система записи/воспроизведения по п.33, в которой указанная информация идентификации содержимого и указанная индексная информация содержимого записываются в части указанной второй кольцевой зоны, соответствующей указанной третьей кольцевой зоне.
38. Система записи/воспроизведения по п.33, в которой указанный поиск информации с использованием указанного средства поиска содержит поиск указанной информации идентификации содержимого и указанной индексной информации содержимого с использованием указанной информации идентификации дискового картриджа в качестве ключа.
39. Система записи/воспроизведения по п.33, в которой указанный поиск информации с использованием указанного средства поиска содержит поиск указанной информации идентификации дискового картриджа с использованием указанной индексной информации содержимого в качестве ключа.
40. Система записи/воспроизведения по п.33, дополнительно содержащая дисплейное средство для отображения информации, найденной указанным средством поиска.
41. Система записи/воспроизведения по п.33, дополнительно содержащая средство создания информации для создания указанной информации идентификации содержимого и указанной индексной информации содержимого, в которой указанное записывающее средство содержит функцию записи указанной информации идентификации содержимого и указанной индексной информации содержимого на указанный диск, которые выдаются указанным средством создания информации.
42. Система записи/воспроизведения по п.41, в которой указанное средство создания информации содержит рабочее средство для ручного ввода информации и в которой создание указанной индексной информации содержимого с помощью указанного средства создания информации обеспечивается посредством управления указанным рабочим средством.
43. Система записи/воспроизведения по п.42, в которой указанное содержимое содержит добавочную информацию, которая содержит по меньшей мере один идентификатор содержимого для идентификации указанного содержимого и индексную информацию содержимого, описывающую указанное содержимое, и в которой указанное средство создания информации выполняет создание по меньшей мере одной указанной информации идентификации содержимого в соответствии с указанным идентификатором содержимого или же указанной индексной информации содержимого в соответствии с указанным содержимым добавочной информации.
44. Система записи/воспроизведения по п.43, в которой указанное содержимое содержит программу вещания, которое является цифровым вещанием с использованием базовых станций, цифровым вещанием с коммутацией каналов или цифровым вещанием с использованием поверхностной волны, и указанная добавочная информация содержит электронную информацию о программе вещания, соответствующую указанной программе вещания.
45. Система записи/воспроизведения по п.33, в которой указанное содержимое является программой вещания и указанная индексная информация содержимого содержит описательную информацию с по меньшей мере названием программы, временем вещания, характером программы и ключевым словом, описывающим указанную программу вещания.
46. Система записи/воспроизведения по п.33, в которой указанная индексная информация содержимого включает в себя информацию, состоящую по меньшей мере из знаков, изображений и голосовой информации.
47. Дисковый картридж по п.4, в котором в указанной зоне данных записывается множество информаций идентификации содержимого.
48. Система записи/воспроизведения по п.33, отличающаяся тем, что выполнена с возможностью обработки множества информаций идентификации содержимого.
РИСУНКИ
MM4A – Досрочное прекращение действия патента СССР или патента Российской Федерации на изобретение из-за неуплаты в установленный срок пошлины за поддержание патента в силе
Дата прекращения действия патента: 18.08.2009
Извещение опубликовано: 20.07.2010 БИ: 20/2010
|