|
(21), (22) Заявка: 2004125570/28, 16.08.2004
(24) Дата начала отсчета срока действия патента:
16.08.2004
(45) Опубликовано: 10.04.2006
(56) Список документов, цитированных в отчете о поиске:
Адрес для переписки:
199178, Санкт-Петербург, Малый пр-кт, В.О., 54-4, ЗАО “Транзас”, В.М. Леонову
|
(72) Автор(ы):
Казунин Дмитрий Вадимович (RU), Комраков Евгений Вячеславович (RU), Мужиков Николай Васильевич (RU), Ганжа Евгений Анатольевич (RU), Бутурлимов Олег Валерьевич (RU)
(73) Патентообладатель(и):
Закрытое акционерное общество “Транзас” (RU)
|
(54) ТРЕНАЖЕР ГРУЗОБАЛЛАСТНЫХ И ТЕХНОЛОГИЧЕСКИХ ОПЕРАЦИЙ НА ТАНКЕРАХ И БЕРЕГОВЫХ ТЕРМИНАЛАХ
(57) Реферат:
Изобретение относится к средствам имитационной техники для профессиональной подготовки операторов береговых терминалов. Технический результат – расширение функциональных возможностей. Для достижения данного результата введены сервер данных, блок записи историй обучаемых и маршрутизатор сетевых сообщений, содержащий 2N+2 блоков сетевых данных, связанных между собой шиной сетевой пересылки данных. При этом блок инструктора содержит блок управления инструктора и соединенные двухсторонней связью блок моделирования процессов гидравлических систем и блок расчета прочности конструкций. 4 з.п. ф-лы, 9 ил. 
Изобретение относится к технике тренажеров, а именно к тренажерам грузобалластных и технологических операций, и предназначено для обучения персонала управлению системами танкеров и береговых терминалов.
Тренажеры грузобалластных и технологических операций на танкерах и береговых терминалах являются необходимым средством для подготовки квалифицированного персонала, способного выполнять свои функции безопасно и эффективно в свете современных требований по подготовке операторов. При этом важным являются качество и быстрота обучения операторов навыкам управления как изолированными системами танкеров или терминалов, так и совместной работе операторов при взаимодействии танкеров и терминалов в рамках единого комплекса.
Широко известны тренажеры оператора энергетического объекта, основанные на использовании аппаратных средств для уменьшения вычислительных ресурсов при моделировании процессов в энергетическом объекте (SU 1128286 А, МПК 3 G 09 B 9/00, 1984; SU 1319065 A2, МПК 4 G 09 B 9/00, 1987; SU 1444861 А1, МПК 4 G 09 B 9/00, 1988; RU 2202830 С1, МПК 7 G 09 B 9/00, 2003). Недостатком тренажеров, построенных по такому принципу, является их невысокая надежность и невысокая гибкость системы, так как требуется ее полное аппаратное воспроизводство для нового объекта управления.
Данный тренажер включает центральный процессор, блок инструктора, N блоков оператора с их связями и N автономных блоков расчета прочности корпуса судна. Использование автономных блоков расчета прочности корпуса судна не обеспечивает в реальном масштабе времени обмен данными с вычислительным модулем процессов в гидравлической системе, реализуемым в центральном процессоре, что снижает качество моделирования и не позволяет следить в режиме реального времени за изменениями посадки, прочности и остойчивости танкера с помощью блока расчета прочности, который позволяет вводить данные только с клавиатуры. Кроме того, тренажер обладает недостаточным быстродействием из-за избыточного объема передаваемых данных в процессе работы тренажера, обеспечивает малое количество отображаемой на экранах графической и текстовой информации и не обеспечивает совместную подготовку операторов по управлению единой системой танкер – терминал с учетом меняющейся в режиме реального времени прочности конструкций объектов управления.
Задачей изобретения является: создание тренажера для раздельной и совместной подготовки операторов по управлению гидравлическими системами при взаимодействии танкеров и терминалов в рамках единого комплекса; обеспечение расчета прочности конструкций корпуса танкеров и устройств систем, емкостей терминалов в режиме реального времени; обеспечение универсализации блоков тренажера, минимизации данных сетевого обмена между ними; повышение наглядности представления информации; ускорение обучения операторов навыкам управления изолированными и объединенными системами танкеров и терминалов.
Технический результат, достигаемый при осуществлении заявляемого изобретения, заключается в повышении технологичности разработки тренажера; в повышении качества и в ускорении процессов моделирования работы систем тренажера; в ускорении обучения операторов; в реализации совместного обучения за счет моделирования параметров течений в разделенных и совмещенных гидравлических системах танкеров и терминалов, во внутренних устройствах и граничных элементах систем во взаимосвязи с расчетом прочности элементов конструкций танкеров и устройств систем, емкостей терминалов, остойчивости и посадки танкеров в режиме реального времени.
Указанный технический результат достигается тем, что в тренажер грузобалластных и технологических операций на танкерах и береговых терминалах, содержащий блок инструктора и N блоков оператора, введены сервер данных, блок записи историй обучаемых и маршрутизатор сетевых сообщений, содержащий 2N+2 блоков сетевых данных, связанных между собой шиной сетевой пересылки данных, а блок инструктора содержит блок управления инструктора и соединенные двухсторонней связью блок моделирования процессов гидравлических систем (ГС) и блок расчета прочности конструкций, первым и вторым входами-выходами блока инструктора являются вход-выход блока управления инструктора и второй вход-выход блока моделирования процессов ГС, соответственно, каждый из N блоков оператора содержит блок управления оператора и соединенные двухсторонней связью блок моделирования процессов ГС и блок расчета прочности конструкций, первым и вторым входами-выходами блока оператора являются вход-выход блока управления оператора и второй вход-выход блока моделирования процессов ГС, соответственно, при этом входы-выходы блока инструктора и N блоков оператора соединены соответственно с раздельными входами-выходами 2N+2 блоков сетевых данных, вход блока записи историй обучаемых подключен к шине сетевой пересылки данных, выход блока записи историй обучаемых соединен с первым входом сервера данных, второй вход-выход которого соединен двухсторонней связью с вторым входом-выходом блока инструктора и с вторыми входами-выходами N блоков оператора.
Указанный технический результат достигается также тем, что блок управления инструктора содержит блок команд инструктора, блок экранов управления, блок отображения текстовой информации, блок отображения визуальной информации, блок оценки изменений блока управления инструктора и блок редактирования упражнений, при этом выход блока команд инструктора соединен с первым входом блока оценки изменений блока управления инструктора, второй вход-выход которого соединен двухсторонней связью с первым входом-выходом блока экранов управления, к третьему входу подключен выход блока редактирования упражнений, блок отображения визуальной информации соединен двухсторонней связью с вторым входом-выходом блока экранов управления, третий выход которого соединен с входом блока отображения текстовой информации, а входом-выходом блока управления инструктора является четвертый вход-выход блока оценки изменений блока управления инструктора.
Блок моделирования процессов ГС содержит последовательно соединенные блок оценки изменений модели, блок команд модели и блок моделирования устройств ГС, при этом второй вход-выход блока моделирования устройств ГС соединен двухсторонней связью с вторым входом-выходом блока оценки изменений модели, а первым и вторым входом-выходом блока моделирования процессов ГС является третий вход-выход блока моделирования устройств ГС и третий вход-выход блока оценки изменений модели, соответственно.
Блок управления оператора содержит блок команд оператора, блок экранов управления, блок отображения текстовой информации, блок отображения визуальной информации и блок оценки изменений блока управления оператора, при этом выход блока команд оператора соединен с первым входом блока оценки изменений блока управления оператора, второй вход-выход которого соединен двухсторонней связью с первым входом-выходом блока экранов управления, блок отображения визуальной информации соединен двухсторонней связью с вторым входом-выходом блока экранов управления, третий выход которого соединен с входом блока отображения текстовой информации, а входом-выходом блока управления оператора является третий вход-выход блока оценки изменений блока управления оператора.
Сервер данных содержит связанные двухсторонней связью блок загрузки данных и блок памяти начальных состояний, а также блок памяти историй обучаемых, выход которого соединен с вторым входом блока загрузки данных, третий вход-выход которого является вторым входом-выходом сервера данных, первым входом которого является вход блока памяти историй обучаемых.
Технический результат в заявляемом изобретении достигается за счет новой совокупности блоков и связей между ними.
Технологичность разработки тренажера обеспечивается идентичностью конструктивного выполнения блоков, входящих в состав блока управления инструктора и блоков управления оператора.
Повышение качества и ускорение процессов моделирования работы систем обеспечивается за счет введения в блок инструктора и в каждый блок оператора блоков моделирования процессов ГС, работающих во взаимодействии с блоками расчета прочности конструкций, и сокращения объема циркулирующей по сети информации за счет передачи в сеть только изменившихся данных.
Совместное обучение операторов обеспечивается тем, что блок моделирования процессов ГС блока инструктора в зависимости от задач и целей обучения может выполнять различные функции:
является общей расчетной моделью единой гидравлической сети, состоящей из терминалов и танкеров, не используя данные блоков моделирования процессов ГС блоков операторов;
является расчетной моделью фрагмента гидравлической сети (терминал или танкер), которая увязывается с данными расчета блоков моделирования процессов ГС блоков операторов, образуя условно объединенную гидравлическую сеть;
является блоком выборочной проверки данных отдельных параметров, модулей или систем в дискретном режиме, обеспечивая избирательную проверку операторов и планирование действий операторов.
Функции блока моделирования процессов ГС блока инструктора определяются выбором типа инструктора, который будет использоваться в процессе обучения в зависимости от цели и задачи конкретного упражнения. Инструктор может быть главным оператором, например терминала, или пассивным (активным) наблюдателем (см. фиг.6).
Ускорение обучения обеспечивается за счет увеличения количества текстовой и графической информации и ее организации на экранах блоков отображения графической и текстовой информации в блоках управления оператора и инструктора (см. фиг.7-9).
Изобретение иллюстрируется чертежами, на которых изображено:
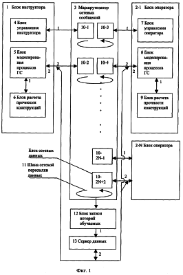
на фиг.1 – структурная схема тренажера;
на фиг.2 – структурная схема блока управления инструктора;
на фиг.3 – структурная схема блока моделирования процессов ГС;
на фиг.4 – структурная схема блока управления оператора;
на фиг.5 – структурная схема сервера данных;
на фиг.6 – логическая схема выбора типа программы блока моделирования процессов ГС блока инструктора в зависимости от цели обучения;
на фиг.7 – экран блока управления оператора газового танкера;
на фиг.8 – экран блока управления оператора химического танкера;
на фиг.9 – экран блока управления оператора нефтеналивного терминала.
Тренажер содержит (фиг.1) блок 1 инструктора и N блоков 2-1…2-N оператора, которые объединены через блоки 10-1…10-N+2 сетевых данных маршрутизатора 3 сетевых сообщений в распределенный сетевой учебный класс. Блоки 10-1…10-N связаны между собой шиной 11 сетевой пересылки данных. Вход блока 12 записи историй обучаемых подключен к шине 11 пересылки данных, а выход соединен с входом сервера 13 данных, вход-выход которого соединен двухсторонней связью с вторым входом-выходом блока 1 инструктора и вторыми входами-выходами блоков 2-1…2-N оператора.
Блок 1 инструктора является рабочим местом инструктора. Он содержит (фиг.1) блок 4 управления инструктора и соединенные двухсторонней связью блок 5 моделирования процессов ГС и блок 6 расчета прочности конструкций. Первым и вторым входами-выходами блока 1 инструктора являются вход-выход блока 4 и второй вход-выход блока 5, соответственно.
Блок 4 управления инструктора (фиг.2) содержит блок 4-1 команд инструктора, блок 4-2 экранов управления, блок 4-3 отображения текстовой информации, блок 4-4 отображения визуальной информации, блок 4-5 оценки изменений блока управления инструктора и блок 4-6 редактирования упражнений. Выход блока 4-1 команд инструктора соединен с первым входом блока 4-5, второй вход-выход которого соединен двухсторонней связью с первым входом-выходом блока 4-2 экранов управления, а к третьему входу подключен выход блока 4-6 редактирования упражнений. Блок 4-4 отображения визуальной информации соединен двухсторонней связью с вторым входом-выходом блока 4-2 экранов управления, третий выход которого соединен с входом блока 4-3 отображения текстовой информации. Входом-выходом блока 4 управления инструктора является четвертый вход-выход блока 4-5 оценки изменений блока управления инструктора.
Блок 4 управления инструктора с помощью управляющих воздействий инструктора, подаваемых с блока 4-1 команд инструктора:
обеспечивает загрузку упражнения операторам;
управляет моделированием процессов ГС, записью и воспроизведением историй работы операторов, записью упражнений и начальных условий, контролем состояния органов управления, пауз и течением времени выполнения упражнения на отдельных или на всех рабочих местах операторов;
обеспечивает контроль и вмешательство в управление устройствами на равных правах с оператором с помощью блока 4-4 отображения визуальной информации;
вводит неисправности, производит контрольную проверку достигнутых параметров прочности, характеристик устройств и планирует учебные действия операторов;
создает и редактирует упражнения и истории работы операторов, прокручивает записанные истории операторов для разбора хода выполнения действий по заданию.
Блок 5 моделирования процессов ГС (фиг.3) содержит последовательно соединенные блок 5-2 оценки изменений модели, блок 5-1 команд модели и блок 5-3 моделирования устройств ГС. Второй вход-выход блока 5-3 моделирования объектов ГС соединен двухсторонней связью с вторым входом-выходом блока 5-2 оценки изменений модели, а первым и вторым входом-выходом блока 5 являются третий вход-выход блока 5-3 моделирования устройств ГС и третий вход-выход блока 5-2 оценки изменений модели, соответственно. Блок 5 связан двухсторонней связью и взаимодействует с блоком 6 расчета прочности конструкций.
Блок 5 моделирования процессов ГС обеспечивает численное описание процессов и поведение устройств систем танкеров или терминалов.
Блок 5-1 команд модели производит изменение характеристик устройств, вводит неисправности, изменяет дискрет времени расчета параметров модели, а также останавливает работу блока 5-3 моделирования устройств ГС на время внесения изменений в данные численной модели.
Блок 5-2 оценки изменений модели хранит информацию о всех управляемых устройствах гидравлической сети и видимых параметров в блоке 4 управления инструктора, наборе возможных команд модели, сравнивает хранящиеся в блоке переменные (параметры из блока 5-3 моделирования устройств ГС или команды из блока 7 управления) с приходящими значениями этих же переменных и передает в сеть изменения, которые формируются этим блоком по отклонениям от хранящихся величин.
Блок 5-3 моделирования устройств ГС производит вычисление параметров гидравлической сети, поведение объектов в условиях меняющихся сред, внешних условий, характеристик входящих в систему объектов, времени появления недопустимых эксплутационных значений, возникающих в поведении систем танкеров и терминалов в результате управляющих действий оператора или инструктора.
Блок 5-3 может быть реализован в виде двух последовательных вычислительных модулей. Первый модуль – расчет стационарного потока многокомпонентной жидкости по распределенной трубопроводной сети, реализуемый на основе решения специальным образом подготовленной системы уравнений методом Ньютона (Вычислительные методы, т.1. В.И.Крылов, В.В.Бобков и др., М.: Наука, 1976. – 304 с.) в сочетании с алгоритмами сортировки (Роберт Серджвик. Фундаментальные алгоритмы, ч.5. – СПб.: ДиаСофтЮП, 2003. – 480 с.). Второй модуль – модуль решения интегральных уравнений для устройств и объектов, реализуемый стандартным неявным методом Эйлера (Вычислительные методы, т.1. В.И.Крылов, В.В.Бобков и др. – М.: Наука, 1976. – 304 с.). Этот модуль обеспечивает также расчет различных спецэффектов, которые предусмотрены целью обучения.
Программа работы блоков 5-3, 4-4, 7-4 устанавливается в зависимости от конкретного типа танкера или берегового терминала.
Блок 6 расчета прочности конструкций обеспечивает расчет прочности элементов конструкции корпуса танкера (изгибающих моментов, перерезывающих сил, остойчивости и посадки корпуса танкера) или прочности оболочек емкостей для терминала. Вычисления выполняются по стандартным утвержденным классификационными обществами методикам или другим известным алгоритмам (см., например, Головешкин Ю.В. Методы теории тонких оболочек в строительной механике надводного корабля. – СПб.: Судостроение,1992. – 176 с.).
Блок 6 работает в режиме реального времени по запросу от блока 5 или в режиме дискретных вычислений для планирования операций при вводе отдельных параметров оператором или инструктором.
Блоки 2-1…2-N являются рабочими местами обучаемых операторов и идентичны по конструктивному выполнению. Каждый блок 2 оператора (фиг.1) содержит блок 7 управления оператора, блок 8 моделирования процессов ГС, который соединен двухсторонней связью с блоком 9 расчета прочности конструкций. Первым и вторым входами-выходами блока 2 оператора являются выход-выход блока 7 управления оператора и второй вход-выход блока 8 моделирования процессов ГС, соответственно.
Блок 7 управления оператора (фиг.4) содержит блок 7-1 команд оператора, блок 7-2 экранов управления, блок 7-3 отображения текстовой информации, блок 7-4 отображения визуальной информации и блок 7-5 оценки изменений блока управления оператора, при этом выход блока 7-1 команд обучаемого соединен с первым входом блока 7-5 оценки изменений блока управления оператора, второй вход-выход которого соединен двухсторонней связью с первым входом-выходом блока 7-2 экранов управления. Блок 7-4 отображения визуальной информации соединен двухсторонней связью с вторым входом-выходом блока 7-2 экранов управления, третий выход которого соединен с входом блока 7-3 отображения текстовой информации. Входом-выходом блока 7 управления оператора является третий вход-выход блока 7-5 оценки изменений блока управления оператора.
Блоки 7-1…7-5 аналогичны по конструктивному выполнению соответствующим блокам 4-1…4-5 блока 4 управления инструктора.
Блок 7 управления оператора с помощью управляющих воздействий оператора, подаваемых с блока 7-1 команд оператора, обеспечивает загрузку упражнения, управление моделированием процессов ГС с целью выполнения упражнения, запись и воспроизведение результатов работы оператора.
Блоки 8 и 9 блока 2 оператора аналогичны по конструктивному выполнению соответствующим блокам 5 и 6 блока 1 инструктора.
Маршрутизатор 3 сетевых сообщений распределенной системы является средством доставки изменяющейся информации между блоками управления и моделирования блока 1 инструктора и блоками управления и моделирования блоков 2-1…2-N оператора. Блоки 10-1…10-2N+2 маршрутизатора 3 обеспечивают формирование, синхронизацию и доставку данных по распределенной сети.
Сервер 13 данных (фиг.5) содержит связанные двухсторонней связью блок 13-1 загрузки данных и блок 13-2 памяти начальных состояний, а также блок 13-3 памяти историй обучаемых, выход которого соединен с вторым входом блока 13-1 загрузки данных, третий вход-выход которого является вторым входом-выходом сервера 13 данных, первым входом которого является вход блока 13-3 памяти историй обучаемых.
Сервер 13 данных обеспечивает централизованное хранение, запись о всех начальных состояниях системы и историй обучаемых.
Блок 12 записи историй обучаемых, подключенный к шине 11 сетевой пересылки данных, обеспечивает формирование и запись историй всех обучаемых на сервер 13 данных.
Тренажер может быть реализован в виде компьютерного сетевого класса, который образует распределенную систему, организованную в виде топологии звезда. В результате заявленной структуры тренажера блок 1 инструктора или блоки 2 оператора могут физически размещаться на нескольких компьютерах сетевого класса, осуществляя по сети обмен данными между блоками моделирования процессов ГС (блок 5 или блок 8) и блоком 4 управления инструктора или блоками 7 управления оператора. Блок 1 инструктора и сервер 13 данных могут физически находиться на одном компьютере класса. Организация класса допускает любое перекрестное и совместное размещение блока 4 управления инструктора, блоков 7 управления оператора и блока 5 (или блоков 8) моделирования процессов ГС на физическом уровне компьютеров сетевого класса.
Тренажер работает следующим образом.
По команде инструктора или обучаемого оператора, поступающей с блока 4-1 или блока 7-1, соответственно, производится инициализация начального состояния сетевого класса. Упражнение из блока 13-2 начальных состояний блока 13 сервера через блок 13-1 загрузки упражнения поступает на блок 5-2 оценки изменений модели. При наличии изменений модели они присваиваются переменным модели блока 5-3 и передаются в блоки сетевых данных 10-1…10-2N+2 для доставки в блок 4 управления инструктора и блоки 7 управления оператора.
В состав исходных данных упражнения входят набор параметров, определяющих начальное состояние систем танкера или терминала, а также цель и инструкция по выполнению задания на обучение, представленные в текстовом виде. Оператор на блоке 7-3 отображения текстовой информации знакомится с исходными данными. С помощью блока 7-1 оператор наблюдает за изменениями и управляет системами танкера или терминала, которые моделируются в блоке 8, обмениваясь данными в режиме реального времени с блоком 9 расчета прочности конструкций. В результате управляющих воздействий с блока 7 на блок 8 (или блок 5 в случае единой гидравлической модели терминала и танкеров для смешанного класса) обучаемый старается достигнуть цели упражнения. В это же время инструктор с помощью блока 4 просматривает состояние управления и результаты моделирования на блоке 7 оператора, производя эпизодически контрольную проверку текущих параметров, получаемых оператором.
Для затруднения хода выполнения оператором упражнения и создания непредвиденных ситуаций при достижении цели, заданной в упражнении, инструктор с помощью блока 4-1 изменяет внешние условия, характеристики устройств систем танкера или терминала и вводит в них неисправности.
Упражнение считается законченным при достижении оператором поставленной в задании цели или при возникновении серьезной аварийной ситуации, к которой привели его действия.
В процессе выполнения упражнения все действия инструктора и оператора, а также реакции моделируемого объекта, документируются в блоке 13-3 историй обучаемых и эта информация в дальнейшем может быть использована инструктором для оценки и разбора порядка и хода выполнения упражнения оператором.
В тренажере в зависимости от исходных данных и программного обеспечения, заложенного в блоки тренажера, реализуются упражнения, которые обеспечивают: изучение устройства танкера (берегового терминала), состава его технических средств и систем; планирование действий оператора; обучение управлению системами и агрегатами; изучение устройства и работы систем мониторинга параметров и систем сигнализации; совместное или независимое обучение операторов, терминалов и танкеров; обучение правильному выполнению технологических операций в нормальных и аварийных ситуациях.
Тренажер обеспечивает обучение технологическими операциями на танкерах и береговых терминалах, которые используются для обработки нефти, нефтепродуктов, химических сред, природных и нефтяных газов.
При работе тренажера вся передача данных происходит через блоки 4-5, 5-2, 7-5 и 8-2, которые обеспечивают формирование и передачу данных в распределенную сеть только в тех случаях, когда они имеют существенные отличия от предыдущих значений, что сокращает объем информации, циркулирующей в распределенной сети тренажера, и на порядок повышает быстродействие тренажера. В случае загрузки и сохранения упражнения или истории обучаемых используется прямое обращение к серверу 13 из блоков 5-2, 8-2 или 4-5,7-5.
Введение блока 5 моделирования процессов в ГС в блок 1 инструктора позволяет обеспечить отработку навыков оператора как по раздельному управлению изолированных систем танкера и терминала, так и совместному управлению единой гидравлической сетью, объединяющей трубопроводные системы танкеров и терминалов.
Введение блока 6 расчет прочности конструкций в блок 1 инструктора и блока 9 расчета прочности конструкций в каждый блок 2-1…2N оператора обеспечивает повышение качества моделирования за счет моделирования параметров течений в гидравлических системах, внутренних устройствах и граничных элементах во взаимосвязи с расчетом прочности элементов конструкции танкера и устройств систем, емкостей терминала, остойчивости и посадки танкера в режиме реального времени, позволяет решать задачи планирования действий оператора.
Повышение технологичности изготовления тренажера достигается за счет идентичности и универсальности блоков, входящих в состав тренажера.
Изображения экранов, приведенные на фиг.7-9, иллюстрируют организацию отображения графической информации на экране блока 7 управления оператора при работе тренажера в режиме газового танкера, химического танкера и нефтеналивного терминала, соответственно.
Таким образом, тренажер грузобалластных и технологических операций на танкерах и терминалах, выполненный в соответствии с настоящим изобретением, обеспечивает: совместное и изолированное обучение операторов танкеров и терминалов по управлению системами; повышение качества моделирования систем, элементов конструкций танкеров и терминалов; повышение технологичности разработки тренажера; оптимизацию сетевого обмена данными; ускорение, повышение качества и наглядности процесса обучения операторов.
Формула изобретения
1. Тренажер грузобалластных и технологических операций на танкерах и береговых терминалах, содержащий блок инструктора и N блоков оператора, отличающийся тем, что в него введены сервер данных, блок записи историй обучаемых и маршрутизатор сетевых сообщений, содержащий 2N+2 блоков сетевых данных, связанных между собой шиной сетевой пересылки данных, а блок инструктора содержит блок управления инструктора и соединенные двухсторонней связью блок моделирования процессов гидравлических систем (ГС) и блок расчета прочности конструкций, первым и вторым входами-выходами блока инструктора являются вход-выход блока управления инструктора и второй вход-выход блока моделирования процессов ГС соответственно, каждый из N блоков оператора содержит блок управления оператора и соединенные двухсторонней связью блок моделирования процессов ГС и блок расчета прочности конструкций, первым и вторым входами-выходами блока оператора являются вход-выход блока управления оператора и второй вход-выход блока моделирования процессов ГС соответственно, при этом входы-выходы блока инструктора и N блоков оператора соединены соответственно с раздельными входами-выходами 2N+2 блоков сетевых данных, вход блока записи историй обучаемых подключен к шине сетевой пересылки данных, выход блока записи историй обучаемых соединен с первым входом сервера данных, второй вход-выход которого соединен двухсторонней связью с вторым входом-выходом блока инструктора и с вторыми входами-выходами N блоков оператора.
2. Тренажер по п.1, отличающийся тем, что блок управления инструктора содержит блок команд инструктора, блок экранов управления, блок отображения текстовой информации, блок отображения визуальной информации, блок оценки изменений блока управления инструктора и блок редактирования упражнений, при этом выход блока команд инструктора соединен с первым входом блока оценки изменений блока управления инструктора, второй вход-выход которого соединен двухсторонней связью с первым входом-выходом блока экранов управления, к третьему входу подключен выход блока редактирования упражнений, блок отображения визуальной информации соединен двухсторонней связью с вторым входом-выходом блока экранов управления, третий выход которого соединен с входом блока отображения текстовой информации, а входом-выходом блока управления инструктора является четвертый вход-выход блока оценки изменений блока управления инструктора.
3. Тренажер по п.1, отличающийся тем, что блок моделирования процессов ГС содержит последовательно соединенные блок оценки изменений модели, блок команд модели и блок моделирования устройств ГС, при этом второй вход-выход блока моделирования устройств ГС соединен двухсторонней связью с вторым входом-выходом блока оценки изменений модели, а первым и вторым входами-выходами блока моделирования процессов ГС являются третий вход-выход блока моделирования устройств ГС и третий вход-выход блока оценки изменений модели, соответственно.
4. Тренажер по п.1, отличающийся тем, что блок управления оператора содержит блок команд оператора, блок экранов управления, блок отображения текстовой информации, блок отображения визуальной информации и блок оценки изменений блока управления оператора, при этом выход блока команд оператора соединен с первым входом блока оценки изменений блока управления оператора, второй вход-выход которого соединен двухсторонней связью с первым входом-выходом блока экранов управления, блок отображения визуальной информации соединен двухсторонней связью с вторым входом-выходом блока экранов управления, третий выход которого соединен с входом блока отображения текстовой информации, а входом-выходом блока управления оператора является третий вход-выход блока оценки изменений блока управления оператора.
5. Тренажер по п.1, отличающийся тем, что сервер данных содержит связанные двухсторонней связью блок загрузки данных и блок памяти начальных состояний, а также блок памяти историй обучаемых, выход которого соединен с вторым входом блока загрузки данных, третий вход-выход которого является вторым входом-выходом сервера данных, первым входом которого является вход блока памяти историй обучаемых.
РИСУНКИ
|