|
|
(21), (22) Заявка: 2004131074/28, 26.10.2004
(24) Дата начала отсчета срока действия патента:
26.10.2004
(45) Опубликовано: 10.04.2006
(56) Список документов, цитированных в отчете о поиске:
RU 2170446 C1, 10.07.2001. RU 2189051 C2, 10.09.2002. RU 2152628 C1, 10.07.2000. US 6100697 A, 08.08.2000.
Адрес для переписки:
141005, Московская обл., Мытищи-5, МГУЛ, патентный отдел
|
(72) Автор(ы):
Давыдов Вячеслав Федорович (RU), Никитин Альберт Николаевич (RU), Новоселов Олег Николаевич (RU), Галкин Юрий Степанович (RU)
(73) Патентообладатель(и):
Московский государственный университет леса (RU)
|
(54) СПОСОБ ПРОГНОЗИРОВАНИЯ ЗЕМЛЕТРЯСЕНИЙ
(57) Реферат:
Изобретение относится к геофизике и может быть использовано в национальных системах сейсмического контроля. Согласно заявленному способу осуществляют измерение фазовой поправки Ф на время распространения радиосигнала в плазменной среде ионосферы при расчете псевдодальностей в космической навигационной системе GPS. Отслеживают дисперсии данного параметра на восходящих и нисходящих витках орбит космического аппарата с нескольких пунктов местоопределения. Прогнозируют характеристики предстоящего удара по функции изменения огибающей дисперсии наблюдаемого параметра во времени. Технический результат: повышение точности и достоверности прогноза землетрясения. 5 ил. 
Изобретение относится к радиофизике и может быть использовано при космическом мониторинге природных сред в национальных системах сейсмического контроля.
Очаг землетрясения аккумулирует огромную энергию тектонических напряжений. В потенциальном поле механических напряжений земной коры зоны подготавливаемого землетрясения возникают аномалии других природных сред: магнитосферы, ионосферы, атмосферы. Установлено, что одним из наиболее достоверных и высокочувствительных признаков-предвестников подготовки разрушительных с магнитудой >5,5 баллов землетрясений являются ионосферные аномалии. Они проявляются в изменении плотности электронной концентрации Ne [1/м3] слоев ионосферы на десятки процентов, захватывают области вблизи эпицентральной части грядущего землетрясения порядка 15° по широте и до 30° по долготе. Плотность электронной концентрации определяет критическую частоту слоя За несколько часов до удара от очаговой зоны подготавливаемого землетрясения распространяются акусто-гравитационные волны, характеризующиеся изменением критической частоты слоя F2 [см., например, «Краткосрочный прогноз катастрофических землетрясений с помощью радиофизических наземно-космических методов», сборник «Доклады конференции», ОИФЗ им. О.Ю.Шмидта, РАН, М, 1979, стр.31, рис.5, стр.109-110 рис.1, рис.2]. По возникающим аномалиям ионосферы решают задачу обнаружения очагов землетрясений. Известен «Способ обнаружения очагов землетрясений» Патент RU № 2217779,: G 01 V 9/00, 2003 г. – аналог.
В способе-аналоге формируют изображение участка ионосферы в виде функции дискретных отсчетов амплитуды сигнала A(x, y) от пространственных координат из отдельных регистрограмм электронной плотности ионосферы, получаемых путем квантования, с темпом не ниже 100 изм/с, электростатического потенциала внешней поверхности космических аппаратов, наводимого при их пролете непосредственно через области ионосферных образований, выделяют методами пространственного дифференцирования контурные рисунки на синтезированном изображении, вычисляют морфологические характеристики синтезированного изображения внутри выделенных контуров и по совокупности вычисленных характеристик судят о принадлежности выделенного участка ионосферы к проекции литосферного очага землетрясения на ионосферу.
Недостатками способа-аналога являются:
– трудность технической реализации незаземленной внешней поверхности КА от его корпуса, который представляет собой нулевую точку потенциала;
– не обеспечивается прогноз количественных значений характеристик ожидаемого землетрясения;
– для реализации способа необходимо наличие отдельной низкоорбитальной группировки космических аппаратов с орбитами, проходящими непосредственно через области ионосферных образований. Срок существования низкоорбитальных систем невелик.
Ближайшим аналогом к заявленному техническому решению является «Способ предсказания землетрясений», Патент RU № 2170446, G 01 V 9/00, 2001 г.
В способе ближайшего аналога размещают в сейсмоопасном районе приемные станции космической навигационной системы, разнесенные на протяженной измерительной базе, осуществляют непрерывное высокоточное измерение координат (xi, yi, zi) точек размещения приемных станций, регистрируют момент появления периодических отклонений xi, yi, zi координат точек, отслеживают изменение этих отклонений во времени, вычисляют гипотетический фазовый центр волн как точку пересечения радиус-векторов в пространстве, длину и направляющие косинусов которых определяют из соотношений:


и отождествляют его с центром очага, а время удара tx, отсчитываемое от момента появления периодических отклонений координат точек, и магнитуду M ожидаемого землетрясения вычисляют на основе регрессионных зависимостей:

где Т – период отклонения координат, час;
dekr – натуральный логарифм отклонения координат двух смежных периодов;
d, l – коэффициенты регрессии.
Недостатками ближайшего аналога являются:
– математическая некорректность регрессионных зависимостей, в частности, чем больше период T, тем, в соответствии с формулой Гутенберга-Рихтера, магнитуда ожидаемого землетрясения должна быть больше;
– решение принимается по одному литосферному признаку-предвестнику, в то время как для повышения достоверности целесообразно использовать всю гамму признаков, в том числе и ионосферные признаки-предвестники.
Задача, решаемая заявляемым изобретением, состоит в повышении точности и достоверности расчета прогнозируемых параметров землетрясения.
Решение поставленной задачи обеспечивается тем, что в способе прогнозирования землетрясений, при котором размещают в сейсмоопасном регионе приемные станции космической навигационной системы, разнесенные на измерительных базах, регистрируют момент появления периодических отклонений координат точек размещения приемных станций, прогнозируют характеристики ожидаемого землетрясения по параметрам отслеживаемой функции, дополнительно измеряют фазовую задержку Ф распространения сигнала при определении псевдодальностей для космических аппаратов, находящихся во взаимно ортогональных плоскостях орбит их обращения, вычисляют плотность электронной концентрации ионосферы на измеряемых трассах прохождения сигнала, рассчитывают характеристики переходного процесса турбулентности ионосферы: постоянную времени Т огибающей турбулентности:

и ее установившееся значение:

прогнозируют характеристики землетрясения из соотношений: время удара, отсчитываемое от момента обнаружения периодических отклонений ty=4,7T, магнитуду удара как lgty[сут]=0,54M-3,37, проекцию гипоцентра очага на ионосферу как точку пересечения радиус-векторов, направляющие косинусов которых:

где D1, D2, D3 – значения турбулентности ионосферы в моменты измерений t1, t2, t3;
t=t2-t1=t3-t2 – интервал времени между соседними измерениями;
– длина радиус-вектора, определяемая через его проекции на оси координат 
– дисперсия наблюдаемого параметра в ортогональных плоскостях восходящего и нисходящего витков орбит КА.
Изобретение поясняется чертежами, где:
фиг.1 – литосферные волны очага состоявшегося землетрясения, зарегистрированные в способе-аналоге;
фиг.2 – изменение критической частоты слоя F2 в а) невозмущенном, б) сейсмически возмущенном состоянии;
фиг.3 – огибающие турбулентности ионосферы для различных M;
фиг.4 – определение гипоцентра проекции очага на ионосферу как точки пересечения радиус-векторов переноса энергии плазменными волнами;
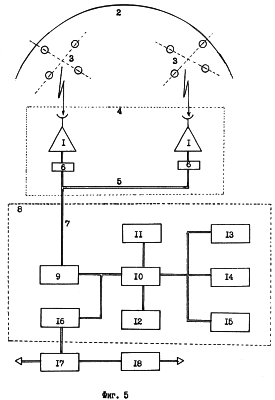
фиг.5 – функциональная схема устройства, реализующая способ.
Техническая сущность способа состоит в следующем. Как следует из способа ближайшего аналога, накануне удара в литосфере происходит раскачка очага землетрясения, сопровождаемая распространением от него сверхнизких литосферных волн нарастающей амплитуды. Зарегистрированные литосферные волны накануне состоявшегося землетрясения в способе ближайшего аналога иллюстрируются рисунком фиг.1. Возникающие в приповерхностном слое атмосферы акусто-гравитационные волны при их распространении вверх служат «спусковым крючком», затравкой для возникновения плазменных волн электронной концентрации в слоях ионосферы. Изменение критической частоты слоя F2 в сейсмически возмущенном состоянии иллюстрируются рисунком фиг.2.
Каким бы ни был механизм взаимодействия литосферных волн очага землетрясения с возникающими ионосферными аномалиями, с различной степенью достоверности можно утверждать о корреляционной зависимости параметров ионосферной аномалии: пространственной протяженности, турбулентности, направления распространения плазменных волн с характеристиками ожидаемого землетрясения: местом, временем, магнитудой. Нарастающая амплитуда литосферных волн очага приводит к возрастающей турбулентности электронной концентрации в слоях ионосферы. Характеристики возникающего переходного процесса изменения электронной концентрации слоев ионосферы содержат скрытую информацию о параметрах ожидаемого землетрясения. Полной характеристикой турбулентности является мощность процесса. По физическому смыслу дисперсия процесса есть мощность его переменной составляющей. Отслеживая изменение мощности переменной составляющей во времени рассчитывают функцию переходного процесса.
Для отслеживания изменения плотности электронной концентрации ионосферы во времени используют измерения псевдодальностей существующей системы GPS. При высокоточном геодезическом использовании спутниковых измерений GPS рассчитывают и вводят поправки на скорость распространения сигнала в плазменной среде – ионосфере [см., например, А.А.Генике, Г.Г.Побединский «Глобальная спутниковая система определения местоположения GPS и ее применение в геодезии», Картгеоцентр – Геодезиздат, М., 1979, §4.3.1 «Влияние ионосферы, стр.137-143]. Величину ионосферной поправки tион на время распространения сигнала вычисляют из соотношения:

где h – длина пути, проходимого сигналом в ионосфере;
f – частота сигнала, проходящего через ионосферу;
Nе– плотность электронной концентрации ионосферы.
Наибольшее распространение получил метод учета влияния ионосферы, базирующийся на применении двух частот L1, L2. Выражение для ионосферной поправки фазового сдвига при этом имеет вид:

где числовое отношение частот в системе GPS;
ФL1, ФL2 – текущие фазы колебаний, поступающих на вход приемников на частотах L1, L2, по которым рассчитывают псевдодальности.
Из приведенных соотношений следует, что между величиной
измеряемой фазовой задержки и интегральной плотностью электронной концентрации на трассе распространения сигнала существует линейная зависимость. Если измерять фазовую задержку на одних и тех же трассах (одних и тех же наклонных дальностях) то Ф будет зависеть только от текущей плотности электронной концентрации ионосферы, т.е. представляется возможность отследить изменение параметра Ne во времени в данной точке пространства. Всю характеристику возникающего накануне землетрясения переходного процесса изменения турбулентности ионосферы над пространством очага получают по серии последовательных измерений на фиксированных трассах из данной точки местоопределений. Скорость изменения турбулентности ионосферы и амплитуда турбулентности содержат скрытую информацию о характеристиках ожидаемого удара.
Поскольку скорость есть первая производная функции, то амплитуда турбулентности и скорость ее изменения связаны дифференциальным уравнением первой степени. Из математики известно [см., например, Н.С.Пискунов. «Дифференциальное и интегральное исчисления», учебник для вузов, 5 издание, М., Наука, 1964, стр.458], что общим решением линейного дифференциального уравнения первой степени служит экспонента. Начальными условиями для экспоненты являются постоянная времени T и установившееся значение D0. Данные начальные условия вычисляют аналитически по серии измерений наблюдаемого процесса.
Из свойств экспоненты (фиг.3) следует, что
или 
где (D0-D1), (D0-D2) – значения экспоненты в серии двух последовательных во времени t1, t2 измерений.
Если измерения проводить через равные интервалы времени t=t2-t1=t3-t2, то можно получить, что установившееся значение

Таким образом, начальные условия для решения дифференциального уравнения получают из серии трех последовательных измерений. Поскольку «вспарывание» очага землетрясения в литосфере определяется динамическим напором колебательной массы, а прочность земной коры на разрыв величина примерно – «const», то и установившееся максимальное значение турбулентности ионосферы накануне землетрясения в первом приближении величина постоянная. Разница в магнитуде ожидаемых ударов проявляется в разнице постоянных экспонент, т.е. если T2>T1, то и M2>M1. Время существования признака-предвестника от момента возникновения акусто-гравитационных волн до максимальной величины турбулентности D0 отождествляют со временем удара. С доверительной вероятностью 0,99 функция вида D0(1-еt/T) достигает своего максимального значения при t=4,7T, которое принимают за время ожидаемого удара ty. В соответствии с зависимостью Гутенберга-Рихтера, время существования признака-предвестника определяет магнитуду ожидаемого удара [см., например, «Краткосрочный прогноз катастрофических землетрясений с помощью радиофизических наземно-космических методов», сборник «Доклады конференции», ОИФЗ им. О.Ю.Шмидта, РАН, М., 1997, стр.9-10]
lgty[сут]=0,54M-3,37.
Поскольку сейсмоионосферная аномалия отличается большой протяженностью (тыс.км) актуальна задача определения гипотетического центра проекции очага землетрясения на ионосферу. За систему координат принимают две взаимно ортогональные плоскости восходящего и нисходящего витков орбит КА. Поскольку наклонение орбит КА GPS составляет 55°, то для низких широт основных сейсмоопасных регионов планеты эти плоскости практически перпендикулярны. Положение гипоцентра определяют как точку пересечения двух радиус-векторов.
За радиус-вектор принимают направление переноса энергии плазменными волнами в ионосфере относительно фазового центра возбуждения этих волн. Направление переноса энергии пространственной волной перпендикулярно фазовому фронту в любой точке. Положение радиус-вектора определяется проекциями на оси координат. По физическому смыслу дисперсия процесса есть мощность его переменной составляющей. Рассчитывая величину дисперсии 2 плотности электронной концентрации в плоскостях восходящего и нисходящего витков, получают значения проекций радиуса-вектора R1 для одной точки местоопределений.
Другая пара измерений с другой точки местоопределений (разнесенных на измерительных базах) позволяет рассчитать направляющие косинусы другого радиус-вектора R2 как:

Определение гипоцентра проекции очага на ионосферу как точки пересечения радиус-векторов переноса энергии плазменными волнами в ортогональных плоскостях восходящего и нисходящего витков орбит КА иллюстрируется фиг.4.
Пример реализации способа.
Заявляемый способ может быть реализован по схеме фиг.5. Функциональная схема устройства фиг.5 содержит приемные станции 1, космической навигационной системы 2, осуществляющих прием эфемеридной информации от космических аппаратов 3 орбитальной группировки. Приемные станции 1 размещают в сейсмоопасном регионе 4 и разносят относительно друг друга на измерительные базы 5. Результаты измерений ионосферных поправок Ф на задержку фазы сигнала при расчете псевдодальностей КА через стандартные порты 6 передаются по линиям связи 7 в геофизический центр МЧС 8, в составе устройства ввода 9, центрального процессора 10, винчестера 11, оперативного запоминающего устройства 12, клавиатуры 13 и средств отображения дисплея 14 и принтера 15. В аналитическом центре 8 ведется база данных всех зарегистрированных измерений и расчет параметров отслеживаемого процесса. Обеспечивается возможность считывания файлов измерительной информации через сервер 16 в «Интернет» 17, а также взаимодействие с системой оповещения 18 о сейсмической опасности контролируемого региона.
Созвездие КА системы GPS на круговых орбитах располагают таким образом, чтобы с любой точки планеты было видно одновременно не менее 4-х КА. Наклонение орбит выбрано 55°, плоскости которых смещены друг относительно друга на 60°, в каждой плоскости располагают не менее 4-х КА, при этом в каждой соседней плоскости положение спутника смещено на 40°. Для основных сейсмоопасных регионов планеты (низкие широты) смещенные плоскости орбит (60°×3=180°) образуют взаимно ортогональную систему плоскостей с восходящими и нисходящими орбитами. Проекции вектора переноса энергии плазменными волнами на эти плоскости задают направление вектора в пространстве для одной точки местоопределения. С другого пункта размещения приемной станции, отстоящей от первой на протяженной измерительной базе, определяет направление второго вектора. Точку пересечения векторов отождествляют с проекций гипотетического центра очага землетрясения на ионосферу. Определение гипоцентра иллюстрируется фиг.4. Приемные станции 1 космической навигационной системы осуществляют непрерывный прием эфемеридной информации от космических аппаратов 3 в дежурном режиме. На основе приема эфемеридной информации на большом интервале измерений осуществляют высокоточную геодезическую привязку точек размещения приемных станций в виде исходных геодезических координат (x0, y0, z0). В качестве приемных станций могут быть использованы геодезические приемные станции фирмы «Тримбл-4.000» (см., например, «Система позиционирования GPS NAVSTAR, фирмы Trimble Navigation, рекламный проспект АО «Прин». М., 1993). Достигаемая точность измерений геодезических станций – единицы см. При обнаружении периодических отклонений координат
x=х-х0, y1=y-y0 (разница между текущей координатой и исходной координатой) дополнительно из потока измерений выделяют фазовую поправку Ф на время распространения сигнала в ионосфере в алгоритме расчета псевдодальностей. Поскольку поправка Ф пропорциональна плотности электронной концентрации ионосферы, то можно ограничится одним отслеживаемым параметром. Дисперсия данного параметра пропорциональна мощности отслеживаемого процесса (нарастанию турбулентности ионосферы), а изменение его среднеквадратического значения пропорционально амплитуде огибающей процесса.
В проведенном эксперименте на полигоне МЧС «Кавказские минеральные воды» измеренные значения отслеживаемого параметра Ф для моментов измерений t1, t2, t3, проведенных через интервал t=2 часа, составили:
D1=1,4; D2=2; D3=2,8, откуда D0=3,6.
Постоянная времени амплитуды огибающей переходного процесса T=6,2 час, ожидаемое время удара ty=4,7T 29 час, ожидаемая магнитуда удара М=6,4 балла.
Проекции вектора R1 на взаимно ортогональные плоскости в момент измерения t1 составили: Првосх=1,03, Прнисх=0,94
1 58°, 1 42°
Проекции вектора R2 на взаимно ортогональные плоскости в момент измерений t2 составили: Првосх=1, Прнисх=1,52
2=60°, 2=40°
Гипотетический центр очага землетрясения район г.Измир, Турция. Эффективность заявляемого способа характеризуется такими показателями как точность, достоверность, устойчивость. Благодаря тому, что отслеживаются признаки-предвестники как в литосфере, так и в ионосфере, достоверность способа существенно выше известных аналогов, что позволяет исключить вероятность объявления ложной тревоги о предстоящем землетрясении.
Формула изобретения
Способ прогнозирования землетрясений, при котором размещают в сейсмоопасном регионе приемные станции космической навигационной системы, разнесенные на измерительных базах, регистрируют момент появления периодических отклонений координат точек размещения приемных станций, прогнозируют характеристики ожидаемого землетрясения по параметрам отслеживаемой функции, отличающийся тем, что измеряют фазовую задержку ф распространения сигнала при определении псевдодальностей для космических аппаратов (КА), находящихся во взаимно ортогональных плоскостях орбит их обращения, вычисляют плотность электронной концентрации ионосферы на измеряемых трассах прохождения сигнала, рассчитывают характеристики переходного процесса турбулентности ионосферы: постоянную времени Т огибающей турбулентности: и ее установившееся значение прогнозируют характеристики землетрясения из соотношений: время удара, отсчитываемое от момента обнаружения периодических отклонений ty=4,7T, магнитуду удара как tу[сут]=0,54М-3,37, проекцию гипоцентра очага на ионосферу как точку пересечения радиус-векторов, направляющие косинусов которых: 
где D1, D2, D3 – значения турбулентности ионосферы в моменты измерений t1, t2, t3;
t=t2-t1=t3-t2 – интервал времени между соседними измерениями;
– длина радиус-вектора, определяемая через его проекции на оси координат: 
– дисперсия наблюдаемого параметра в ортогональных плоскостях восходящего и нисходящего витков орбит КА.
РИСУНКИ
MM4A – Досрочное прекращение действия патента СССР или патента Российской Федерации на изобретение из-за неуплаты в установленный срок пошлины за поддержание патента в силе
Дата прекращения действия патента: 27.10.2006
Извещение опубликовано: 20.06.2008 БИ: 17/2008
|
|