|
|
(21), (22) Заявка: 2002135253/06, 24.12.2002
(24) Дата начала отсчета срока действия патента:
24.12.2002
(43) Дата публикации заявки: 20.08.2004
(45) Опубликовано: 10.04.2006
(56) Список документов, цитированных в отчете о поиске:
SU 1615505 A1, 23.12.1990. SU 1509015 A2, 23.09.1989. SU 1397682 A1, 23.05.1988. SU 375457 A, 05.06.1973.
Адрес для переписки:
150042, г.Ярославль, Тутаевское ш., 58, ЯГСХА, кафедра механизации сельскохозяйственного производства
|
(72) Автор(ы):
Дианов Леонид Васильевич (RU), Смелик Виктор Александрович (RU), Юнкин Павел Александрович (RU)
(73) Патентообладатель(и):
Федеральное государственное образовательное учреждение высшего профессионального образования “Ярославская государственная сельскохозяйственная академия” (ФГОУ ВПО ЯГСХА) (RU)
|
(54) КОНВЕЙЕРНАЯ СУШИЛКА ДЛЯ СЫПУЧИХ МАТЕРИАЛОВ
(57) Реферат:
Изобретение относится к сельскохозяйственному машиностроению, в частности к машинам для сушки сыпучих материалов, например зерна. Конвейерная сушилка для сыпучих материалов содержит камеру, днище из решетной поверхности, цепочно-скребковый транспортер с верхней рабочей ветвью для днища, цепочно-скребковый разравнивающий транспортер с механизмом регулировки по высоте и датчиком уровня (например, аналогичным датчику машины для протравливания семян ПС-10) материала сушки. Между транспортерами установлено устройство, включающее жалюзийные короба, каретку с полками, механизм возвратно-поступательного движения каретки, механизм регулировки каретки по высоте. Сушилка содержит топочный блок, вентилятор, канал, охлаждающую камеру, заслонку регулировки подачи материала из бункера к разравнивающему транспортеру. Изобретение должно обеспечить повышение эффективности и экономичности процесса сушки. 2 ил. 
Изобретение относится к сельскохозяйственному машиностроению, в частности к машинам для сушки сыпучих материалов, например зерна.
Известна конвейерная сушилка для сыпучих материалов (авторское свидетельство №1615505, кл. F 26 В 17/04, 1990), содержащая корпус с расположенными в нем замкнутыми горизонтальными сетчатыми транспортными лентами, снабженными приводными барабанами, причем валы барабанов полые, а барабан каждой транспортерной ленты со стороны перегрузки материала с верхней ленты на перфорированную пластину выполнен полым перфорированным и снабжен внутри неподвижной воздушной камерой, подключенной к источнику теплоносителя через вал барабана и криволинейная направляющая выполнена перфорированной, жестко прикрепленными к лентам скребками, установленную под каждой нижней лентой неподвижную перфорированную пластину с криволинейной направляющей в месте перегрузки материала с верхней ленты, и источник теплоносителя
Недостатки приведенной выше конвейерной сушилки следующие:
1. Не регулируется толщина слоя материала сушки в зависимости от вида культуры, ее влажности и скважности. Это может привести к тому, что теплоноситель не полностью насыщается влагой при сушке материала не высокой влажности, а при сушке материала с высокой исходной влажностью в верхних слоях теплоноситель охлаждается и из него образуется конденсат, который переувлажняет верхние слои, что в обоих случаях приводит к росту энергозатрат.
2. Сушилка не имеет технологических регулировок, позволяющих учитывать разные влажность, сыпучесть, скважность, объемную массу, теплопроводность, теплоемкость, гигроскопичность и термоустойчивость материала сушки в зависимости от вида культуры, поэтому нет гарантии получения кондиционной влажности у материала сушки на выходе с меняющимися исходными параметрами.
3. Конструкция сушилки металлоемка. Она сложна в изготовлении, так как теплоноситель на своем пути пять раз встречает перфорированные пластины и десять раз сетчатые ленточные конвейеры. Неизбежно травмирование зерновой массы во время ее перемещения скребками по пяти перфориванным пластинам.
4. В начале и в конце процесса сушки неизбежно пересушивание массы объемом, равным объему сушильной камеры.
5. Усадка слоя зерна в ходе сушки, достигающая 22%, приводит к порционному перемещению материала у скребков в нижней части сушильной камеры, что приводит к неравномерной сушке.
6. Не выполняется операция охлаждения массы, во время которой снижается влажность за счет тепла, запасенного ранее. Только после охлаждения капилляры, в которых была влага, устраняются. При этом уменьшается объем зерновок, они съеживаются, упрочняются, готовятся к необходимой четкости при сортировании и последующему устойчивому хранению.
Наиболее близкой к изобретению по технической сущности является конвейерная сушилка для сыпучих материалов (СКВС-6, изготовитель – АО «Соколреммаш» Вологодская область, Грушин Ю.Н., Васильев Н.К., Смирнов А.В. и др. «Механизация послеуборочной обработки зерна и семян». – Вологда, 1995 г.), например зерна, содержащая корпус, расположенное в нем двойное днище из нижней и верхней решетной поверхности, конвейер с нижней и верхней рабочими ветвями для каждого днища, каналы для подвода теплоносителя и охлаждающего воздуха, надсушильный бункер с регулировочной заслонкой, топочный блок, вентилятор для подачи теплоносителя и вентилятор для подачи охлаждающего воздуха.
Недостатки данной сушилки:
1. Сушилка не имеет технологических регулировок, позволяющих учитывать разные влажность, сыпучесть, скважность, объемную массу, теплопроводность, теплоемкость, гигроскопичность и термоустойчивость сушильной массы в зависимости от культуры, поэтому нет гарантии получения кондиционной влажности у материала сушки на выходе с меняющимися исходными параметрами.
2. В начале и в конце процесса сушки неизбежно пересушивание массы объемом, равным объему сушильной камеры.
3. Усадка слоя зерна в ходе сушки, достигающая 22%, приводит к порционному перемещению материала у скребков в нижней части сушильной камеры, что приводит к неравномерной сушке.
Задачей изобретения является повышение эффективности и экономичности процесса сушки с любыми исходными параметрами вороха зерновых, зернобобовых, кормовых и других культур.
Поставленная задача решается тем, что в предлагаемой конвейерной сушилке, содержащей корпус с днищем из решетной поверхности, конвейер с верхней рабочей ветвью для днища, каналы для подвода теплоносителя и охлаждающего воздуха, надсушильный бункер с регулировочной заслонкой, топочный блок, вентилятор для подачи теплоносителя и вентилятор для подачи охлаждающего воздуха, дополнительно установлен цепочно-скребковый разравнивающий транспортер с механизмом регулировки его по высоте и датчик уровня материала сушки для включения и отключения транспортера, устройство для отсечки высушиваемого нижнего слоя, включающее жалюзийные короба, каретку с полками, механизм возвратно-поступательного движения каретки и механизм регулировки каретки по высоте в зависимости от вида культуры.
Новые существенные признаки:
1. Регулируемый по высоте цепочно-скребковый разравнивающий
транспортер с датчиком уровня материала сушки для включения и отключения транспортера.
2. Устройство для отсечки высушиваемого нижнего слоя, включающее жалюзийные короба, каретку с полками, механизмом возвратно-поступательного движения каретки и механизмом регулировки каретки по высоте в зависимости от вида культуры.
Перечисленные новые существенные признаки достаточны во всех случаях, на которые распространяется испрашиваемый объем правовой охраны.
Выявленные отличительные признаки в совокупности с известными обеспечивают получение технического результата.
За счет установки регулируемого по высоте цепочно-скребкового разравнивающего транспортера стало возможным создавать определенный слой зернового вороха в зависимости от его исходных параметров, это позволяет рационально и полностью реализовать влагополажительные свойства теплового агента, что снижает затраты на сушку.
При помощи жалюзийных коробов и каретки отделяется нижний высушенный слой для выгрузки материала сушки, что приводит к снижению энергозатрат на сушку и получению материала с одинаковой влажностью у его составляющих.
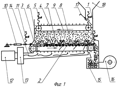
На фиг.1 приведена сушилка, общий вид; на фиг.2 – а) положение каретки при выгрузке нижнего высушенного слоя материала сушки с отсечкой от верхнего; б) положение каретки во время сушки материала.
Сушилка содержит камеру 1, днище 2 из решетной поверхности, цепочно-скребковый транспортер 3 с верхней рабочей ветвью для днища, цепочно-скребковый разравнивающий транспортер 4 с механизмом регулировки по высоте 5 и датчиком уровня (например, аналогичным датчику машины для протравливания семян ПС-10) материала сушки 6. Между транспортерами установлено устройством, включающее жалюзийные короба 7, каретку 8 с полками 9, механизм возвратно-поступательного движения каретки 10, механизм регулировки каретки по высоте 11. Топочный блок 12, вентилятор 13, канал 14, охлаждающая камера 15, вентилятор 16, заслонка регулировки подачи материала 17 из бункера 18 к разравнивающему транспортеру 4.
Сушилка работает следующим образом.
Рабочий процесс сушки основан на противопотоке: сыпучий ворох движется сверху из зоны влажного материала, вниз в зону высохшего материала, а теплоноситель – снизу вверх из зоны сухого материала в зону влажного материала, нагревая материал и испаряя из него влагу, полностью насыщаясь ею. Такой рабочий процесс – самый экономичный.
Для сушки определенного материала необходимо установить цепочно-скребковый разравнивающий транспортер 4 вместе с датчиком уровня материала сушки 6 на некоторую высоту механизмами регулировки по высоте 5. При переходе с крупного на более мелкий материал, необходимо уменьшить расстояние между полками каретки 9 и жалюзийными коробами 7 при помощи механизмов регулировки каретки по высоте 11.
Механизм возвратно-поступательного движения каретки 10 переводят в положение сушки, затем открывают заслонку регулировки подачи материала 17 и материал цепочно-скребковым разравнивающим транспортером 4 заполняется в камере 1 заданной толщиной. После загрузки камеры 1 датчик уровня материала сушки 6 отключает привод на цепочно-скребковый разравнивающий транспортер 4. С помощью топочного блока 12 и вентилятора 13 начинается подача теплоносителя по каналу 14 в камеру 1. Происходит нагревание материала и транспортирование испарившейся влаги.
Как только нижний слой материала достигает кондиционной влажности, которую определяют влагомером при оперативном контроле, каретка 8 с помощью механизма возвратно-поступательного движения каретки 10 передвигается в положение выгрузки, полки 9 выходят из-под жалюзийных коробов 7, закрывают промежутки между коробами, производится отсечка нижнего слоя материала для выгрузки. Осуществляется выгрузка зерна включением цепочно-скребкового транспортера 3. В конце выгрузки цепочно-скребковый транспортер 3 останавливается, полки 9 каретки 8 передвигаются в положение сушки. Зерно в верхней камере просыпается вниз до решетной поверхности, а цепочно-скребковый разравнивающий транспортер 4 формирует новый ровный и заданный по высоте слой зерна.
Формула изобретения
Конвейерная сушилка для сыпучих материалов, например зерна, содержащая корпус с днищем из решетной поверхности, транспортер с верхней рабочей ветвью для днища, каналы для подвода теплоносителя и охлаждающего воздуха, надсушильный бункер с регулировочной заслонкой, топочный блок, вентилятор для подачи теплоносителя и вентилятор для подачи охлаждающего воздуха, отличающаяся тем, что, с целью повышения эффективности и экономичности процесса сушки, в конвейерной сушилке установлен цепочно-скребковый разравнивающий транспортер с механизмом регулировки его по высоте и датчиком уровня материала сушки, между транспортерами установлено устройство отсечки, включающее жалюзийные короба, каретку с полками, механизм возвратно-поступательного движения каретки и механизм регулировки каретки по высоте.
РИСУНКИ
MM4A – Досрочное прекращение действия патента СССР или патента Российской Федерации на изобретение из-за неуплаты в установленный срок пошлины за поддержание патента в силе
Дата прекращения действия патента: 25.12.2006
Извещение опубликовано: 20.06.2008 БИ: 17/2008
|
|