|
(21), (22) Заявка: 2004121240/06, 12.07.2004
(24) Дата начала отсчета срока действия патента:
12.07.2004
(45) Опубликовано: 10.04.2006
(56) Список документов, цитированных в отчете о поиске:
SU 1508056 A1, 15.09.1986. SU 78656 A1, 01.01.1949. RU 2175424 C1, 27.10.2001. RU 2200912 C2, 20.03.2003. SU 1474390 А1, 01.12.1986. GB 1224983 А, 10.03.1971.
Адрес для переписки:
40030, г. Сумы, ул. Набережная р. Стрелки, 26/1, Д.В. Чукичеву
|
(72) Автор(ы):
Чукичев Дмитрий Витальевич (UA)
(73) Патентообладатель(и):
Чукичев Дмитрий Витальевич (UA)
|
(54) ВОДОГРЕЙНЫЙ КОТЕЛ
(57) Реферат:
Изобретение предназначено для нагрева и может быть использовано для горячего водоснабжения и отопления. Котел содержит корпус, топочную камеру, водяную рубашку, образованную вертикальными стенками корпуса и топочной камеры, горелочное устройство и патрубок подвода холодной воды, размещенные в нижней части топочной камеры. Над горелочным устройством размещен теплообменник в виде пучка труб, которые размещены наклонно и закреплены в соответствующих противоположных стенках топочной камеры с образованием коллекторов, входного и выходного. При этом входной коллектор размещен ниже, чем выходной, и соединен с водяной рубашкой посредством переливного канала, выполненного в верхней части водяной рубашки, а выходной коллектор соединен с патрубком отвода горячей воды. Кроме того, над теплообменником в виде пучка труб установлен дополнительный теплообменник для увеличения площади теплообмена. Соединение водяной рубашки с входным коллектором и выходного коллектора с патрубком отвода горячей воды осуществлено посредством установки емкостей, соответственно, сливной и выпускной. В верхней части водяной рубашки выполнен канал для стравливания воздуха. Изобретение обеспечивает повышение эффективности использования дымовых газов и повышение КПД. 9 з.п. ф-лы, 8 ил. 
Изобретение относится к бытовой технике и может быть использовано для получения горячей воды для горячего водоснабжения и отопления помещений.
Известен “Отопительный котел” (А.С. SU № 1508056, М.кл. F 24 H 1/44, опубл. 1989 г.), взятый в качестве прототипа как наиболее близкий по совокупности признаков. Указанный котел содержит корпус, топочную камеру, размещенную в корпусе с образованием водяной рубашки между ними, патрубок подвода холодной (обратной) воды и горелочное устройство, которые размещены в нижней части соответственно водяной рубашки и топочной камеры, патрубок отвода горячей воды и дымовыводящий патрубок, при этом в нижней части топочной камеры над горелочным устройством установлен теплообменник в виде пучка труб, размещенных наклонно и закрепленных обоими концами в соответствующих противоположных стенках топочной камеры с образованием коллекторов, соответственно, входного и выходного, причем входной коллектор размещен ниже, чем выходной, и соединен с водяной рубашкой, а входной коллектор соединение с патрубком отвода горячей воды.
Недостатками описанного котла является следующее:
– недостаточная высота котла, которая предопределяет образование малой площади теплообмена, что приводит к неполному использованию тепла дымовых газов, вследствие чего в атмосферу выбрасываются горячие дымовые газы и КПД котла снижается;
– отсутствие водяной рубашки между боковыми поверхностями корпуса и топочной камеры также обусловливает недостаточную площадь теплообмена, что также снижает КПД котла;
– отсутствие гравитационной циркуляции воды, т.е. самотока, и необходимость использования насоса, что приводит к затрате дополнительной энергии и обусловливает зависимость от электроэнергии.
В основу изобретения поставлена задача создать водогрейный котел, конструкция которого обеспечила бы путем увелечения поверхности теплообмена, образования ступенчатой теплопередачи и гравитационной циркуляции воды повышение эффективности использования дымовых газов и повышение КПД, повышение экономичности котла, а также независимость работы котла от электроэнергии
Для решения поставленной задачи в предложенном котле высота корпуса и топочной камеры развиты вверх, водяная рубашка образована вертикальными стенками корпуса и топочной камеры и над пучком труб размещен дополнительный теплообменник, при этом в верхней части водяной рубашки выполнен канал для стравливания воздуха, а в верхней части водяной рубашки выполнен переливной канал, причем соединение входного коллектора с водяной рубашкой и выходного коллектора с патрубком отвода горячей воды осуществлено посредством емкостей соответственно, сливной, установленной со стороны входного коллектора и переливного канала, и выпускной, установленной со стороны выходного коллектора и патрубка отвода горячей воды.
Кроме того, дополнительный теплообменник может быть выполнен трубчатым в виде вертикальных трубок, закрепленных с обоих концов в трубных досках, при этом межтрубное пространство соединено с водяной рубашкой, а полость трубок соединена с полостью топочной камеры.
Кроме того, дополнительный теплообменник может быть образован установленными поперек движения дымовых газов перегородками с образованием каналов для прохода дымовых газов попеременно то с одной вертикальной стенкой топочной камеры, то с противоположной.
Кроме того, перегородки могут быть выполнены в виде пластин.
Кроме того, перегородки могут быть выполнены полыми, внутренняя полость которых соединена с водяной рубашкой.
Кроме того, перегородки могут быть выполнены съемными в виде пакета пластин, нанизанных на стержни на некотором расстоянии одна от другой с возможностью изменения количества перегородок и расстояния между ними.
Кроме того, перегородки в виде пластин могут быть закреплены шарнирно с возможностью изменения положения относительно горизонтальной плоскости.
Кроме того, перегородки в виде пластин могут быть закреплены шарнирно с помощью трех стержней, один из которых установлен с возможностью перемещения в вертикальной плоскости, а в двух других выполнены отверстия, в которые вставлены оси.
Кроме того, сливная и/или выпускная емкости могут быть установлены вне корпуса котла, а переливной канал выполнен в верхней части корпуса.
Кроме того, сливная и/или выпускная емкости могут быть выполнены в корпусе котла, а переливной канал выполнен в верхней части стенки емкости.
Развитая вверх высота топочной камеры и высота котла обусловливают увеличение высоты водяной рубашки над пучком труб, а следовательно, обеспечивают увеличение поверхности теплообмена и увеличение пути дымовых газов, что способствует более эффективному использованию тепла дымовых газов и повышению КПД котла.
Наряду с этим это дало возможность установить над пучком труб дополнительный теплообменник.
Установка дополнительного теплообменника над пучком труб обусловливает увеличение поверхности теплообмена, что, в свою очередь, обеспечивает повышение эффективности использования дымовых газов, обеспечивая ступенчатую теплопередачу.
Образование водяной рубашки только вертикальными стенками корпуса и топочной камеры позволило в верхней части водяной рубашки выполнить переливной канал и установить сливную емкость, соединив таким образом водяную рубашку с входным коллектором пучка труб без смешения с более холодной водой водяной рубашки, направив на догрев уже нагретую воду после дополнительного теплообменника в теплообменник в виде пучка труб. Установка выпускной емкости также обеспечивает проход воды высокой температуры к патрубку выхода горячей воды без смешения с водой водяной рубашки. Таким образом, обеспечивается теплопередача, обеспечивающая значительный нагрев воды и значительное охлаждение дымовых газов, что повышает эффективность использования дымовых газов и обеспечивает повышение КПД котла.
Размещение переливного канала в верхней части водяной рубашки значительно выше, чем выходной коллектор, и обеспечение разности температур, которая обусловливает разницу плотности воды на входе во входной коллектор пучка труб и на выходе из выходного его коллектора, обеспечивает гравитационную циркуляцию воды, т.е. самоток, а следовательно, повышает экономичность котла и обеспечивает независимость его работы от электроэнергии.
Наличие в верхней части водяной рубашки канала для стравливания воздуха, который собирается под потолочной частью, способствует также образованию гравитационной циркуляции воды, т.е. самоотоку.
Изготовление дополнительного теплообменника, выполненного в виде вертикальных труб, закрепленных с обоих концов в трубных досках, и межтрубное пространство которых соединено с водяной рубашкой, а полость трубок соединена с полостью топочной камеры, создает дополнительную поверхность теплообмена, обеспечивая значительное повышение эффективности использования тепла дымовых газов, а также повышение КПД котла.
Образование дополнительного теплообменника установленными в топочной камере над пучком труб поперек движения дымовых газов перегородками с образованием каналов для прохода дымовых газов попеременно то с одной вертикальной стенкой топочной камеры, то с противоположной обеспечивает увеличение площади теплообмена путем образования Z – образного серпантинного движения дымовых газов. Последнее обусловливает кроме увеличения пути движения газов перераспределение более нагретой центральной части газов к боковым поверхностям, т.е. к стенкам водяной рубашки. При этом увеличивается турбулентность движения дымовых газов, уменьшается скорость их движения и увеличивается время контакта со стенками водяной рубашки. Все это способствует значительному подогреву воды водяной рубашки и не менее значительному охлаждению дымовых газов, т.е. повышает эффективность использования тепла последних, и, следовательно, повышает КПД и мощность котла.
Изготовление перегородок в виде пластин обеспечивает простоту изготовления. Кроме того, обеспечивает возможность изготовления их съемными, нанизанными на соответствующие стержни на некотором расстоянии, что предопределяет возможность регулирования их количества и расстояния между ними. Последнее обеспечивает возможность регулирования проходного сечения, а также температуры дымовых газов, и вследствие этого возможность снижения конденсации водяных паров в осенне-весеннее время до минимума. Это предоставляет возможность изготовления топочной камеры из дешевых углеродистых сталей. Кроме того, съемные перегородки обеспечивают простоту очистки внутренних поверхностей котла, если учесть, что водяная рубашка образована только вертикальными стенками корпуса котла и топочной камеры, а потолочная часть имеет возможность сниматься, т.е. выполнена в виде крышки.
Установка перегородок в виде пластин шарнирно обеспечивает возможность изменения положения пластин относительно горизонтальной плоскости. А это, в свою очередь, позволяет уменьшить аэродинамическое сопротивление топочной камеры и обеспечивает повышение температуры в осенне-зимнее время и обеспечивает возможность изготовления топочной камеры из дешевых углеродистых сталей.
Изготовление перегородок пустотелыми, внутренней полостью соединенными с водяной рубашкой, позволяет увеличить поверхность теплообмена, что способствует повышению эффективности использования дымовых газов и повышению КПД котла.
Выполнение сливной и/или выпускной емкостей вне корпуса котла обеспечивает отсутствие теплообмена с водой водяной рубашки.
Выполнение сливной и/или выпускной емкости внутри корпуса котла обеспечивает компактность котла.
Таким образом, отличительные признаки в совокупности с известными обеспечивают решение поставленной задачи.
Сущность изобретения поясняется чертежами:
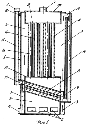
на фиг.1 изображен продольный разрез котла с дополнительным трубчатым теплообменником;
на фиг.2 изображен продольный разрез котла с дополнительным теплообменником, образованным перегородками в виде пластин;
на фиг.3 изображен продольный разрез котла с дополнительным теплообменником, образованным полыми перегородками;
на фиг.4 изображен поперечный разрез котла А-А, когда он имеет форму прямоугольного параллелепипеда;
на фиг.5 изображен поперечный разрез котла А-А, когда он имеет цилиндрическую форму;
на фиг.6 изображен продольный разрез котла, где сливная и выпускная емкости размещены в корпусе котла;
на фиг.7 изображен поперечный разрез котла А-А, когда перегородки в виде пластин установлены щарнирно;
на фиг.8 изображен разрез котла Б-Б фиг.7.
Предложенный водогрейный котел содержит корпус 1, топочную камеру 2, размещенную в корпусе 1 с образованием водяной рубашки 3 между ними, патрубок подвода холодной (обратной) воды 4 и горелочное устройство 5, которое размещено в нижней части соответственно водяной рубашки 3 и топочной камеры 2, и патрубок отвода горячей воды 6, и дымовыводной патрубок 7, который размещен в верхней части топочной камеры 2. При этом в нижней части последней над горелочным устройством 5 размещен теплообменник в виде пучка труб 8, которые размещены наклонно и закреплены с обоих концов в соответствующих противоположных стенках топочной камеры 2 с образованием коллекторов, соответственно входного 9 и выходного 10. При этом входной коллектор 9 размещен ниже, чем выходной 10, и соединен с водяной рубашкой 3, а выходной коллектор 10 соединен с патрубком отвода горячей воды 6. При этом над пучком труб 8 размещен дополнительный теплообменник 11. В верхней части водяной рубашки выполнен канал стравливания воздуха 12, а со стороны входного коллектора 9 выполнен переливной канал 13. При этом соединение входного коллектора 9 с водяной рубашкой 3 и выходного коллектора 10 с патрубком отвода горячей воды 6 осуществлено с помощью соответствующих емкостей, сливной 14 и выпускной 15, установленных соответственно со стороны входного коллектора 9 и переливного канала 13 и со стороны выходного коллектора 10 и патрубка отвода горячей воды 6.
При этом дополнительный теплообменник 11 может быть выполнен трубчатым, например в виде вертикальных трубок 16, закрепленных по концам в трубных досках 17. Причем межтрубное пространство 18 соединено с водяной рубашкой 3, а полости 19 трубок 16 – с полостью топочной камеры 2.
Кроме того, дополнительный теплообменник 11 может быть образован установленными поперек движения дымовых газов перегородками 20 с образованием каналов 21 для прохода дымовых газов попеременно то с одной вертикальной стенкой, то с другой противоположной вертикальной стенкой топочной камеры 2.
При этом перегородки 20 могут быть выполнены в виде пластин.
Также перегородки 20 могут быть выполнены полыми, внутренняя полость 22 которых соединена с водяной рубашкой 3.
При этом перегородки 20 в виде пластин могут быть выполнены съемными в виде пакета пластин, нанизанных на стержни 23 на некотором расстоянии одна от другой, с возможностью изменения количества перегородок 20 и расстояния между ними.
Кроме того, перегородки 20 в виде пластин могут быть закреплены шарнирно с возможностью перемещения относительно горизонтальной плоскости.
Кроме того, перегородки 20 могут быть закреплены шарнирно в 3-х стержнях, один из которых 24 установлен с возможностью перемещения в вертикальной плоскости, а в двух других 25 выполнены отверстия 26 и в них вставлены оси 27.
Кроме того, сливная 14 и/или выпускная 15 емкости могут быть выполнены вне корпуса 1 котла, а переливной канал 13 выполнен в верхней части корпуса 1 котла.
Также сливная 14 и/или выпускная 15 емкости могут быть выполнены в корпусе 1, а переливной канал 13 выполнен в верхней (подпотолочной) части стенки сливной камеры 14.
При этом потолочная часть котла выполнена в виде крышки 28.
Работа предложенного водогрейного котла заключается в том, что после разжигания горелочного устройства горячие дымовые газы поднимаются вдоль стен водяной рубашки 3 к пучку труб 8, омывают их, отдавая основную часть тепла, и поднимаются дальше к дополнительному теплообменнику 11, отдают там остатки своего тепла, а затем направляются к дымовыводному патрубку 7.
Перед разжиганием горелочного устройства через патрубок подвода 4 подается холодная (обратная) вода в водяную рубашку 3, которую она заполняет снизу вверх. Включается горелочное устройство, нагревая поднимающуюся в водяной рубашке воду и идущую к дополнительному теплообменнику 11 воду, которая нагревается в нем и уже нагретая посредством переливного канала 13 и сливной емкости 14 попадает во входной коллектор 9, проходит пучок труб 8, еще раз подогреваясь в нем. Затем вода проходит через выходной коллектор 10, выпускную емкость 15 и попадает в патрубок отвода горячей воды 6.
Циркуляция воды в котле обеспечивается образованием самотока за счет того, что переливной канал 13 размещен значительно выше, чем выходной коллектор 10, а также за счет разности температур на входном 9 и выходном 10 коллекторах, что обусловливает разницу плотности воды. Температура воды в коллекторе 10 значительно выше, а плотность ниже, чем во входном коллекторе. Это обеспечивает гравитационную циркуляцию воды, т.е. самоток.
Пример 1, когда дополнительный теплообменник выполнен трубчатым. Дымовые газы, омыв пучок труб 8, отдают значительное количество тепла, затем попадают в трубчатый теплообменник, где движутся по полостям 19 трубок 16, отдавая остатки тепла воде, находящейся в межтрубном пространстве 18, соединенном с водяной рубашкой 3. Охлажденные дымовые газы выходят в дымовыводной патрубок 7. А подогретая вода из водяной рубашки 3 через переливной канал 13 и сливную емкость 14 попадает посредством входного коллектора 9 в пучок труб 8. Снова нагревается омываемыми пучок труб 8 дымовыми газами и под действием гравитации вытесняется в выходной коллектор 10 и выпускную емкость 15, которая соединена с патрубком отвода горячей воды 6.
Пример 2, когда дополнительный теплообменник образован перегородками 20.
Дымовые газы, пройдя пучок труб 8, попадают в дополнительный теплообменник, в котором происходит перераспределение более нагретой центральной части газов к боковым поверхностям, т.е. к стенкам водяной рубашки 3. В результате весь объем дымовых газов омывает каждый участок внутренней поверхности водяной рубашки 3, последовательно отдавая тепло.
Дымовые газы, проходя вдоль перегородок 20, турболизуются и активизируют процесс теплообмена. Далее охлажденные дымовые газы выходят в дымовыводящий патрубок 7. Нагретая вода, как и в предыдущем примере, через переливной патрубок 13, сливную емкость 14, входной коллектор 9 попадает в пучок труб 8, опять подогреваясь, затем через коллектор 10, выпускную емкость 15 выходит к патрубку отвода горячей воды 6.
Формула изобретения
1. Водогрейный котел, содержащий корпус, топочную камеру, размещенную в корпусе с образованием водяной рубашки между ними, патрубок подвода холодной (обратной) воды и горелочное устройство, которые размещены в нижней части соответственно водяной рубашки и топочной камеры, патрубок отвода горячей воды и дымовыводящий патрубок, при этом в нижней части топочной камеры над горелочным устройством установлен теплообменник в виде пучка труб, размещенных наклонно и закрепленных обоими концами в соответствующих противоположных стенках топочной камеры с образованием коллекторов соответственно входного и выходного, причем входной коллектор размещен ниже, чем выходной, и соединен с водяной рубашкой, а выходной коллектор соединен с патрубком отвода горячей воды, отличающийся тем, что высоты корпуса и топочной камеры развиты вверх, водяная рубашка образована вертикальными стенками корпуса и топочной камеры и над пучком труб размещен дополнительный теплообменник, при этом в верхней части водяной рубашки выполнен канал для стравливания воздуха, а со стороны входного коллектора в верхней части водяной рубашки выполнен переливной канал, причем соединение входного коллектора с водяной рубашкой и выходного коллектора с патрубком отвода горячей воды осуществлено посредством емкостей соответственно сливной, установленной со стороны входного коллектора и переливного канала, и выпускной, установленной со стороны выходного коллектора и патрубка отвода горячей воды.
2. Водогрейный котел по п.1, отличающийся тем, что дополнительный теплообменник выполнен трубчатым в виде вертикальных трубок, закрепленных с обоих концов в трубных досках, при этом межтрубное пространство соединено с водяной рубашкой, а полость трубок соединена с полостью топочной камеры.
3. Водогрейный котел по п.1, отличающийся тем, что дополнительный теплообменник образован установленными поперек движения дымовых газов перегородками с образованием каналов для прохода дымовых газов попеременно то с одной вертикальной стенки топочной камеры, то с противоположной.
4. Водогрейный котел по п.3, отличающийся тем, что перегородки выполнены в виде пластин.
5. Водогрейный котел по п.4, отличающийся тем, что перегородки выполнены полыми, внутренняя полость которых соединена с водяной рубашкой.
6. Водогрейный котел по п.4, отличающийся тем, что перегородки выполнены съемными в виде пакета пластин, нанизанных на стержни на некотором расстоянии одна от другой с возможностью изменения количества перегородок и расстояния между ними.
7. Водогрейный котел по п.6, отличающийся тем, что перегородки в виде пластин закреплены на стержнях с помощью шарниров с возможностью изменения положения относительно горизонтальной плоскости.
8. Водогрейный котел по п.7, отличающийся тем, что перегородки закреплены в трех стержнях, один из которых установлен с возможностью перемещения в вертикальной плоскости, а в двух других выполнены отверстия, в которые вставлены оси.
9. Водогрейный котел по п.1, отличающийся тем, что сливная и/или выпускная емкости установлены вне корпуса котла, а переливной канал выполнен в верхней части корпуса котла.
10. Водогрейный котел по п.1, отличающийся тем, что сливная и/или выпускная емкости выполнены в корпусе котла, а переливной канал выполнен в верхней части стенки сливной емкости.
РИСУНКИ
MM4A – Досрочное прекращение действия патента СССР или патента Российской Федерации на изобретение из-за неуплаты в установленный срок пошлины за поддержание патента в силе
Дата прекращения действия патента: 13.07.2006
Извещение опубликовано: 27.04.2008 БИ: 12/2008
|