|
|
(21), (22) Заявка: 2005109432/06, 04.04.2005
(24) Дата начала отсчета срока действия патента:
04.04.2005
(45) Опубликовано: 10.04.2006
(56) Список документов, цитированных в отчете о поиске:
RU 2131078 C1, 28.01.1999. RU 2037727 C1, 19.06.1995. RU 2037729 C1, 19.06.1995. DE 3715645 A1, 24.11.1988. US 3459230 A, 05.08.1969.
Адрес для переписки:
644106, г.Омск, ул. Дианова, 5б, кв.67, И.А. Трибельскому
|
(72) Автор(ы):
Трибельский Иосиф Александрович (RU)
(73) Патентообладатель(и):
Трибельский Иосиф Александрович (RU)
|
(54) РЕЗИНОКОРДНАЯ ОБОЛОЧКА ДЛЯ ПЕРЕКРЫТИЯ ТРУБОПРОВОДОВ
(57) Реферат:
Изобретение относится к устройствам для перекрытия трубопроводов, в частности, на период ремонта. Резинокордная оболочка для перекрытия трубопроводов содержит герметизированную эластичную цилиндрическую камеру с торцевыми стенками, одна из которых снабжена расположенным по оси камеры трубным штуцером, переходящим внутри камеры в кольцевой диск. Диск выполнен из армированного нитями корда прорезиненного материала. Герметизированную цилиндрическую камеру охватывает силовой каркас, включающий цилиндрическую оболочку и соединенные с ней внахлест расположенные на торцевых стенках камеры торцевые стенки силового каркаса. Последние выполнены из отдельных радиально направленных и частично перекрывающих одна другую полос с отогнутыми вдоль оси камеры концами, при этом нити в полосах направлены вдоль полос. На силовом каркасе размещен резиновый покровный слой. Силовой каркас выполнен многослойным, при этом нахлесты в слоях силового каркаса армирующего цилиндрическую и торцевые части цилиндрической камеры сдвинуты друг относительно друга в осевом направлении – в цилиндрической части и в радиальном направлении – в торцевой части, причем величина нахлеста составляет от 30 до 250 мм, а отогнутые вдоль оси камеры концы полос расположены на внутренней поверхности. Изобретение позволяет обеспечить высокую прочность каркаса и равномерность натяжения нити. 1 н. и 8 з.п. ф-лы, 9 ил. 
Изобретение относится к устройствам для перекрытия трубопроводов, в частности, на период ремонта и может найти применение в устройствах для перекрытия труб водопроводов, нефтепроводов и в других трубопроводных системах.
Известно заглушающее резинокордное устройство для перекрытия трубопроводов (DE 3715645, 1988), содержащее цилиндрическую резинокордную оболочку и соединенные с ней путем вулканизации две торцевые стенки из прорезиненного материала, образующие внутреннюю камеру. Одна из торцевых стенок снабжена трубным штуцером для подвода сжатого воздуха, а внутри камеры трубный штуцер переходит в кольцевой диск, который соединен с торцевой стенкой через резиновую прослойку. Это устройство вводится внутрь подлежащей перекрытию трубы и в него подается сжатый газ, под давлением которого цилиндрическая резинокордная оболочка устройства увеличивается в диаметре и перекрывает все внутреннее сечение трубы.
Недостатком указанного устройства являются недостаточная прочность торцевых стенок и соединение их с цилиндрической оболочкой.
Перечисленные недостатки не допускают использование в устройствах большого давления газа, особенно при большом диапазоне диаметров перекрываемых труб, следовательно, устройство не может быть использовано для перекрытия труб, в которых после перекрытия возникают большие давления.
Известно также заглушающее резинокордное устройство для перекрытия трубопроводов (RU 2037729, 19.06.1995), содержащее армированную нитями корда цилиндрическую оболочку, ограниченную по концам с образованием внутренней камеры армированными торцевыми стенками, одна из которых снабжена трубным штуцером, переходящим внутри камеры в кольцевой диск, соединенный с внутренней поверхностью торцевой стенки камеры через резиновую прослойку, а концевые участки расположенных в цилиндрической части слоев нитей корда отогнуты в радиальном направлении и сгруппированы в полосы, которые заходят на ось вращения устройства и армируют торцевые стенки устройства, причем полосы, идущие от противоположных концов диаметра цилиндрической части устройства, соединены непосредственно внахлест в области оси вращения устройства.
Эта конструкция благодаря армированию цилиндрической и торцевых частей устройства едиными неразрезанными нитями корда устраняет соединение указанных частей устройства. Однако она имеет недостаточную прочность торцевых стенок, так как соединение полос, идущих от противоположных концов диаметра цилиндрической части, непосредственно внахлест на торцевой стенке в области оси вращения устройства приводит к значительному увеличению толщины торцевой стенки и сложности ее конструкции, которая практически не обеспечивает равномерного распределения усилий между нитями, особенно между нитями, лежащими ближе к наружной поверхности, и нитями, лежащими ближе к внутренней поверхности устройства.
Кроме того, в такой сложной толстостенной конструкции с увеличивающимися при приближении к оси вращения толщиной и количеством слоев нитей корда при изгибании торцевой стенки под действием подаваемого внутрь устройства сжатого газа нити корда в наружных слоях торцевой стенки растягиваются, а во внутренних – сжимаются, что приводит к большой неравномерности в натяжении нитей и может вызвать их разрушение.
Кроме указанного в рассмотренном выше устройстве предусмотрена возможность выполнения торцевой стенки такой формы, которую она должна иметь в процессе эксплуатации при действии давления газа. Но указанная форма торцевой стенки не может обеспечить равномерность натяжение нитей корда, т.к. в процессе эксплуатации давление газа в устройствах изменяют от 0 до максимальной величины, что приводит к изменению формы толстостенной торцевой стенки и неравномерности в натяжении нитей.
Указанные недостатки также не допускают использования в устройстве большого давления газа, поэтому такая конструкция не может быть использована для перекрытия труб с большим давлением и большим диапазоном диаметров перекрываемых труб.
Известно также заглушающее резинокордное устройство для перекрытия трубопроводов (RU 2037727, 19.06.1995), содержащее герметизированную цилиндрическую камеру с резиновыми стенками, одна из торцевых стенок которой снабжена расположенными по оси камеры трубным штуцером, переходящим внутри камеры в кольцевой диск, соединенный с торцевой стенкой камеры через резиновую прослойку, выполненный из армированного нитями корда прорезиненного материала и охватывающий герметизированную цилиндрическую камеру силовой каркас, включающий цилиндрическую оболочку и соединенные с ней расположенные на торцевых стенках камеры торцевые стенки силового каркаса, выполненные из отдельных радиально направленных и частично перекрывающих одна другую полос с отогнутыми вдоль оси камеры концами, при этом нити корда в полосах направлены вдоль полос, и размещенный на силовом каркасе резиновый покровный слой.
Также в устройстве предусмотрено соединение цилиндрической оболочки с торцевыми стенками силового каркаса. Это соединение частей силового каркаса осуществлено за счет того, что отогнутые вдоль оси устройства концы полос расположены под цилиндрической оболочкой и выполнены утолщенными, и, кроме того, перекрыты в области цилиндрической оболочки армирующими слоями оболочки так, что крайние наружные и внутренние слои оболочки и полос плавно обогнуты соседними слоями, имеющими меньшую длину.
Однако такое устройство не может быть использовано для перекрытия труб с большим давлением и диапазоном диаметров перекрываемых труб, так как не позволяет подавать внутрь оболочки газ с большим давлением из-за недостаточной прочности соединений цилиндрической части силового каркаса с торцевыми стенками силового каркаса.
Стремление увеличить прочность соединения частей силового каркаса за счет увеличения числа слоев нитей корда в полосах, образующих торцевые стенки силового каркаса, а также в цилиндрической оболочке, приводит к увеличению толстостенности конструкции, к снижению работоспособности устройства, т.к. большая часть подаваемого внутрь устройства давления сжатого газа будет затрачиваться на увеличение диаметра устройства и, следовательно, на увеличение нагрузки на нити корда.
Кроме того, при изгибе такой многослойной и разностенной резинокордной торцевой стенки в процессе увеличения диаметра устройства под действием давления газа нити корда в наружных слоях стенки растягиваются, а во внутренних – сжимаются, что приводит к большой неравномерности в натяжении нитей и может вызвать их разрушение.
Известно также заглушающее резинокордное устройство для перекрытия трубопроводов, которое является наиболее близким аналогом (RU 2131078 С1, 27.05.1999), содержащее герметизированную цилиндрическую камеру с резиновыми стенками, одна из торцевых стенок которой снабжена расположенным по оси камеры трубным штуцером, переходящим внутри камеры в кольцевой диск, соединенный с торцевой стенкой камеры через резиновую прослойку, выполненный из армированного нитями корда прорезиненного материала и охватывающий герметизированную цилиндрическую камеру силовой каркас, включающий цилиндрическую оболочку и соединенные с ней расположенные на торцевых стенках камеры торцевые стенки силового каркаса, выполненные из отдельных радиально направленных и частично перекрывающих одна другую полос с отогнутыми вдоль оси камеры концами, при этом нити в полосах направлены вдоль полос, и размещенный на силовом каркасе резиновый покровный слой.
Недостаток известного устройства для перекрытия трубопроводов заключается в большой толщине материала камеры в плечевой (угловой) зоне, что приводит при изгибе такой резинокордной конструкции силового каркаса в процессе увеличения диаметра устройства под действием давления газа к неравномерности натяжения нитей корда в наружных слоях стенки, в которых они растягиваются, в то время как во внутренних слоях нити корда сжимаются. Это приводит к большим напряжениям резинокордного устройства при изгибе, а также к снижению прочности устройства.
Задачей изобретения является устранение указанных недостатков, т.е. создание резинокордной оболочки для перекрытия трубопроводов с обеспечением высокой прочности силового каркаса, а также равномерности натяжения нити.
Указанная задача решается тем, что в резинокордной оболочке для перекрытия трубопроводов, содержащей герметизированную эластичную цилиндрическую камеру с торцевыми стенками, одна из которых снабжена расположенным по оси камеры трубным штуцером, переходящим внутри камеры в кольцевой диск, выполненный из армированного нитями корда прорезиненного материала и охватывающий герметизированную цилиндрическую камеру силовой каркас, включающий цилиндрическую оболочку и соединенные с ней внахлест расположенные на торцевых стенках камеры торцевые стенки силового каркаса, выполненные из отдельных радиально направленных и частично перекрывающих одна другую полос с отогнутыми вдоль оси камеры концами, при этом нити в полосах направлены вдоль полос, и размещенный на силовом каркасе резиновый покровный слой, силовой каркас выполнен многослойным, при этом нахлесты в слоях силового каркаса армирующего цилиндрическую и торцевые части цилиндрической камеры сдвинуты друг относительно друга в осевом направлении – в цилиндрической части и в радиальном направлении – в торцевой части, причем величина нахлеста составляет от 30 до 250 мм, а отогнутые вдоль оси камеры концы полос расположены на внутренней поверхности.
Также тем, что нахлесты, по меньшей мере, 4-х слойного силового каркаса расположены на цилиндрической, плечевой и торцевой частях оболочки.
Также тем, что нахлесты, по меньшей мере, 2-х слойного силового каркаса расположены на цилиндрической и плечевой частях оболочки.
Также тем, что нахлесты, по меньшей мере, 2-х слойного, силового каркаса расположены на плечевой части оболочки.
Также тем, что нахлесты, по меньшей мере, 2-х слойного силового каркаса расположены в плечевой и торцевой частях оболочки.
Также тем, что нахлесты, по меньшей мере, 2-х слойного силового каркаса расположены в торцевой части оболочки.
Также тем, что нахлесты соседних слоев силового каркаса расположены с зазором относительно друг друга в осевом направлении – в цилиндрической части и в радиальном направлении – в торцевой части.
Также тем, что нахлесты соседних слоев силового каркаса расположены с перекрытием относительно друг друга в осевом направлении – в цилиндрической части и в радиальном направлении – в торцевой части.
Также тем, что она выполнена с неравномерным шагом расположения вдоль оси кольцевых уплотнительных выступов, причем вблизи торцов оболочки шаг выступов уменьшается до 2-3 раз по сравнению с шагом в средней части оболочки.
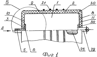
Изобретение поясняется чертежами, где на фиг.1 показан общий вид резинокордной оболочки для перекрытия трубопроводов с частичным разрезом, на фиг.2 – вид А на торцевую стенку силового каркаса на фиг.1, на фиг.3-7 показаны варианты выполнения нахлестов силового каркаса узла Б на фиг.1, на фиг.8 показано исходное и рабочее положение резинокордной оболочки в трубопроводе после подачи в него сжатого газа, на фиг.9 показано сечение 2-х слойного силового каркаса.
Резинокордная оболочка для перекрытия трубопроводов содержит герметизированную эластичную цилиндрическую камеру 1 (см. фиг.1), образованную резиновыми стенками: цилиндрической 2 и торцевыми 3,4, каждая из которых соединена с последней плечевой (угловой) зоной. Одна из торцевых 3 стенок снабжена расположенным по оси камеры, являющейся также осью резинокордной оболочки, трубным штуцером 5, который служит для подачи и выпуска из камеры сжатого газа.
Внутри камеры 1 трубный штуцер 5 переходит в кольцевой диск 6, соединенный с торцевой 3 стенкой камеры 1. Между кольцевым диском и камерой может быть предусмотрена резиновую прослойка.
Герметизированную эластичную камеру 1 охватывает силовой каркас 8, который выполнен многослойным, включающим в данном случае четыре слоя, с размещением между каждым слоем силового каркаса 8 промежуточного резинового слоя. При этом следует отметить, что многослойный силовой каркас 8 может быть выполнен без резиновых прослоек. Каждый слой силового каркаса 8 выполнен из армированного нитями корда прорезиненного материала. Силовой каркас 8 включает в себя три части: цилиндрическую оболочку 9, расположенную на цилиндрической 2 стенке камеры 1, и соединенные с ней расположенные на торцевых 3, 4 стенках камеры 1 торцевые стенки 10 и 11 силового каркаса 8. Торцевые стенки 10 и 11 силового каркаса аналогичны по конструкции. При этом торцевая стенка 10 силового каркаса 8 включает 4 слоя и каждый слой выполнен из отдельных радиально направленных и частично перекрывающих одна другую полос. Так первый слой торцевой стенки 10 силового каркаса выполнен из полос 12, 13, 14, 15, 16 и 17 (см. фиг.2). Концы каждой полосы этого слоя отогнуты вдоль оси камеры 1.
На фиг.3 в сечении показан только один отогнутый вдоль оси камеры 1 конец 18 полосы 12, при этом сечение других полос первого слоя в сечении условно не показаны, чтобы не загромождать чертеж, поскольку их расположение проиллюстрировано на фиг.2. Аналогично полосе 12 отогнуты концы и других полос первого слоя.
Армирующие материал полос нити корда 19 направлены вдоль полос.
На силовом каркасе 8 размещен резиновый покровный слой 20. Наружная цилиндрическая поверхность устройства может быть оснащена кольцевыми уплотнительными выступами 21, которые в процессе работы способствуют лучшему уплотнению и сцеплению с перекрываемым трубопроводом. Оболочка выполнена с неравномерным шагом расположения вдоль оси кольцевых уплотнительных выступов 21, причем вблизи торцов оболочки шаг выступов 21 уменьшается до 2-3 раз по сравнению с шагом в средней части оболочки.
Важными элементами конструкции оболочки являются соединения частей силового каркаса 8, от которых в значительной степени зависят прочность и надежность работы устройства.
Соединение цилиндрической оболочки 9 с торцевой стенкой 10 многослойного силового каркаса 8 осуществлено за счет того, что концевые участки 22 соединены с концом 18 полосы 12 и концами других полос 13, 14, 15, 16 и 17, расположенных на внутренней поверхности 24 цилиндрической оболочки по всей ее окружности. Соединение цилиндрической оболочки 9 с торцевой стенкой 11 силового каркаса 8 выполнено аналогично ее соединению с торцевой стенкой 10.
При этом нахлесты многослойного силового каркаса армирующего цилиндрическую и торцевые части цилиндрической камеры разнесены и расположены последовательно по периметру оболочки, причем величина нахлеста соседних слоев силового каркаса составляет от 30 до 250 мм. При уменьшении величины перекрытия соседних слоев силового каркаса менее 30 мм появляется вероятность возможности разрыва места стыка слоев силового каркаса. Увеличение величины нахлеста более 250 мм не дает изменений в распределении нагрузок на место нахлеста слоя силового каркаса 8.
В устройстве предусмотрено несколько вариантов выполнения нахлестов многослойного силового каркаса.
Нахлесты многослойного силового каркаса 8 могут быть расположены на цилиндрической, плечевой (угловой) и торцевой частях оболочки или расположены на цилиндрической и плечевой частях оболочки, или расположены только на плечевой части оболочки или только на торцевой части оболочки.
Нахлесты соседних слоев силового каркаса 8 могут быть расположены с зазором относительно друг друга по оси камеры или расположены с перекрытием L друг друга по оси камеры или в радиальном направлении.
Цилиндрическая оболочка 9 выполнена из прорезиненного материала, который представляет из себя параллельно расположенные нити корда 25 с впресованной между ними резиной.
Нити корда 25 расположены под углом к образующей цилиндрической оболочки, которая параллельна оси оболочки. Угол выбирается в пределах от 0° до 40° включительно, предпочтительнее от 2° до 9°, при этом цилиндрическая оболочка 9 обладает значительной эластичностью, что облегчает монтаж устройства, и, главное, снижается величина необходимого давления сжатого газа, подаваемого внутрь устройства. Нити корда в соседних слоях всегда перекрещиваются.
Между цилиндрической оболочкой 9 и всеми полосами каждой торцевой стенки 10 и 11 (также выполнены и все слои силового каркаса) силового каркаса 8 расположен дополнительный резиновый слой 28.
В устройстве образующие торцевые стенки 10 и 11 силового каркаса 8 полосы (фиг.2) расположены попарно, то есть каждые две соседние по оси устройства полосы, например 12 и 13, 14 и 15, 16 и 17 расположены под углом (одна к другой и этот угол равен 90°. Угол расположения полос выбран из условия обеспечения более равномерного расположения полос по толщине торцевых стенок 10, 11 силового каркаса 8 и, следовательно, обеспечения более равномерного натяжения нитей корда 19.
Полосы каждой пары расположены под углом к соответствующим полосам соседних пар и этот угол зависит от количества пар полос, из которых выполнена торцевая стенка. Угол является острым углом и практически не превышает 45°.
Устройство может быть снабжено смонтированным на торцевой стенке 4 камеры оппозитно трубному штуцеру 5 кронштейном 29, выполненным с фланцем 30, который расположен внутри камеры 1 и может быть установлен через резиновую прослойку 31 (не изображена) и соединен с торцевой стенкой 4 камеры 1.
Работа резинокордной оболочки осуществляется следующим образом.
К трубному штуцеру 5 присоединяют шланг (не показан) и устройство вводится в заглушающий трубопровод 32 через отверстие 33 или через отверстие, выполненное в стенке трубы. Для облегчения этой операции, а также при последующем демонтаже устройства может быть использован кронштейн 29.
Исходное положение 34 устройства на фиг.6 условно показано пунктиром. От источника сжатого газа по шлангу к трубному штуцеру 5 в устройство подают сжатый газ, при этом диаметр оболочки увеличивается, а длина устройства сокращается и устройство переходит в рабочее положение 35. В рабочем положении резинокордная оболочка полностью перекрывает трубу и устраняет возможность движения в ней жидкости 36.
Благодаря предлагаемого соединения цилиндрической оболочки с торцевыми стенками силового каркаса, который выполнен многослойным и стыки слоев разнесены по периметру оболочки, стало возможным перераспределить нагрузки между элементами устройства, обеспечив более равномерное натяжение нитей корда и снизив напряжения при изгибе. Кроме того, равномерность нагрузки нитей корда повышается и за счет размещения дополнительных промежуточных резиновых слоев между слоями силового каркаса. В результате повышается прочность и надежность устройства оболочки.
Формула изобретения
1. Резинокордная оболочка для перекрытия трубопроводов, содержащая герметизированную эластичную цилиндрическую камеру с торцевыми стенками, одна из которых снабжена расположенным по оси камеры трубным штуцером, переходящим внутри камеры в кольцевой диск, выполненный из армированного нитями корда прорезиненного материала и охватывающий герметизированную цилиндрическую камеру силовой каркас, включающий цилиндрическую оболочку и соединенные с ней внахлест, расположенные на торцевых стенках камеры торцевые стенки силового каркаса, выполненные из отдельных радиально направленных и частично перекрывающих одна другую полос с отогнутыми вдоль оси камеры концами, при этом нити в полосах направлены вдоль полос, и размещенный на силовом каркасе резиновый покровный слой, отличающаяся тем, что силовой каркас выполнен многослойным, при этом нахлесты в слоях силового каркаса, армирующего цилиндрическую и торцевые части цилиндрической камеры, сдвинуты друг относительно друга в осевом направлении в цилиндрической части и в радиальном направлении – в торцевой части, причем величина нахлеста составляет от 30 до 250 мм, а отогнутые вдоль оси камеры концы полос расположены на внутренней поверхности.
2. Резинокордная оболочка по п.1, отличающаяся тем, что нахлесты, по меньшей мере, 4-слойного силового каркаса расположены на цилиндрической, плечевой и торцевой частях оболочки.
3. Резинокордная оболочка по п.1, отличающаяся тем, что нахлесты, по меньшей мере, 2-слойного силового каркаса расположены на цилиндрической и плечевой частях оболочки.
4. Резинокордная оболочка по п.1, отличающаяся тем, что нахлесты, по меньшей мере, 2-слойного силового каркаса расположены на плечевой части оболочки.
5. Резинокордная оболочка по п.1, отличающаяся тем, что нахлесты, по меньшей мере, 2-слойного силового каркаса расположены в плечевой и торцевой частях оболочки.
6. Резинокордная оболочка по п.1, отличающаяся тем, что нахлесты, по меньшей мере, 2-слойного силового каркаса расположены в торцевой части оболочки.
7. Резинокордная оболочка по одному из пп.2-6, отличающаяся тем, что нахлесты соседних слоев силового каркаса расположены с зазором относительно друг друга в осевом направлении в цилиндрической части и в радиальном направлении – в торцевой части.
8. Резинокордная оболочка по одному из пп.2-6, отличающаяся тем, что нахлесты соседних слоев силового каркаса расположены с перекрытием относительно друг друга в осевом направлении в цилиндрической части и в радиальном направлении – в торцевой части.
9. Резинокордная оболочка по п.1, отличающаяся тем, что она выполнена с неравномерным шагом расположения вдоль оси кольцевых уплотнительных выступов, причем вблизи торцов оболочки шаг выступов уменьшается до 2-3 раз по сравнению с шагом в средней части оболочки.
РИСУНКИ
|
|