|
|
(21), (22) Заявка: 2001110909/06, 18.04.2001
(24) Дата начала отсчета срока действия патента:
18.04.2001
(43) Дата публикации заявки: 27.02.2003
(45) Опубликовано: 10.04.2006
(56) Список документов, цитированных в отчете о поиске:
US 4519725 А, 28.05.1985. SU 1681119 A1, 30.09.1991. SU 1808069 A1, 07.04.1993. RU 2097647 С1, 27.11.1997. SU 1221300 А, 30.03.1986. SU 1082094 А, 30.01.1985. SU 823738 А, 23.04.1981.
Адрес для переписки:
129010, Москва, ул. Б.Спасская, 25, стр.3, ООО “Юридическая фирма Городисский и Партнеры”, пат.пов. С.А.Дорофееву
|
(72) Автор(ы):
ФРИЙСК Харальд Арнт (NO)
(73) Патентообладатель(и):
НОРСК ХЮДРО АСА (NO)
|
(54) УСТРОЙСТВО ДЛЯ СОЕДИНЕНИЯ С ВЕРТИКАЛЬНЫМ ТРУБОПРОВОДОМ
(57) Реферат:
Изобретение относится к области прокладки трубопроводов для транспорта нефти или газа. Технический результат изобретения – упрощение и снижение затрат на установку нового вертикального трубопровода. В устройстве для соединения транспортирующего трубопровода от транспортной системы для нефти и/или газа на дне моря к платформе, содержащем транспортирующий трубопровод, соединенный с платформой вертикальным трубопроводом с размещенной в нем гибкой трубой, соединенной с транспортирующим трубопроводом, в качестве вертикального трубопровода используют резервный вертикальный трубопровод небольшого месторождения с невысокой добычей по нефти и газу для размещения внутри него гибкой трубы того же внутреннего диаметра, что и диаметр транспортирующего трубопровода, при этом посредством соединения, размещенного на верхнем и нижнем концах резервного вертикального трубопровода, образовано уплотнение между транспортирующим трубопроводом и гибкой трубой и также образовано уплотнение на концах вертикального трубопровода для обеспечения его уплотнения. 3 з.п. ф-лы, 6 ил. 
Настоящее изобретение относится к устройству для соединения с вертикальным трубопроводом для транспортирования нефти и/или газа, возможно включающих воду, от устья скважины транспортирующего трубопровода или тому подобного на дне моря к платформе.
На основании изыскательских работ в Северном море в последние годы в настоящее время оказалось, что эра больших нефтяных и газовых новых месторождений закончилась. С другой стороны, имеется много новых месторождений меньшей величины. При современных ценах на нефть/газ они не являются реально коммерчески привлекательными/прибыльными, но в будущем они могут представить интерес, если цены на нефть возрастут и/или технические решения, относящиеся к добыче нефти, станут дешевле.
Многие платформы, которые уже установлены и используются, имеют резервные вертикальные трубопроводы для будущих разработок. Будущее этих вертикальных трубопроводов заключалось в том, что они предназначались для больших новых месторождений. Их размеры поэтому часто гораздо больше, чем те, которые могут быть использованы для добычи из низкорентабельных месторождений с небольшой производительностью и сроком службы.
Поэтому ситуация такова, что многие вертикальные трубопроводы, которые сохраняются в резерве, никогда не будут использованы. Теоретически возможно соединить транспортирующий трубопровод небольшого диаметра из месторождения с низкорентабельной добычей непосредственно с существующим резервным вертикальным трубопроводом большего диаметра. Однако это невозможно, поскольку власти и правила, помимо всего прочего, требуют, чтобы вертикальный трубопровод и трубопровод продукта имели возможность развертки (очистки чушкой), что может быть затруднительно или невозможно выполнить при переходе от большой трубы к маленькой.
Альтернативой поэтому является прокладка нового вертикального трубопровода, который удовлетворяет установленным законом требованиям к прочности и установке. Новый вертикальный трубопровод, однако, очень дорогой и может, как отмечено выше, сделать разработку небольших месторождений нефти и газа менее привлекательной для разработчиков. В наихудшем случае разработка может быть остановлена в связи с недостаточной прибыльностью.
Настоящее изобретение относится к устройству, которое обеспечивает возможность использования существующих резервных вертикальных трубопроводов соответствующего класса по давлению и прочности, с которым подобные вертикальные трубопроводы были установлены и который соответствует требованиям существующих правил. Устройство обеспечивает возможность очистки труб чушкой и установка и использование его являются менее дорогими по сравнению с установкой новых вертикальных трубопроводов.
В соответствии с настоящим изобретением устройство отличается тем, что для использования вертикального трубопровода для транспортирования нефти и небольшого месторождения с низкой добычей по нефти/газу, когда транспортирующий трубопровод имеет небольшой диаметр, гибкая труба по существу того же внутреннего диаметра, что и диаметр транспортирующего трубопровода, размещена внутри вертикального трубопровода. На его верхнем и нижнем концах вертикальный трубопровод снабжен соединением, которое образует уплотнение между транспортирующим трубопроводом и гибкой трубой и также образует уплотнение на концах вертикального трубопровода для обеспечения его уплотнения.
Настоящее изобретение будет описано более подробно ниже с использованием примеров и со ссылкой на прилагаемые чертежи, на которых:
на фиг.1 изображен простой эскиз вертикального трубопровода;
на фиг.2 изображен аналогичный простой эскиз вертикального трубопровода, модифицированного в соответствии с настоящим изобретением;
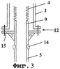
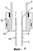
на фиг.3-5 изображены в увеличенном масштабе три различных варианта соединения трубопровода продукта к существующему вертикальному трубопроводу в соответствии с настоящим изобретением;
на фиг.6 изображено в увеличенном масштабе альтернативное конструктивное исполнение с распорными кольцами между внутренней гибкой трубой и существующим вертикальным трубопроводом.
На фиг.2 изображен простой эскиз вертикального трубопровода 1. Когда новые платформы устанавливаются в море в связи с разработкой новых нефтяных месторождений, платформы (не показаны) снабжены дополнительными (резервными) вертикальными трубопроводами 1 для использования в последующих разработках месторождения в дополнение к вертикальным трубопроводам, которые предназначены для немедленного использования. Такие дополнительные вертикальные трубопроводы 1 часто снабжены затычкой в форме пробки 2 или аналогичной формы на конце, например, прикрепленной через фланцевое соединение 3.
Платформы снабжены дополнительными вертикальными трубопроводами, так как дешевле укладывать трубопровод во время возведения платформы, но очень дорого, когда платформа спущена на воду и размещена на нефтяном/газовом месторождении. Трубопровод имеет тот же класс, что и вертикальный трубопровод, и удовлетворяет заданным требованиям по давлению, температуре и коррозионной стойкости.
Для больших новых нефтяных месторождений трубопровод продукта или транспортирующий трубопровод на дне моря имеет диаметр, равный диаметру необходимых вертикальных трубопроводов на платформе, так что транспортирующий трубопровод может быть соединен непосредственно с вертикальным трубопроводом. Для небольших месторождений, где используются транспортирующие трубопроводы меньшего диаметра, такое непосредственное соединение часто невозможно, как указано выше. Однако настоящее изобретение представляет собой устройство, которое обеспечивает возможность использования существующих больших имеющихся в наличии трубопроводов. Устройство основано на том, что внутрь вертикального трубопровода 1 вставляется гибкая труба 4 обычно того же внутреннего диаметра, что и транспортирующий трубопровод 5 от близкого или отдаленного устья скважины подводной добывающей установки (не показано). Транспортирующий трубопровод 5 соединен с гибкой трубой 4 посредством соединения 6 у нижнего конца вертикального трубопровода. Аналогичное соединение 7 может быть использовано между гибкой трубой 4 и трубопроводной сетью 8 на платформе.
Соединения 6, 7 также образуют уплотнения на концах вертикального трубопровода, так обеспечивается его уплотнение. Это является важным отличительным признаком настоящего изобретения, так как внутренняя гибкая труба является надлежащим образом перфорированной или проницаемой каким-либо другим образом, так что нефть/газ проникают внутрь и выравнивают давление в пространстве (кольцевом) между гибкой трубой 4 и вертикальным трубопроводом 1. Это приводит в результате к поддержанию постоянного давления Р1=Р2 (см. фиг.5) между кольцевым пространством и внутренней гибкой трубой 4. Это в свою очередь создает в результате ряд преимуществ:
– Первоначальный резервный вертикальный трубопровод 1 используется полностью в соответствии с его классом с учетом давления, температуры и материала. Следовательно, возможно использовать гораздо менее дорогую, не соответствующую классу, гибкую внутреннюю трубу 4 из различных типов материала и различных конструкций.
– Установка внутренней гибкой трубы 4 является очень простой и недорогой по сравнению с установкой нового вертикального трубопровода подходящих размеров.
– Возможно выполнить чистку чушкой гибкой трубы.
Следовательно, настоящее изобретение представляет собой более простое и менее дорогое решение, чем установка нового вертикального трубопровода меньшего диаметров в диапазоне существующих требований к классу для существующей платформы.
На фиг.3, 4 и 5 показаны альтернативные соединения между транспортирующим трубопроводом 5, вертикальным трубопроводом 1 и гибкой внутренней трубой 4. Надлежащим образом используется промежуточное соединение труб 9 между транспортирующим трубопроводом 5 и гибкой трубой 4. Целесообразно, чтобы оно было соединено с соответствующими трубопроводами посредством сварки. Соединение труб 9 плотно закреплено в торцевом участке 15, который, в свою очередь, может быть соединен с вертикальным трубопроводом 1 посредством сварного соединения 10, как показано на фиг.5, зажимной соединительной муфтой 11, как показано на фиг.4, или фланцевым соединением, как показано на фиг.3.
При установке гибкой трубы 4 в вертикальный трубопровод 1 и в процессе непрерывной добычи нефти/газа для добывающей установки вода может собираться в кольцевом пространстве между этими трубами. Можно надлежащим образом всасывать ее в гибкую трубу через сопло Вентури 13, чтобы уменьшить потенциальную коррозию.
Более того, при установке гибкой трубы 4 важно, чтобы она удерживалась на месте внутри вертикального трубопровода, в особенности для очистки трубы.
Это можно надлежащим образом выполнить посредством использования распорных колец 16, размещенных с промежутками.
Под термином “гибкая труба” 4, как он использован в пунктах формулы изобретения, подразумеваются не только те трубы, которые могут быть изогнуты, не подвергаясь пластической деформации, но также трубы, которые разделены на секции и могут быть сочленены. Труба должна иметь возможность втягиваться и вытягиваться через вертикальный трубопровод и быть приспособлена к изгибам или кривизне вертикального трубопровода. Кроме того, вертикальный трубопровод не обязательно должен быть резервным вертикальным трубопроводом, он может быть в равной мере вертикальным трубопроводом, который ранее использовался для добычи на большом месторождении с высокой производительностью.
Формула изобретения
1. Устройство для соединения транспортирующего трубопровода от транспортной системы для нефти и/или газа на дне моря к платформе, содержащее транспортирующий трубопровод 5, соединенный с платформой вертикальным трубопроводом с размещенной в нем гибкой трубой 4, соединенной с транспортирующим трубопроводом 5, отличающееся тем, что в качестве вертикального трубопровода используют резервный вертикальный трубопровод 1 небольшого месторождения с невысокой добычей по нефти и газу для размещения внутри него гибкой трубы 4 того же внутреннего диаметра, что и диаметр транспортирующего трубопровода 5, при этом посредством соединения (6, 7), размещенного на верхнем и нижнем концах резервного вертикального трубопровода 1, образовано уплотнение между транспортирующим трубопроводом 5 и гибкой трубой 4 и также образовано уплотнение на концах вертикального трубопровода для обеспечения его уплотнения.
2. Устройство по п.1, отличающееся тем, что уплотнение между гибкой трубой (4) и транспортирующим трубопроводом (5) включает соединение труб (9), размещенное в торцевом уплотнительном участке (15), которое выполнено с возможностью закрепления на резервном вертикальном трубопроводе (1).
3. Устройство по п.2, отличающееся тем, что торцевой уплотнительный участок (15) содержит пластину, которая приварена к торцу резервного вертикального трубопровода (1) или закреплена на нем посредством фланцевого соединения (12).
4. Устройство по любому из пп.1-3, отличающееся тем, что гибкая труба (4) перфорирована или выполнена проницаемой каким-либо другим образом.
РИСУНКИ
MM4A – Досрочное прекращение действия патента СССР или патента Российской Федерации на изобретение из-за неуплаты в установленный срок пошлины за поддержание патента в силе
Дата прекращения действия патента: 19.04.2007
Извещение опубликовано: 20.07.2010 БИ: 20/2010
|
|