|
|
(21), (22) Заявка: 2004120627/11, 05.07.2004
(24) Дата начала отсчета срока действия патента:
05.07.2004
(43) Дата публикации заявки: 10.12.2005
(45) Опубликовано: 10.04.2006
(56) Список документов, цитированных в отчете о поиске:
М.П.Александров “Тормозные устройства в машиностроении”, Москва, Машиностроение, 1965, сс.436-439. SU 726383 A1, 05.04.1980. SU 927414 A2, 15.05.1982. FR 2629033 A, 29.09.1989.
Адрес для переписки:
601900, Владимирская обл., г. Ковров, ул. Труда, 4, ОАО “Завод им. В.А. Дегтярева”, ОПЛИР
|
(72) Автор(ы):
Большаков Денис Михайлович (RU), Дегтярев Юрий Владимирович (RU), Савельев Виктор Борисович (RU)
(73) Патентообладатель(и):
Открытое акционерное общество “Завод им. В.А. Дегтярева” (RU)
|
(54) ПРИВОД СТОПОРНОГО МЕХАНИЗМА
(57) Реферат:
Изобретение относится к области машиностроения, в частности к приводам тормозных устройств. Привод стопорного механизма содержит двигатель и систему рычагов. Привод снабжен электромагнитом со штоком, на конце которого размещена резьбовая втулка, предназначенная для регулировки момента срабатывания стопорного механизма. Шток электромагнита выполнен с возможностью воздействия на профильный рычаг пружиной, связанной с профильным рычагом и выполненной с возможностью возврата профильного рычага в исходное положение, тягой привода стопорного механизма, шарнирно соединенной с профильным рычагом, а также рычагом ручного управления, для взаимодействия с которым на профильном рычаге выполнен выступ. Техническим результатом является уменьшение веса и габаритных размеров, снижение времени срабатывания, а также возможность использования привода от мускульной силы наравне с электромагнитным. 1 ил. 
Изобретение относится к машиностроению, а именно к приводам тормозных устройств, устанавливаемых на различных транспортных средствах, в частности при установке вооружения на транспорты средствах.
Известен ножной колодочный тормоз, содержащий корпус, на вертикальных пальцах которого установлены двуплечие рычаги, а на горизонтальной оси корпуса установлена педаль с вертикальным клином. Одним концом рычаги взаимодействуют с вертикальным клином, а на другом конце установлены тормозные колодки, которые прижимаются при торможении к ободу. Пружина педали возвращает ее в исходное положение, а пружина рычагов отводит тормозные колодки от обода (см. “Механизмы”. Справочник. Издание 4-е перераб. и доп. Под ред. С.Н.Кожевникова. М.: Машиностроение, 1976 г. стр. 373).
Недостатком аналога являются небольшие тормозные усилия, связанные с применением мускульной силы.
Известен тормоз с приводом от серводвигателя, который содержит серводвигатель, соединенный с рычажной системой тормоза посредством шестерни, надетой на его вал и сцепленной с зубчатым сектором, или посредством кривошипа, укрепленного на выходном конце вала редуктора, приводимого в движение серводвигателем (“Тормозные устройства в машиностроении”. М.П.Александров, М.: Машиностроение, 1965 г., стр. 436-439). Устройство принято за прототип.
Недостатками прототипа являются: большие габаритные размеры и вес, отсутствие привода от мускульной силы, значительное время срабатывания.
Предлагаемым изобретением решается задача: повышение эксплуатационных характеристик привода стопорного механизма.
Технический результат, получаемый при осуществлении изобретения, заключается в уменьшении веса и габаритных размеров, снижении времени срабатывания, возможности использования привода от мускульной силы наравне с электромагнитным.
Указанный технический результат достигается тем, что в приводе стопорного механизма, содержащем двигатель и систему рычагов, новым является то, что он снабжен электромагнитом со штоком, на конце которого размещена резьбовая втулка, предназначенная для регулировки момента срабатывания стопорного механизма, при этом шток электромагнита выполнен с возможностью воздействия на профильный рычаг пружиной, связанной с профильным рычагом и выполненной с возможностью возврата профильного рычага в исходное положение, тягой привода стопорного механизма, шарнирно соединенной с профильным рычагом, а также рычагом ручного управления, для взаимодействия с которым на профильном рычаге выполнен выступ.
Снабжение привода стопорного механизма электромагнитом со штоком, на конце которого размещена резьбовая втулка, тягой привода стопорного механизма, а также рычагом ручного управления, для взаимодействия с которым на профильном рычаге выполнен выступ, дает возможность использовать как электромагнитный, так и механический привод стопорного механизма.
На основании вышеизложенного можно сделать вывод о том, что предлагаемое техническое решение обладает “новизной” и “изобретательским уровнем”.
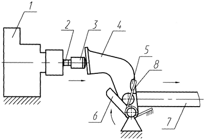
Сущность изобретения поясняется чертежом, где изображен общий вид привода стопорного механизма.
Привод стопорного механизма содержит электромагнит 1 со штоком 2, на конце которого размещена резьбовая втулка 3, профильный рычаг 4, на котором выполнен выступ 5. На одной оси с профильным рычагом установлен рычаг 6 ручного управления. С профильным рычагом шарнирно связан рычаг 7 (тяга привода стопорного механизма). На одной оси с профильным рычагом и рычагом ручного управления установлена пружина 8.
Привод стопорного механизма работает следующим образом. При подаче питания на электромагнит 1 его шток 2 действует на профильный рычаг 4, установленный на качающейся части установки. Тяга 7 привода стопорного механизма, шарнирно соединенная с рычагом 4, перемещается и приводит в действие стопорный механизм. При отключении питания от электромагнита 1 его шток 2 перемещается вовнутрь и освобождает профильный рычаг 4, который под действием пружины 8 возвращается в исходное положение, растормаживая стопорный механизм. При выходе из строя электромагнита 1 иди отключении питания поворот профильного рычага 4 осуществляется с помощью рычага 6 ручного управления, приводимого в действие от мускульной силы оператора, который взаимодействует с выступом 5 профильного рычага 4. При снятии усилия с рычага 6 освобождается рычаг 4, который под действием пружины 8 возвращается в исходное положение, растормаживая стопорный механизм. Резьбовая втулка 3 предназначена для регулировки момента срабатывания стопорного механизма.
Таким образом, использование изобретения позволит уменьшить количество шарнирных соединений в приводе стопорного механизма, что приводит к исключению влияния зазоров в соединениях и более эффективному использованию кинетической энергии электромагнита, а также использовать как электромагнитный, так и механический привод стопорного механизма, и, как следствие, повысить удобство пользования без усложнения конструкции.
Формула изобретения
Привод стопорного механизма, содержащий двигатель и систему рычагов, отличающийся тем, что он снабжен электромагнитом со штоком, на конце которого размещена резьбовая втулка, предназначенная для регулировки момента срабатывания стопорного механизма, при этом шток электромагнита выполнен с возможностью воздействия на профильный рычаг пружиной, связанной с профильным рычагом и выполненной с возможностью возврата профильного рычага в исходное положение, тягой привода стопорного механизма, шарнирно соединенной с профильным рычагом, а также рычагом ручного управления, для взаимодействия с которым на профильном рычаге выполнен выступ.
РИСУНКИ
|
|