|
|
(21), (22) Заявка: 2001133536/06, 14.12.2001
(24) Дата начала отсчета срока действия патента:
14.12.2001
(30) Конвенционный приоритет:
19.12.2000 (п.1) FR 0016564
(43) Дата публикации заявки: 10.08.2003
(45) Опубликовано: 10.04.2006
(56) Список документов, цитированных в отчете о поиске:
SU 827860 А, 07.05.1981. SU 821761 А, 15.04.1981. SU 448312 А, 30.10.1974. US 3437101 A, 01.03.1969. GB 2030325 A, 02.04.1980.
Адрес для переписки:
191186, Санкт-Петербург, а/я 230, “АРС-ПАТЕНТ”, пат.пов. В.М.Рыбакову, рег. № 90
|
(72) Автор(ы):
БРОКАР Жан-Мари (FR), ЛЕ ТЕКСЬЕ Мишель (FR)
(73) Патентообладатель(и):
СНЕКМА МОТОРС (FR)
|
(54) СЕРВОКЛАПАН С ПАМЯТЬЮ ПОЛОЖЕНИЯ
(57) Реферат:
Сервоклапан предназначен для электрогидравлических систем. Сервоклапан содержит электрический двигатель и распределитель с управляемым этим двигателем гидравлическим золотником, дополнительно содержит центральную скалку, снабженную поршневыми поясками, которые предназначены для взаимодействия с соединительными отверстиями распределителя и образуют между собой и с концами распределителя кольцевые полости, из которых две рабочие полости связаны с подлежащим управлению ведомым органом. В скалке проточены два рабочих канала для установления сообщения каждой из указанных рабочих полостей с расположенной непосредственно рядом с ней кольцевой полостью таким образом, чтобы обеспечивать одинаковое давление с двух сторон от поршневых поясков, разделяющих эти две полости. В положении защиты (называемом положением аварийного стопорения) указанные поршневые пояски перекрывают указанные рабочие отверстия с зазором, в результате чего утечки от рабочих отверстий направляются через эти зазоры на слив с определенным низким давлением, что обеспечивает контроль медленного смещения управляемого органа. Технический результат – повышение надежности. 6 з.п. ф-лы, 8 ил. 
Область техники, к которой относится изобретение
Настоящее изобретение относится к области электрогидравлических систем, в частности к сервоклапану регулирования расхода, который используется преимущественно в системе впрыска топлива в летательных аппаратах.
Уровень техники
Известны различные электрогидравлические системы управления и регулирования различных параметров, в том числе применяемые в различных системах летательных аппаратов (см. Крымов Б.Г. и др. Исполнительные устройства систем управления летательными аппаратами. Учебное пособие для ВТУЗов. М.: Машиностроение, 1987, с.99-100).
Ряд известных систем подобного типа основан на использовании сервоклапана (см., например, патент США N 4858658, в котором описан один из ближайших аналогов настоящего изобретения). В традиционном исполнении (в том числе по указанному патенту США) сервоклапан содержит электрический двигатель и гидравлический распределитель, расход которого регулируется пропорционально силе тока управления этого электрического двигателя. Сервоклапан используется в системах автоматического регулирования по положению, скорости или силе для обеспечения быстрого и точного регулирования на уровнях повышенных мощностей.
В авиационной и аэрокосмической областях, где становится все более частым использование электронных вычислительных устройств и электрических систем управления, сервоклапаны находят естественное применение в системах борьбы с обледенением или системах охлаждения для управления компрессорами, регулирования выходных насадок, а также в системах впрыска топлива, не говоря о некоторых специальных примерах применения в двигателях летательных аппаратов. Насущной необходимостью для таких сервоклапанов является необходимость «замораживать” или фиксировать положение управляемых органов в случае перебоев электрического питания электронного вычислительного устройства летательного аппарата для того, чтобы можно было вернуться к точному состоянию этих органов до неисправности после того, как она будет найдена и устранена.
Специалисту в данной области хорошо известны клапаны с памятью положения (аварийным стопорением). Они обеспечивают стопорение в определенном положении ведомого органа, связанного с этим клапаном. На фиг.8 показан пример выполнения такого клапана 1 с памятью положения, связанного с электрогидравлическим сервоклапаном 2, который предназначен для управления измерительным устройством 3. Сервоклапан действует, как обычный трехходовой клапан (с питающей гидравлической линией 4 высокого давления, сливной гидравлической линией 5, рабочей гидравлической линией 6), оснащенный собственным электрическим двигателем 7 и управляемым им гидрораспределителем 8. Сервоклапан подает управляющее давление (называемое также рабочим) к устройству измерения от питающей гидравлической линии высокого давления. При этом встроенный между сервоклапаном и устройством измерения клапан с памятью положения остается бездействующим при нормальном функционировании. Однако в случае нарушения электропитания сервоклапан 2, приводимый в движение в противоположном направлении посредством четвертой гидравлической линии 9, вызывает немедленное смещение клапана 1 с памятью положения (в положение, показанное на фиг.8), что вызывает отсечение устройства 3 измерения, так что оно застопоривается в том положении, которое оно занимало до отключения электропитания.
Однако такая конструкция имеет определенные недостатки. Во-первых, она требует применения дополнительной ступени коммутации (называемой также третьим золотниковым клапаном), что связано с проблемами конструктивного размещения, особенно в бортовых устройствах. Кроме того, в этой конструкции стопорение в текущем положении обеспечивается только давлением управления, что может ограничивать типы управляемых таким образом ведомых органов. И, наконец, в переходной фазе между нормальным положением золотниковых клапанов 1 и 2 и их положениями аварийного стопорения смещение золотника клапана 1 (вправо на фиг.8) сдвигает золотник клапана 3 (влево) на величину, зависящую от объема, вытесненного золотником клапана 1 (объем между полостями клапанов 1 и 3 является несжимаемым). Это смещение, даже небольшой величины, может оказаться нежелательным в некоторых случаях применения.
Сущность изобретения
Задача, на решение которой направлено настоящее изобретение, заключается в создании электрогидравлического устройства, позволяющего устранить недостатки известных устройств, а также имеющего простую и компактную конструкцию.
В соответствии с изобретением решение поставленной задачи достигается за счет создания сервоклапана, который принимает на себя функцию памяти положения и содержит электрический двигатель и управляемый этим двигателем распределитель, содержащий гидравлический золотник, который может линейно перемещаться в цилиндре под действием неуравновешенности давлений, создаваемых у двух концов этого цилиндра посредством изменения силы тока управления указанного электрического двигателя, причем указанный гидравлический золотник содержит центральную скалку, на которой имеются поршневые пояски, предназначенные для взаимодействия с соединительными отверстиями указанного распределителя и образующие между собой и с указанными концами указанного гидравлического цилиндра кольцевые полости, при этом указанные соединительные отверстия включают в себя, по меньшей мере, одно отверстие подачи высокого давления, по меньшей мере, одно отверстие слива и, по меньшей мере, два рабочих отверстия, связанные с ведомым органом, подлежащим управлению, а указанные кольцевые полости включают в себя две полости управления, по меньшей мере, две полости высокого давления, по меньшей мере, одну полость низкого давления и, по меньшей мере, две рабочие полости. Сервоклапан по изобретению характеризуется тем, что дополнительно содержит проточенные в указанной центральной скалке два рабочих канала для установления сообщения каждой из указанных рабочих полостей с расположенной непосредственно рядом с ней кольцевой полостью, с обеспечением одинакового давления с двух сторон от поршневых поясков, разделяющих эти две полости, при этом в предварительно заданном положении защиты (называемом положением аварийного стопорения), в котором указанные поршневые пояски перекрывают указанные рабочие отверстия с зазором, утечки от указанных рабочих отверстий, обусловленные наличием данных зазоров, пропускаются на слив под определенным давлением (предпочтительно низким давлением слива).
Таким образом, при такой конструкции распределителя сервоклапана появляется возможность не только застопорить положение управляемого ведомого органа посредством данного сервоклапана, но также, что является главным, существенно снизить и контролировать утечки и определить направление медленного смещения этого управляемого ведомого органа.
Предпочтительно поршневые пояски, перекрывающие рабочие отверстия в указанном положении защиты, установлены с существенным перекрытием по отношению к этим рабочим отверстиям. В оптимальном варианте это перекрытие составляет от 1 до 5 мм.
Согласно предпочтительному примеру выполнения сервоклапан содержит центральную скалку, снабженную шестью поршневыми поясками, образующими семь кольцевых полостей, из которых две полости управления расположены на двух концах распределителя, и пять соединительных отверстий в дополнение к отверстиям управления, которые сообщаются с указанными полостями управления. В качестве варианта выполнения поршневой поясок, перекрывающий одно из рабочих отверстий, содержит на своей периферии две кольцевые дренажные канавки, которые сообщаются с полостью низкого давления через третий рабочий канал, проточенный в скалке.
Согласно другому примеру выполнения сервоклапан содержит центральную скалку, снабженную восемью поршневыми поясками, образующими девять кольцевых полостей, из которых две полости управления расположены на двух концах распределителя, и семь соединительных отверстий в дополнение к отверстиям управления, которые сообщаются с указанными полостями управления.
Перечень фигур чертежей
Примеры осуществления настоящего изобретения, его дополнительные особенности и преимущества будут подробнее описаны ниже со ссылками на прилагаемые чертежи, на которых:
фиг.1 схематично изображает сервоклапан с памятью положения в первом предпочтительном примере выполнения изобретения,
фиг.2 изображает диаграмму рабочей характеристики сервоклапана по фиг.1,
фиг.3-5 изображают распределитель сервоклапана по фиг.1 в различных положениях,
фиг.6 схематично изображает распределитель сервоклапана с памятью положения во втором примере выполнения изобретения,
фиг.6А изображает в увеличенном виде выделенную на фиг.6 часть клапана,
фиг.7 схематично изображает распределитель сервоклапана с памятью положения в третьем примере выполнения изобретения, и
фиг.8 изображает пример выполнения известного из уровня техники клапана с памятью положения.
Сведения, подтверждающие возможность осуществления изобретения
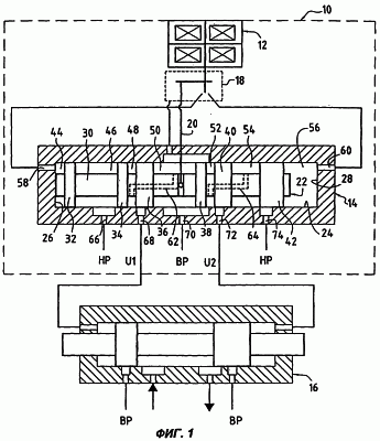
На фиг.1 в схематичном виде показан сервоклапан 10 в первом предпочтительном примере выполнения. Сервоклапан 10 оснащен электрическим двигателем 12, а его гидравлический распределитель 14 предназначен для управления ведомым органом, таким как дозатор 16 для впрыска топлива. Электрический двигатель 12 и связанные с ним электромеханические элементы (гидравлический потенциометр 18 и механическое устройство 20 отрицательной обратной связи, образующие орган управления распределителем), которые не являются предметом изобретения как таковые, не показаны подробно. Они являются стандартными и сходны, например, с аналогичными устройствами в примере по фиг.8.
Основное значение для изобретения имеет распределитель 14, содержащий гидравлический золотник 22, который может прямолинейно перемещаться в соответствующем цилиндре 24 (или охватывающей поверхности распределителя) под действием разности давлений, создаваемых на двух концах 26, 28 органом управления, который получает энергию от электрического двигателя 12.
Золотник содержит центральную скалку 30 с установленными на ней шестью поршневыми поясками (или буртиками) 32-42, которые предназначены для взаимодействия с соединительными отверстиями распределителя и образуют между собой и с двумя концами золотника кольцевые полости 44-56. Две крайние полости 44, 56, сообщающиеся с органом управления с помощью отверстий 58, 60, выполняют функцию полостей управления. Давления в этих полостях действуют в противоположных направлениях и управляют перемещением золотника. Далее полостями высокого давления будут называться полости 46, 54, а полостью низкого давления – полость 50, при этом в равновесном положении золотника (нейтральное положение на фиг.3) эти полости сообщаются с соответствующими соединительными отверстиями. Остальные две полости 48, 52 будут называться рабочими полостями.
Кроме того, в скалке 30 золотника выполнены два рабочих канала 62, 64 для обеспечения сообщения рабочей полости 48 с полостью 50 низкого давления и рабочей полости 52 с одной полостью 54 высокого давления.
Кроме отверстий 58, 60 управления в распределителе проточены пять соединительных отверстий 66-74, сообщающихся с полостями распределителя. Они обеспечивают, соответственно, два канала сообщения с гидравлической линией HP подачи высокого давления, сообщение со сливной гидравлической линией ВР (или гидравлической линией возврата в бак под низким давлением) и два канала сообщения с рабочими гидравлическими линиями U1, U2. Сливное отверстие 70 выходит в полость 50 низкого давления между двумя рабочими отверстиями 68, 72, а каждое отверстие 66, 74 подачи высокого давления выходит в полость, отделенную от каждого из рабочих отверстий.
В представленном на фиг.1 положении, которое соответствует запоминанию положения управляемого ведомого органа 16, золотник 22 упирается в конец 26 цилиндра 24, а два поршневых пояска 36, 40 из указанных шести поясков закрывают рабочие отверстия 68, 72. Одно из отверстий подачи высокого давления, а именно отверстие 74 подачи высокого давления, закрыто крайним поршневым пояском 42. В этом положении защиты рабочие каналы 62, 64 устанавливают сообщение, соответственно, полости 50 низкого давления с первой рабочей полостью 48 и полости 54 высокого давления со второй рабочей полостью 52. Благодаря этим рабочим каналам сообщения с каждой стороны от этих двух поршневых поясков (36 и 40) создается один определенный уровень давления, в показанном примере сливного давления (низкое давление ВР). Таким образом, за счет описанной конструкции, которая устраняет создание разности давлений Р по сторонам от рабочих отверстий, ламинарные паразитные утечки, которые могут происходить в золотнике (более конкретно – между внешними периферическими поверхностями поршневых поясков и внутренней стенкой распределителя), снижаются до минимума и поступают на слив низкого давления. Только прикладываемые к дозатору 16 гидравлические силы могут создавать небольшую разность давлений между отверстиями, связанными с рабочими линиями U1 и U2. Кроме того, следует отметить, что эти силы стремятся закрыть дозирующее отверстие и толкают золотник дозатора влево.
Далее действие сервоклапана будет пояснено со ссылками на фиг.2-5.
На фиг.2 показана диаграмма, которая представляет изменение расхода на выходе распределителя 14 в функции силы тока управления электрического двигателя 12 сервоклапана в соответствии с изобретением. Диаграмма иллюстрирует область функционирования сервоклапана с участком нулевого расхода (от 0 до А) и с участком линейного режима (от В до С). Участок с нулевым расходом соответствует функционированию сервоклапана по изобретению в положении по фиг.1.
В стационарном режиме (соответствующем точке F на фиг.2) золотник 22 находится в центральном равновесном положении (фиг.3), и отверстия, связанные с рабочими линиями U1, U2, закрыты двумя поршневыми поясками. Первый поршневой поясок 34, который отделяет полость 46 высокого давления от первой рабочей полости 48, подвергается воздействию, с одной стороны, подаваемого высокого давления и, с другой стороны, низкого давления текучей среды, поступающей через первый рабочий канал 62. Второй поршневой поясок 38, который отделяет полость 50 низкого давления от второй рабочей полости 48, подвергается воздействию, с одной стороны, низкого давления и, с другой стороны, высокого давления текучей среды, поступающей через второй рабочий канал 64 от отверстия 74 подачи высокого давления.
В динамическом режиме, когда давление управления изменяется под действием электрического управления первой ступени (двигателя 12), действующие на золотник 22 противоположно направленные усилия больше не компенсируют друг друга, и их дисбаланс проявляется в том, что, в зависимости от знака дисбаланса, золотник смещается в одну или другую сторону распределителя между двумя противоположными положениями, которые соответствуют максимальному ходу сервоклапана. Направление отклонения зависит только от характеристик управляемого ведомого органа, поскольку в данном конструктивном исполнении сам сервоклапан абсолютно нейтрален. Независимо от состояния уплотнения различных зазоров они не могут быть источником какого-либо расхода, который вызвал бы смещение управляемого ведомого органа, в то время как сами они способны пропускать утечки или обеспечивать перепуск текучей среды, вызываемый неуравновешенным положением управляемого ведомого органа.
На фиг.4 золотник показан в своем положении линейного функционирования на отрицательном участке характеристики (точка В на фиг.2). В этом положении рабочие отверстия 68, 72 полностью освобождены и непосредственно сообщаются с соответствующими рабочими полостями 48, 52. При этом первая рабочая полость 48 находится под поданным высоким давлением, а вторая рабочая полость 52 – под низким давлением слива.
На фиг.5 золотник показан в положении на положительном участке линейного функционирования (точка С на фиг.2). В этом положении упора в конец 28 цилиндра 24 рабочие отверстия 68, 72 также полностью освобождены, но теперь они непосредственно сообщаются, соответственно, с полостью 46 высокого давления и с полостью 50 низкого давления.
Еще один вариант выполнения изобретения показан на фиг.6 (с увеличенным видом узла на фиг.6А). Золотник 22 представлен здесь в положении защиты (положение стопорения с памятью положения). Золотник выполнен в основном идентично примеру выполнения по фиг.1 с шестью поршневыми поясками и семью кольцевыми полостями. Однако крайний поршневой поясок 42 имеет меньшую ширину, так что в этом положении отверстие 74 подачи высокого давления свободно. В результате в рабочей полости 52 создается высокое давление через второй рабочий канал 64, который имеется и в этом исполнении и в данном положении соединяет рабочую полость 52 с полостью 54 высокого давления. Кроме того, в этом варианте выполнения поршневой поясок 40, закрывающий рабочее отверстие 72, имеет увеличенную ширину и содержит на своей периферии две дренажные кольцевые канавки 76а, 76b, которые сообщаются с полостью 50 низкого давления через третий рабочий канал 78, проточенный в скалке 30. Таким образом, как и в предпочтительном примере выполнения по фиг.1, два рабочих отверстия 68, 72 «окружены» низким давлением слива, что позволяет пропускать на слив утечки или обеспечивать перепуск текучей среды от этих рабочих отверстий в сторону низкого давления.
В каждом из этих примеров выполнения регулирование расхода утечек, которые отводятся от рабочих отверстий к низкому давлению слива, может производиться с высокой точностью путем выбора размеров поршневых поясков 36, 40, перекрывающих эти отверстия. Действительно, эти поршневые пояски, ширина которых не может быть слишком значительной, не перекрывают рабочие отверстия с большой точностью, а между поясками и внутренней стенкой распределителя существует некоторое перекрытие (в известных устройствах уровня техники это перекрытие составляет всего несколько сотых миллиметра). Согласно изобретению это перекрытие составляет более существенную величину, порядка нескольких миллиметров, предпочтительно от 1 до 5 мм. Оно вычисляется с высокой точностью, чтобы обеспечить определенное медленное смещение управляемого органа. На практике объемный расход Q утечек текучей среды может быть вычислен по следующей формуле:

где: Q – расход, л/ч;
p – объемная масса текучей среды, кг/л;
– кинематическая вязкость текучей среды, мм2/c;
D – диаметр отверстия, мм;
J – высота зазора утечек (диаметральный зазор золотника), мм;
L – расстояние между кромкой отверстия и кромкой поршневого пояска, мм;
Р – разность давлений на участке зазора утечек, бар (105 Па).
Таким образом, изобретение позволяет задать точные величины диапазона утечек. В качестве примера, для умеренного Р, равного 2 бар, отклонение дозированного расхода величиной 5%, соответствующее смещению золотника диаметром 34,7 мм на 0,14 мм за 4 мин, может быть получено при диаметральном зазоре 3 мкм и ширине перекрытия 2,6 мм для диаметра отверстия 0,8 мм (р = 0,78 кг/л, = 1 мм2/с).
Следует отметить, что для этого расчета можно пренебречь величиной прямых утечек или перепуска текучей среды между полостями 68 и 50, а также 72 и 54, так как из-за очень большого перекрытия в этих местах они не оказывают влияния на полезный ход золотника 22.
На фиг.7 представлен другой пример выполнения изобретения, в котором распределитель 14 содержит скалку 80, снабженную восемью поршневыми поясками 82-96 и семью отверстиями 98-110 сообщения сверх обычных отверстий 112 и 114 управления. Таким образом, в этом примере выполнения распределитель содержит девять кольцевых полостей 116-132, в том числе две полости 116, 132 управления на двух концах распределителя, три полости 118, 124 и 130 низкого давления и две рабочие полости 120, 128. Первое отверстие 104 слива расположено между двумя отверстиями 102, 106 подачи высокого давления, которые, в свою очередь, расположены между рабочими отверстиями 100,108. И, наконец, два других отверстия 98,110 слива расположены каждое снаружи за каждым из рабочих отверстий.
Положение золотника на фиг.7 соответствует выполнению им функции запоминания положения сервоклапана. При этом рабочие отверстия 100,108 закрыты поршневыми поясками 86 и 94, на которые с двух сторон действуют одинаковые давления. Так, на поршневой поясок 94 действует низкое давление слива в первой полости 130 низкого давления и в первой рабочей полости 128 за счет первого рабочего канала 136, проточенного в скалке 80 между этими полостями. На поршневой поясок 86 действует подаваемое высокое давление в первой полости 122 высокого давления и во второй рабочей полости 120 за счет второго рабочего канала 134, проточенного в скалке 80 между этими полостями. Функционирование распределителя в этом примере выполнения аналогично описанному для предыдущих примеров со смещением золотника в одну или другую сторону под действием дисбаланса давлений. Размеры поршневых поясков 86 и 94 могут быть заданы такими, чтобы управлять амплитудой медленного смещения управляемого ведомого органа 16. При этом направление этого медленного смещения (от стороны высокого давления в сторону низкого давления слива) фиксируется уровнем давления на каждом из этих двух поршневых поясков. В отличие от предыдущих примеров выполнения сервоклапан в этом примере выполнения абсолютно поляризован и является генератором расхода утечек или перепуска от U1 к U2 независимо от состояния уплотнения различных зазоров. Таким образом, он вызывает контролируемое медленное смещение управляемого органа.
Формула изобретения
1. Сервоклапан, содержащий электрический двигатель (12) и управляемый этим двигателем распределитель (14), содержащий гидравлический золотник (22), который может линейно перемещаться в цилиндре (24) под действием неуравновешенности давления, создаваемого у двух концов (26; 28) этого цилиндра посредством изменения силы тока управления указанного электрического двигателя, причем указанный гидравлический золотник содержит центральную скалку (30; 80), на которой имеются поршневые пояски (32-42; 82-96), предназначенные для взаимодействия с соединительными отверстиями (66-74; 98-110) указанного распределителя и образующие между собой и с указанными концами указанного гидравлического цилиндра кольцевые полости (44-56; 116-132), при этом указанные соединительные отверстия включают в себя, по меньшей мере, одно отверстие (66, 74; 102,106) подачи высокого давления, по меньшей мере, одно отверстие (70; 98, 104, 110) слива и, по меньшей мере, два рабочих отверстия (68, 72; 100, 108), связанных с ведомым органом (16), подлежащим управлению, а указанные кольцевые полости включают в себя две полости (44, 56; 116, 132) управления, по меньшей мере, две полости (46, 54; 122, 126) высокого давления, по меньшей мере, одну полость (50; 118, 124, 130) низкого давления и, по меньшей мере, две рабочие полости (48, 52; 120, 128), отличающийся тем, что дополнительно содержит проточенные в указанной центральной скалке (30; 80) два рабочих канала (62, 64; 134, 136) для установления сообщения каждой из указанных рабочих полостей с расположенной непосредственно рядом с ней кольцевой полостью с обеспечением одинакового давления с двух сторон от поршневых поясков (36, 40; 86, 94), разделяющих эти две полости, при этом в предварительно заданном положении защиты (называемом положением аварийного стопорения), в котором указанные поршневые пояски перекрывают указанные рабочие отверстия с зазором, утечки от указанных рабочих отверстий, обусловленные наличием данных зазоров, пропускаются на слив под определенным давлением.
2. Сервоклапан по п.1, отличающийся тем, что указанное определенное давление является низким давлением слива.
3. Сервоклапан по п.1, отличающийся тем, что указанные поршневые пояски (36, 40; 86, 94), перекрывающие рабочие отверстия в указанном положении защиты, установлены с существенным перекрытием по отношению к этим рабочим отверстиям (68,72; 100.108).
4. Сервоклапан по п.3, отличающийся тем, что указанное перекрытие составляет от 1 до 5 мм.
5. Сервоклапан по п.1, отличающийся тем, что на центральной скалке (30) имеются шесть поршневых поясков (32-42), образующих семь кольцевых полостей (44-56), из которых две полости (44, 56) управления расположены на двух концах распределителя (14), причем сервоклапан содержит пять соединительных отверстий (66-74) в дополнение к отверстиям (58, 60) управления, которые сообщаются с указанными полостями управления.
6. Сервоклапан по п.5, отличающийся тем, что поршневой поясок (40), перекрывающий одно из рабочих отверстий (72), содержит на своей периферии две кольцевые дренажные канавки (76а, 76b), которые сообщаются с полостью (50) низкого давления через третий рабочий канал (78), проточенный в скалке (30).
7. Сервоклапан по п.1, отличающийся тем, что на центральной скалке (80) имеются восемь поршневых поясков (82-96), образующих девять кольцевых полостей (116-132), из которых две полости (116, 132) управления расположены на двух концах распределителя (14), причем сервоклапан содержит семь соединительных отверстий (98-110) в дополнение к отверстиям (112, 114) управления, которые сообщаются с указанными полостями управления.
РИСУНКИ
RH4A – Выдача дубликата патента Российской Федерации на изобретение
Дата выдачи дубликата: 10.01.2008
Наименование лица, которому выдан дубликат:
СНЕКМА МОТОРС (FR)
Извещение опубликовано: 27.03.2008 БИ: 09/2008
PC4A – Регистрация договора об уступке патента Российской Федерации на изобретение
(73) Патентообладатель(и):
СНЕКМА МОТЕР (FR)
(73) Патентообладатель:
ИСПАНО СЮИЗА (FR)
Дата и номер государственной регистрации перехода исключительного права: 19.03.2008 № РД0033948
Извещение опубликовано: 27.04.2008 БИ: 12/2008
|
|