|
(21), (22) Заявка: 2003132254/06, 05.11.2003
(24) Дата начала отсчета срока действия патента:
05.11.2003
(43) Дата публикации заявки: 20.05.2005
(45) Опубликовано: 10.04.2006
(56) Список документов, цитированных в отчете о поиске:
RU 2175398 C1, 27.10.2001. RU 2145671 C1, 20.02.2000. DE 3427169 A1, 30.01.1986. US 4480437 A, 06.11.1984. FR 2538035 A1, 22.06.1984. EP 0622539 A1, 02.11.1994.
Адрес для переписки:
141400, Московская обл., г. Химки, ул. Бурденко, 1, ОАО “НПО Энергомаш им. акад. В.П. Глушко”, начальнику отдела В.С. Судакову
|
(72) Автор(ы):
Семенов Василий Васильевич (RU), Сергиенко Александр Александрович (RU), Судаков Владимир Сергеевич (RU), Асташенков Николай Никитович (RU)
(73) Патентообладатель(и):
ОАО “НПО Энергомаш имени академика В.П. Глушко” (RU)
|
(54) СОПЛОВОЙ БЛОК РАКЕТНОГО ДВИГАТЕЛЯ
(57) Реферат:
Изобретение относится к области ракетостроения и предназначено для повышения среднего по траектории удельного импульса двигателя. В сопловом блоке ракетного двигателя, состоящем из четырех или более земных сопел, расположенных по окружности, и высотного насадка, охватывающего земные сопла, центр соплового блока между срезами земных сопел герметично перекрыт дном или коническим обтекателем, выполненным в виде вогнутой пирамиды, а в месте внешнего стыка насадка со срезом земных сопел образованы щели, которые перекрываются заслонками. Изобретение обеспечивает прирост тяги в широком диапазоне изменения высоты полета летательного аппарата. 2 з.п. ф-лы, 5 ил. 
Область применения
Предлагаемое изобретение относится к области ракетостроения и предназначено для повышения среднего по траектории удельного импульса двигателя.
Предшествующий уровень техники
Известен сопловой блок ракетного двигателя, состоящий из двух или нескольких круглых сопел Лаваля, расположенных в ряд и дополнительно снабженных общим плоским насадком, каждая тяговая стенка которого установлена с возможностью поворота и фиксации на шарнире, расположенном на расстоянии 0-0.5 L от его среза, где L – длина насадка. За счет разворота тяговых стенок насадка появляется возможность регулирования высотности соплового блока, благодаря чему снижаются потери тяги при работе соплового блока на режимах перерасширения (см. патент РФ №2145671 “Сопловой блок ракетного двигателя”, 2000 г., МКИ F 02 К 1/52).
На старте ракеты тяговые стенки насадка разведены в разные стороны.
Скачки уплотнения находятся на срезе круглых сопел, препятствуя перерасширению газа в сопловом блоке. В этом случае тяговые стенки насадка отключаются, то есть они не создают тяги. Таким образом, сопловой блок в плотных слоях атмосферы работает на расчетном режиме. В вакууме щели закрываются путем сведения тяговых стенок к срезам круглых сопел. При закрытии тяговых стенок насадка сопловой блок становится высотным и он вновь работает близко к расчетному режиму, так как система скачков уплотнения со срезов круглых сопел переходит к выходному сечению насадка. Это техническое решение принимаем за аналог изобретения.
Известен также сопловой блок ракетного двигателя, состоящий из двух круглых сопел Лаваля, расположенных в один ряд и дополнительно снабженных общим плоским насадком, каждая тяговая стенка которого является продолжением контуров сверхзвуковых частей круглых сопел, две боковые стенки насадка расположены перпендикулярно к тяговым стенкам насадка (см. журнал “Астронавтика и ракетодинамика”, №47, 1987 г., “Эффективность применения ДУ на трехкомпонентном топливе для транспоргных космических аппаратов класса Земля-Орбита”).
По мере подъема на высоту одно из сопел (один двигатель) отключается и тем самым изменяется (увеличивается) геометрическая степень расширения соплового блока в целом, что способствует повышению удельного импульса двигательной установки по траектории полета летательного аппарата. Это техническое решение также принимаем за аналог изобретения.
Однако описанные выше способы регулирования высотности соплового блока обладают рядом недостатков:
– низкая надежность и утяжеление конструкции двигательной установки из-за наличия механизма для перемещения тяговых стенок насадка;
– низкий средний по траектории полета удельный импульс из-за того, что двигатель используется лишь на части активного участка полета;
– при отключении одного из двигателей изменяется вектор тяги двигательной установки в целом, и возникают потери тяги из-за образования застойных зон в сопловом блоке.
Известна жидкостная ракетная двигательная установка третьей ступени ракеты-носителя, состоящая из одного маршевого четырехкамерного двигателя, камеры которого содержат камеры с земным соплом и общий высотный насадок (см. патент РФ №2175398, МКИ F 02 K 1/00, 2001 г.). Данное техническое решение принимаем за прототип заявляемого изобретения.
Однако это техническое решение не предназначено для использования на первых ступенях ракеты.
Задачей предлагаемого изобретения является обеспечение работоспособности соплового блока как в земных, так и в высотных условиях, а также повышение среднего по траектории удельного импульса многокамерной двигательной установки летательного аппарата.
Эта задача решена за счет того, что в сопловом блоке ракетного двигателя, состоящем из четырех или более земных сопел, расположенных по окружности, и высотного насадка, охватывающего земные сопла, центр соплового блока между срезами земных сопел герметично перекрыт дном, а в месте внешнего стыка насадка со срезом земных сопел образованы щели, которые перекрываются заслонками.
Другими отличиями является то, что:
– центр соплового блока между срезами земных сопел герметично закрыт коническим обтекателем, выполненным в виде вогнутой пирамиды;
– высотный насадок выполнен в виде усеченного конуса.
Техническим результатом от использования изобретения является повышение среднего по траектории удельного импульса двигательной установки.
Краткое описание чертежей
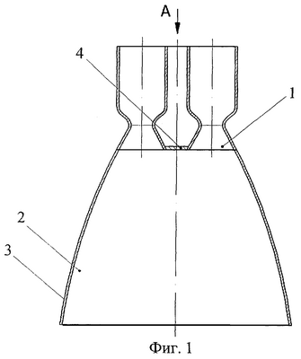
На фиг.1 и 3 изображено продольное сечение четырехкамерного ракетного двигателя с общим сопловым насадком.
На фиг.2 и 4 изображены виды сверху по стрелке А.
На фиг.5 приведен график зависимости прироста тяги от режима работы соплового блока.
Пример реализации изобретения
Сопловой блок ракетного двигателя (фиг.1) содержит четыре или более одинаковых круглых сопел 1, расположенных по окружности и снабженных общим высотным насадком 2. Образующая 3 стенки насадка 2, выполненного в виде усеченного конуса, является продолжением контуров сверхзвуковых частей земных сопел и жестко прикреплена своей усеченной частью к срезам земных сопел.
Все земные сопла камер сгорания имеют одинаковые критические и выходные сечения и рассчитаны на давление на срезе Ра=0.05-0.1 МПа. Земные сопла 1 вместе с насадком 2 образуют высотный сопловой блок с давлением на срезе Ра=0.01-0.005 МПа.
Центр соплового блока между срезами земных сопел (фиг.2) герметично закрыт дном 4. Вместо дна в указанный центр может быть вставлен конический обтекатель 5 (фиг.3 и 4), выполненный, например, в виде вогнутой пирамиды. Применение конического обтекателя 5 позволяет снизить газодинамические потери.
В месте внешнего стыка насадка 2 со срезами земных сопел 1 образованы щели 6, в которые вставлены заслонки 7 (фиг.2 и 4), в результате чего при работе соплового блока в вакууме снизятся потери тяги из-за вытекания через них продуктов сгорания компонентов топлива.
Входная часть усеченного конического насадка может быть выполнена в виде огибающей земных сопел. Вследствие этого размер щелей 6 существенно уменьшится, и при работе соплового блока в вакууме снизятся потери тяги из-за заметного уменьшения вытекания через узкие щели продуктов сгорания топлива.
Работа устройства
На старте и первых километрах участка траектории полета летательного аппарата из-за передачи атмосферного воздуха через щели 6 (фиг.2) при открытых заслонках 7 система скачков уплотнения газового потока находится на срезах земных сопел 1, препятствуя перерасширению газа в круглом насадке 2. В результате этого при полете ракеты в плотных слоях атмосферы круглый насадок 2 как бы отсутствует, и сопловой блок в этом случае работает на расчетном режиме. По мере подъема ракеты на высоту давление окружающей среды, как известно, снижается и давление истекающей струи газа на срезах земных сопел 1 (в щелях 6, образованных между срезами земных сопел и стенкой насадка) становится больше атмосферного, в результате чего возникают потери тяги из-за недорасширенил газа в сопле. В этот момент щели 6 перекрываются с помощью заслонок 7. При этом система скачков уплотнения газового потока со срезов земных сопел 1 перемещается на выходное сечение круглого насадка 2. Таким образом, сопловой блок становится высотным, и он вновь работает близко к расчетному режиму, в результате чего снижаются потери тяги из-за перерасширения газа на его стенке.
На фиг.5 представлен график зависимости прироста тяги соплового блока с круглым насадком от режима его работы. По оси ординат отложен прирост тяги Р соплового блока, отнесенный к тяге идеально регулируемого круглого сопла, а по оси абсцисс Р /Рн – отношение давлений окружающей среды и истекающей струи газа. Из графика видно, что при использовании предлагаемого соплового блока двигателя обеспечивается прирост тяги в широком диапазоне изменения высоты полета летательного аппарата.
Предлагаемое изобретение обеспечивает удобство компоновки двигательной установки, состоящей из четырех или более двигателей, на летательном аппарате, возможность увеличения полезного груза или дальности полета летательного аппарата за счет прироста тяги двигательной установки, все это несомненно дает экономический эффект.
Промышленная применимость
Изобретение может найти применение в ракетной технике, в частности на первых ступенях ракет-носителей, имеющих многокамерные ЖРД.
Формула изобретения
1. Сопловой блок ракетного двигателя, состоящий из четырех или более земных сопел, расположенных по окружности, и высотного насадка, охватывающего земные сопла, причем центр соплового блока между срезами земных сопел герметично перекрыт дном, отличающийся тем, что в месте внешнего стыка насадка со срезом земных сопел образованы щели, которые перекрываются заслонками.
2. Сопловой блок по п.1, отличающийся тем, что центр соплового блока между срезами земных сопел закрыт коническим обтекателем, выполненным в виде вогнутой пирамиды.
3. Сопловой блок по п.1, отличающийся тем, что высотный насадок выполнен в виде усеченного конуса.
РИСУНКИ
|