|
|
(21), (22) Заявка: 2003132144/06, 05.11.2003
(24) Дата начала отсчета срока действия патента:
05.11.2003
(43) Дата публикации заявки: 10.05.2005
(45) Опубликовано: 10.04.2006
(56) Список документов, цитированных в отчете о поиске:
RU 2159862 C1, 27.11.2000. RU 2140005 C1, 20.10.1999. DE 3427169 A, 30.01.1986. EP 0622539 A1, 02.11.1994. DE 2116699 А, 19.10.1972. US 3115747 А, 31.12.1963.
Адрес для переписки:
141400, Московская обл., г. Химки, ул. Бурденко, 1, ОАО “НПО Энергомаш им. акад. В.П. Глушко”, начальнику отдела В.С. Судакову
|
(72) Автор(ы):
Семенов Василий Васильевич (RU), Сергиенко Александр Александрович (RU), Судаков Владимир Сергеевич (RU), Асташенков Николай Никитович (RU)
(73) Патентообладатель(и):
ОАО “НПО Энергомаш имени академика В.П. Глушко” (RU)
|
(54) ДВИГАТЕЛЬНАЯ УСТАНОВКА ЛЕТАТЕЛЬНОГО АППАРАТА
(57) Реферат:
Изобретение относится к области ракетостроения и предназначено для повышения среднего по траектории удельного импульса двигателя. В двигательной установке летательного аппарата, содержащей два или несколько камер сгорания, расположенных в один или два ряда и снабженных круглыми соплами Лаваля, объединенными общим плоским насадком, каждая тяговая стенка насадка является продолжением контуров сверхзвуковых частей круглых сопел, две боковые его стенки расположены перпендикулярно к тяговым стенкам насадка, каждый ряд камер сгорания с круглыми соплами Лаваля соединен с помощью шарнира с возможностью их поворота относительно насадка, жестко прикрепленного к корпусу двигательной установки. Изобретение обеспечивает удобство компоновки двигательной установки, состоящей из двух или более двигателей на летательном аппарате, возможность увеличения полезного груза или дальности полета летательного аппарата за счет прироста тяги двигательной установки. 2 з.п. ф-лы, 2 ил. 
Область применения
Предлагаемое изобретение относится к области ракетостроения и предназначено для повышения среднего по траектории удельного импульса двигателя.
Предшествующий уровень техники
Известна двигательная установка летательного аппарата, содержащая две или несколько камер сгорания, расположенных в один или два ряда и снабженных круглыми соплами Л аваля, объединенными общим плоским насадком. Каждая тяговая стенка насадка является продолжением контуров сверхзвуковых частей круглых сопел, две боковые его стенки расположены перпендикулярно к тяговым стенкам насадка. Каждый ряд камер сгорания с круглыми соплами Лаваля, соединенный жестко с соответствующей тяговой стенкой плоского насадка, соединен с корпусом установки с помощью шарнира с возможностью их поворота относительно корпуса установки. Шарнир расположен в центре приложения равнодействующей внутренних и внешних сил, действующих на стенку соплового блока. Две боковые стенки жестко прикреплены к корпусу двигательной установки (см. патент РФ №2159862 “Двигательная установка летательного аппарата” МКИ F 02 K 9/80, 1/06, 2000 г.).
Поворот каждого ряда камер сгорания вместе с тяговой стенкой насадка осуществляется за счет разности сил давлений, действующих по обе стороны тяговой стенки насадка.
По мере подъема летательного аппарата на высоту давление окружающей среды снижается, а давление истекающей из сопел струи газа, действующего на тяговую стенку плоского насадка с внутренней ее стороны, остается постоянным. В результате возникает разность сил давлений, действующих на тяговую стенку насадка, под воздействием которой каждый ряд камер сгорания вместе с тяговой стенкой насадка плавно поворачиваются на шарнире во внешнюю сторону, увеличивая постепенно выходное сечение насадка. При этом тяговые стенки насадка поворачиваются до тех пор, пока не уравняется давление окружающей среды с давлением газа на срезе плоского насадка.
Однако описанный выше способ регулирования высотности соплового блока обладает рядом недостатков:
– низкая надежность и утяжеление конструкции установки из-за наличия механизма для перемещения ряда камер сгорания с тяговой стенкой насадка;
– сложность определения фактического центра приложения равнодействующей внутренних и внешних сил, действующих на тяговую стенку соплового блока.
Задачей настоящего изобретения является повышение среднего по траектории удельного импульса двигательной установки летательного аппарата.
Эта задача решена за счет того, что в двигательной установке летательного аппарата, содержащей две или несколько камер сгорания, расположенных в один или два ряда и снабженных круглыми соплами Лаваля, объединенными общим плоским насадком, каждая тяговая стенка насадка является продолжением контуров сверхзвуковых частей круглых сопл, две боковые его стенки расположены перпендикулярно к тяговым стенкам насадка, каждый ряд камер сгорания с круглыми соплами Лаваля соединен с помощью шарнира с возможностью их поворота относительно насадка, жестко прикрепленного к корпусу двигательной установки.
Другими отличиями является то, что:
– входная часть тяговых стенок плоского насадка выполнена в виде огибающей срезов круглых сопел Лаваля;
– каждый ряд камер сгорания вместе с круглыми соплами Лаваля снабжены механизмом для их поворота.
Технический результат, достигаемый заявляемым изобретением, состоит в повышении среднего по траектории удельного импульса двигательной установки.
Краткое описание чертежей
Суть изобретения поясняется фиг.1, 2.
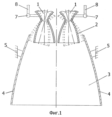
На фиг.1 изображено продольное сечение двигательной установки ракетного двигателя.
На фиг.2 показан вид сверху двигательной установки.
Пример реализации изобретения
Двигательная установка (фиг.1) содержит несколько одинаковых камер сгорания 1, каждая их которых снабжена круглым соплом Лаваля 2, расположенных в один или два ряда и объединенных общим плоским насадком 3. Каждая из двух тяговых стенок 4 насадка жестко закреплена к корпусу 5 двигательной установки и является продолжением контуров сверхзвуковых частей круглых сопел 2, а две боковые его стенки 6 расположены перпендикулярно к тяговым стенкам 4 насадка. Каждый ряд камер сгорания 1 с круглыми соплами Лаваля 2 соединен с помощью шарнира 7 с возможностью их поворота с помощью механизма 8 относительно насадка 3.
Все круглые сопла камер сгорания имеют одинаковые критические и выходные сечения и рассчитаны на давление на срезе Ра=0.05-0.1 МПа. Круглые сопла вместе с насадком образуют высотный сопловой блок с давлением на срезе Ра=0.01-0.005 МПа.
Входная часть тяговых стенок плоского насадка выполнена в виде огибающей срезов круглых сопел Лаваля (фиг.2).
Работа устройства
Двигательная установка работает следующим образом. На старте и первых километрах участка траектории полета летательного аппарата из-за передачи атмосферного воздуха через щели, образованные между срезами круглых сопел 2 и входной частью плоского насадка 3, система скачков уплотнения газового потока находится на срезах круглых сопел, препятствуя перерасширению газа в плоском насадке. В результате этого при полете ракеты в плотных слоях атмосферы плоский насадок как бы отсутствует, и круглые сопла Лаваля в этом случае работают на расчетном режиме. По мере подъема ракеты на высоту давление окружающей среды, как известно, снижается и давление истекающей струи газа на срезах круглых сопел (в зазоре, образованном между срезами круглых сопел и стенкой насадка) становится больше атмосферного, в результате чего возникают потери тяги из-за недорасширения газа в круглых соплах. В этот момент каждый ряд камер сгорания 1 с круглыми соплами 2 с помощью механизма 8 поворачивается на шарнире 7 относительно корпуса 5 двигательной установки и пристыковывается к входной части плоского насадка 3 (фиг.1, пунктирная линия). При этом система скачков уплотнения газового потока со срезов круглых сопел перемещается на выходное сечение; плоского насадка. Таким образом, сопловой блок, состоящий из круглых сопел и плоского насадка, становится высотным, и он вновь работает близко к расчетному режиму, в результате чего снижаются потери тяги из-за перерасширения газа на его стенке.
При использовании предлагаемого соплового блока с плоским насадком двигательной установки обеспечивается принудительный отрыв потока газа от стенки насадка.
Предлагаемое изобретение обеспечивает удобство компоновки двигательной установки, состоящей из двух или более двигателей, на летательном аппарате, возможность увеличения полезного груза или дальности полета летательного аппарата за счет прироста тяги двигательной установки, все это несомненно дает экономический эффект.
Промышленная применимость
Изобретение может найти применение в двигательных установках, имеющих несколько одинаковых ракетных двигателей.
Формула изобретения
1. Двигательная установка летательного аппарата, содержащая два или несколько камер сгорания, расположенных в один или два ряда и снабженных круглыми соплами Лаваля, объединенными общим плоским насадком, каждая тяговая стенка насадка является продолжением контуров сверхзвуковых частей круглых сопел, две боковые его стенки расположены перпендикулярно тяговым стенкам насадка, отличающаяся тем, что каждый ряд камер сгорания с круглыми соплами Лаваля соединен с помощью шарнира с возможностью их поворота относительно насадка, жестко прикрепленного к корпусу двигательной установки.
2. Двигательная установка летательного аппарата по п.1, отличающаяся тем, что входная часть тяговых стенок плоского насадка выполнена в виде огибающей срезов круглых сопел Лаваля.
3. Двигательная установка летательного аппарата по п.1, отличающаяся тем, что каждый ряд камер сгорания вместе с круглыми соплами Лаваля снабжен механизмом для их поворота.
РИСУНКИ
|
|