|
|
(21), (22) Заявка: 2004123067/06, 27.07.2004
(24) Дата начала отсчета срока действия патента:
27.07.2004
(45) Опубликовано: 10.04.2006
(56) Список документов, цитированных в отчете о поиске:
ЕР 0451783 А2, 16.10.1991. RU 2169910 C2, 20.01.2003. SU 843780 A, 30.06.1981. JP 1224421 A, 07.09.1989. GB 2087975 A, 03.07.1982. DE 4408880 A1, 21.09.1995.
Адрес для переписки:
423810, Республика Татарстан, г. Набережные Челны, пр. Мира, 68/19, КамПИ
|
(72) Автор(ы):
Кадышев Вячеслав Григорьевич (RU), Куликов Андрей Сергеевич (RU)
(73) Патентообладатель(и):
Камский государственный политехнический институт (RU)
|
(54) ГАЗОВОЗДУШНЫЙ ТРАКТ ДВИГАТЕЛЯ ВНУТРЕННЕГО СГОРАНИЯ
(57) Реферат:
Изобретение относится к двигателестроению, в частности к конструированию и производству систем воздухо- и топливопитания, нейтрализации и выпуска отработавших газов транспортных двигателей, преимущественно автомобильных. Изобретение направлено на снижение концентрации токсичных веществ в продуктах сгорания и улучшение топливной экономичности двигателей с искровым зажиганием. Изобретение позволяет снизить токсичность и улучшить топливную экономичность многоцилиндрового поршневого двигателя внутреннего сгорания с принудительным распределенным впрыскиванием топлива во впускной трубопровод каждого цилиндра. Газовоздушный тракт двигателя содержит впускную систему, включающую воздушный фильтр, дросселирующий патрубок с поворотной заслонкой регулирования общего количества воздуха, измеритель расхода воздуха, индивидуальные впускные трубопроводы, объединенные общим ресивером, дополнительные дроссельные заслонки, установленные во впускных трубопроводах, впускные каналы в головке цилиндров и выпускные клапаны, выпускную систему, включающую выпускные клапаны, индивидуальные трубопроводы, ресивер, нейтрализатор и глушитель шума. Дополнительные заслонки выполнены неполноповоротными с индивидуальными приводами, управляемыми контроллером, регулирующими состав топливовоздушной смеси в каждом цилиндре отдельно. 1 з.п. ф-лы, 1 ил. 
Газовоздушный тракт двигателя внутреннего сгорания
Изобретение относится к машиностроению, конкретно – к двигателестроению, к конструированию и производству систем воздухо- и топливопитания, нейтрализации и выпуска отработавших газов транспортных двигателей, преимущественно автомобильных.
Аналогом изобретения является, например, газовоздушный тракт (патент ЕР №0451783, опубл. 16.10.1991).
Недостатком данного тракта является различие состава топливовоздушной смеси в разных цилиндрах вследствие неравномерности подачи топлива форсунками и различия условий на выпуске, и невозможность его контроля и коррекции в каждом цилиндре отдельно, что приводит к повышению токсичности и ухудшению топливной экономичности двигателя.
Изобретение направлено на снижение концентрации токсичных веществ в продуктах сгорания и улучшение топливной экономичности двигателей с искровым зажиганием.
Изобретение позволяет снизить токсичность и улучшить топливную экономичность многоцилиндрового поршневого двигателя внутреннего сгорания с принудительным воспламенением и распределенным впрыскиванием топлива во впускной трубопровод каждого цилиндра.
Задача изобретения достигается за счет того, что в известном газовоздушном тракте двигателя, содержащем впускную систему, включающую воздушный фильтр, дросселирующий патрубок с поворотной заслонкой регулирования общего количества воздуха, измеритель расхода воздуха, индивидуальные впускные трубопроводы, объединенные общим ресивером, дополнительные дроссельные заслонки, установленные во впускных трубопроводах, впускные каналы в головке цилиндров и выпускные клапаны, выпускную систему, включающую выпускные клапаны, индивидуальные трубопроводы, ресивер, нейтрализатор и глушитель шума, согласно заявленному изобретению дополнительные заслонки выполнены неполноповоротными с индивидуальными приводами, управляемыми контроллером, регулирующими состав топливовоздушной смеси в каждом цилиндре отдельно.
Датчики свободного кислорода, контролирующие состав топливовоздушной смеси, могут быть установлены на индивидуальном выпускном трубопроводе каждого цилиндра.
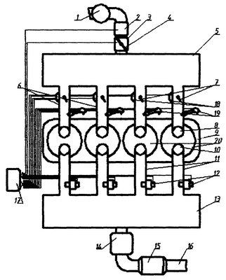
Газовоздушный тракт содержит впускную и выпускную системы (см. чертеж). Впускная система содержит воздушный фильтр 1, измеритель расхода воздуха 2, дроссельный патрубок 3 с поворотной заслонкой 4 регулирования общего количества воздуха, поступающего в двигатель; воздушный ресивер 5, соединенный индивидуальными впускными трубопроводами 6 для каждого цилиндра 20, имеющими дополнительные дроссельные заслонки 7, установленные перед форсунками впрыскивания топлива 19; впускные каналы с клапанами 8 в головке цилиндров 9. Выпускная система содержит выпускные клапаны 10, с каналами в головке блока цилиндров 20; индивидуальные для каждого цилиндра 20 выпускные трубопроводы 11 с датчиками свободного кислорода 12 ( -зондами); ресивер 13, нейтрализатор токсичности отработавших газов 14, глушитель шума выпуска 15 и отводящую трубу 16. Система управления газовоздушным трактом включает электронный блок управления (контроллер) 17, выходной каскад которого с помощью индивидуальных сервоприводов 18 обеспечивает поворот каждой из заслонок 7 на необходимую величину.
При работе двигателя основное (грубое) регулирование количества поступающего в цилиндры 20 воздуха производится заслонкой 4. Заслонки 7 дополнительно (тонко) регулируют подачу воздуха, каждая для “своего” цилиндра, обеспечивая одинаковый состав топливовоздушной смеси для разных цилиндров двигателя при различиях в подаче топлива электромагнитными форсунками 19. Индивидуальные выпускные трубопроводы 11 для обеспечения нормального теплового режима датчиков свободного кислорода 12 до входа в ресивер имеют длину от 350 до 500 мм.
Описанный газовоздушный тракт может функционировать в двигателе с турбонаддувом. Отличием будет являться то, что после воздушного фильтра 1 воздух сжимается в компрессоре, а отработавшие газы из ресивера 13 отводятся сначала в турбину турбокомпрессора, а затем через нейтрализатор 14, глушитель шума 15 и отводящую трубу выбрасываются в атмосферу.
Формула изобретения
1. Газовоздушный тракт двигателя, содержащий впускную систему, включающую воздушный фильтр, дросселирующий патрубок с поворотной заслонкой регулирования общего количества воздуха, измеритель расхода воздуха, индивидуальные впускные трубопроводы, объединенные общим ресивером, дополнительные дроссельные заслонки, установленные во впускных трубопроводах, впускные каналы в головке цилиндров и впускные клапаны, выпускную систему, включающую выпускные клапаны, индивидуальные трубопроводы, ресивер, нейтрализатор и глушитель шума, отличающийся тем, что дополнительные заслонки выполнены неполноповоротными с индивидуальными приводами, управляемыми контроллером, регулирующими состав топливовоздушной смеси в каждом цилиндре отдельно.
2. Газовоздушный тракт по п.1, отличающийся тем, что датчики свободного кислорода, контролирующие состав топливовоздушной смеси, установлены на индивидуальном выпускном трубопроводе каждого цилиндра.
РИСУНКИ
|
|