|
|
(21), (22) Заявка: 2004130550/06, 18.10.2004
(24) Дата начала отсчета срока действия патента:
18.10.2004
(45) Опубликовано: 10.04.2006
(56) Список документов, цитированных в отчете о поиске:
АРСЕНЬЕВ Л.В. и др., Газотурбинные установки, Ленинград, Машиностроение, 1978, с.139-140. WO 90/11440 A1, 04.10.1990. US 5235801 A, 17.08.1993. SU 1450474 A1, 22.07.1985. SU 1059236 A, 07.12.1983. GB 1451260 A, 29.09.1976.
Адрес для переписки:
192029, Санкт-Петербург, пр. Обуховской Обороны, 51, ОАО “Невский завод”, начальнику патентного бюро Г.М. Огневой
|
(72) Автор(ы):
Архипов Леонид Иванович (RU), Богорадовский Геннадий Иосифович (RU), Поярков Виктор Викторович (RU), Рыбин Павел Александрович (RU)
(73) Патентообладатель(и):
Открытое акционерное общество “Невский завод” (RU)
|
(54) СПОСОБ ПУСКА ГАЗОТУРБИННОГО ДВИГАТЕЛЯ
(57) Реферат:
Способ пуска газотурбинного двигателя, входящего в группу установленных на станции газотурбинных двигателей, каждый из которых содержит цикловой компрессор с магистралью нагнетания с установленным в ней регенератором, осуществляют с помощью пускового турбодетандера, к которому подведены магистраль пускового газа и воздушная магистраль с запорными органами. Сначала запускают первый из группы газотурбинный двигатель, подавая на его пусковой турбодетандер пусковой газ. Затем запускают следующий газотурбинный двигатель, подавая по воздушной магистрали на его пусковой турбодетандер воздух из магистрали нагнетания циклового компрессора работающего газотурбинного двигателя. Воздух отбирают из магистрали нагнетания до регенератора, или после него, или одновременно до и после регенератора. Изобретение улучшает экологические характеристики газотурбинных двигателей, установленных на станции. 1 ил. 
Изобретение относится к области турбокомпрессоростроения, в частности к способам пуска газотурбинных двигателей.
Известны газотурбинные установки, для запуска которых применяются турбостартеры в виде небольшой турбины, приводимой в движение расширяющимися газами, получающимися при медленном горении порохового заряда, или работающей на жидком топливе (см., например, “Газотурбинные установки”, под ред. А.Г.Курзона, Гос. союзн. изд. судостроительной промышленности, Ленинград, 1959, стр.705-706).
Известны также газотурбинные установки, где раскрутка роторов турбомашины при пуске газотурбинной установки осуществляется от посторонних источников энергии с помощью специальных агрегатов – электростартеров или турбостартеров (турбодетандеров), в частности воздушных турбостартеров, работающих на холодном или слабо подогретом воздухе (см., например, “Газотурбинные установки”, под ред. Л.В. Арсеньева и др., Машиностроение, Ленинград, 1978, стр.139 – 140 – прототип).
Предлагаемое изобретение решает задачу улучшения экологических характеристик газотурбинных двигателей на станции путем использования в качестве рабочего тела в пусковом турбодетандере сжатого воздуха, отбираемого из магистрали нагнетания циклового компрессора одного из работающих газотурбинных двигателей.
Для достижения указанного технического результата в предлагаемом способе пуска газотурбинного двигателя, входящего в группу установленных на станции газотурбинных двигателей, каждый из которых содержит цикловой компрессор с магистралью нагнетания с установленным в ней регенератором, с помощью пускового турбодетандера, к которому подведены магистраль пускового газа и воздушная магистраль с запорными органами, сначала запускают первый из группы газотурбинный двигатель, подавая на его пусковой турбодетандер пусковой газ, затем запускают следующий газотурбинный двигатель, подавая по воздушной магистрали на его пусковой турбодетандер воздух из магистрали нагнетания циклового компрессора работающего газотурбинного двигателя, для чего воздух отбирают из магистрали нагнетания до регенератора, или после него, или одновременно до и после регенератора.
Отличительными признаками указанного способа являются первоначальный запуск первого из группы газотурбинного двигателя путем подачи на его пусковой турбодетандер пускового газа, и дальнейший запуск следующего газотурбинного двигателя путем подачи по воздушной магистрали на его пусковой турбодетандер воздуха из магистрали нагнетания циклового компрессора работающего газотурбинного двигателя, для чего воздух отбирают из магистрали нагнетания до регенератора, или после него, или одновременно до и после регенератора.
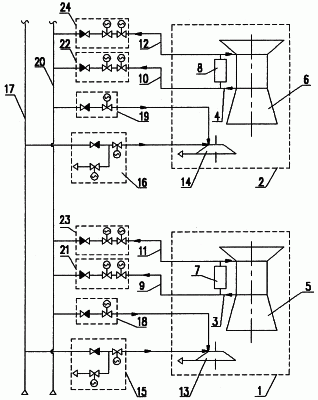
Предлагаемый способ запуска газотурбинного двигателя можно проиллюстрировать с помощью представленного чертежа.
На чертеже представлена схема системы подачи рабочего тела (пускового газа или сжатого воздуха) на пусковой турбодетандер газотурбинного двигателя для осуществления предлагаемого способа пуска газотурбинного двигателя.
На газотурбинной станции, например, установлены газотурбинные двигатели 1 и 2 (как правило, устанавливается 3 и более двигателей – агрегатов), у которых в магистралях нагнетания 3, 4 цикловых компрессоров 5, 6, соответственно, размещены регенераторы 7, 8. Из магистралей нагнетания 3, 4 до регенераторов 7, 8 выполнены отборы пневмолиниями 9, 10, а после регенераторов 7, 8 соответственно, из магистралей 3, 4 выполнены отборы пневмолиниями 11, 12. В газотурбинных двигателях 1, 2 установлены турбодетандеры 13,14, к входам которых подведена через запорные узлы 15, 16 магистраль пускового газа 17. К входам турбодетандеров 13, 14 подведена также через запорные узлы 18,19, соответственно, воздушная магистраль 20. В пневмолиниях 9, 10, 11, 12 установлены запорные узлы 21, 22, 23, 24, соответственно.
Система подачи рабочего тела (пускового газа или воздуха) на пусковой турбодетандер газотурбинного двигателя для осуществления предлагаемого способа пуска газотурбинного двигателя работает следующим образом.
При запуске первого на газотурбинной станции газотурбинного двигателя, например газотурбинного двигателя 1, на вход его турбодетандера 13 из магистрали пускового газа 17 посредством запорного узла 15 подают пусковой газ и раскручивают с помощью турбодетандера 13 ротор циклового компрессора 5 до режима самоходности газотурбинного двигателя 1. После выхода газотурбинного двигателя 1 на рабочий режим и при необходимости запуска газотурбинного двигателя 2 открывают запорный узел 23 и горячий сжатый воздух из магистрали нагнетания 3 после регенератора 7 по пневмолинии 11 поступает в воздушную магистраль 20, а после открытия запорного узла 19 горячий сжатый воздух поступит на вход турбодетандера 14, раскручивая при запуске ротор циклового компрессора 6 газотурбинного двигателя 2. При необходимости ограничения температуры подаваемого в пусковой турбодетандер 14 сжатого воздуха (например, исходя из соображений прочности лопаточного аппарата) его отбирают из магистрали 3 до регенератора 7, соответственно, и подают в воздушную магистраль 20 по пневмолинии 9 посредством запорного узла 21. Возможна также подача в турбодетандер 14 смеси горячего сжатого воздуха, отбираемого при этом из магистрали 3 до регенератора 7 и после него в различных пропорциях. Для этого в запорных узлах 21, 23, 22 и 24 предусматривают регулирующую арматуру.
Таким же образом, возможно сначала производить запуск газотурбинного двигателя 2, с помощью запорного узла 16 подавая на вход турбодетандера 14 пусковой газ из магистрали пускового газа 17, отбирая из магистрали нагнетания 4 циклового компрессора 6 горячий сжатый воздух после регенератора 8 и подавая его по пневмолинии 12 и через запорный узел 24 (открыв его) в воздушную магистраль 20. Из магистрали 20, открыв запорный узел 18, сжатый воздух подают на вход турбодетандера 13, раскручивая с его помощью ротор циклового компрессора 5 газотурбинного двигателя 1.
Формула изобретения
Способ пуска газотурбинного двигателя, входящего в группу установленных на станции газотурбинных двигателей, каждый из которых содержит цикловой компрессор с магистралью нагнетания с установленным в ней регенератором, с помощью пускового турбодетандера, к которому подведены магистраль пускового газа и воздушная магистраль с запорными органами, отличающийся тем, что сначала запускают первый из группы газотурбинный двигатель, подавая на его пусковой турбодетандер пусковой газ, затем запускают следующий газотурбинный двигатель, подавая по воздушной магистрали на его пусковой турбодетандер воздух из магистрали нагнетания циклового компрессора работающего газотурбинного двигателя, для чего воздух отбирают из магистрали нагнетания до регенератора, или после него, или одновременно до и после регенератора.
РИСУНКИ
|
|