|
|
(21), (22) Заявка: 2004130370/06, 08.10.2004
(24) Дата начала отсчета срока действия патента:
08.10.2004
(45) Опубликовано: 10.04.2006
(56) Список документов, цитированных в отчете о поиске:
RU 2215885 C2, 10.11.2003. RU 2035597 C1, 20.05.1995. RU 2022141 C1, 30.10.1994. RU 2211346 C1, 27.08.2003. US 4002224 A, 11.01.1977. FR 2641825 A, 20.07.1990.
Адрес для переписки:
420036, г.Казань, ул. Дементьева, 1, ОАО КПП “Авиамотор”, В.Н. Понькину
|
(72) Автор(ы):
Понькин Владимир Николаевич (RU), Кесель Борис Александрович (RU), Ширяев Станислав Федорович (RU), Коротков Виктор Федорович (RU)
(73) Патентообладатель(и):
Открытое акционерное общество Конструкторско-производственное предприятие “Авиамотор” (RU)
|
(54) СИСТЕМА ОЧИСТКИ МАСЛА СИЛОВОЙ ГАЗОТУРБИННОЙ УСТАНОВКИ НАЗЕМНОГО ИСПОЛЬЗОВАНИЯ
(57) Реферат:
Система относится к газотурбостроению, а именно к системам очистки масла стационарных газотурбинных установок для газоперекачивающих агрегатов или газотурбинных электростанций. Система очистки масла позволяет снизить трудоемкость регламентных работ и исключить вторичное загрязнение масла при их выполнении. Для этого в систему введены дополнительные, с возможностью съема посредством резьбы в вертикальном направлении относительно горизонтальной оси силовой установки, корпуса фильтров с перепускными клапанами и фильтроэлементами, соединенными линиями смазки с входными узлами трения газогенератора и свободной турбины через входы штатных корпусов фильтров, причем выходы перепускных клапанов штатных корпусов заглушены, а дополнительный корпус фильтра системы автоматического регулирования соединен непосредственно с узлами смазки указанной системы напрямую без корпуса штатного фильтра на переднем торце силовой установки. Нижние точки корпусов всех дополнительных фильтров при их закреплении должны быть установлены на высоте, минимальное значение которой равно их длине. 4 ил. 
Система относится к газотурбостроению, к системам очистки масла силовых установок наземного использования в составе газоперекачивающих агрегатов компрессорных станций и газотурбинных электростанций.
Известна система очистки масла силовой установки наземного использования, содержащая установленное на корпусе силовой установки устройство фильтрации со штатными корпусами фильтров, оснащенных сетчатыми металлическими фильтроэлементами и перепускными клапанами, линии смазки, соединяющие узлы трения газогенератора, свободной турбины и системы автоматического регулирования с корпусами штатных фильтров (патент RU №2035597 С1, М. кл. F 02 С 7/06, 1995 г.).
Недостатками данной системы является низкая надежность, обусловленная сложностью выполнения регламентных работ и вероятностью внесения в маслосистему вторичных загрязнений при демонтаже фильтроэлементов, а также трудность доступа к ним при замене.
Наиболее близкой к заявленной является система очистки масла силовой установки для газоперекачивающего агрегата, содержащая установленное на корпусе силовой установки устройство фильтрации со штатными корпусами фильтров и перепускными клапанами, линии смазки, соединяющие узлы трения газогенератора, свободной турбины и системы автоматического регулирования с корпусами штатных фильтров, и отдельно установленные на общей раме силовой установки дополнительные корпуса фильтров с перепускными клапанами и бумажными фильтроэлементами, соединенными линиями смазки с входами узлов трения газогенератора, свободной турбины и системы автоматического регулирования через входы и выходы штатных корпусов фильтров с заглушенными выходами их перепускных клапанов (патент RU №2215885 С2, М. кл. F 02 С 7/02, 2003 г.).
Недостатками данной системы очистки масла является отсутствие строгого расположения осей дополнительных корпусов относительно оси силовой установки, высоты их расположения относительно указанной оси, что способствует вторичному загрязнению масла продуктами износа при выполнении регламентных работ, связанных с заменой фильтроэлементов. Подобные недостатки снижают эффективность системы очистки масла.
Задачей предлагаемого изобретения является повышение эффективности системы смазки за счет исключения возможности вторичного загрязнения масла при выполнении регламентных работ и обеспечение удобства обслуживания системы в эксплуатации.
Задача решается тем, что в системе очистки масла силовой установки для газоперекачивающего агрегата или газотурбинной электростанции, содержащей установленные на корпусе силовой установки устройства фильтрации со штатными корпусами фильтров и заглушенными их перепускными клапанами, линии смазки, соединяющие узлы трения газогенератора, свободной турбины и системы автоматического регулирования с корпусами штатных фильтров, и отдельно установленные на общей раме силовой установки дополнительные корпуса фильтров с перепускными клапанами и бумажными фильтроэлементами, соединенные линиями смазки с входами узлов трения газогенератора, свободной турбины и системы автоматического регулирования через входы и выходы штатных корпусов фильтров с заглушенными выходами их перепускных клапанов, дополнительные корпуса фильтров газогенератора и свободной турбины установлены и закреплены на общей раме силовой установки таким образом, что продольные оси этих корпусов расположены перпендикулярно к горизонтальной плоскости опорной поверхности общей рамы с минимальной высотой расположения, нижних, относительно горизонтальной оси силовой установки, точек указанных корпусов от вышеназванной плоскости, равной длине этих корпусов, которые в свою очередь оснащены резьбой, с возможностью отсоединения от перепускных клапанов и бумажных фильтров в указанном перпендикулярном направлении, а дополнительный корпус фильтра системы автоматического регулирования установлен на переднем, относительно входа циклового воздуха, торце силовой установки таким образом, что его продольная ось параллельна продольным осям дополнительных фильтров газогенератора и свободной турбины, на равной с ними минимальной высоте расположения его нижней точки, оснащен аналогичной им резьбой и соединен с узлами трения системы автоматического регулирования, непосредственно, без промежуточного подключения штатного корпуса устройства фильтрации, соответствующими линиями смазки.
Технический результат в части установки и закрепления на общей раме дополнительных корпусов фильтров газогенератора и свободной турбины с расположением продольных осей этих корпусов перпендикулярно горизонтальной плоскости опорной поверхности общей рамы и минимальной высотой расположения нижних точек, относительно горизонтальной оси силовой установки, равной длине этих корпусов, которые в свою очередь оснащены резьбой, с возможностью отсоединения от перепускных клапанов и бумажных фильтров в указанном перпендикулярном направлении, заключается в том, что при замене загрязненных элементов эти корпуса выворачиваются по резьбе в вертикальном направлении вниз к горизонтальной плоскости опорной поверхности рамы и тем самым исключается вероятность попадания загрязненного масла в магистрали маслосистемы. Любое другое расположение дополнительных корпусов фильтров, а также выемка фильтроэлементов вверх относительно этих корпусов способствует задержанию в них загрязненного масла.
Минимальная высота расположения их нижних точек обуславливает возможность съема этих корпусов и перемещения, а указанная резьба позволяет после съема осуществлять их последующую промывку.
Технический результат в части установки дополнительного корпуса фильтра системы автоматического регулирования на переднем, относительно входа циклового воздуха, торце силовой установки, заключается в том, что это повышает удобство доступа к фильтру при техническом обслуживании. В свою очередь, его подключение к системе смазки без промежуточного штатного корпуса способствует отсутствию накопления продуктов износа в корпусе штатного фильтра, что благоприятно для работы системы автоматического регулирования, которая является особо чувствительной к чистоте масла. Кроме того, установка продольной оси дополнительного корпуса фильтра системы автоматического регулирования параллельно осям дополнительных корпусов фильтров газогенератора и свободной турбины, на равной с ними минимальной высоте расположения нижней точки и оснащение его резьбой создает перечисленные выше преимущества при техническом обслуживании фильтра системы автоматического регулирования, аналогичные фильтрам газогенератора и свободной турбины.
Суммарный технический результат предлагаемого технического решения существенно повышает эффективность технического обслуживания и исключает вероятность вторичного загрязнения трубопроводов маслосистемы силовой установки.
Предлагаемое изобретение поясняется следующими графическими материалами.
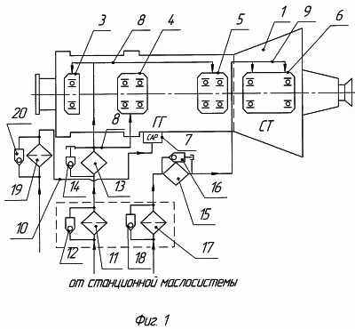
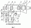
На фиг.1 представлена схема системы очистки масла с принятыми сокращениями ГГ – газогенератор, СТ – свободная турбина, CAP – система автоматического регулирования, на фиг.2 представлен вид силовой установки с установленными дополнительными корпусами фильтров, на фиг.3 представлен вид А фиг.2, на фиг.4 представлен продольный разрез дополнительного фильтра (все дополнительные фильтры имеют одинаковую конструкцию и размеры).
Система очистки масла (см. фиг.1) содержит силовую установку 1 с соответствующими подшипниковыми узлами 3, 4, 5, 6, 7, которые связаны соответствующими линиями смазки 8, 9, 10 со станционной маслосистемой. В линии 8 смазки подшипниковых узлов газогенератора установлен дополнительный корпус фильтра 11 с обратным клапаном 12 и корпус штатного фильтра 13 с обратным заглушенным клапаном 14. В линии 9 смазки подшипниковых узлов свободной турбины установлен дополнительный корпус фильтра 17 с обратным клапаном 18 и корпус штатного фильтра 15 с заглушенным обратным клапаном 16, а в линии 10 смазки системы автоматического регулирования установлен единственный дополнительный корпус фильтра 19 с обратным клапаном 20. Силовая установка 1 смонтирована на общей раме 2 (см. фиг.2), на которой смонтированы корпуса дополнительных фильтров 17 и 11. Корпус фильтра 11 на фиг.2 закрыт корпусом фильтра 17, поэтому позиция 11 на фиг.2 указана в скобках. Дополнительный корпус фильтра 19 системы автоматического регулирования установлен на переднем, относительно входа циклового воздуха, торце силовой установки 1. Все фильтры 11, 17, 19 установлены на минимальной высоте hmin расположения их нижних точек (см. фиг.2). На фиг.3 показано расположение всех корпусов дополнительных фильтров 11, 17, 19 относительно общей рамы 2 и силовой установки 1. Дополнительный корпус фильтра 11 (17, 19) (см. фиг.4) оснащен резьбой 23, посредством которой он наворачивается на собственный корпус фильтра 24. К собственному корпусу фильтра 24 закреплен фильтроэлемент 21 и штуцера 25, 26 входа и выхода масла соответственно. Кроме того, в собственном корпусе фильтра 24 установлен обратный клапан 22.
Система очистки масла силовой установки наземного использования работает следующим образом (см. фиг.1).
При подаче масла на вход в дополнительно установленные на общей раме 2 силовой установки 1 корпуса фильтров 11 и 17, а также в дополнительный корпус фильтра 19, установленный на переднем торце силовой установки 1, масло фильтруется фильтроэлементами 21 и с выходных штуцеров 26 корпусов 24 по линиям смазки 8, 9 поступает на входы штатных корпусов 13, 15, с заглушенным обратным клапаном 14, 16 и без дополнительной фильтрации поступает на узлы смазки газогенератора и свободной турбины. По линии смазки системы автоматического регулирования масло поступает после дополнительного корпуса фильтра 19 и соответствующей фильтрации на фильтроэлементе 21 непосредственно к узлам смазки указанной системы.
При загрязнении фильтроэлементов 21, установленных в дополнительных корпусах фильтров 11, 17, 19, масло через соответствующие обратные клапаны 12, 18, 20 поступает к соответствующим линиям смазки. При этом схемное обозначение обратных клапанов 12, 18, 20 на фиг.1 соответствует единому конструктивному их исполнению 22 на фиг.4.
При работе предлагаемой системы смазки с загрязненными фильтроэлементами (кратковременно) корпуса штатных фильтров 13 и 15 накапливают в себе определенное количество неочищенного масла. Это допустимо для узлов смазки газогенератора и свободной турбины и исключается для узлов смазки системы автоматического регулирования.
Таким образом, строго вертикальное расположение всех дополнительных корпусов фильтров по отношению к горизонтальной плоскости опорной поверхности силовой рамы, минимально допустимая высота расположения их нижних точек от указанной плоскости, легкодоступность их расположения, удаление элементов, снижающих надежность работы системы смазки автоматического регулирования, позволяет снизить трудоемкость регламентных работ, исключить вторичное загрязнение системы при замене фильтроэлементов и повысить надежность эксплуатации силовой установки.
Формула изобретения
Система очистки масла силовой установки для газоперекачивающего агрегата или газотурбинной электростанции, содержащая установленные на корпусе силовой установки устройства фильтрации со штатными корпусами фильтров и перепускными клапанами, линии смазки, соединяющие узлы трения газогенератора, свободной турбины и системы автоматического регулирования с корпусами штатных фильтров и отдельно установленные на общей раме силовой установки дополнительные корпуса фильтров с перепускными клапанами и бумажными фильтроэлементами, соединенными линиями смазки с входами узлов трения газогенератора, свободной турбины и системы автоматического регулирования через входы и выходы штатных корпусов фильтров с заглушенными выходами их перепускных клапанов, отличающаяся тем, что дополнительные корпуса фильтров газогенератора и свободной турбины установлены и закреплены на общей раме силовой установки таким образом, что продольные оси этих корпусов расположены перпендикулярно горизонтальной плоскости опорной поверхности общей рамы с минимальной высотой расположения нижних относительно горизонтальной оси силовой установки точек указанных корпусов от вышеназванной плоскости, равной длине этих корпусов, которые, в свою очередь, оснащены резьбой с возможностью отсоединения от перепускных клапанов и бумажных фильтров в указанном перпендикулярном направлении, а дополнительный корпус фильтра системы автоматического регулирования установлен на переднем относительно входа циклового воздуха торце силовой установки таким образом, что его продольная ось параллельна продольным осям дополнительных корпусов фильтров газогенератора и свободной турбины на равной с ними минимальной высоте расположения его нижней точки, оснащен аналогичной им резьбой и соединен с узлами трения системы автоматического регулирования непосредственно без промежуточного подключения штатного корпуса устройства фильтрации соответствующими линиями смазки.
РИСУНКИ
|
|