|
|
(21), (22) Заявка: 2002122759/03, 22.01.2001
(24) Дата начала отсчета срока действия патента:
22.01.2001
(30) Конвенционный приоритет:
24.01.2000 US 60/178,001 24.01.2000 US 60/177,883 24.01.2000 US 60/177,998
(43) Дата публикации заявки: 27.01.2004
(45) Опубликовано: 10.04.2006
(56) Список документов, цитированных в отчете о поиске:
US 4839644 A, 13.06.1989. RU 2130122 C1, 10.05.1999. RU 97113745 A, 27.06.1999. US 5745047 A, 28.04.1998. US 5995020 A, 30.11.1999. EP 0964134 A, 15.12.1999. КУЗНЕЦОВ М.И., Основы электротехники, Москва, Профтехиздат, 1960, с.215-227.
(85) Дата перевода заявки PCT на национальную фазу:
26.08.2002
(86) Заявка PCT:
EP 01/00736 (22.01.2001)
(87) Публикация PCT:
WO 01/55554 (02.08.2001)
Адрес для переписки:
129010, Москва, ул. Б. Спасская, 25, стр.3, ООО “Юридическая фирма Городисский и Партнеры”, пат.пов. Ю.Д.Кузнецову, рег.№ 595
|
(72) Автор(ы):
БЕРНЕТТ Роберт Рекс (US), КАРЛ Фредерик Гордон мл. (US), СЕВЕДЖ Вилльям Маунтджой (US), ВАЙНГАР Харолд Дж. (US)
(73) Патентообладатель(и):
ШЕЛЛ ИНТЕРНЭШНЛ РИСЕРЧ МААТСХАППИЙ Б.В. (NL)
|
(54) НЕФТЯНАЯ СКВАЖИНА И СПОСОБ РАБОТЫ СТВОЛА НЕФТЯНОЙ СКВАЖИНЫ
(57) Реферат:
Изобретение относится к эксплуатации нефтяных скважин и может быть использовано для передачи сигнала управления и сигнала электропитания по стволу скважины в процессе эксплуатации газлифтных скважин. Нефтяная скважина содержит ствол и электропроводную систему трубопроводов, к участку которой прикладывают изменяющейся во времени электрический сигнал. Электрически подсоединяют, по меньшей мере, один электронный модуль к участку системы трубопроводов выше электрического дросселя, располагаемого концентрически с внешней стороны участка системы трубопроводов в непосредственной близости от него. Дроссель выбирают таким, чтобы он действовал в качестве последовательного полного сопротивления на частотах передачи мощности и в полосе частот канала связи электрического сигнала, протекающего по упомянутому участку системы трубопроводов. Осуществляют беспроводный прием указанного сигнала электронными модулями, чтобы оказать влияние на работу, по меньшей мере, одного электронного модуля. Электронные модули могут представлять собой управляемые клапаны либо датчики. Скважина может содержать множество электронных модулей, каждый из которых выполнен с возможностью посылки и приема сигналов связи для сообщения с другими электронными модулями в различных областях скважины. Изобретение направлено на повышение качества управления при эксплуатации скважины. 2 н. и 11 з.п. ф-лы, 6 ил. 
Предпосылки создания изобретения
1. Область техники, к которой относится изобретение
Настоящее изобретение касается в общем системы связи для нефтяной или газовой скважины, имеющей скважинные устройства для контроля и регулирования эксплуатации скважины, и в частности, системы связи, имеющей двухстороннюю телеметрическую магистральную линию связи с избыточными резервными повторителями, датчиками и управляемыми клапанами.
2. Описание предшествующего уровня техники
Нефтяные скважины с газонапорным режимом (газлифтные скважины) использовали, начиная с 1800-ых годов, и доказали их особенную полезность в увеличении эффективной добычи нефти там, где естественный подъем коллектора является недостаточным (см. работы Брауна, Коннолизо (Connolizo) и Робертсона (Robertson) “Краткий курс подъема нефти в Западном Техасе” и Х.У.Уинклера (H.W.Winkler) “Рассмотрение недооцененного или пропущенного газлифтных устройств и оборудования”, SPE, стр.351 (1994 г.)). Как правило, в нефтяной газлифтной скважине природный газ, образующийся в месторождении нефти, находится в сжатом состоянии и вводится в кольцевое пространство между обсадной трубой и лифтовой трубой и направляется из обсадной трубы в лифтовую трубу с целью обеспечения “подъема” столба флюида лифтовой трубы для добычи нефти из лифтовой трубы. Хотя лифтовую трубу можно использовать для введения газа, применяемого для газлифта, а кольцевое пространство использовать для добычи нефти, это редко применялось на практике. Первоначально, в газлифтные скважины просто вводили газ у основания лифтовой трубы, но для глубоких скважин требуются чрезмерно высокие давления для выдачи нефти. Позже были разработаны способы введения газа в лифтовую трубу на различных глубинах в скважинах для избежания некоторых из проблем, связанных с высокими давлениями для выдачи нефти (см. патент США №5267469).
В наиболее общем типе газлифтных скважин используются механические газлифтные клапаны сильфонного типа, прикрепленные к лифтовой трубе, с целью регулирования потока газа из кольцевого пространства в лифтовую колонну (см. патенты США №5782261 и 5425425). В типичном газлифтном клапане сильфонного типа сильфон предварительно устанавливают или заряжают до некоторого давления предварительной зарядки, такого, что клапан допускает сообщение газа из кольцевого пространства и в лифтовую трубу под давлением предварительной зарядки. Давление зарядки каждого клапана выбирает инженер буровой скважины в зависимости от местоположения клапана в скважине, гидростатического напора, физического состояния скважины и множества других факторов, некоторые из которых являются предполагаемыми или неизвестными, или меняют в течение периода эксплуатации скважины.
Некоторые проблемы являются общими для газлифтных клапанов сильфонного типа. Во-первых, сильфон часто теряет свою предварительную зарядку, приводя к неисправности клапана в закрытом положении или изменяя его заданное рабочее значение на отличающееся от проектной заданной величины. А иногда подвергание чрезмерному давлению может заставить клапан закрыться и стать недействующим. Другой обычной неисправностью является эрозия вокруг седла клапана и износ шарового стержня в клапане. Это часто ведет к частичному отказу или по меньшей мере к неэффективной добыче. Поскольку выброс газа через газлифтный клапан часто не является длительным в устойчивом состоянии, а скорее демонстрирует некоторое количество ударов и вибрации, когда клапан быстро открывается и закрывается, обычно происходит постепенное ухудшение свойств клапана, что ведет к нарушению герметичности клапана. Отказ или неэффективное действие клапанов сильфонного типа ведет к соответствующей неэффективности в функционировании типичной газлифтной скважины. Фактически, как оценивают, дебит скважины по меньшей мере на 5-15% меньше оптимальной величины из-за отказов или эксплуатационной неэффективности клапанов. Это невозможно исправить, поскольку давление предварительной установки клапана определяется в период проектирования, и не имеется достаточного оперативного знания рабочего состояния скважины для контролирования, предотвращения или управления нестабильностью в процессе добычи.
Известны эксцентричные камеры для газлифтных клапанов, связанные с лифтовой колонной и предназначенные для приема устанавливаемых и извлекаемых с помощью талевых канатов газлифтных клапанов. Многие газлифтные скважины включают в себя газлифтные клапаны как неотъемлемую часть лифтовой колонны, которые обычно установлены на секции труб. Однако эксцентричные камеры для газлифтных клапанов, в которых замена осуществляется с помощью талевых канатов, типа изготавливаемых на фирме Camco или Weatherford, имеют много преимуществ и нередко встречаются (см. патенты США №5782261 и 5797453). Газлифтные клапаны, помещенные в эксцентричную камеру для газлифтных клапанов, можно вставлять и удалять, используя талевый канат и инструмент подъема при введении либо у вершины, либо у основания. В боковых и горизонтальных буровых скважинах для введения и удаления газлифтных клапанов используется скрученная в спираль лифтовая труба. При добыче в нефтяном месторождении является обычной практикой перекрывать скважину каждые три – пять лет и использовать талевый канат для замены газлифтных клапанов. Однако оператор часто не может хорошо оценить, какие клапаны в скважине неисправны или ухудшили характеристики и подлежат замене.
Поэтому было бы существенным преимуществом разработать систему и способ, которые преодолеют недостаток неэффективности обычных газлифтных клапанов сильфонного типа. Были изобретены несколько способов размещения управляемых клапанов в скважине на лифтовой колонне, но все такие известные устройства обычно используют электрический кабель, располагаемый вдоль лифтовой колонны, для обеспечения электропитания и связи с газлифтными клапанами. Это, конечно, крайне нежелательно и на практике трудно использовать кабель, проложенный вдоль лифтовой колонны либо заодно с лифтовой колонной, либо отдельно от нее, в кольцевом зазоре между лифтовой колонной и обсадной трубой, из-за присутствующего в такой системе ряда механизмов отказа. Использование кабеля представляет трудности для операторов скважины при сборке и введении лифтовой колонны в ствол скважины. Кроме того, кабель подвергается коррозии и интенсивному износу из-за перемещения лифтовой колонны внутри ствола скважины. Пример скважинной системы связи, использующей кабель, показан в документе РСТ/ЕР 97/01621.
В патенте США №4839644 описаны способ и система беспроводной двухсторонней связи в обсаженной буровой скважине, имеющей лифтовую колонну. Однако эта система описывает схему связи, предназначенную для подведения электромагнитной энергии в режиме магнитной волны (Н-волны) посредством использования кольцевого пространства между обсадной трубой и лифтовой трубой. Для этого требуется, чтобы тороидальная антенна возбуждала или принимала сигналы в режиме Н-волны, в патенте предложена необходимость в изолированном устье скважины и не говорится об источнике питания для модуля в скважине. Индуктивная связь требует по существу непроводящей текучей среды, типа сырой нефти, в кольцевом пространстве между обсадной трубой и лифтовой трубой, и эта нефть должна иметь более высокую плотность, чем рассол, чтобы просачивающийся рассол не собрался на дне кольцевого пространства. Изобретение, описанное в патенте США №4839644, не получило широкого применения в качестве практической схемы скважинной связи, поскольку оно дорогостоящее, имеет проблемы с просачиванием рассола в обсадную трубу и является трудным для использования. Другая система для скважинной связи, использующая телеметрию по гидроимпульсному каналу связи, описана в патентах США №4648471 и 5887657. Хотя телеметрия по гидроимпульсному каналу связи может быть удачной при низких скоростях передачи данных, она имеет ограниченную пригодность там, где требуются высокие скорости передачи данных или где нежелательно иметь сложное скважинное оборудование телеметрии по гидроимпульсному каналу связи. Другие способы связи внутри буровой скважины описаны в патентах США №4468665; 4578675; 4739325; 5130706; 5467083; 5493288; 5574374; 5576703 и 5883516. В заявке РСТ WO 93/26115 описана система связи для использования в подводных трубопроводах, которая страдает от необходимости обеспечить в трубопроводе множество источников электропитания.
Следовательно, можно добиться существенного прогресса в работе газлифтных скважин, если обеспечить альтернативный вариант обычному клапану сильфонного типа, в частности, если лифтовую колонну и обсадную трубу можно будет использовать в качестве проводников средств связи и электроэнергии для управления и работы управляемого гаэлифтного клапана.
Нефтяная скважина и способ согласно преамбуле пп.1 и 5 формулы изобретения известны из европейской заявки на патент ЕР 721053. В известном устройстве и способе трубчатый элемент, покрытый электроизоляционным покрытием, используется в комбинации с индуктивными катушками, которые расположены снаружи покрытия, для передачи электроэнергии и сигналов по трубчатому элементу скважины.
В европейской заявке на патент ЕР 0964134 раскрыт способ, в котором электрические сигналы передаются по колонне трубчатых элементов скважины, которые также снабжены электроизоляционным покрытием, и они электрически изолированы от других частей трубчатой колонны изолирующими муфтами.
Неудобство известных систем заключается в том, что они включают в себя передачу сигналов по трубчатым элементам скважины, покрытым электроизоляционным слоем, который является дорогостоящим и склонен к износу и повреждению во время установки и использования.
Сущность изобретения
Нефтяная скважина и способ в соответствии с настоящим изобретением отличаются отличительными признаками п.п.1 и 9 формулы изобретения. В важном применении, нефтяная скважина представляет собой управляемую газлифтную скважину, которая включает в себя систему трубопроводов обсаженного ствола скважины, имеющую лифтовую колонну, расположенную и проходящую в продольном направлении внутри обсадной трубы. Расположение лифтовой колонны внутри обсадной трубы образует кольцевое пространство между лифтовой колонной и обсадной трубой. Система связи, или магистральная линия связи обеспечена для подачи электроэнергии и сигналов связи в скважину. Электроэнергия предпочтительно представляет собой переменный ток низкого напряжения на обычных промышленных частотах в диапазоне от 50 до 400 Гц, но в некоторых вариантах осуществления можно использовать электроэнергию постоянного тока.
В предпочтительном варианте осуществления настоящего изобретения спущенный в скважину индукционный дроссель (электрический дроссель) из ферромагнитного материала расположен на лифтовой колонне в скважине, чтобы действовать как последовательное полное сопротивление для тока, протекающего по лифтовой трубе. Подвесное устройство для подвешивания лифтовой колонны внутри ствола скважины включает в себя изолированный участок, который электрически изолирует верхнюю часть лифтовой колонны около поверхности скважины. Связь предпочтительно осуществляется по электрически изолированной секции лифтовой колонны между изолированным участком подвесного устройства и спущенным ферромагнитным дросселем. Электроэнергия и сигналы связи передаются в электрически изолированный участок лифтовой колонны, а обсадная труба действует как электрический обратный провод.
Множество скважинных устройств подсоединено к лифтовой колонне в скважине для контроля и управления работой скважины. Эти скважинные устройства могут включать в себя управляемые газлифтные клапаны, датчики, электронные модули и модемы. Управляемый газлифтный клапан подсоединен к лифтовой трубе для управления нагнетанием газа между внутренней и внешней частью лифтовой трубы, более конкретно между кольцевым пространством и внутренней частью лифтовой трубы. Управляемый газлифтный клапан запитывается и управляется с поверхности с целью регулирования сообщения текучей среды между кольцевым пространством и внутренней частью лифтовой трубы. Датчики расположены в скважине для контролирования скважинного физического состояния буровой скважины. Электронный модуль представляет собой блок управления, который принимает сигналы от датчиков для сообщения сигналов на поверхность и принимает сигналы связи с поверхности для управления управляемым газлифтным клапаном. Модемы используются для обмена сигналами между другими скважинными устройствами и поверхностью.
Более подробно, находящийся на поверхности компьютер, имеющий модем, передает сигнал связи в лифтовую трубу, и сигнал принимается находящимся в скважине модемом. Находящийся в скважине модем, который часто является компонентом электронного модуля, затем передает сигнал в управляемый газлифтный клапан. Аналогичным образом, находящийся в скважине модем может принимать и затем сообщать информацию датчиков в находящийся на поверхности компьютер. В зависимости от диапазона связи, который модемы способны обеспечивать при определенных состояниях скважины, сигналы, проходящие по лифтовой колонне, могут передаваться между находящимися в скважине модемами. Электроэнергия подается в лифтовую колонну и принимается в скважине для управления работой управляемого газлифтного клапана.
Находящийся на поверхности компьютер предпочтительно соединен через находящийся на поверхности модем и лифтовую трубу с находящимися в скважине модемами. Находящийся на поверхности компьютер может получать измерения от множества источников, типа скважинных или поверхностных датчиков, измерения дебита нефти и измерения ввода сжатого газа в скважину (поток и давление). Используя такие измерения, компьютер может вычислять оптимальное положение управляемого газлифтного клапана, более конкретно оптимальное количество газа, вводимого из кольцевого пространства внутри обсадной трубы через управляемый клапан в лифтовую трубу. Возможны дополнительные улучшения, типа управления количеством ввода сжатого газа в скважину у поверхности, управления противодавлением в скважинах, управления пористым фриттированием или системой введения поверхностно-активного вещества для вспенивания нефти, и получения измерений добычи и функционирования из различных других скважин в том же месторождении, с целью оптимизирования добычи в месторождении.
Возможность активно контролировать текущее состояние скважины, связанная с возможностью управлять состоянием на поверхности и в скважине, в газлифтной скважине имеет много преимуществ. Газлифтные скважины имеют четыре основных режима течения текучей среды, например пенистое (аэрированное), Тейлоровское, пробковое и кольцевое течение. Скважинные датчики по настоящему изобретению позволяют обнаруживать и идентифицировать режим течения. Вышеупомянутые механизмы управления – находящийся на поверхности компьютер, управляемые клапаны, ввод газа, введение поверхностно-активного вещества и т.д. – обеспечивают возможность достигать и поддерживать оптимальное течение. В общем, испытания и диагностирования скважины можно выполнять и анализировать непрерывно и в режиме реального времени.
В одном из аспектов настоящего изобретения предлагается нефтяная скважина, имеющая ствол (11) скважины, проходящий в землю, и электропроводную систему (26) трубопроводов, расположенную в стволе (11) скважины, в котором одно или более устройств (50) электрически подсоединены к системе (26) трубопроводов в стволе скважины для беспроводного приема изменяющегося во времени электрического сигнала, прикладываемого к системе (26) трубопроводов, и по меньшей мере одно устройство (50) для считывания или управления физической характеристикой в стволе скважины или в непосредственной близости к нему приводится в действие сигналом, и в которой электрический дроссель расположен в непосредственной близости от участка системы трубопроводов для трассирования изменяющегося во времени сигнала внутри системы трубопроводов; отличающаяся тем, что электрический дроссель (42) выполнен с возможностью действия в качестве последовательного полного сопротивления для электрического тока, протекающего по упомянутому участку системы (26) трубопроводов, и тем, что по меньшей мере одно устройство (50) электрически подсоединено к системе трубопроводов (26) выше электрического дросселя (42).
В другом аспекте настоящего изобретения предлагается нефтяная скважина, в которой система (26) трубопроводов представляет собой эксплуатационную лифтовую колонну (26), которая окружена заполненным текучей средой кольцевым пространством (31) и обсадной трубой (24).
В другом аспекте настоящего изобретения предлагается нефтяная скважина, в которой компьютер и/или источник питания (44) выполнен с возможностью приложения изменяющегося во времени электрического сигнала к системе трубопроводов для передачи информации.
В другом аспекте настоящего изобретения предлагается нефтяная скважина, в котором устройство представляет собой датчик для считывания физической характеристики в стволе скважины, типа температуры, давления или акустической характеристики.
В другом аспекте настоящего изобретения предлагается нефтяная скважина, в которой устройство представляет собой клапан, выполненный с возможностью работы, при получении команды с помощью беспроводного сигнала, прикладываемого к системе трубопроводов.
В другом аспекте настоящего изобретения предлагается нефтяная скважина, в которой нефтяная скважина представляет собой газлифтную скважину, система трубопроводов включает в себя лифтовую трубу, а одно устройство представляет собой газлифтный клапан, подсоединенный к лифтовой трубе и управляемый с возможностью регулировки потока текучей среды между внутренней и внешней частью лифтовой трубы.
В другом аспекте настоящего изобретения предлагается нефтяная скважина, включающая в себя множество устройств, каждое из которых выполнено с возможностью посылки и приема сигналов связи для сообщения с другими устройствами в различных областях скважины.
В другом аспекте настоящего изобретения предлагается нефтяная скважина, включающая в себя контроллер и некоторые из устройств, являющиеся датчиками, и по меньшей мере одно устройство, являющееся клапаном, посредством чего действие клапана определяется контроллером, основывающимся на входном сигнале от датчиков.
В нефтяной скважине, имеющей ствол скважины, проходящий в землю, и электропроводную систему трубопроводов, расположенную в стволе скважины, предлагается способ работы ствола скважины посредством прикладывания изменяющегося во времени электрического сигнала к системе трубопроводов, который принимает один или больше беспроводные устройства, электрически подсоединенные к системе трубопроводов в стволе скважины, чтобы оказать влияние на работу по меньшей мере одного устройства в земле, и в котором электрический дроссель расположен в непосредственной близости к участку системы трубопроводов для трассирования изменяющегося во времени сигнала внутри системы трубопроводов; отличающийся тем, что электрический дроссель (42) действует как последовательное полное сопротивление для электрического тока, протекающего по упомянутому участку системы (26) трубопроводов, и тем, что по меньшей мере одно устройство (50) электрически подсоединено к системе (26) трубопроводов выше электрического дросселя (42).
В другом аспекте настоящего изобретения предлагается способ, в котором по меньшей мере одно устройство (50) представляет собой датчик для восприятия физической характеристики в стволе скважины, причем способ включает в себя восприятие указанной физической характеристики, такой как температура, давление или акустические данные, и передачу воспринятой физической характеристики по системе трубопроводов.
В другом аспекте настоящего изобретения предлагается способ, в котором изменяющийся во времени сигнал электроэнергии и изменяющийся во времени сигнал связи прикладывают к системе трубопроводов и осуществляют передачу электроэнергии и связь с множеством устройств.
В другом аспекте настоящего изобретения предлагается способ, в котором нефтяная скважина представляет собой газлифтную скважину и по меньшей мере одно устройство является управляемым клапаном, при котором осуществляют связь с клапаном и регулирование потока текучей среды через клапан.
В другом аспекте настоящего изобретения предлагается способ, включающий в себя управление инжекцией газлифтного газа и/или скоростью выдачи сырой нефти в газлифтной скважине.
Краткое описание чертежей
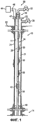
Фиг.1 представляет схематический вид спереди управляемой газлифтной скважины согласно одному варианту осуществления настоящего изобретения, в котором газлифтная скважина имеет лифтовую колонну и обсадную трубу, расположенную внутри буровой скважины.
Фиг.2А представляет увеличенную вертикальную часть с частичным вырезом лифтовой колонны в обсаженной буровой скважине, имеющей индукционный дроссель вокруг лифтовой трубы.
Фиг.2В представляет увеличенную горизонтальную часть с частичным вырезом лифтовой колонны фиг.2А.
Фиг.3А и 3В представляют виды спереди в разрезе управляемого клапана в конфигурации клетки в соответствии с одним вариантом осуществления настоящего изобретения.
Фиг.4 представляет увеличенный схематический вид спереди лифтовой колонны и обсадной трубы фиг.1, где лифтовая колонна имеет электронный модуль, датчики и управляемый газлифтный клапан, оперативно подсоединенный к внешней части лифтовой колонны.
Фиг.5 представляет изображение эквивалентной принципиальной электрической схемы для управляемой газлифтной скважины фиг.1, где газлифтная скважина имеет источник питания переменного тока, электронный модуль фиг.3А и электронный модуль фиг.4.
Фиг.6 представляет блок-схему системы электронного модуля.
Подробное описание изобретения
Термин “система трубопроводов”, как используется в настоящей заявке, может быть одной единственной трубой, лифтовой колонной, обсадной трубой, штоком поршневого насоса, рядом связанных труб, стержней, рельсов, ферм, решеток, опор, ответвлением или боковым удлинением скважины, сетью связанных труб или другими системами, известными специалистам в данной области техники. В предпочтительном варианте осуществления используется изобретение в контексте нефтяной скважины, где система трубопроводов содержит трубчатую, металлическую, электропроводную трубу или лифтовые колонны, но изобретение этим не ограничено. Для настоящего изобретения по меньшей мере часть системы трубопроводов должна быть электропроводной, так, чтобы электропроводный участок мог составлять всю систему трубопроводов (например, стальные трубы, медные трубы) или проходящий в продольном направлении электропроводный участок, объединенный с проходящим в продольном направлении непроводящим участком. Другими словами, электропроводная система трубопроводов представляет собой систему, которая обеспечивает электропроводный путь от первого местоположения, где источник питания электрически связан со вторым местоположением, в котором электрически связаны устройство и/или электрический обратный провод. Системой трубопроводов, как правило, является обычная круглая металлическая лифтовая труба, но геометрия поперечного сечения системы трубопроводов, или любой ее части, может изменяться по форме (например, округлая, прямоугольная, квадратная, овальная) и размеру (например, по длине, диаметру, толщине стенок) в любой части системы трубопроводов. Следовательно, система трубопроводов должна иметь электропроводный участок, проходящий от первого местоположения системы трубопроводов ко второму местоположению системы трубопроводов.
“Клапан” представляет собой любое устройство, которое функционирует с целью регулирования потока текучей среды. Примеры клапанов включают в себя, но не ограничены ими, газлифтные клапаны сильфонного типа и управляемые газлифтные клапаны, каждый из которых можно использовать для регулирования потока применяемого для газлифта газа в лифтовую колонну скважины. Внутреннее функционирование клапанов может сильно изменяться, и в настоящей заявке не следует ограничиваться клапанами, описанными в какой-либо конкретной конфигурации, пока клапан функционирует с целью регулирования потока. Некоторые из различных типов механизмов регулирования потока включают в себя, но не ограничены этим, конфигурации шаровых клапанов, конфигурации игольчатых клапанов, конфигурации запорных клапанов и конфигурации клапанов клетки. Способы установки клапанов, обсуждаемые в настоящей заявке, могут широко варьироваться. Клапаны можно устанавливать в скважине многими различными способами, некоторые из которых включают в себя конфигурации трансканалируемого по лифтовой трубе монтажа, конфигурации эксцентричных камер для установки клапанов или конфигурации постоянного монтажа, типа монтажа клапана в увеличенном коллекторе лифтовой трубы.
Термин “модем” используется здесь в общем для обозначения любого коммуникационного устройства, предназначенного для передачи и/или приема электрических сигналов связи через электрический проводник (например, металл). Следовательно, этот термин не ограничен акронимом для модулятора (устройства, которое преобразовывает речевой или информационный сигнал в форму, которая может быть передана)/демодулятора (устройства, которое восстанавливает первоначальный сигнал после его модулирования высокочастотной несущей). Кроме того, термин “модем”, как используется здесь, не ограничен обычными компьютерными модемами, которые преобразовывают цифровые сигналы в аналоговые сигналы и наоборот (например, для посылки цифровых информационных сигналов по аналоговой коммутируемой телефонной сети общего пользования). Например, если датчик посылает измерения в аналоговом формате, то такие измерения может быть необходимо только модулировать несущим сигналом и передавать, а следовательно, аналого-цифровое преобразование не требуется. В качестве другого примера, для идентифицирования, фильтрации, усиления и/или ретрансляции полученного сигнала может требоваться только ретрансляционный модем или устройство связи. Однако модемы, используемые в данном изобретении, в общем могут быть цифровыми, широкополосными, поскольку они широко доступны из коммерческих источников и имеют самую широкую применимость.
Термин “беспроводный”, как он используется в настоящем изобретении, означает отсутствие обычных, изолированных проводов, например, проходящих от находящегося в скважине устройства на поверхность. Использование лифтовой трубы и/или обсадной трубы в качестве проводника рассматривается как “беспроводное”.
Термин “датчик”, как используется в настоящей заявке, относится к любому устройству, которое обнаруживает, определяет, контролирует, регистрирует или иначе считывает абсолютную величину или изменение физической величины. Датчики, как они описаны в настоящей заявке, могут использоваться для измерения температуры, давления (как абсолютного, так и отличающегося), объемной скорости потока, сейсмических данных, акустических данных, уровня рН (водородного показателя), уровней минерализации, положений клапана или почти любых других физических данных.
Термин “электронный модуль” в настоящей заявке относится к управляющему устройству. Электронные модули могут иметь множество конфигураций и могут быть установлены в скважине с помощью множества различных способов. В одной монтажной конфигурации электронный модуль фактически расположен внутри клапана и обеспечивает управление работой двигателя внутри клапана. Электронные модули можно также устанавливать снаружи на любой конкретный клапан. Некоторые электронные модули устанавливают внутри эксцентричных камер для газлифтных клапанов или увеличенных карманов лифтовой трубы, в то время как другие можно перманентно крепить к лифтовой колонне. Электронные модули часто электрически связаны с датчиками и помогают в передаче информации датчиков на поверхность скважины. Возможно, что датчики, связанные с конкретным электронным модулем, можно даже размещать внутри электронного модуля. Наконец, электронный модуль часто тесно связан с модемом и может фактически его содержать, для приема, посылки и передачи сообщений с поверхности скважины и на нее. Сигналы, которые принимаются с поверхности электронным модулем, часто используются, чтобы произвести изменения внутри находящихся в скважине управляемых устройств, типа клапанов. Сигналы, посылаемые или передаваемые на поверхность электронным модулем, в общем содержат информацию об относительно физических состояниях скважины, обеспечиваемую датчиками.
Термины “вверх”, “вниз”, “выше”, “ниже”, как они используются в данном изобретении, представляют собой относительные термины для указания положения и направления перемещения и описывают местоположение “вдоль глубины скважины”, как обычно принято в промышленности. В наклонных или горизонтальных скважинах эти термины могут или не могут соответствовать абсолютному относительному расположению относительно поверхности земли.
Рассмотрим фиг.1, на которой иллюстрируется нефтяная скважина в соответствии с настоящим изобретением. Нефтяная скважина представляет собой газлифтную скважину 10, имеющую ствол 11 скважины, проходящий от поверхности 12 в зону 14 добычи, которая расположена у основания скважины. Эксплуатационная платформа 20 расположена у поверхности 12 и включает в себя подвесное устройство 22 для поддержания обсадной трубы 24 и лифтовой колонны 26. Обсадная труба 24 имеет тип, традиционно используемый в нефтегазовой промышленности. Обсадная труба 24 обычно устанавливается секциями и скрепляется цементным раствором в стволе 11 скважины во время завершения скважины. Лифтовая колонна 26, также называемая насосно-компрессорной колонной, является в общем обычной колонной, содержащей множество удлиненных трубчатых секций труб, соединенных резьбовыми соединениями на каждом конце секций труб, но, в качестве альтернативы, ее можно вставлять непрерывно, например, как трубы в бухтах. Эксплуатационная платформа 20 также включает в себя дроссель 30 ввода газа для управления вводом сжатого газа в кольцевое пространство 31 между обсадной трубой 24 и лифтовой колонной 26. И наоборот, выпускной клапан 32 допускает вытеснение нефти и газовых пузырьков из внутренней части лифтовой колонны 26 во время добычи нефти.
Газлифтная скважина 10 включает в себя систему 34 связи для обеспечения электроэнергии и двухсторонней скважинной связи в скважине 10. Система 34 связи включает в себя спущенный ферромагнитный дроссель 42, который установлен на лифтовой колонне 26, чтобы действовать как последовательное полное сопротивление для электрического тока. Размер и материал ферромагнитного дросселя 42 можно менять с целью изменения величины последовательного полного сопротивления. Подвесное устройство 22 включает в себя изолированный участок 40, который электрически изолирует лифтовую колонну 26 от обсадной трубы 24 и от остальной части лифтовой колонны, расположенной выше поверхности 12. Секцию лифтовой колонны 26 между изолированным участком 40 и спущенным дросселем 42 можно рассматривать как канал электропитания и связи (см. также фиг.5). Спущенный дроссель 42 изготовлен из материала с высокой магнитной проницаемостью и установлен концентрически и снаружи лифтовой колонны 26. Дроссель 42 обычно изолируют, упаковывая в пластмассовую усадочную пленку, и могут укреплять эпоксидной смолой, чтобы противостоять грубому манипулированию.
Компьютер и источник питания 44, которые имеют линии 46 подачи электроэнергии и связи, расположены вне ствола 11 скважины на поверхности 12. Линии связи 46 проходят через линию 47 подачи под давлением, расположенную в подвесном устройстве 22, и электрически подсоединены к лифтовой колонне 26 ниже изолированного участка 40 подвесного устройства 22. Электроэнергия и сигналы связи подаются на лифтовую колонну 26 от компьютера и источника питания 44.
Рассмотрим фиг.2А и 2В, на которых дроссель 42 содержит тороидальный сердечник, расположенный концентрически с лифтовой колонной 26 и внутри кольцевого пространства 31 между лифтовой колонной 26 и обсадной трубой 24. Дроссель 42 функционирует, создавая противоэлектродвижущую силу в лифтовой колонне 26, который противодействует электродвижущей силе (эдс) от источника питания 44. Противоэлектродвижущую силу создают изменения потока магнитной индукции в дросселе, и в соответствии с законом электромагнитной индукции Фарадея эта эдс пропорциональна величине потока магнитной индукции и его скорости изменения во времени. Когда секции труб выше изолированного участка 40 и ниже спущенного дросселя 42 заземлены, противоэлектродвижущая сила, индуцируемая спущенным дросселем 42, противодействует передаче электроэнергии и сигналов связи в изменяющемся во времени токе через дроссель 42. Это эффективно формирует изолированную секцию лифтовой трубы между изолированным участком 40 и спущенным дросселем 42. Когда конструкция дросселя создает существенную степень изоляции, противоэлектродвижущая сила близка к величине приложенной эдс. Для той степени, когда противоэлектродвижущая сила меньше, чем приложенная эдс, разность этих двух сил позволяет току утечки протекать через секцию дросселя лифтовой трубы. Эта энергия теряется, но обязательна для работы дросселя, потому что поток магнитной индукции от этого тока утечки проходит через дроссель, который создает противоэлектродвижущую силу в секции дросселя. Таким образом, цель конструкции состоит в том, чтобы создать электрический дроссель, который производит противоэлектродвижущую силу от тока утечки настолько эффективно, насколько возможно.
На фиг.2А и 2В изображена основная конструкция дросселя и показаны переменные, используемые в анализе конструкции. Определяющие переменные и самосогласованный набор физических единиц представляют собой:
L – длина дросселя, метры;
а – внутренний радиус дросселя, метры;
b – внешний радиус дросселя, метры;
r – расстояние от оси дросселя, метры;
I – среднеквадратичное значение тока утечки через снабженную дросселем секцию трубы, амперы;
– угловая частота тока утечки, радианы в секунду; и
– абсолютная магнитная проницаемость материала дросселя при радиусе r, генри на метр.
По определению, =2 f, где f – частота в герцах. На расстоянии r от тока утечки (I) среднеквадратичное значение магнитного поля в свободном пространстве (Н), в амперах на метр, определяется выражением:
Н=I/2 r.
Магнитное поле (Н) является аксиально-симметричным относительно оси дросселя, и его можно наглядно представить в виде магнитных линий силы, образующих круги вокруг этой оси.
Для точки внутри материала дросселя среднеквадратичное значение магнитного поля (В), в теслах (веберы на квадратный метр), определяется выражением:
В= H= I/2 r.
Среднеквадратичное значение потока магнитной индукции (F), заключенного внутри тела дросселя, в веберах, определяется выражением:
F= B dS
где S – площадь поперечного сечения дросселя в квадратных метрах, как показано на фиг.2А, и интегрирование производится по площади S. Выполнение интегрирования от внутреннего радиуса дросселя (а) до внешнего радиуса дросселя (b) по длине дросселя (L) обеспечивает:
F= LI ln (b/a)/2
где ln – функция натурального логарифма. Напряжение противоэлектродвижущей силы, генерируемое магнитным потоком (F), в вольтах, определяется выражением:
V= F=2 f F = LIf ln(b/a).
Следует отметить, что противоэлектродвижущая сила (V) прямо пропорциональна длине (L) дросселя для постоянных величин а и b, внутреннего и внешнего радиусов ферритового элемента. Таким образом, изменяя длину (L) дросселя, можно генерировать любую требуемую противоэлектродвижущую силу (V) для данного тока утечки (I).
Электроэнергия может передаваться в определенном частотном диапазоне в пределах функциональной полосы частот, а сигналы связи могут передаваться в другом частотном диапазоне внутри той же самой функциональной полосы частот. Поскольку частота мощности переменного тока в общем ниже, чем частоты обеспечиваемой полосы частот связи, частота мощности переменного тока часто определяет нижнюю границу частотного диапазона, выше которой требуется электрическая изоляция. Поскольку электрическое полное сопротивление дросселя линейно растет с частотой, если дроссель обеспечивает соответствующее полное сопротивление на частоте мощности переменного тока, обычно оно будет также соответствующим на более высоких частотах, используемых для связи. Однако ферромагнитные материалы отличаются максимальной рабочей частотой, выше которой ферромагнитные свойства не демонстрируются. Таким образом, верхняя граница частот ферромагнитного материала, выбранного для конструкции дросселя, должна быть подходящей для обеспечения изоляции на верхней границе полосы частот канала связи.
Способ электрической изоляции секции лифтовой колонны, как показано на фиг.1, не является единственным способом обеспечения электроэнергии и сигналов связи для скважины. Вместо использования подвесного устройства 22 с изолированным участком 40, вокруг лифтовой колонны 26 можно расположить верхний ферромагнитный дроссель (не показанный). Точно так же, вместо спущенного ферромагнитного дросселя 42 можно использовать в скважине электроизоляционный соединитель. В показанном на фиг.1 предпочтительном варианте осуществления электроэнергия и сигналы связи подаются на лифтовую колонну 26 с электрическим обратным проводом, обеспечиваемым обсадной трубой 24. Вместо этого, электрический обратный провод можно было обеспечивать посредством заземления через землю. Электрическое подключение к заземлению через землю можно обеспечивать, пропуская провод через обсадную трубу 24 или подсоединяя провод к лифтовой колонне ниже спущенного дросселя 42 (если нижняя часть лифтовой колонны заземлена).
Альтернативный канал электроэнергии и связи можно обеспечить с помощью обсадной трубы 24. В конфигурации, аналогичной используемой с лифтовой колонной 26, часть обсадной трубы 24 можно электрически изолировать с целью обеспечения магистральной линии связи для передачи электроэнергии и сигналов связи в скважину. Если ферромагнитные дроссели использовать для изолирования части обсадной трубы, дроссели можно расположить концентрически вокруг внешней стороны обсадной трубы. Вместо использования дросселей с обсадной трубой 24, можно использовать электроизоляционные соединители подобно изолированному участку 40 подвесного устройства 22. В вариантах осуществления, использующих обсадную трубу 24 для подачи электроэнергии и сигналов связи в скважину, электрический обратный провод можно обеспечивать либо по лифтовой колонне 26, либо по заземлению через землю.
Внутри обсадной трубы 24 в скважине под спущенным дросселем 42 помещен пакер 48. Пакер 48 расположен над зоной 14 добычи и обеспечивает гидравлическую изоляцию между зоной 14 добычи и пространством скважины над ней. Пакер электрически соединяет металлическую лифтовую колонну 26 с металлической обсадной трубой 24. Как правило, электрическое соединение между лифтовой колонной 26 и обсадной трубой 24 не позволяет передавать или принимать электрические сигналы вверх и вниз по стволу 11 скважины, используя лифтовую колонну 26 в качестве одного проводника, а обсадную трубу 24 – в качестве другого проводника. Однако размещение изолированного участка 40 и спущенного ферромагнитного дросселя 42 создает электрически изолированную секцию лифтовой колонны 26, которая обеспечивает систему и способ передачи электроэнергии и сигналов связи вверх и вниз по стволу 11 газлифтной скважины 10.
Рассматривая снова фиг.1, отметим, что между изолированным участком 40 и спущенным ферромагнитным дросселем 42 к лифтовой колонне 26 электрически подсоединено множество скважинных устройств 50. Некоторые из скважинных устройств 50 включают в себя управляемые газлифтные клапаны. Другие скважинные устройства 50 могут содержать электронные модули, датчики, устройства связи (обычно широкополосные цифровые модемы) или обычные клапаны. Хотя передача электроэнергии и сигналов связи осуществляется по электрически изолированному участку лифтовой колонны, скважинные устройства 50 могут быть механически подсоединены выше или ниже спущенного дросселя 42.
Рассмотрим фиг.3А и 3В, на которых более подробно иллюстрируется установка одного из скважинных устройств (аналогичного скважинным устройствам 50 на фиг.1). Как упомянуто выше, обычные газлифтные клапаны сильфонного типа часто используются в газлифтных скважинах, чтобы впускать газ под давлением из кольцевого пространства 31 во внутреннюю часть лифтовой колонны 26. В настоящем изобретении какие-либо или все обычные клапаны можно заменять управляемыми газлифтными клапанами. На фиг.3А и 3В показан соответствующий настоящему изобретению управляемый клапан 220. Управляемый клапан 220 включает в себя корпус 222 и скользящим образом вводится в эксцентричную камеру 224 для газлифтных клапанов. Эксцентричная камера 224 для газлифтных клапанов включает в себя корпус 226, имеющий впускное окно 228 для газа и выпускное окно 230 для газа. Когда управляемый клапан 220 находится в открытом положении, впускное окно 228 для газа и выпускное окно 230 для газа обеспечивают связь текучей среды между кольцевым пространством 31 и внутренней частью лифтовой колонны 26. В закрытом положении управляемый клапан 220 предотвращает связь текучей среды между кольцевым пространством 31 и внутренней частью лифтовой колонны 26. В многочисленных промежуточных положениях, располагаемых между открытым и закрытым положениями, управляемый клапан 220 отмеряет количество газа, текущего из кольцевого пространства 31 в лифтовую колонну 26 через впускное окно 228 для газа и выпускное окно 230 для газа.
Шаговый двигатель 234 расположен внутри корпуса 222 управляемого клапана 220 для вращения шестерни 236. Шестерня 236 зацепляет червячный привод 238, который, в свою очередь, поднимает и опускает клетку 240. Когда клапан 220 находится в закрытом положении, клетка 240 зацепляет седло 242 с целью предотвращения протекания в отверстие 244, таким образом предотвращая протекание в клапан 220. Полагают, что эта конфигурация клапана “клетка” является предпочтительной конструкцией с точки зрения гидромеханики по сравнению с альтернативным вариантом осуществления конфигурации игольчатого клапана. Более конкретно, протекание текучей среды из впускного окна 228 мимо соединения клетки и седла (240, 242) позволяет точно регулировать поток текучей среды без чрезмерного износа из-за текучей среды механических поверхностей раздела. Специалистам в данной области техники должно быть понятно, что можно использовать конструкции игольчатых клапанов или другие конструкции клапанов.
Управляемый клапан 220 включает в себя головку 250 запорного клапана, расположенную внутри корпуса 222 ниже клетки 240. Впускное отверстие 252 и выпускное отверстие 254 взаимодействуют с впускным окном 228 для газа и выпускным окном 230 для газа, когда клапан 220 находится в открытом положении, чтобы обеспечить сообщение текучей среды между кольцевым пространством 31 и внутренней частью лифтовой колонны 26. Головка 250 запорного клапана гарантирует, что протекание текучей среды происходит, только когда давление текучей среды в кольцевом пространстве 31 превышает давление текучей среды во внутренней части лифтовой колонны 26.
Электронный модуль 256 расположен внутри корпуса управляемого клапана 220. Электронный модуль 256 оперативно подсоединен к клапану 220 для осуществления связи между поверхностью скважины и клапаном. Электронный модуль 256 содержит устройство связи с расширенным спектром для приема электроэнергии и передачи сообщений в лифтовую колонну 26, как описано выше. В дополнение к посылке сигналов на поверхность с целью сообщения о физическом состоянии в скважине электронный модуль может принимать команды с поверхности и регулировать эксплуатационные характеристики клапана 220.
Клапан 220 физически расположен ниже спущенного дросселя 42, но электрически подсоединен к лифтовой колонне 26 выше дросселя 42 с помощью навесного проводника 64. Заземляющий провод 66 электрически подсоединен между клапаном 220 и центратором 60 со спиральными пружинами, чтобы обеспечить электрический обратный провод для клапана 220. Центратор 60 со спиральными пружинами используется для центрирования лифтовой колонны 26 относительно обсадной трубы 24. При расположении в электрически изолированном участке лифтовой колонны 26 каждый центратор 60 со спиральными пружинами включает в себя изоляторы 62 из поливинилхлорида для обеспечения электрической изоляции обсадной трубы 24 от лифтовой колонны 26.
Рассмотрим фиг.4, на которой иллюстрируется альтернативная установка нескольких скважинных устройств (аналогичных скважинным устройствам 50 на фиг.1). Лифтовая колонна 26 включает в себя увеличенный карман в форме кольца, или коллектор 100, образованный на внешней части лифтовой колонны 26. Увеличенный карман 100 включает в себя корпус, который окружает и защищает управляемый газлифтный клапан 99 (показанный схематично) и электронный модуль 106. В этой монтажной конфигурации газлифтный клапан 9.9 и электронный модуль 106 жестко крепят к лифтовой колонне 26, и их нельзя вставлять и извлекать с помощью талевого каната. В качестве альтернативы, клапан 99 и электронный модуль 106 можно располагать в эксцентричной камере для установки клапанов (не показанной) так, чтобы устройства можно было легко вставлять и извлекать с помощью талевого каната. Заземляющий провод 102 (подобный заземляющему проводу 66 на фиг.3В) подводится через увеличенный карман 100 для подсоединения электронного модуля 106 к центратору 60 со спиральными пружинами, который заземлен на обсадную трубу 24. Электронный модуль 106 является внешним относительно клапана 99 и жестко прикреплен к лифтовой колонне 26 для получения сигналов связи и электроэнергии по навесному проводнику 104 электроэнергии и сигналов.
Управляемый клапан 99 включает в себя головку 108 клапана клетки с электроприводом и головку 110 запорного клапана, которые схематично показаны на фиг.4. Головка 108 клапана клетки и головка 110 запорного клапана работают способом, аналогичным работе клетки 240 и головки 250 запорного клапана фиг.3А. Головки 108, 110 клапанов взаимодействуют с целью управления сообщением текучей среды между кольцевым пространством 31 и внутренней частью лифтовой колонны 26.
Вместе с электронным модулем 106 используется множество датчиков для управления действием управляемого клапана 99 и газлифтной скважины 10. Датчики давления, типа производимых на фирме Three Measurements Specialties, Inc., можно использовать для измерения внутреннего давления лифтовой трубы, внутренних давлений корпуса коллектора и перепадов давления в газлифтных клапанах. При промышленной эксплуатации внутреннее давление коллектора рассматривается как ненужное. Датчик 112 давления жестко прикреплен к лифтовой колонне 26, чтобы считывать внутреннее давление лифтовой трубы текучей среды внутри лифтовой колонны 26. Датчик 118 давления установлен внутри кармана 100 для определения перепада давления в головке 108 клапана клетки. Как датчик 112 давления, так и датчик 118 давления независимо электрически подсоединены к электронному модулю 106 для получения электроэнергии и для передачи сигналов связи. Датчики 112, 118 давления установлены в коллекторе, чтобы противостоять серьезной вибрации, связанной с лифтовыми колоннами газлифта.
Температурные датчики, типа изготавливаемых на фирме Four Analog Devices, Inc. (например, LM-34), используются для измерения температуры текучей среды внутри лифтовой трубы, коллектора корпуса, силового трансформатора или источника электропитания. Температурный датчик 114 прикреплен к лифтовой колонне 26 для считывания внутренней температуры текучей среды внутри лифтовой колонны 26. Температурный датчик 114 электрически соединен с электронным модулем 106, который получает электроэнергию и передает сигналы связи. Температурные преобразователи, используемые в скважине, имеют номинальный диапазон от -50 до 300°F (по шкале Фаренгейта) и кондиционны посредством входной схемы от +5 до +255°F. Необработанное напряжение, образующееся на источнике электропитания в электронном модуле 106, делится в элементе резистивного делителя напряжения так, чтобы 25,5 В производили входной сигнал для аналогово-цифрового преобразователя, составляющий 5 В.
Датчик 116 минерализации также электрически связан с электронным модулем 106. Датчик 116 минерализации жестко и герметично соединен с корпусом увеличенного кармана 100 для считывания минерализации текучей среды в кольцевом пространстве 31.
Должно быть понятно, что альтернативные варианты осуществления, иллюстрируемые на фиг.3В и 4, могут включать в себя или исключать любое количество датчиков 112, 114, 116 или 118. Датчики, отличающиеся от показанных, также могут использоваться в любом из вариантов осуществления. Они могут включать в себя датчики манометрического давления, датчики абсолютного давления, датчики перепада давления, датчики объемной скорости потока, акустические волновые датчики лифтовой трубы, датчики положения клапана или множество других датчиков аналоговых сигналов. Точно так же следует отметить, что хотя показанный на фиг.3В электронный модуль 256 размещен внутри клапана 220, электронный модуль, подобный электронному модулю 106, может быть размещен с различными датчиками и использоваться независимо от управляемого клапана 220.
Рассмотрим теперь фиг.5, на которой показана эквивалентная электрическая схема для газлифтной скважины 10, и сравним ее с фиг.1. Компьютер и источник электропитания 44 включают в себя источник 120 электропитания переменного тока и модем 122, электрически подсоединенный между обсадной трубой 24 и лифтовой колонной 26. Как обсуждалось выше, электронный модуль 256 установлен внутренним образом в корпусе клапана, который можно вставлять и извлекать из скважины с помощью талевых канатов. Электронный модуль 106 независимо и перманентно монтируют в увеличенном кармане на лифтовой колонне 26.
Для целей эквивалентной электрической схемы фиг.5, важно обратить внимание, что электронные модули 256, 106 кажутся идентичными, оба модуля 256, 106 электрически подсоединены между обсадной трубой 24 и лифтовой колонной 26. Электронные модули 256, 106 могут содержать или не содержать различные компоненты и комбинации, типа датчиков 112, 114, 116, 118. Помимо этого, электронные модули могут быть или не быть неотъемлемой частью управляемого клапана. Каждый электронный модуль включает в себя силовой трансформатор 124 и преобразователь 128 данных. Преобразователь 128 данных электрически подсоединен к модему 130.
Компьютер и источник электропитания 44 также включают в себя поверхностный контроллер (на фиг.5 не показанный), который электрически подсоединен через поверхностное устройство связи (например, модем 122) и лифтовую колонну 26 и/или обсадную трубу 24 к устройству связи в скважине (например, к модему 130). Каждый модем 130 может осуществлять связь с модемом 122 либо непосредственно, либо с помощью ретрансляции через промежуточные устройства связи (содержащие, например, модемы, фильтры, преобразователи данных, усилители) для передачи сигнала, если требуется, чтобы произвести изменения в работе скважины. Например, находящийся на поверхности компьютер может получать измерения от различных источников, типа скважинных датчиков, измерения добычи нефти и измерения ввода сжатого газа в скважину (поток и давление). Используя такие измерения, компьютер может вычислять оптимальное положение управляемого газового клапана, более конкретно оптимальное количество газа, вводимого из кольцевого пространства 31 через каждый управляемый клапан в лифтовую колонну 26. Компьютер может управлять дополнительными параметрами, типа управления количеством сжатого газа, вводимого в скважину у поверхности, управления противодавлением на скважинах, управления пористым фриттированием или системой введения поверхностно-активного вещества для вспенивания нефти, и принимая измерения добычи и функционирования от различных других скважин в том же месторождении, оптимизировать добычу в месторождении или эксплуатационной зоне.
В зависимости от диапазона связи, который модемы 130 способны обеспечить при определенных состояниях скважины, передача данных датчиков и управления вверх и вниз по скважине может требовать, чтобы эти сигналы скорее передавались между модемами 130, чем проходили непосредственно с поверхности на выбранные скважинные устройства 50 (см. фиг.1). Этот способ ретрансляции можно применять и к обычным, и к многосторонним освоениям скважины.
Находящиеся в скважине модемы 130 предпочтительно размещены так, чтобы каждый мог осуществлять связь со следующими двумя модемами вверх по скважине и следующими двумя модемами вниз по скважине. Эта избыточность позволяет оперативно поддерживать связь даже в случае отказа одного из находящихся в скважине модемов 130.
Набор скважинных устройств 50, имеющий модемы 130, может обеспечивать постоянную магистральную линию связи, которая может быть частью инфраструктуры скважины. Такая магистральная линия связи может обеспечивать средства для измерения состояния в каждой части скважины и передавать данные в находящийся на поверхности компьютер или находящийся в скважине контроллер, а для компьютера передавать управляющие сигналы, чтобы открывать или закрывать скважинные клапаны, с целью установления противодавления, установления скорости нагнетания газа, регулирования объемной скорости потока и так далее. Этот уровень управления позволяет оптимизировать добычу из скважины в зависимости от критериев, которые могут динамически управляться по существу в реальном времени, а не фиксированы целью статической добычи. Например, оптимальным, при одном наборе экономических условий, может быть максимальный отбор из резервуара, но при других экономических условиях может быть выгодно изменить способ добычи посредством снижения до минимума стоимости отбора, используя для максимального эффекта транспортирующий газ (газ, применяемый для газлифта).
Рассмотрим фиг.6, на которой электронный модуль 106 показан более подробно. Хотя компоненты какого-либо конкретного электронного модуля могут изменяться, показанные на фиг.6 компоненты могут присутствовать в электронных модулях, размещаемых внутри корпуса клапана (типа электронного модуля 256), или электронных модулей, которые размещаются снаружи клапана. Усилители и формирователи 180 сигналов предусмотрены для приема входных сигналов от различных датчиков, типа температуры лифтовой трубы, температуры кольцевого пространства, давления в лифтовой трубе, давления в кольцевом пространстве, скорости потока транспортирующего газа, положения клапана, минерализации, перепада давления, акустических показаний и других. Некоторые из этих датчиков аналогичны датчикам 112, 114, 116 и 118, показанным на фиг.4. Какие-либо малошумящие операционные усилители предпочтительно сконфигурированы с неинвертирующими входами и несимметричными выходами (например, Linear Technology LT1369). Все усилители 180 запрограммированы с элементами усиления, предназначенными для преобразования рабочего диапазона входного сигнала от отдельного датчика в значащий 8-разрядный выходной сигнал. Например, входной сигнал давления в один фунт на квадратный дюйм произведет цифровой выходной сигнал, равный одному биту, 100 градусов температуры произведут цифровой выходной сигнал, равный 100 битам, а входной сигнал 12,3 В необработанного напряжения постоянного тока произведет выходной сигнал, равный 123 битам. Усилители 180 способны производить операцию, образуя выходной сигнал с размахом, равным напряжению питания.
Электронный модуль 106 электрически связан с модемом 122 через обсадную трубу 24 и лифтовую колонну 26. Переключатели 182 адресов предусмотрены для адресования конкретного устройства из модема 122. Как показано на фиг.6, 4 бита адресов могут селективно переключаться с целью образования верхних 4 битов полного 8-битового адреса. Нижних 4 бита заключают в себе и используются для адресования отдельных элементов внутри каждого электронного модуля 106. Таким образом, при использовании иллюстрируемой конфигурации шестнадцать модулей назначаются одному модему 122 в единственной линии связи. На основании этой конфигурации в одной линии связи может быть размещено до четырех модемов 122.
Электронный модуль 106 также включает в себя программируемый контроллер интерфейса (ПКИ) 170, который предпочтительно имеет основную тактовую частоту 20 МГц и скомпонован с 8 аналого-цифровыми входами 184 и 4 адресными входами 186. ПКИ 170 включает в себя последовательную систему связи транзисторно-транзисторного уровня (ТТУ), универсальный асинхронный приемопередатчик УАПП 188, а также интерфейс 190 контроллера двигателя. ПКИ 170 электрически соединен с модемом 171 (аналогичным модему 130 фиг.5), который связан с модемом 122.
Электронный модуль 106 также содержит источник 166 электропитания. Шина питания номинального напряжения 6 В переменного тока подведена к источнику 166 электропитания по лифтовой колонне 26. Источник 166 электропитания преобразовывает эту электроэнергию в напряжение плюс 5 В постоянного тока на клемме 192, минус 5 В постоянного тока на клемме 194 и плюс 6 В постоянного тока на клемме 196. Также показана клемма 198 заземления. Преобразованная электроэнергия используется различными элементами в электронном модуле 106.
Хотя связи между источником 166 электропитания и компонентами электронного модуля 106 не показаны, источник 166 электропитания электрически подсоединен к следующим компонентам для обеспечения определенной электроэнергии. ПКИ 170 использует напряжение плюс 5 В постоянного тока, в то время как модем 171 использует напряжение плюс 5 В и минус 5 В постоянного тока. Двигатель 199 (аналогичный шаговому двигателю 234 на фиг.3А) снабжается напряжением плюс 6 В постоянного тока от клеммы 196. Источник 166 электропитания содержит повышающий преобразователь для преобразования номинального напряжения 6 В переменного тока в напряжение 7,5 В переменного тока. Это напряжение 7,5 В переменного тока затем выпрямляется в двухполупериодной мостовой схеме, давая напряжение 9,7 В нерегулируемого постоянного тока. Трехклеммные регуляторы обеспечивают регулируемые выходные сигналы на клеммах 192, 194 и 196, которые подвергаются сильной фильтрации и защите с помощью реверсивной схемы эдс. Модем 171 является главным потребителем электроэнергии в электронном модуле 165 и обычно использует при передаче 350 + миллиампер с напряжением плюс/минус 5 В постоянного тока.
Модем 171 представляет собой цифровой широкополосный модем, имеющий набор микросхем высокочастотной связи по линии электропередач IC/SS, типа моделей EG ICS1001, ICS1002 и ICS1003, изготавливаемых на фирме National Semiconductor. Модем 171 способен работать на скоростях передачи данных 300-3200 бод на несущих частотах в диапазоне от 14 кГц до 76 кГц. Патент США №5488593 описывает набор микросхем более подробно и включен здесь путем ссылки. Существуют альтернативные выполнения подходящих модемов, основанные на различных принципах передачи, как широкополосных, так и узкополосных, которые являются коммерчески доступными и которые являются подходящими для цели обеспечения двусторонних связей между модемами.
Контроллер ПКИ 170 управляет работой шагового двигателя 199 через контроллер 200 шагового двигателя, типа модели SA1042, изготавливаемой фирмой Motorola. Контроллеру 200 требуется только направленная информация и простые синхронизирующие импульсы от ПКИ 170 для приведения в действие шагового двигателя 199. Начальная настройка контроллера 200 определяет все элементы для начального действия в известных состояниях. Шаговый двигатель 199, предпочтительно червячная головка (головка механизма) MicroMo, располагает головку 201 клапана клетки (аналогичной клетке 240 на фиг.3А), которая является основным действующим компонентом управляемого газлифтного клапана. Шаговый двигатель 199 обеспечивает вращающий момент 0,4 дюйма-унции и может приводиться в действие со скоростью до 500 шагов в секунду. Полный оборот шагового двигателя 199 состоит из 24 отдельных шагов, и червячная головка обеспечивает механическое редуцирование 989:1, обеспечивая максимальную скорость 1 оборот в минуту на выходном валу червячной головки с вращающим моментом 24 дюйма-фунта, что является более чем достаточным для того, чтобы опускать и поднимать клапан 201. Хотя этот иллюстративный пример подходящего варианта осуществления основан на использовании шагового двигателя, важно обратить внимание, что существуют альтернативные способы электронного управления, подходящие для других типов двигателей, многие из которых могут оказаться подходящими для управления степенью открытия клапана 201.
ПКИ 170 осуществляет связь через цифровой модем 171 с модемом 122 через обсадную трубу 24 и лифтовую колонну 26. ПКИ 170 использует протокол связи MODBUS 584/985 PLC. Протокол кодируется для передачи посредством ASCII (американского стандартного кода обмена информацией).
Действие
Для большой доли искусственно поднимаемой добываемой нефти сегодня используется газлифт, чтобы помогать доставлять нефть из резервуара к поверхности. В таких газлифтных скважинах сжатый газ вводится в скважину снаружи лифтовой трубы, обычно в кольцевое пространство между обсадной трубой и лифтовой трубой, и механические газлифтные клапаны допускают проникновение газа в секцию лифтовой трубы, таким образом индуцируя повышение столба флюида внутри лифтовой трубы к поверхности. Как было описано выше, обычные механические газлифтные клапаны ненадежны из-за утечки и отказов. Такие утечки и отказы не легко обнаружить на поверхности, и они, вероятно, снижают эффективность добычи из скважины на величину порядка 15 процентов из-за более низких дебитов и более высоких требований к полевым системам подачи газа под давлением, применяемым для газлифта.
Беспроводная магистральная линия связи по настоящему изобретению обеспечивает систему для контроля и управления работой газлифтной скважины. Помещая скважинные устройства, типа датчиков, электронных модулей, управляемых газлифтных клапанов и модемов, на лифтовую колонну скважины, можно осуществлять точный контроль и изменения в скважине с целью повышения эффективной добычи. Каждое из отдельных скважинных устройств индивидуально адресуется через беспроводную связь по лифтовой трубе и обсадной трубе. То есть модем на поверхности и связанный с ним контроллер осуществляют связь с множеством находящихся в скважине модемов. Когда находящийся на поверхности модем связывается с конкретным находящимся в скважине модемом, другие модемы в скважине могут действовать как промежуточные звенья, при необходимости передавая сигналы. Датчики сообщают о таких измерениях, как давление лифтовой трубы в скважине, давление в обсадной колонне в скважине, температуры лифтовой трубы и обсадной трубы в скважине, объемные скорости потока газа, применяемого для газлифта, положение газового клапана и акустические данные (см. фиг.4, датчики 112, 114, 116 и 118). Находящийся на поверхности компьютер (размещенный либо в устьевом отверстии скважины, либо в центре действующего промысла) непрерывно объединяет и анализирует скважинные данные, а также данные с поверхности, с целью вычисления профиля распределения давления лифтовой трубы в реальном времени. На основании этих данных вычисляется оптимальная объемная скорость потока газлифта для каждого управляемого газлифтного клапана. В качестве альтернативы, датчики могут сообщать свои измерения через находящиеся в скважине модемы повторителя в контроллер, связанный с газлифтным клапаном, чтобы аналогичным образом управлять действием клапана для получения оптимальных или требуемых объемных скоростей потока.
В дополнение к управлению объемными скоростями потока скважины, можно управлять добычей, чтобы производить оптимальное состояние потока текучей среды. Можно избегать нежелательных состояний, типа “подъема уровня в скважине” и “пробкового течения”. Как было упомянуто выше, можно достигать и поддержать оптимальный режим потока, соответствующий требуемому текущему дебиту скважины. Благодаря возможности быстро определять нежелательные состояния потока в скважине, можно управлять добычей так, чтобы избегать таких нежелательных состояний. Быстрое обнаружение компьютером на поверхности состояний потока позволяет компьютеру корректировать любые проблемы потока посредством регулирования таких факторов, как положение управляемого газлифтного клапана, скорость нагнетания газа, противодавление в лифтовой трубе около устьевого отверстия скважины и даже введение поверхностно-активного вещества.
Даже при том, что многие из обсуждавшихся здесь примеров являются применениями настоящего изобретения в нефтяных скважинах, настоящее изобретение также можно применять к другим типам скважин, включая, но не ограничиваясь этим, водозаборные скважины и скважины природного газа.
Специалистам в данной области техники должно быть понятно, что настоящее изобретение можно применять во многих областях, где требуется обеспечить управляемый клапан внутри наклонной скважины, буровой скважины или любой другой области, которая является трудной для доступа. Кроме того, специалистам в данной области техники должно быть понятно, что настоящее изобретение можно применять во многих областях, где уже существует проводящая система трубопроводов и имеется потребность в трассировании электроэнергии и системы связи с управляемым клапаном тем же самым или аналогичным путем, как проходит система трубопроводов. Система или сеть разбрызгивания воды в здании для тушения пожаров представляет собой пример системы трубопроводов, которая может уже существовать и может иметь тот же самый или подобный путь, который требуется для трассирования электроэнергии и системы связи с управляемым клапаном. В таком случае в качестве электрического обратного провода можно использовать другую систему трубопроводов или другую часть той же самой системы трубопроводов.
Формула изобретения
1. Нефтяная скважина, имеющая проходящий в землю ствол скважины и электропроводную систему трубопроводов, расположенную в стволе скважины, в котором один или более электронных модулей, предназначенных для считывания или управления физической характеристикой в стволе скважины или в непосредственной близости к нему, электрически подсоединены к участку системы трубопроводов для беспроводного приема изменяющегося во времени электрического сигнала, прикладываемого к участку системы трубопроводов, и приведения в действие указанным сигналом, по меньшей мере, одного из упомянутых модулей, и имеющая электрический дроссель, расположенный концентрически c внешней стороны участка системы трубопроводов в непосредственной близости от него для трассирования изменяющегося во времени сигнала внутри указанного участка, отличающаяся тем, что, по меньшей мере, один электронный модуль электрически подключен к участку системы трубопроводов выше электрического дросселя, который выполнен с возможностью действия в качестве последовательного полного сопротивления на частотах передачи мощности и в полосе частот канала связи электрического сигнала, протекающего по указанному участку трубопровода.
2. Нефтяная скважина по п.1, отличающаяся тем, что участок системы трубопроводов представляет собой эксплуатационную лифтовую колонну, которая окружена заполненным текучей средой кольцевым пространством и обсадной колонной.
3. Нефтяная скважина по п.1, отличающаяся тем, что дополнительно содержит компьютер и источник питания, которые выполнены с возможностью приложения изменяющегося во времени электрического сигнала к участку системы трубопроводов для передачи информации.
4. Нефтяная скважина по п.1, отличающаяся тем, что электронный модуль является датчиком для считывания физической характеристики в стволе скважины – температуры, давления или акустической характеристики.
5. Нефтяная скважина по п.1, отличающаяся тем, что электронный модуль является клапаном, выполненным с возможностью работы при получении сигнала, прикладываемого к системе трубопроводов.
6. Нефтяная скважина по п.1, отличающаяся тем, что нефтяная скважина является газлифтной скважиной, система трубопроводов включает в себя лифтовую трубу, а один электронный модуль представляет собой управляемый газлифтный клапан, подсоединенный к лифтовой трубе с возможностью регулировки потока текучей среды между внутренней и внешней частями лифтовой трубы.
7. Нефтяная скважина по п.1, отличающаяся тем, что содержит множество электронных модулей, каждый из которых выполнен с возможностью посылки и приема сигналов связи для сообщения с другими электронными модулями в различных областях скважины.
8. Нефтяная скважина по любому из пп.1, 4 и 5, отличающаяся тем, что содержит контроллер и некоторые из модулей, являющихся датчиками, и, по меньшей мере, один электронный модуль, являющийся клапаном, соединенные таким образом, что действие клапана определяется контроллером, основывающимся на входном сигнале от датчиков.
9. Способ работы ствола нефтяной скважины, имеющей электропроводную систему трубопроводов, расположенную в стволе скважины, проходящем в землю, включающий прикладывание изменяющегося во времени электрического сигнала к участку системы трубопроводов и беспроводный прием указанного сигнала одним или больше электронными модулями, которые электрически подсоединяют к участку системы трубопроводов, чтобы оказать влияние на работу, по меньшей мере, одного электронного модуля, и в котором электрический дроссель располагают концентрически с внешней стороны участка системы трубопроводов в непосредственной близости от него для трассирования изменяющегося во времени сигнала внутри системы трубопроводов, отличающийся тем, что, по меньшей мере, один электронный модуль электрически подсоединяют к участку системы трубопроводов выше электрического дросселя, который выбирают таким, чтобы он действовал в качестве последовательного полного сопротивления на частотах передачи мощности и в полосе частот канала связи электрического сигнала, протекающего по упомянутому участку системы трубопроводов.
10. Способ по п.9, отличающийся тем, что считывают физическую характеристику – температуру, давление или акустические данные – по меньшей мере, одним из электронных модулей, являющихся соответствующим датчиком, и передают считанную физическую характеристику по участку системы трубопроводов.
11. Способ по п.9, отличающийся тем, что изменяющийся во времени сигнал электроэнергии и изменяющийся во времени сигнал связи прикладывают к участку системы трубопроводов и осуществляют передачу электроэнергии и связь со множеством электронных модулей.
12. Способ по п.9, отличающийся тем, что выполняют нефтяную скважину в виде газлифтной нефтяной скважины и выполняют, по меньшей мере, один электронный модуль в виде управляемого клапана и осуществляют связь с клапаном и регулирование потока текучей среды через клапан.
13. Способ по п.12, отличающийся тем, что управляют вводом газлифтного газа и/или скоростью потока газлифта.
РИСУНКИ
|
|