|
|
(21), (22) Заявка: 2004113033/03, 27.04.2004
(24) Дата начала отсчета срока действия патента:
27.04.2004
(30) Конвенционный приоритет:
28.04.2003 US 10/424,698
(43) Дата публикации заявки: 27.10.2005
(45) Опубликовано: 10.04.2006
(56) Список документов, цитированных в отчете о поиске:
SU 1712583 A1, 15.02.1992. SU 1097776 A, 15.06.1984. SU 133441 A, 01.01.1960. RU 2125643 C1, 27.01.1999. US 5655745 A, 12.08.1997. US 5897094 A, 27.04.1999.
Адрес для переписки:
129010, Москва, ул. Б.Спасская, 25, стр.3, ООО “Юридическая фирма Городисский и Партнеры”, пат.пов. Г.Б. Егоровой
|
(72) Автор(ы):
БЕРКЕНХОФФ Майкл Уэйн (US), ХЭМПХИЛЛ Эдвард Райан (US), ХОЛЛЭНД Уилльям Райнхарт (US)
(73) Патентообладатель(и):
ХАЙДРИЛ КОМПАНИ (US)
|
(54) БЛОКИРОВОЧНЫЙ МЕХАНИЗМ КРЫШКИ ДЛЯ ПРОТИВОВЫБРОСОВОГО ПРЕВЕНТОРА (ВАРИАНТЫ)
(57) Реферат:
Изобретение относится к нефтяной и газовой промышленности, а именно к противовыбросовым превенторам. Обеспечивает усовершенствование соединения крышек превентора. Сущность изобретения: блокировочный механизм содержит расположенные между крышкой и корпусом противовыбросового превентора радиальный замок с фиксатором, имеющим прямую поверхность, устройство смещения радиального замка и, по меньшей мере, один привод замка, в рабочем положении соединенный с устройством смещения радиального замка. Последнее приспособлено для смещения радиального замка и создания запирающего взаимодействия между крышкой и корпусом противовыбросового превентора при взаимодействии фиксатора с этим корпусом. Согласно второму варианту фиксатор имеет наклонную поверхность и выполнен с возможностью защелкивания. 2 н. и 1 з.п.ф-лы, 37 ил. 
Настоящее изобретение относится в целом к противовыбросовым превенторам, используемым в нефтяной и газовой промышленности. В частности, изобретение относится к блокировочному механизму крышки противовыбросового превентора.
Управление скважиной является важным аспектом при поиске нефти и газа. При бурении скважины, например при разведке нефти и газа, устройства должны размещаться на месте таким образом, чтобы предотвращать повреждение персонала и оборудования, связанного с буровыми работами. Одно такое устройство управления скважиной известно как противовыбросовый превентор.
Противовыбросовые превенторы обычно используют для уплотнения скважины. Например, бурение скважин при разведке нефти или газа включает проходку различных подземных геологических структур или “пластов”. Каждый пласт обычно содержит определенную геологическую структуру, например, такую как глинистый сланец, песчаник, известняк и т.д. Каждый пласт может содержать захваченные жидкости или газ, находящиеся под разными пластовыми давлениями, и пластовые давления возрастают при увеличении глубины. Давление в стволе скважины, в типичном случае, регулируют для получения, по меньшей мере, баланса пластового давления посредством увеличения плотности бурового раствора в стволе скважины или давления нагнетания на поверхности.
В ходе буровых операций происходят случаи, когда ствол скважины может пройти пласт, в котором пластовое давление существенно выше давления, поддерживаемого в стволе скважины. Такие происшествия называют “выбросами в стволе скважины”. Возрастание давления, связанное с выбросом, обычно производится притоком пластовых текучих сред (которые могут быть жидкостью, газом или их комбинацией) в ствол скважины. Выброс с относительно высоким давлением имеет тенденцию распространения от точки входа вверх по стволу скважины (от района высокого давления в район низкого давления). Если выбросу дать возможность достичь поверхности, буровой раствор, скважинные инструменты и другие буровые конструкции могут быть выброшены из ствола скважины. Эти “выбросы” часто приводят к катастрофическому разрушению бурового оборудования (включая, например, буровую установку) и к значительному числу случаев телесных повреждений и гибели персонала буровых установок.
В связи с риском выбросов, в типичном случае, на поверхности земли или на морском дне в глубоководных вариантах бурения устанавливают противовыбросовые превенторы, благодаря которым выбросы можно адекватно контролировать и “отводить” из системы. Противовыбросовые превенторы могут действовать для эффективного уплотнения ствола скважины, пока не потребуются активные действия для контроля выброса. Существует несколько типов противовыбросовых превенторов, наиболее распространенными из которых являются универсальные противовыбросовые превенторы и плашечные противовыбросовые превенторы.
Универсальные противовыбросовые превенторы, в типичном случае, содержат кольцевые эластомерные “пакеры”, которые можно приводить в действие (например, накачивать) для инкапсуляции бурильной трубы и скважинных инструментов и полного уплотнения ствола скважины. Вторым типом противовыбросовых превенторов является плашечный противовыбросовый превентор. Плашечные противовыбросовые превенторы, в типичном случае, содержат корпус и, по меньшей мере, две расположенные друг против друга крышки. Крышки обычно прикреплены к корпусу по их окружности, например, болтами. В альтернативном варианте крышки можно прикреплять к корпусу шарниром и болтами таким образом, чтобы крышка могла поворачиваться в сторону для получения доступа для технического обслуживания.
Внутри каждой крышки расположена приводимая в действие поршнем плашка. Плашки могут быть либо трубными плашками (которые при приведении в действие входят в контакт с бурильными трубами и скважинными инструментами и окружают их для уплотнения ствола скважины), либо срезающими плашками (которые при приведении в действие входят в контакт с любыми бурильными трубами или скважинными инструментами в стволе скважины и физически срезают их). В типичном случае, плашки располагаются против друг друга и, как трубные плашки, так и срезающие плашки, они обычно создают уплотнение относительно друг друга приблизительно в центре ствола скважины для полного закупоривания ствола скважины.
Как и любой инструмент, используемый при бурении нефтяных и газовых скважин, противовыбросовые превенторы необходимо регулярно обслуживать. Например, противовыбросовые превенторы содержат уплотнения высокого давления между крышками и корпусом противовыбросового превентора. Во многих случаях уплотнения высокого давления являются эластомерными уплотнениями. Эластомерные уплотнения необходимо регулярно проверять, чтобы убедиться в том, что эластомер не срезан, не подвергся остаточной деформации или не поврежден, например, химической реакцией с буровым раствором в стволе скважины. Кроме того, часто бывает желательно заменить трубные плашки срезающими плашками или, наоборот, для обеспечения разных возможностей управления скважиной. Таким образом, важно, чтобы противовыбросовый превентор имел крышки, которые можно легко снимать для получения доступа к внутренним компонентам, таким как плашки и уплотнения, для их обслуживания.
Разработка противовыбросовых превенторов, которые легко обслуживать, является трудной задачей. Например, как отмечалось выше, крышки, в типичном случае, соединяют с корпусом противовыбросового превентора болтами или комбинацией из шарнира и болтов. Болты должны быть затянуты с большим крутящим моментом для поддержания уплотнения между дверцей крышки и корпусом противовыбросового превентора. Уплотнение между крышкой и корпусом противовыбросового превентора обычно является торцевым уплотнением, и уплотнение должно быть способным выдерживать очень высокие давления, существующие в стволе скважины.
В результате для установки и демонтажа дверок крышек и крышек для получения доступа внутрь корпуса противовыбросового превентора требуются специальные инструменты и оборудование. Время, требуемое для завинчивания и отвинчивания болтов, соединяющих дверцы крышек с корпусом противовыбросового превентора, составляет время простоя буровой установки, что повышает затраты и снижает эффективность работы. Кроме того, обычно требуются довольно большие болты и почти полный “круг болтов” по окружности дверцы крышки для обеспечения достаточной силы для удерживания дверцы крышки на корпусе противовыбросового превентора. Размер болтов и круг болтов может увеличивать “высоту блока” противовыбросовых превенторов. Распространенной практикой является использование “блока” противовыбросовых превенторов (когда несколько противовыбросовых превенторов устанавливают в вертикальной конфигурации), и при проведении буровых операций желательно минимизировать высоту блока.
Было предпринято несколько попыток уменьшить высоту блока и сократить время, требуемое для получения доступа внутрь противовыбросового превентора. Патент США № 5655745 описывает приводимый в действие давлением носитель уплотнения, который устраняет необходимость в торцевом уплотнении между дверцей крышки и корпусом противовыбросового превентора. Противовыбросовый превентор, показанный в патенте № 5655745, позволяет использовать меньшее количество меньших болтов в неполном круге болтов для прикрепления крышки к корпусу. Кроме того, патент № 5655745 указывает, что вместо, по меньшей мере, части болтов можно использовать шарнир.
Патент США № 5897094 описывает усовершенствованное соединение дверцы противовыбросового превентора, которое включает верхний и нижний соединительные стержни для прикрепления крышек к противовыбросовому превентору. В усовершенствованном соединении дверцы противовыбросового превентора, соответствующем патенту № 5897094, не используют болты для прикрепления крышек к противовыбросовому превентору, и патент описывает конструкцию, которая предназначена для минимизации высоты блока противовыбросовых превенторов.
В авторском свидетельстве 1712583 от 15.02.1992 раскрыт механизм крепления крышки, содержащий патрубок, в котором размещены отдельные секторы, каждый из которых снабжен приводом, включающим винт и гайку. Винт установлен в патрубке на подшипниках и закреплен крышкой. Гайка установлена в Т-образном пазе отдельного сектора. Отдельные сегменты установлены в крышке и их ход ограничивается болтами с пружинами. Патрубок закреплен на крышке с помощью опорных шпилек и гаек.
Для закрепления крышки в корпусе превентора винт вращается по часовой стрелке и через гайку, установленную в Т-образном пазе отдельного сектора, перемещает его вниз, выдвигая при этом контактирующий с ним отдельный сегмент, который входит в канавку корпуса и фиксирует в нем крышку. При этом пружина сжимается, а ограничительный болт радиально заходит в паз отдельного сектора. Для полного закрепления крышки в корпусе аналогичная операция проводится с остальными винтами.
Техническим результатом настоящего изобретения является создание блокировочного механизма крышки противовыбросового превентора, обеспечивающего уменьшение высоты блока противовыбросовых превенторов.
Этот технический результат достигается тем, что блокировочный механизм крышки для противовыбросового превентора содержит расположенные между крышкой и корпусом противовыбросового превентора радиальный замок с фиксатором, имеющим прямую поверхность, устройство смещения радиального замка и, по меньшей мере, один привод замка, в рабочем положении соединенный с устройством смещения радиального замка, которое приспособлено для смещения радиального замка и создания запирающего взаимодействия между крышкой и корпусом противовыбросового превентора при взаимодействии фиксатора с этим корпусом.
Указанный технический результат достигается и тем, что блокировочный механизм крышки для противовыбросового превентора содержит расположенные между крышкой и корпусом противовыбросового превентора радиальный замок с фиксатором, имеющим прямую поверхность, устройство смещения радиального замка и, по меньшей мере, один привод замка, в рабочем положении соединенный с устройством смещения радиального замка, которое приспособлено для смещения радиального замка и создания запирающего взаимодействия между крышкой и корпусом противовыбросового превентора при взаимодействии фиксатора с этим корпусом.
Согласно второму варианту блокировочный механизм крышки для противовыбросового превентора содержит расположенные между крышкой и корпусом противовыбросового превентора замок с фиксатором, имеющим наклонную поверхность и выполненным с возможностью защелкивания и фиксации крышки, привод замка, соединенный в рабочем положении с фиксатором и обеспечивающий при установке крышки перемещение фиксатора в направлении корпуса противовыбросового превентора до запирающего взаимодействия с наклонной поверхностью, выполненной в корпусе противовыбросового превентора.
Фиксатор может содержать соответствующую выемку в форме ласточкина хвоста, а привод замка соединен с фиксатором осью, имеющей выступ в форме ласточкина хвоста, размещенный в указанной выемке.
Далее приводится более подробное описание изобретения со ссылками на прилагаемые чертежи, на которых изображено следующее:
фиг.1 изображает частичное сечение и перспективный вид с пространственным разделением деталей противовыбросового превентора согласно одному варианту осуществления изобретения;
фиг.2 – увеличенный вид части противовыбросового превентора, показанного на фиг.1;
фиг.3 – вариант выполнения устройства смещения радиального замка;
фиг.4 – другой вариант выполнения устройства смещения радиального замка;
фиг.5 – вариант осуществления изобретения, показывающий радиальный замок, закрепленный относительно части крышки;
фиг.6 – вариант выполнения радиального замка, содержащего две половины;
фиг.7 – вариант выполнения радиального замка, содержащего четыре сегмента;
фиг.8 – вариант выполнения радиального замка, содержащего множество сегментов;
фиг.9 – вариант выполнения змеевидного радиального замка с надрезами;
фиг.10 – вариант выполнения блокировочного механизма, используемого в варианте осуществления изобретения;
фиг.11 – вариант выполнения блокировочного механизма, используемого в варианте осуществления изобретения;
фиг.12 – вариант выполнения блокировочного механизма, используемого в варианте осуществления изобретения;
фиг.13 – вариант выполнения уплотнения высокого давления, используемого в варианте осуществления изобретения;
фиг.14 – вариант выполнения уплотнения высокого давления, используемого в варианте осуществления изобретения;
фиг.15 – вариант выполнения уплотнения высокого давления, используемого в варианте осуществления изобретения;
фиг.16 – вариант выполнения уплотнения высокого давления, используемого в варианте осуществления изобретения;
фиг.17 – вариант выполнения уплотнения высокого давления, используемого в варианте осуществления изобретения;
фиг.18 – вариант осуществления изобретения, в котором радиальный замок расположен в выемке в боковом проходе корпуса противовыбросового превентора;
фиг.19 – вариант выполнения радиального замка, содержащего две половины;
фиг.20 – вариант выполнения радиального замка, содержащего четыре сегмента;
фиг.21 – вариант выполнения радиального замка, содержащего множество надрезов;
фиг.22 – вариант выполнения радиального замка, содержащего ступенчатые надрезы;
фиг.23 – перспективный вид сбоку варианта выполнения поворотного скользящего держателя, используемого в варианте осуществления изобретения;
фиг.24 – перспективный вид спереди варианта выполнения поворотного скользящего держателя, используемого в варианте осуществления изобретения;
фиг.25 – перспективный вид сверху варианта выполнения поворотного скользящего держателя, используемого в варианте осуществления изобретения;
фиг.26 – перспективный вид одного варианта выполнения блокировочного механизма крышки;
фиг.27А – поперечное сечение варианта выполнения блокировочного механизма крышки в разблокированном положении;
фиг.27В – поперечное сечение варианта выполнения блокировочного механизма крышки в блокированном положении;
фиг.28А – поперечное сечение варианта выполнения соединения между запирающим фиксатором и валом;
фиг.28В – поперечное сечение другого варианта выполнения соединения между запирающим фиксатором и валом;
фиг.29 – перспективный вид варианта выполнения дверцы крышки;
фиг.30А – поперечное сечение варианта выполнения блокировочного механизма крышки в разблокированном положении;
фиг.30В – поперечное сечение варианта выполнения блокировочного механизма крышки в блокированном положении;
фиг.31 – поперечное сечение варианта выполнения блокировочного механизма крышки в разблокированном положении;
фиг.32 – поперечное сечение варианта выполнения блокировочного механизма крышки в блокированном положении;
фиг.33А – вид спереди варианта выполнения блокировочного механизма крышки;
фиг.33В – вид сверху варианта выполнения вставного фиксатора;
фиг.33С – поперечное сечение варианта выполнения вставного фиксатора в запирающем положении;
фиг.34А – поперечное сечение варианта выполнения блокировочного механизма крышки в разблокированном положении;
фиг.34В – поперечное сечение варианта выполнения блокировочного механизма крышки в блокированном положении;
фиг.35А – поперечное сечение варианта выполнения блокировочного механизма крышки в разблокированном положении;
фиг.35В – поперечное сечение варианта выполнения блокировочного механизма крышки в блокированном положении;
фиг.36А – вид сбоку варианта выполнения блокировочного механизма крышки в блокированном положении;
фиг.36В – вид сверху варианта выполнения блокировочного механизма крышки в блокированном положении;
фиг.36С – вид сверху варианта выполнения блокировочного механизма крышки в блокированном положении;
фиг.37А – поперечное сечение варианта выполнения блокировочного механизма крышки в разблокированном положении;
фиг.37В – поперечное сечение варианта выполнения блокировочного механизма крышки в блокированном положении.
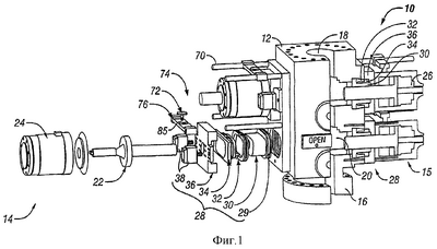
На фиг.1 показан вариант осуществления изобретения. Плашечный противовыбросовый превентор 10 содержит корпус 12 противовыбросового превентора, расположенные против друг друга узлы 14 крышек. Корпус 12 противовыбросового превентора также содержит соединения 16 (которые могут представлять собой, например, фланцы) на верхней поверхности и на нижней поверхности корпуса 12 для соединения противовыбросового превентора 10 с другим противовыбросовым превентором или со скважинным инструментом. Корпус 12 содержит проходящий сквозь него внутренний канал 18 для прохождения буровых растворов, бурильной трубы, скважинных инструментов и т.п., используемых при бурении, например, нефтяной или газовой скважины. Корпус 12 также содержит множество боковых проходов 20, при этом каждый из множества боковых проходов 20 обычно приспособлен для соединения с узлом 14 крышки.
Узлы 14 крышек соединяют с корпусом 12 обычно противоположными парами, как показано на фиг.1. Каждый узел 14 крышки также содержит множество компонентов, приспособленных для уплотнения узла 14 крышки относительно корпуса 12 и для приведения в действие поршня 22 плашки в каждом узле 14 крышки. Компоненты узлов 14 крышек содержат проходящие сквозь них проходы для движения поршня 22 плашки.
Каждый узел 14 крышки в целом содержит подобные компоненты. Поскольку каждый узел 14 крышки является отдельной и самостоятельной частью противовыбросового превентора 10, работа и конструкция каждого узла 14 крышки подобны. Соответственно для упрощения описания работы противовыбросового превентора 10 и узлов 14 крышек будут подробно описаны компоненты и работа одного узла 14 крышки. Следует понимать, что каждый узел 14 крышки работает подобным образом и что, например, противоположные узлы 14 крышек, в типичном случае, работают в координации друг с другом.
Продолжая описание работы узла 14 крышки, отметим, что поршень 22 приспособлен для соединения с плашкой (не показана), которая может быть, например, трубной плашкой или срезающей плашкой. Каждый поршень 22 плашки соединен с цилиндром 24 привода плашки таким образом, что он приспособлен для перемещения поршня 22 плашки в осевом направлении внутри узла 14 крышки в целом перпендикулярно оси корпуса 12 противовыбросового превентора, при этом ось корпуса 12 противовыбросового превентора в целом образована вертикальной осью внутреннего канала 18 (который в целом проходит параллельно оси ствола скважины). Плашку (не показана) обычно соединяют с поршнем 22 плашки, и если плашки (не показаны) являются срезающими плашками, осевое перемещение поршня 22 плашки перемещает плашку (не показана) во внутренний канал 18 и в контакт с соответствующей плашкой (не показана), соединенной с поршнем 22 плашки в узле 14 крышки, расположенном на противоположной стороне противовыбросового превентора 10.
В альтернативном варианте выполнения, если плашки (не показаны) являются трубными плашками, осевое перемещение поршня плашки вызывает перемещение плашки (не показана) во внутренний канал 18 и в контакт с соответствующей плашкой (не показана) и с бурильной трубой и/или скважинными инструментами, находящимися в стволе скважины. Таким образом, приведение в действие цилиндра 24 привода плашки вызывает смещение поршня 22 плашки и движение плашки (не показана) в положение блокирования потока бурового раствора и/или пластового флюида через внутренний канал 18 корпуса 12 противовыбросового превентора и при этом формирует уплотнение высокого давления, которое предотвращает прохождение текучей среды в ствол скважины или из ствола скважины (не показан).
Цилиндр 24 привода плашки также содержит привод 26, который может быть, например, гидравлическим приводом. Однако в данной области техники известны другие типы приводов, которые могут использоваться в рамках настоящего изобретения. Следует отметить, что в данном описании изобретения термином “текучая среда” могут быть обозначены газ, жидкость или их комбинация.
Если плашкой (не показана) является трубная плашка, приведение в действие поршня 22 плашки вызывает движение плашки (не показана) в положение, в котором она создает уплотнение вокруг бурильной трубы (не показана) или скважинных инструментов (не показаны), проходящих через внутренний канал 18 в корпусе 12 противовыбросового превентора. Кроме того, если плашка (не показана) является срезающей плашкой, приведение в действие поршня 22 плашки вызывает перемещение плашки (не показана) в положение, в котором она срезает бурильную трубу (не показана) или скважинные инструменты (не показаны), проходящие через внутренний канал 18 корпуса 12 противовыбросового превентора, и, таким образом, закупоривает внутренний канал 18.
Радиальный блокировочный механизм для соединения крышек с противовыбросовыми превенторами
Важным аспектом конструкции противовыбросового превентора 10 является механизм, которым создается уплотнение между узлами 14 крышек и корпусом 12. На фиг.1 показан радиальный блокировочный механизм 28, который предназначен для получения запирающего механизма высокого давления, который поддерживает уплотнение высокого давления между узлом 14 крышки и корпусом 12 противовыбросового превентора. Кроме того, радиальный блокировочный механизм 28 предназначен для упрощения текущего обслуживания узла 14 крышки и расположенной в нем плашки (не показана).
В вариантах осуществления изобретения, показанных на фигурах, боковые проходы 20 и другие компоненты противовыбросового превентора 10, предназначенные для взаимодействия с ними и для вхождения в них, показаны в овальной или по существу эллиптической конфигурации. Овальная или по существу эллиптическая конфигурация (например, овальное поперечное сечение) способствует уменьшению высоты блока противовыбросовых превенторов и, таким образом, минимизации веса, количества используемых материалов и стоимости. Однако для использования в рамках настоящего изобретения также пригодны другие конфигурации, такие как круглая конфигурация. Соответственно объем изобретения не следует ограничивать конфигурациями в вариантах, показанных на фигурах.
Радиальный блокировочный механизм 28 расположен внутри узла 14 крышки и внутри бокового прохода 20 корпуса 12 противовыбросового превентора. В этом варианте осуществления изобретения радиальный блокировочный механизм 28 содержит уплотнитель 29 крышки, расположенный на корпусе 30 крышки, радиальный замок 32, устройство 34 смещения радиального замка, дверцу 36 крышки и приводы 38 замка. Уплотнитель 29 крышки создает уплотнение между корпусом 30 крышки и корпусом 12 противовыбросового превентора вблизи бокового прохода 20. Уплотнитель 29 крышки представляет собой уплотнитель высокого давления, который предотвращает утечку текучих сред, находящихся во внутреннем канале 18 корпуса 12 противовыбросового превентора, через боковой проход 20. Ниже будут подробно описаны различные варианты выполнения уплотнителя 29 крышки.
Когда уплотнитель 29 крышки формируют между корпусом 30 крышки и корпусом 12 противовыбросового превентора, корпус 30 крышки находится в установленном положении и располагается вблизи корпуса 12 противовыбросового превентора и, по меньшей мере, частично внутри бокового прохода 20. Поскольку уплотнитель 29 крышки является уплотнителем высокого давления, радиальный блокировочный механизм 28 должен быть прочным и способным выдерживать очень высокие давления, существующие во внутреннем канале 18.
Вариант осуществления изобретения, показанный на фиг.1, содержит новый механизм для фиксации узла 14 крышки (и в результате уплотнителя 29 крышки) на месте. Как показано на фиг.2, радиальный замок 32 имеет внутренний диаметр, приспособленный для посадки на внешнюю поверхность 40 корпуса 30 крышки и скольжения в положение, примыкающее к уплотняющему концу корпуса 30 крышки. Радиальный замок 32, показанный на фиг.2, содержит две половины, разделенные центральной прорезью 46. Однако радиальный замок 32 может содержать дополнительные сегменты, и два сегмента, показанные на фиг.2, не ограничивают объем изобретения. Ниже будут описаны более подробно дополнительные варианты выполнения радиального замка 32.
Устройство 34 смещения радиального замка также имеет внутренний диаметр, приспособленный для посадки на внешнюю поверхность 40 корпуса 30 крышки. Кроме того, устройство 34 смещения радиального замка также содержит коническую поверхность на внешнем диаметре, который приспособлен для посадки внутри внутреннего диаметра 50 радиального замка 32. Устройство 34 смещения радиального замка также содержит внутреннюю поверхность 56, которая приспособлена для вхождения в контакт с внешней поверхностью 54 корпуса 12 противовыбросового превентора. В установленном положении корпус 30 крышки, радиальный замок 32 и устройство 34 смещения радиального замка находятся между корпусом 12 противовыбросового превентора и дверцей 36 крышки. Внутренняя поверхность 52 дверцы 36 крышки приспособлена для вхождения в контакт с внешней поверхностью 54 корпуса 12 противовыбросового превентора. Следует отметить, что вхождение в контакт дверцы 36 крышки и корпуса 12 противовыбросового превентора не является зафиксированным (например, дверца 36 крышки не прикреплена болтами к корпусу 12 противовыбросового превентора).
Как показано на фиг.1, узел 14 крышки приспособлен для взаимодействия со скольжением с, по меньшей мере, одним стержнем 70 при помощи поворотного скользящего держателя 74 (на фиг.1 показаны два стержня 70, взаимодействующие, с возможностью скольжения при помощи поворотных скользящих держателей 74, с каждым узлом 14 крышки). В результате взаимодействия с возможностью скольжения узел 14 крышки может скользить вдоль стержней 70. Как будет описано ниже, скользящее взаимодействие дает возможность перемещать узел 14 крышки в положение запирающего и уплотняющего взаимодействия с корпусом 12 противовыбросового превентора и выводить из него.
Приводы 38 замка соединены с дверцей 36 крышки фиксированным или удаляемым соединением, включающим болты, связующее вещество, сварные швы, резьбовые соединения или подобные средства, известные в данной области техники. Приводы 38 замка также подобным образом соединены с устройством 34 для смещения радиального замка. Кроме того, соединение между приводами 38 замка и устройством 34 для смещения радиального замка может представлять собой простое вхождение в контакт. Следует отметить, что вариант осуществления изобретения, показанный на фиг.1, показывает два привода 38 замка, соединенных с каждой дверцей 36 крышки. Однако в рамках настоящего изобретения можно использовать один цилиндр 38 привода замка или множество приводов 38 замка. Показанные приводы 38 замка в целом являются гидравлическими цилиндрами, однако в рамках настоящего изобретения можно использовать другие известные в данной области техники типы приводов замка (включая, например, пневматические приводы, электрические двигатели и т.п.).
Кроме того, приводы 38 замка могут быть ручными. Приводы 38 замка, показанные в данном варианте осуществления изобретения, в типичном случае, приводят в действие, например, внешним электрическим сигналом, потоком рабочей жидкости под давлением и т.д. В качестве альтернативного варианта радиальный замок 32 может приводиться в действие ручным средством, например, таким как рычаг, система рычагов, резьбовое приводное средство или другое подобное средство, известное в данной области техники. Кроме того, если, например, приводы 38 замка содержат гидравлические цилиндры, гидравлические цилиндры могут приводиться в действие ручным насосом. Соответственно приведение в действие радиального замка 32 вручную входит в объем изобретения.
На фиг.2 показан вид полностью собранного узла 14 крышки, включающего радиальный запирающий механизм 28. При работе радиального блокировочного механизма 28 узел 14 крышки сначала перемещается в положение вблизи корпуса 12 противовыбросового превентора посредством скольжения узла 14 крышки в направлении корпуса 12 противовыбросового превентора по стержням 70. Затем приводятся в действие приводы 38 замка, при этом они смещают в осевом направлении (ось смещения соответствует оси бокового прохода 20) устройство 34 для смещения радиального замка в направлении корпуса 12 противовыбросового превентора. Когда устройство 34 смещения радиального замка движется в осевом направлении в сторону корпуса 12 противовыбросового превентора, клиновидная поверхность 48 входит в контакт с внутренним диаметром 50 радиального замка 32, таким образом смещая радиальный замок 32 в радиально-наружном направлении (например, в направлении внутренней запирающей поверхности 58 бокового прохода 20). Когда приведение в действие радиального блокировочного механизма 28 завершено, внутренний выступ 60 устройства 34 смещения радиального замка находится вблизи нагружаемого пояска 44 корпуса 30 крышки, и внешний периметр 62 радиального замка 32 входит в запирающее зацепление с внутренней запирающей поверхностью 58. Кроме того, как будет описано ниже, как радиальный замок 32, так и внутренняя запирающая поверхность 58, в типичном случае, содержат наклонные поверхности (например, см. поверхности взаимодействия, описанные ниже в связи с фиг.10 и 11). Когда радиальный замок 32 входит в зацепление с внутренней запирающей поверхностью 58, наклонные поверхности стремятся прилагать осевое усилие, которое “тянет” дверцу 36 в осевом направлении внутрь и прочно прижимает к внешней поверхности корпуса 12 противовыбросового превентора, таким образом завершая вхождение в запирающее зацепление радиального блокировочного механизма 28.
Когда радиальный замок 32 закреплен на месте посредством приведения в действие приводов 38 замка и устройства 34 смещения радиального замка, корпус 30 крышки и узел 14 крышки оказываются запертыми на месте относительно корпуса 12 противовыбросового превентора без использования, например, болтов. Однако в комбинации с вариантом осуществления изобретения может также использоваться дополнительный ручной запирающий механизм (не показан) для обеспечения того, что радиальный замок 32 будет оставаться закрепленным на месте. Когда радиальный замок 32 закреплен на месте, например гидравлическим приводом, можно приводить в действие ручной замок (не показан), такой как вставной или резьбовой механизм, в качестве дополнительного удерживающего средства. Закрепленный радиальный блокировочный механизм 28 предназначен для удерживания на месте узла 14 крышки и соответственно уплотнителя 29 высокого давления крышки. Радиальный замок 32 и уплотнитель 29 высокого давления крышки способны выдерживать большие силы, создаваемые высокими давлениями, существующими во внутреннем канале 18 корпуса 12 противовыбросового превентора, благодаря запирающему зацеплению между радиальным замком 32 и внутренней запирающей поверхностью 58 корпуса 12 противовыбросового превентора.
Радиальный блокировочный механизм 28 может быть разблокирован посредством приведения в действие приводов 38 замка в обратном направлении (например, после сброса давления во внутреннем канале 18). В результате вариант осуществления изобретения содержит радиальный блокировочный механизм 28, который включает систему принудительного разблокирования (например, приводы 38 замка должны приводиться в действие для разблокирования радиального блокировочного механизма 28).
Клиновидная поверхность, используемая для радиального смещения радиального замка 32, может представлять собой любой из нескольких вариантов выполнения. Как показано на фиг.3, в одном варианте клиновидная поверхность 48 устройства 34 смещения радиального замка может содержать одну приводную ступень 80. В другом варианте, показанном на фиг.4, клиновидная поверхность 48 может содержать две приводные ступени 82. Следует отметить, что одна приводная ступень 80 (фиг.3) в целом обеспечивает более короткий приводной ход, чем две приводные ступени 82 (фиг.4). Кроме того, угол приводной ступени 84 (фиг.3 и 4) приспособлен для максимизации радиального приводного усилия и минимизации линейного приводного усилия. В одном варианте осуществления изобретения угол приводной ступени 84 (фиг.3 и 4) составляет приблизительно 45°. В другом варианте осуществления изобретения угол приводной ступени 84 (фиг.3 и 4) составляет менее 45°.
В другом варианте, показанном на фиг.5, устройство 34 смещения радиального замка дополнительно содержит вырез 90 и, по меньшей мере, один стопорный штифт 92, предназначенный для удерживания радиального замка 32 с упором в нагружаемый поясок 44 корпуса 30 крышки. В этом варианте осуществления изобретения радиальный замок 32 удерживается на месте, по меньшей мере, одним стопорным штифтом 92, и корпус 30 крышки и радиальный замок 32 удерживаются в зафиксированном положении после приведения в действие радиального замка 32, который входит в запирающее зацепление с внутренней запирающей поверхностью 58 (фиг.2) бокового прохода 20 (фиг.1).
Радиальный замок 32 (фиг.1) может также содержать любой из нескольких компонентов. Радиальный замок 32 содержит две радиальные зеркально обращенные половины 94, 96, дополнительно показанные на фиг.6. В другом варианте осуществления изобретения, показанном на фиг.7, радиальный замок 100 может быть сформирован из, по меньшей мере, двух линейных сегментов 102 и, по меньшей мере, двух полукруглых концевых сегментов 104. В другом варианте, показанном на фиг.8, радиальный замок 106 может быть сформирован из множества по существу прямых фиксаторов 108 и множества изогнутых фиксаторов 110. Варианты осуществления изобретения, показанные на фиг.7 и 8, по существу содержат радиальные замки 100, 106, подобные радиальному замку 32 (фиг.1 и 6) первого варианта осуществления изобретения, но разделены на множество сегментов. Радиальные замки 100, 106 можно изготовлять, например, посредством выполнения цельного радиального замка и последующего распиливания цельного радиального замка на два или более сегментов. Однако в данной области техники известны другие технологии изготовления, которые можно использовать для изготовления радиального замка.
В другом варианте осуществления изобретения, показанном на фиг.9, радиальный замок 112 может быть сформирован змеевидной структурой 114 с прорезями, подобной “гибкой ленте”. Радиальный замок 112 формируют, например, как единый цельный элемент и затем выполняют прорези 117 по внутреннему периметру 114 или по внешнему периметру 116. Прорези 117 могут полностью пересекать радиальный замок 112 или могут представлять собой лишь частичные надрезы. Кроме того, если прорези 117 полностью пересекают радиальный замок 112, отдельные сегменты можно прикреплять к гибкой ленте 118 таким образом, чтобы радиальный замок 112 можно было приводить в действие приводным кольцом 34 (фиг.1). Гибкая лента 118 может состоять из материала с относительно малым модулем упругости (по сравнению, например, с модулем упругости отдельных сегментов), чтобы гибкая лента 118 могла растягиваться в радиальном направлении под воздействием радиального смещения, создаваемого устройством 34 (фиг.1) смещения радиального замка. Радиальное растяжение гибкой ленты 118 обеспечивает вхождение в запирающее зацепление радиального замка 112 и внутренней запирающей поверхности 58 (фиг.2) корпуса 12 (фиг.1) противовыбросового превентора.
Вхождение в зацепление радиального замка 32 (фиг.1) и внутренней запирающей поверхности 58 (фиг.2) также может обеспечиваться в разных вариантах. В одном варианте осуществления изобретения, показанном на фиг.10, радиальный замок 120 может содержать один входящий в зацепление профиль, включающий одну поверхность 122 взаимодействия радиального замка. Одна поверхность 122 взаимодействия радиального замка предназначена для обеспечения запирающего взаимодействия с запирающей поверхностью 59 (фиг.2) противовыбросового превентора, сформированной на внутренней запирающей поверхности 58 (фиг.2) бокового прохода 20 (фиг.1).
В другом варианте осуществления изобретения, показанном на фиг.11, радиальный замок 124 содержит двойной входящий в зацепление профиль, включающий две входящие в зацепление поверхности 126 радиального замка. Кроме того, радиальный замок 124 может также содержать множество входящих в зацепление поверхностей радиального замка, предназначенных для запирающего взаимодействия с соответствующим количеством входящих в зацепление поверхностей 59 (фиг.2) противовыбросового превентора, сформированных на внутренней запирающей поверхности 58 (фиг.2) бокового прохода 20 (фиг.1) корпуса 12 (фиг.1) противовыбросового превентора.
Радиальные замки в вариантах осуществления изобретения, на которые сделаны ссылки, выполняют так, чтобы площадь поперечного сечения района зацепления между входящими в зацепление поверхностями радиального замка и входящими в зацепление поверхностями 59 (фиг.2) противовыбросового превентора была максимизирована. Максимизация площадей поперечного сечения обеспечивает то, что радиальные замки принудительно блокируют узел 14 (фиг.1) крышки и в результате этого уплотнитель 29 (фиг.1) крышки на месте с противодействием высоким давлениям, существующим во внутреннем канале 18 (фиг.1) противовыбросового превентора 10 (фиг.1). Кроме того, как описано выше, углы наклона поверхностей взаимодействия могут быть подобраны так, чтобы создавать осевое усилие, которое сильно притягивает дверцу 36 (фиг.1) крышки к корпусу 12 (фиг.1) противовыбросового превентора и которое в некоторых вариантах осуществления изобретения может содействовать приведению в действие уплотнителя 29 (фиг.1) крышки.
Радиальные замки и входящие в зацепление поверхности, описанные в упомянутых выше вариантах осуществления изобретения, могут быть покрыты, например, твердосплавными материалами и/или материалами, снижающими трение. Покрытия могут содействовать предотвращению, например, истирания и могут предотвращать заедание или “зависание” радиальных замков на их поверхностях контактного взаимодействия при приведении в действие и/или выключении радиального блокировочного механизма 28 (фиг.1). Покрытия могут также продлевать срок службы радиальных замков и поверхностей контактного взаимодействия посредством уменьшения трения и износа.
Другой вариант выполнения запирающего кольца обозначен номером 127 на фиг.12. Радиальный замок 127 содержит множество прорезей 128, множество отверстий 129 или их комбинацию. Прорези 128 и/или отверстия 129 уменьшают вес и момент инерции сечения радиального замка 127, таким образом уменьшая требуемое приводное усилие для радиального смещения радиального замка 127. Для обеспечения некоторой упругой деформации радиального замка 127 радиальный замок может быть сформирован из материала, имеющего относительно малый модуль упругости (по сравнению, например, со сталью). Такие материалы включают титан, бериллиево-медный сплав и т.д. Кроме того, в геометрию радиального замка 127, в дополнение к указанным выше, могут быть внесены модификации, например, для дополнительного уменьшения момента инерции сечения радиального замка 127 и для уменьшения напряжений при изгибе.
Описанные выше радиальные замки предназначены для работы в условиях ниже предела упругости материалов, из которых они сформированы. Работа без превышения предела упругости обеспечивает то, что радиальные замки не будут подвергаться остаточной деформации и не утратят эффективность в результате остаточной деформации. Соответственно выбор материала и площади поперечного сечения района поверхностей контактного взаимодействия очень важен для конструкции радиального блокировочного механизма 28 (фиг.1).
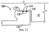
Как показано на фиг.1, уплотнитель 29 крышки приспособлен для противодействия высоким давлениям, существующим во внутреннем канале 18 корпуса 12 противовыбросового превентора, и, таким образом, для предотвращения утечки жидкостей и/или газов из внутреннего канала 18 и наружу из противовыбросового превентора 10. Уплотнитель 29 крышки может иметь несколько разных конфигураций, как указано в нижеследующем описании в связи с фиг.13-17. Кроме того, описанные ниже уплотнители могут быть сформированы из различных материалов. Например, уплотнители могут быть эластомерными уплотнителями или не эластомерными уплотнителями (например, такими как металлические уплотнители, уплотнители из полиэфирэфиркетона и т.д.). Металлические уплотнители могут также представлять собой кольцевые уплотнители С-образного сечения типа “металл – металл” и/или манжетные уплотнители типа “металл – металл”. Кроме того, уплотнительные устройства, показанные ниже, могут включать комбинацию типов уплотнений и материалов. Соответственно тип уплотнителя, количество уплотнений и материал, используемый для формирования радиального и торцевого уплотнений, не вносят ограничений в конструкцию уплотнителя 29 крышки.
Вариант осуществления изобретения, показанный на фиг.13, содержит уплотнитель 130 крышки, сформированный на радиальном периметре 132 корпуса 133 крышки. Радиальный уплотнитель 130 также содержит два уплотнительных кольца 134, расположенных в канавках 136, сформированных на радиальном периметре 132 корпуса 133 крышки. Уплотнительные кольца 134 входят в уплотняющий контакт с внутренним периметром 138 бокового прохода 20 (фиг.1) в корпусе 12 противовыбросового превентора. Вариант осуществления изобретения, показанный на фиг.13, содержит две канавки 136, но с уплотнительными кольцами 134 можно использовать одну канавку или множество канавок. Кроме того, хотя в данном варианте показаны два уплотнительных кольца 134, в рамках изобретения можно использовать одно уплотнительное кольцо или более двух уплотнительных колец.
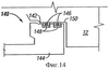
В другом варианте осуществления изобретения, показанном на фиг.14, уплотнитель 140 крышки содержит, по меньшей мере, два набивных уплотнения 146 (которые могут быть, например, Т-образными уплотнениями, манжетными уплотнениями или уплотнениями, поставляемыми под торговой маркой PolyPak, которая является маркой компании Parker Hannifin, Inc.), расположенных в канавках 148, сформированных на радиальном периметре 142 корпуса 144 крышки. Набивные уплотнения 146 входят в уплотняющий контакт с внутренним периметром 150 бокового прохода 20 (фиг.1) корпуса 12 противовыбросового превентора. Вариант осуществления изобретения, показанный на фиг.14, содержит две канавки 148, но с набивными уплотнениями 146 можно использовать одну канавку или множество канавок. Кроме того, хотя в данном варианте показаны два набивных уплотнения 146, в рамках изобретения можно использовать одно уплотнение или более двух уплотнений.
В другом варианте осуществления изобретения, показанном на фиг.15, уплотнитель 152 крышки содержит радиальное уплотнение 154, расположенное в канавке 166, сформированной на радиальном периметре 160 корпуса 162 крышки. Кроме того, данный вариант содержит торцевое уплотнение 156, расположенное в канавке 164, сформированной на сопрягаемой торцевой поверхности 168 корпуса 162 крышки. Радиальное уплотнение 154 приспособлено для вхождения в уплотняющий контакт с внутренним периметром 158 бокового прохода 20 (фиг.1) корпуса 12 противовыбросового превентора. Торцевое уплотнение 156 приспособлено для вхождения в уплотняющий контакт с внутренней торцевой поверхностью 170 корпуса 12 противовыбросового превентора. Радиальное уплотнение 154 и торцевое уплотнение 156, показанные в данном варианте осуществления изобретения, являются уплотнительными кольцами и расположены в одиночных канавках 166, 164. Однако в рамках изобретения можно использовать уплотнение другого типа (например, набивное уплотнение) или более одного уплотнения (расположенные, по меньшей мере, в одной канавке).
В другом варианте осуществления изобретения, показанном на фиг.16, уплотнитель 172 крышки содержит радиальное уплотнение 174, расположенное в канавке 178, сформированной на носителе 180 уплотнения. Носитель 180 уплотнения расположен в канавке 182, сформированной в корпусе 184 крышки, и также содержит торцевое уплотнение 176, расположенное в канавке 177, сформированной на носителе 180 уплотнения. Торцевое уплотнение 176 приспособлено для вхождения в уплотняющий контакт с сопрягаемой торцевой поверхностью 186 корпуса 12 противовыбросового превентора, а радиальное уплотнение приспособлено для вхождения в уплотняющий контакт с внутренним периметром 188 корпуса 184 крышки. Уплотнитель 172 крышки может также содержать усиливающий механизм 190, приспособленный для смещения носителя 180 уплотнения в направлении внешней поверхности 186 корпуса 12 противовыбросового превентора для усиления торцевого уплотнения 176. Усиливающий механизм 190 может представлять собой, например, пружину, упорную шайбу или подобную структуру.
Усиливающий механизм 190 содействует обеспечению того, что торцевое уплотнение 176 принудительно входит в контакт с внешней поверхностью 186 корпуса 12 противовыбросового превентора и, таким образом, поддерживает уплотнение высокого давления относительно этой поверхности. Однако усиливающий механизм 190 требуется не во всех вариантах осуществления изобретения. Например, носитель 180 уплотнения может быть устроен таким образом, что и радиальное уплотнение 174, и торцевое уплотнение 176 приводятся в действие давлением без содействия усиливающего механизма 190.
В варианте осуществления изобретения без усиливающего механизма диаметр и осевую толщину носителя уплотнения (такого как носитель 180 уплотнения, показанный на фиг.16) подбирают таким образом, чтобы высокое давление во внутреннем канале в первую очередь смещало носитель уплотнения в направлении внешней поверхности корпуса противовыбросового превентора. Когда торцевое уплотнение вошло в уплотняющий контакт с внешней поверхностью, высокое давление во внутреннем канале вызывает радиальное расширение носителя уплотнения, пока радиальное уплотнение не войдет в уплотняющий контакт с канавкой в носителе уплотнения. Подобная конструкция описана в патенте США №5255890, выданном Morrill и переуступленном правопреемнику настоящего изобретения. Патент №5255890 четко описывает геометрическую форму, требуемую для получения такого носителя уплотнения.
В варианте осуществления изобретения, показанном на фиг.16, торцевое уплотнение 176 и радиальное уплотнение 174 могут представлять собой, например, уплотнительные кольца, набивные уплотнения или любое другое уплотнение высокого давления, известное в данной области техники. Кроме того, на фиг.16 показаны лишь одиночные уплотнения, расположенные в одиночных канавках. Однако в рамках изобретения можно использовать более одного уплотнения, более одной канавки или их комбинацию.
В другом варианте осуществления изобретения, показанном на фиг.17, носитель 192 уплотнения, показанный в предшествующем варианте, используют в комбинации с резервным уплотнением 194, расположенным в канавке 196 на внешней поверхности 198 корпуса 200 крышки. Резервное уплотнение 194 может представлять собой уплотнительное кольцо, набивное уплотнение, металлическое уплотнение или любое другое уплотнение высокого давления, известное в данной области техники. Резервное уплотнение продолжает поддерживать уплотнение высокого давления, если, например, происходит утечка через уплотнения, расположенные на носителе 192 уплотнения. Следует отметить, что вариант осуществления изобретения, показанный на фиг.17, не имеет усиливающего механизма.
Предпочтительно, часть вариантов выполнения уплотнителей уменьшает осевое усилие, необходимое для формирования уплотнения крышки. Показанные выше уплотнители крышки значительно снижают чувствительность уплотнения крышки к изгибанию дверцы крышки посредством поддержания постоянного сжатия независимо от давления в стволе скважины. Устройства радиальных уплотнений также уменьшают суммарную площадь, на которую воздействует давление в стволе скважины, и, таким образом, уменьшают отделяющую силу, которая стремится отталкивать дверцу крышки от корпуса противовыбросового превентора.
В другом варианте выполнения радиального замка, показанном на фиг.18, радиальный запирающий механизм 220 содержит радиальный замок 222, расположенный в выемке 224, сформированной на внутренней поверхности 226 бокового прохода 228 корпуса 230 противовыбросового превентора. Работа радиального блокировочного механизма 220 отличается от работы вариантов, описанных выше, тем, что закрепление корпуса 232 крышки и соответственно дверцы (не показана) крышки и узла (не показан) крышки на месте осуществляют посредством приведения в действие радиального блокировочного механизма 220 в радиальном направлении внутрь.
Конструкция варианта осуществления изобретения, показанного на фиг.18, подобна конструкциям вариантов, описанных выше, за исключением направления приведения в действие радиального блокировочного механизма 220. Таким образом, описание данного варианта осуществления изобретения будет включать указания на то, чем альтернативный вариант выполнения радиального блокировочного механизма 220 отличается от описанных выше. Общие элементы вариантов осуществления изобретения (например, такие как дверца 36 крышки, линейные стержни 70 и т.д.) не будут подробно описаны повторно. Кроме того, следует отметить, что вариант осуществления изобретения, показанный на фиг.18, не требует, например, приводных цилиндров или устройства смещения радиального замка (например, вариант, показанный на фиг.18, не требует внутреннего приводного механизма).
Приведение в действие радиального замка 222 осуществляют в радиальном направлении внутрь. Соответственно радиальный замок 222 должен быть соединен с приводным механизмом, который отличается, например, от устройства 34 (фиг.1) смещения радиального замка и приводов 38 (фиг.1) замка, описанных в предшествующих вариантах осуществления изобретения. В одном варианте осуществления изобретения радиальный замок 222 содержит конструкцию, показанную на фиг.6 и 7. Как показано на фиг.19, отдельные половины 236, 238 радиального замка 222 можно соединять с расположенными радиально приводами 240. Когда корпус 232 крышки перемещают в положение уплотняющего контакта с корпусом 230 противовыбросового превентора, приводы 240 приводят в действие для смещения половин 236, 238 радиального замка 222 в радиальном направлении внутрь таким образом, чтобы радиальный замок 222 вошел в зацепление с канавкой 244 (фиг.18), сформированной на внешней поверхности 246 (фиг.18) корпуса 232 (фиг.18) крышки. Радиальный блокировочный механизм 220 (фиг.18) блокирует корпус 232 (фиг.18) крышки и, таким образом, дверцу (не показана) крышки и узел (не показан) крышки на месте и усиливает уплотнение 234 (фиг.18) высокого давления. Следует отметить, что уплотнение 234 (фиг.18) высокого давления может быть сформировано в любом из показанных выше вариантов (например, вариантов, описанных относительно фиг.13-17). Кроме того, радиальный замок 222 и канавка 244 могут содержать наклонные поверхности (как описано относительно предшествующих вариантов), которые создают осевое усилие, притягивающее корпус 232 крышки (и узел крышки (не показан) и дверцу крышки (не показана)) к корпусу 230 противовыбросового превентора и дополнительно обеспечивающее принудительное вхождение в уплотняющий контакт.
Кроме того, как показано на фиг.20, радиальный замок 222 может содержать более двух частей. Если радиальный замок 250 содержит, например, четыре части 252, 254, 256, 258, для приведения в действие радиального замка 250 можно использовать равное количество приводов 240 (например, четыре). В альтернативном варианте можно использовать меньшее количество приводов 240 (например, меньше четырех в варианте, показанном на фиг.20), если привод 240, например, соединяют с более чем одной частью 252, 254, 256, 258 радиального замка 250. Приводы 240 могут представлять собой гидравлические приводы или приводы любого другого типа, известного в данной области техники. Кроме того, приводы 240 могут быть расположены в корпусе 230 (фиг.18) противовыбросового превентора или могут быть расположены снаружи от корпуса 230 (фиг.18) противовыбросового превентора. Приводы 240 можно соединять с радиальным замком 250 при помощи, например, механических или гидравлических соединений (не показаны). В другом варианте осуществления изобретения радиальный замок 222 содержит множество фиксаторов или собачек (не показаны), которые соединяют с множеством приводов (не показаны), приводящих их в действие.
В другом варианте осуществления изобретения, показанном на фиг.21, радиальный замок 270 может быть сформирован как один сегмент 272. Радиальный замок 270 приводят в действие приводами 274, работающими вдоль окружности, которые соединяют с радиальным замком 270 и располагают вблизи концов 276, 278 сегмента 272. При приведении в действие приводы 274, работающие вдоль окружности, перемещают концы 276, 278 сегмента 272 в направлении друг друга и в радиальном направлении внутрь, как показано стрелками на фиг.21. Пунктирная линия на фиг.21 представляет внутреннюю поверхность 277 радиального замка 270 после приведения в действие. Радиальный замок 270 при приведении его в действие входит в зацепление с корпусом 232 (фиг.18) крышки так же, как показано на фиг.18.
Сегмент 272 радиального замка 270 можно изготовлять посредством формирования множества надрезов 284 вблизи концевых сегментов 280, 282. Надрезы 284 могут быть предназначены для облегчения установки радиального замка 270 в выемку 224 (фиг.18) и для увеличения гибкости для радиальной деформации радиального замка 270. Надрезы могут иметь любую конфигурацию, известную в данной области техники. Например, на фиг.22 показаны прямоугольные надрезы 284. Однако надрезы 284 предпочтительно можно формировать таким образом, чтобы уменьшать концентрации напряжений или пики напряжений на краях надрезов 284. Например, если надрезы 284 формируют в прямоугольной конфигурации, пики напряжений могут формироваться в относительно острых углах. Соответственно надрезы могут содержать закругленные углы (не показаны) или могут иметь, например, трапецеидальные конфигурации (не показаны) для минимизации эффекта образования пиков напряжения.
Кроме того, надрезы 284 могут быть “ступенчатыми”, как показано на фиг.22, для образования по существу плавного перехода между относительно жесткими прямыми сегментами 286 и относительно гибкими концевыми сегментами 280, 282. Ступенчатость надрезов 284 создает плавный переход жесткости, который способствует предотвращению возникновения пиков напряжений в последнем надрезе (например, в последних надрезах, находящихся вблизи прямых сегментов 286).
Радиальный замок 270 можно формировать из одного материала или из разных материалов (включая, например, сталь, титан, бериллиево-медный сплав или комбинации и/или их сплавы). Например, изогнутые концевые сегменты 280, 282 могут быть сформированы из материала, который относительно податлив по сравнению с относительно жестким материалом, формирующим прямые сегменты 286 (например, изогнутые концевые сегменты 280, 282 можно формировать из материала с модулем (Еc) упругости, который существенно ниже модуля (Es) упругости прямых сегментов 286). Независимо от материалов, используемых для формирования радиального замка 270, радиальный замок 270 должен быть достаточно гибким для обеспечения установки в выемку 224 (фиг.18) и выдвижения из нее.
В альтернативном варианте радиальный замок 270, показанный на фиг.21, может содержать больше одного сегмента (например, две половины или множество сегментов), соединенных с множеством работающих вдоль окружности приводов и приводимых ими в действие. Радиальный замок 270 может также содержать множество отдельных фиксаторов или собачек, соединенных с гибкой лентой. Фиксаторы могут быть разделены промежутками, и расстояние, на которое они отнесены друг от друга, можно подбирать для обеспечения необходимой гибкости радиального замка 270.
Фиксаторы и гибкая лента могут состоять из разных материалов. Например, фиксаторы можно формировать из по существу жесткого материала (например, материала с относительно высоким модулем упругости), включая, например, сплавы на основе стали или никеля. В отличие от этого гибкая лента может быть сформирована из материалов, имеющих относительно более низкий модуль упругости, включая, например, титановые сплавы или полосовые или профильные материалы, содержащие стекловолокно, углеродное волокно или выполненные из них композиционные материалы. Как описано выше, радиальные замки, выполненные в вариантах, показанных на фиг.19-22, могут быть покрыты, например, твердосплавными материалами (включая, например, карбид вольфрама, нитрид бора и подобные материалы, известные в данной области техники) или материалами с низким коэффициентом трения (включая, например, политетрафторэтилен и подобные материалы, известные в данной области техники), например, для уменьшения трения и износа и увеличения срока службы деталей. Состав материала, из которого выполняют радиальный замок 270, не вносит ограничений в изобретение.
Варианты осуществления изобретения, показанные на фиг.19-22, могут быть преимущественными, поскольку они обеспечивают уменьшение веса узла крышки и соответственно уменьшение общего веса противовыбросового превентора. Кроме того, существует возможность модернизировать существующие противовыбросовые превенторы, включив в них радиальный блокировочный механизм.
Поворотный скользящий держатель для узлов крышек
Возвращаясь к фиг.1, отметим, что другим важным аспектом изобретения являются поворотные скользящие держатели 74 с возможностью взаимодействия соединенные со стержнями 70 и с каждым из узлов 14 крышек. Как было указано здесь выше, узлы 14 крышек соединяют с поворотными скользящими держателями 74, и поворотные скользящие держатели 74 с возможностью скольжения удерживаются стержнями 70. Поворотные скользящие держатели 74 приспособлены для обеспечения поворота узлов 14 крышек вокруг точки, приблизительно совмещенной с их центральной осевой линией, таким образом, чтобы получать доступ к плашкам (не показаны) и к внутренним компонентам как узлов 14 крышек, так и корпуса 12 противовыбросового превентора для текущего обслуживания, замены плашек и т.д.
Вариант выполнения поворотного скользящего держателя 74 показан на фиг.23 и 24. Поворотный скользящий держатель 74 содержит рейку 76 поворотного скользящего держателя и поворотную пластину 78. Рейку 76 поворотного скользящего держателя с возможностью скольжения устанавливают на стержни 70. Крепление с возможностью относительного скольжения между рейкой 76 поворотного скользящего держателя и стержнями можно выполнять, например, при помощи подшипников 87 линейного скольжения, которые соединяют с рейкой 76 поворотного скользящего держателя. Однако в рамках настоящего изобретения для формирования крепления с возможностью скольжения можно использовать другие варианты скользящих креплений, известные в данной области техники. Кроме того, в рамках настоящего изобретения можно использовать вкладыши (не показаны) или комбинацию из подшипников 87 линейного скольжения и вкладышей (не показаны). Поворотную пластину 78 с возможностью вращения прикрепляют к рейке 76 поворотного скользящего держателя и с возможностью взаимодействия прикрепляют к верхней поверхности 75 узла 14 крышки. Прикрепление поворотного скользящего держателя 74 к узлу 14 крышки осуществляют по существу в точке, совмещенной с осевой центральной линией узла 14 крышки.
Стержни 70 должны иметь достаточную длину для обеспечения отсоединения узла 14 крышки от корпуса 12 противовыбросового превентора и скольжения от корпуса 12 противовыбросового превентора, пока плашка (не показана) не окажется целиком снаружи от бокового прохода 20. Кроме того, точку 82 прикрепления, в которой поворотный скользящий держатель 74 прикрепляют к верхней поверхности 75 узла 14 крышки, можно оптимально подобрать таким образом, чтобы точка 82 прикрепления была по существу вблизи центра масс узла 14 крышки. Расположение точки 82 прикрепления по существу вблизи центра масс позволяет уменьшить усилие, требуемое для вращения узла 14 крышки, а также уменьшить изгибное напряжение, испытываемое поворотной пластиной 78.
Поворотная пластина 78 может также включать подшипник 85. Например, подшипник 85 может быть прикреплен к рейке 76 поворотного скользящего держателя и приспособлен для несения как радиальных, так и осевых нагрузок, создаваемых при повороте узла 14 крышки. Подшипник 85 может представлять собой, например, комбинацию радиального подшипника и упорного подшипника (например, конический роликоподшипник). В альтернативном варианте, подшипник 85 может представлять собой, например, роликовый подшипник для несения радиальных нагрузок и упорную шайбу для несения осевых нагрузок. Однако в данной области техники известны другие типы подшипниковых устройств, которые можно использовать с поворотной пластиной 78.
Когда плашка (не показана) полностью выходит из бокового прохода 20, узел 14 крышки может поворачиваться вокруг оси вращения поворотной пластины 78 таким образом, что может быть получен доступ к плашке (не показана) и боковому проходу 20 для текущего обслуживания, проверки и т.п. В варианте осуществления изобретения, показанном на фиг.23 и 24, нижний узел 14 крышки показан в положении, повернутом приблизительно на 90° относительно корпуса 12 противовыбросового превентора, тогда как верхний узел 14 крышки остается в запирающем взаимодействии с корпусом 12 противовыбросового превентора. Ясно видна точка 80 крепления плашечного блока.
На фиг.25 показан вид сверху противовыбросового превентора 10, когда один из узлов 14 крышек отсоединен от корпуса 12 противовыбросового превентора и повернут приблизительно на 90°. Как показано, точка 80 крепления плашечного блока ясно видна, и к ней может быть получен доступ в вертикальном направлении. Доступ в вертикальном направлении является существенным преимуществом, поскольку крышки известного уровня техники, которые включают шарниры, обычно поворачиваются вокруг оси, проходящей по краю дверцы крышки. Таким образом, если, например, нижнюю крышку противовыбросового превентора отвинчивают и поворачивают в открытое положение, к плашке не может быть получен доступ в вертикальном направлении, поскольку этому препятствует корпус верхней крышки противовыбросового превентора. Доступ к плашке в вертикальном направлении важен, поскольку он значительно облегчает текущее обслуживание или замену плашек, что, таким образом, сокращает время, требуемое для обслуживания противовыбросового превентора, и повышает уровень безопасности персонала, осуществляющего обслуживание. Кроме того, доступ в вертикальном направлении дает возможность, например, обслуживания нижней крышки противовыбросового превентора, когда верхняя крышка находится в запертом положении (см., например, фиг.23-25).
Узел 14 крышки может также поворачиваться приблизительно на 90° в другом направлении относительно оси бокового прохода 20 (фиг.1), таким образом, обеспечивая поворот приблизительно на 180°. Однако может быть разработан другой вариант осуществления изобретения, который допускает поворот более или менее, чем на 180°. Диапазон вращения поворотного скользящего держателя 74 не вносит ограничений в объем изобретения.
Поворотный скользящий держатель 74 обеспечивает преимущество, заключающееся в простоте конструкции и крепления к узлу 14 крышки. Например, шарниры известного уровня техники обычно имеют сложную конструкцию, сложны в производстве и относительно дороги. Кроме того, шарниры известного уровня техники должны быть очень прочными, поскольку они несут весь вес крышки противовыбросового превентора на вертикальной оси, расположенной на некотором расстоянии от центра масс крышки. В результате, изгибающий момент, воздействующий на шарнир, очень высок, и деформация шарнира может приводить к “провисанию” крышки.
Другие механизмы для соединения крышек с противовыбросовыми превенторами.
На фиг.26-37В показаны другие варианты выполнения запирающих механизмов для запирания крышки относительно корпуса противовыбросового превентора. Описанные варианты даны только как примеры выполнения запирающих механизмов, которые можно использовать в соответствии с изобретением. Изобретение не ограничено ни одним из механизмов.
На фиг.26 показана часть одного варианта выполнения блокировочного механизма 610. Корпус 602 противовыбросового превентора и крышка 604 прочно удерживаются в соединенном состоянии блокировочным механизмом 610. Механизм 610 включает радиальный замок 612, 614 и устройство 616, 618 смещения радиального замка, подобные описанным выше. Радиальный замок в данном варианте осуществления изобретения содержит только прямые секции 612, 614. Первая прямая секция 612 проходит горизонтально, а вторая прямая секция 614 проходит вертикально. Следует понимать, что в некоторых вариантах осуществления изобретения на сторонах крышки 604 могут быть расположены две дополнительные прямые секции: одна горизонтальная и одна вертикальная, которые не показаны на фиг.26.
Устройство смещения радиального замка также содержит горизонтальную секцию 616 и вертикальную секцию 618, которые смещают в радиальном направлении горизонтальную и вертикальную секции 612, 614 радиального замка. Следует понимать, что в некоторых вариантах осуществления изобретения на сторонах крышки 604 могут использоваться другие горизонтальная и вертикальная секции, которые не показаны на фиг.26.
В варианте осуществления изобретения, показанном на фиг.26, радиальный замок не имеет изогнутых (или радиальных) секций. Только прямые секции 612, 614 смещаются в положение запирающего взаимодействия с соответствующей радиальной запирающей поверхностью (не показана) корпуса 602 противовыбросового превентора. По меньшей мере, в одном варианте осуществления изобретения каждая из прямых секций содержит множество меньших секций.
Другой вариант выполнения блокировочного механизма показан на фиг.27А. Крышку 704 прочно прикрепляют к корпусу 702 противовыбросового превентора защелкивающимся фиксатором 712, расположенным внутри крышки 704. Защелкивающийся фиксатор 712 включает клиновидную грань 714, которая входит в запирающий контакт с наклонной поверхностью 706 корпуса 702 противовыбросового превентора для запирания крышки 704 относительно корпуса 702 противовыбросового превентора даже под высоким давлением, испытываемым при выбросе.
Угол наклона клиновидной грани 714 может быть подобран таким образом, чтобы выступающая часть защелкивающегося фиксатора 712 притягивала крышку 704 в осевом направлении в сторону корпуса 702 противовыбросового превентора в положение надлежащего соединения в случае, когда она не находится в этом положении при введении в зацепление блокировочного механизма. В некоторых вариантах осуществления изобретения угол конусности может быть “запирающим углом конусности”. Запирающий угол конусности является углом, подобранным таким образом, чтобы защелкивающийся фиксатор 714 не перемещался в задвинутое положение давлением, которое стремится отталкивать крышку 704 и корпус 702 противовыбросового превентора друг от друга. В некоторых вариантах осуществления изобретения запирающий угол конусности составляет от 3° до 10°. По меньшей мере, в одном варианте осуществления изобретения запирающий угол конусности составляет около 6°. Специалистам в данной области техники будет понятно, что запирающий угол конусности может изменяться в зависимости от конкретного варианта применения.
В этом варианте осуществления изобретения защелкивающийся фиксатор 712 соединен со штоком 716 и поршнем 718. Привод может приводиться в действие рабочей жидкостью, рабочим газом, электродвигателем или любым другим приводным средством, известным в данной области техники. Специалисты в данной области техники смогут разработать другие способы приведения в действие защелкивающегося фиксатора 712. В некоторых вариантах осуществления изобретения, например, как показано на фиг.27А и 27В, применена пружина 719 для приложения направленного вверх усилия, которое будет стремиться отталкивать защелкивающийся фиксатор 712 в положение запирающего контакта с наклонной поверхностью 706 корпуса 702 противовыбросового превентора. Как показано на фиг.27А и 27В, шток 716 может быть уплотнен уплотнениями 720, чтобы рабочие жидкости не могли вытекать внутрь крышки 704 в ходе работы блокировочного механизма.
Вариант осуществления изобретения, показанный на фиг.27А и 27В, имеет защелкивающийся фиксатор 712, расположенный в крышке 704 и способный выдвигаться в положение взаимодействия с корпусом 702 противовыбросового превентора. Специалистам в данной области техники будет понятно, что защелкивающиеся фиксаторы можно также располагать в корпусе противовыбросового превентора таким образом, чтобы защелкивающиеся фиксаторы выдвигались в положение запирающего взаимодействия с наклонной поверхностью крышки. Кроме того, все описанные ниже варианты осуществления изобретения включают блокировочный механизм с элементами, которые входят в зацепление для соединения крышки и корпуса противовыбросового превентора. В объем настоящего изобретения определенно входит наличие таких элементов, которые расположены в крышке или на ней и которые могут заменяться подобными элементами, расположенными в корпусе противовыбросового превентора или на нем.
Защелкивающийся фиксатор 712 может быть соединен со штоком 716 любым средством, известным в данной области техники. Например, шток 716 может быть соединен с защелкивающимся фиксатором 712 резьбовым соединением. Такое соединение может допускать перемещение защелкивающегося фиксатора 712 вверх и вниз.
На фиг.28А показан другой вариант выполнения соединения между защелкивающимся фиксатором 732 и штоком 736. Шток 736 включает выступ 739 в целом в форме ласточкина хвоста, расположенный на его верхнем конце. Выступ 739 в форме ласточкина хвоста посажен в выемку 738 в форме ласточкина хвоста в защелкивающемся фиксаторе. Взаимодействие выступа 739 в форме ласточкина хвоста с выемкой 738 в форме ласточкина хвоста допускает движение защелкивающегося фиксатора 732 вверх и вниз и позволяет защелкивающемуся фиксатору 732 “плавать”, чтобы он мог лучше сопрягаться с наклонной поверхностью 706 (фиг.27А и 27В) корпуса 702 (фиг.17А и 27В) противовыбросового превентора.
На фиг.28В показан другой вариант выполнения плавающего соединения между защелкивающимся фиксатором 742 и штоком 746. Защелкивающийся фиксатор 742 включает паз 742, а шток 746 включает шпунт 749. Зацепление шпунта 749 и паза 748 создает “шпунтовое” соединение между защелкивающимся фиксатором 742 и штоком 746. Специалисты в данной области техники смогут разработать другие соединения между штоком и защелкивающимся фиксатором без отхода от объема настоящего изобретения.
На фиг.29 показан вариант выполнения дверцы 900 крышки, которую можно использовать с одним или более описанных здесь блокировочных механизмов. Дверца 900 крышки имеет переднюю поверхность 902, которая обращена к центральной линии (не показана) корпуса противовыбросового превентора (не показан), когда крышка соединена с корпусом (не показан) противовыбросового превентора. Отверстие 904 в дверце 900 крышки приспособлено для прохождения привода (не показан) плашки сквозь дверцу 900 крышки.
Дверца 900 крышки имеет паз 912, проходящий по длине ее верхней стороны. Паз 912 образует местоположение, в котором могут располагаться блокировочные механизмы. Подобный паз 914 проходит вдоль нижней стороны дверцы 900 крышки. Сквозь дверцу 900 крышки проходит канал 922, расположенный вблизи паза 912 в верхней стороне. Канал 922 позволяет накачивать гидравлическую или газовую рабочие среды в дверцу 900 крышки для приведения в действие блокировочных механизмов (не показаны), расположенных в пазу 912. Кроме того, в канал 922 можно вставлять механические устройства, которые могут двигаться для обеспечения движения блокировочных механизмов (не показаны) в пазу 912. Подобный канал 924 расположен вблизи нижнего паза 914.
На фиг.30А и 30В показан один вариант выполнения механического устройства, которое можно использовать для перемещения защелкивающихся фиксаторов 1012, 1014, расположенных внутри крышки 1004, в положение зацепления с корпусом 1002 противовыбросового превентора. Внутри крышки 1004 перемещается подвижный привод 1006 для перемещения защелкивающихся фиксаторов 1012, 1014 в положение зацепления. Следует отметить, что в разных вариантах осуществления изобретения подвижный привод 1006 может перемещаться по-разному. Например, в одном варианте осуществления изобретения подвижный привод скользит. Также определенно в рамках настоящего изобретения предусмотрено наличие привода на роликах. Специалисты в данной области техники смогут разработать другие способы облегчения движения привода.
На фиг.30А показаны защелкивающиеся фиксаторы 1012, 1014 в разблокированном положении. Защелкивающиеся фиксаторы 1012, 1014 расположены на углубленных поверхностях 1020, 1021, которые обеспечивают расположение защелкивающихся фиксаторов 1012, 1014 внутри крышки 1004. Подвижный привод 1006 также включает множество опорных поверхностей 1032, 1034. Между углубленными поверхностями 1020, 1021 и опорными поверхностями 1032, 1034 расположены наклонные поверхности 1022, 1023. Когда подвижный привод 1006 движется (например, вправо на фиг.30А), защелкивающиеся фиксаторы 1012, 1014, которые удерживаются на месте в крышке 1004, отталкиваются в выемки 1024, 1025 в корпусе 1002 противовыбросового превентора.
На фиг.30В показаны защелкивающиеся фиксаторы 1012, 1014 в блокированном положении. Защелкивающиеся фиксаторы 1012, 1014 частично вытолкнуты в корпус 1002 противовыбросового превентора подвижным приводом 1006. Фиксаторы 1012, 1014 удерживаются на опорных поверхностях 1032, 1034, при этом защелкивающиеся фиксаторы 1012, 1014 входят в выемки 1024, 1025 в корпусе 1002 противовыбросового превентора для создания запирающего взаимодействия. Крышка 1004 может быть разблокирована посредством перемещения подвижного привода 1006 назад в его исходное положение, показанное на фиг.30А.
На фиг.31 показан другой вариант выполнения блокировочного механизма, соответствующего настоящему изобретению. Защелкивающийся фиксатор 1112 в крышке 1104 соединяют с направляющей 1132 с выемкой подвижного привода 1134 пальцем 1114. Когда привод 1134 перемещает направляющую 1132, защелкивающийся фиксатор 1112 перемещается вверх, в положение запирающего взаимодействия с выемкой 1120 в корпусе 1102 противовыбросового превентора. При перемещении направляющей 1132 в противоположном направлении защелкивающийся фиксатор 1112 возвращается в разблокированное положение. Следует отметить, что направляющая 1132 с выемкой и привод 1134 могут представлять собой единую деталь, или они могут быть сформированы как отдельные компоненты и соединены друг с другом.
На фиг.32 показан еще один вариант выполнения блокировочного механизма для соединения крышки 1204 с корпусом 1202 противовыбросового превентора, соответствующего настоящему изобретению. Защелкивающийся фиксатор 1212 соединяют с опорным фиксатором 1214 двумя наклонными планками 1215, 1216. Каждую наклонную планку 1215, 1216 шарнирно соединяют как с защелкивающимся фиксатором 1212, так и с опорным фиксатором 1214.
Опорный фиксатор 1214 соединен с двумя линейными приводами 1232, 1234, которые перемещают опорный фиксатор 1214 вперед и назад. Выемка 1222 в крышке допускает движение опорного фиксатора из стороны в сторону, но не вверх и вниз.
Защелкивающийся фиксатор 1212 может двигаться вверх и вниз, но не из стороны в сторону. Когда опорный фиксатор 1214 перемещается (например, вправо на фиг.32), наклонные планки 1215, 1216 толкают защелкивающийся фиксатор 1212 вверх, в положение запирающего взаимодействия с выемкой 1220 в корпусе 1202 противовыбросового превентора. В некоторых вариантах осуществления изобретения опорный фиксатор 1214 перемещается только одним приводом. Кроме того, по меньшей мере, в одном варианте осуществления изобретения опорный фиксатор 1214 перемещают ручным приводом. Специалисты в данной области техники смогут разработать другие способы приведения в действие опорного фиксатора 1214 без отхода от объема изобретения.
Еще один вариант выполнения блокировочного механизма показан на фиг.33А-33С. На фиг.33А показан вертикальный вид передней поверхности дверцы 1306 крышки 1304. Дверца 1306 крышки включает четыре вставных фиксатора 1312, 1314, 1316, 1318. Хотя показаны четыре вставных фиксатора 1312, 1314, 1316, 1318, изобретение не ограничивается четырьмя фиксаторами. Можно использовать любое количество вставных фиксаторов без отхода от объема изобретения.
На фиг.33В в увеличенном масштабе показан вставной фиксатор 1312. Вставной фиксатор 1312 включает три запирающих элемента 1332, 1334, 1336, прикрепленных по окружности к оси 1330. Как показано на фиг.33С, запирающий элемент 1332 прикреплен к оси (показана пунктирными линиями 1330) на некотором удалении от дверцы 1306 крышки.
Когда крышку 1304 соединяют с корпусом 1302 противовыбросового превентора, вставные фиксаторы 1312, 1314, 1316, 1318 (фиг.33А) сопрягаются с корпусом 1302 противовыбросового превентора, входя в прорези, например 1346 (фиг.33С), имеющие конфигурацию, подобную конфигурации вставных фиксаторов. При этом часть оси 1330 и три запирающих элемента 1332, 1334, 1336 каждого вставного фиксатора, например, 1312 вставлены в корпус 1302 противовыбросового превентора. Вставной фиксатор 1312 затем поворачивают таким образом, что конические поверхности запирающих элементов 1332, 1334, 1336 (фиг.33В) входят в зацепление с наклонными поверхностями внутри корпуса противовыбросового превентора. Например, как показано на фиг.3ЗС, запирающий элемент 1332 имеет коническую поверхность 1344, которая взаимодействует с наклонной поверхностью 1347 в корпусе 1302 противовыбросового превентора. Благодаря наклону конической поверхности 1344 и наклонной поверхности 1347 при повороте вставных фиксаторов крышка 1304 притягивается к корпусу 1302 противовыбросового превентора. Крышку 1304 и корпус 1302 противовыбросового превентора можно разъединять посредством поворота вставных фиксаторов 1312, 1314, 1316, 1318 в обратном направлении.
На фиг.34А и 34В показан другой блокировочный механизм, соответствующий настоящему изобретению. Крышка 1404 включает выступы 1406, 1407, 1408 в форме половины ласточкина хвоста, каждый из которых имеет коническую поверхность 1414. Корпус 1402 противовыбросового превентора имеет подобные выступы 1416, 1417 в форме половины ласточкина хвоста с противоположными коническими поверхностями 1412. Выступы 1406, 1407, 1408 и 1416, 1417 в форме половины ласточкина хвоста отнесены друг от друга таким образом, что выступы 1406, 1407, 1408 на крышке могут вставляться в корпус 1402 противовыбросового превентора и проходить мимо выступов 1416, 1417 на корпусе противовыбросового превентора, как показано на фиг.34А. При этом выступы 1416, 1417 на корпусе противовыбросового превентора также будут проходить в крышку 1404.
Конические поверхности 1414 в крышке 1404 противостоят коническим поверхностям 1412 в корпусе 1402 противовыбросового превентора таким образом, что когда выступы 1416, 1417 в корпусе 1402 противовыбросового превентора перемещаются относительно крышки 1404 (например, влево на фиг.34А и 34В), они входят в запирающее взаимодействие с выступами 1406, 1407 крышки, как показано на фиг.34В. Когда конические поверхности 1412, 1414 прижимаются друг к другу, корпус 1402 противовыбросового превентора и крышка 1404 притягиваются друг к другу. Следует отметить, что и крышка 1404, и корпус 1402 противовыбросового превентора могут иметь подвижные поверхности, позволяющие оставлять другие компоненты неподвижными.
На фиг.35А и 35В показан другой вариант выполнения блокировочного механизма, соответствующий настоящему изобретению. Как показано на фиг.35А, запирающий элемент 1512 соединен с корпусом 1502 противовыбросового превентора опорным элементом 1536. Запирающий элемент 1512 также соединен с линейным приводом 1532 стержнем 1534.
Запирающий элемент 1512 включает коническую поверхность 1514, противостоящую конической поверхности 1524 крышки 1504, когда крышка расположена в боковом проходе (не показан) корпуса противовыбросового превентора. Для блокирования крышки 1504 относительно корпуса 1502 противовыбросового превентора, запирающий элемент 1512 перемещается ближе к корпусу 1502 противовыбросового превентора таким образом, что коническая поверхность 1514 на запирающем элементе 1512 входит в контакт с конической поверхностью 1524 на крышке 1504, как показано на фиг.35В. Запирающий элемент 1512 перемещается приводом 1532 и скользит вдоль опорного элемента 1536. Давление в зоне контакта между коническими поверхностями 1514, 1524 притягивает крышку 1504 к корпусу 1502 противовыбросового превентора. Изобретение не ограничено линейным приводом. Например, в некоторых вариантах осуществления изобретения запирающий элемент 1512 может перемещаться ручным приводом. Специалисты в данной области техники смогут разработать другие способы приведения в действие, которые не отходят от объема настоящего изобретения.
На фиг.36А-36С показан другой вариант выполнения блокировочного механизма, соответствующий настоящему изобретению. На фиг.36А показан вид сбоку крышки 1604 и корпуса 1602 противовыбросового превентора, которые соединены друг с другом. Крышка 1604 включает множество запирающих выступов, например, запирающий выступ 1612 (фиг.36А), которые проходят вдоль стороны корпуса 1602 противовыбросового превентора.
Корпус 1602 противовыбросового превентора включает запирающие фиксаторы (например, запирающий фиксатор 1622 противовыбросового превентора), которые отступают от корпуса 1602 противовыбросового превентора. Запирающие фиксаторы противовыбросового превентора, например запирающий фиксатор 1622, расположены в шахматном порядке относительно запирающих выступов, например, 1612 крышки таким образом, что они проходят мимо друг друга, когда крышку 1604 и корпус 1602 противовыбросового превентора соединяют. Затем между фиксаторами, например, фиксатором 1612 крышки и фиксатором 1622 противовыбросового превентора вставляют запирающую штангу 1632 для фиксации крышки 1604 на месте.
На фиг.36В показан вид сверху запирающей штанги 1632, расположенной между запирающим фиксатором 1612 крышки и запирающим фиксатором 1622 противовыбросового превентора. Любые силы, которые стремились бы разделять крышку 1604 и корпус 1602 противовыбросового превентора, будут поглощаться запирающей штангой 1632, противодействующей сдвигающему усилию.
На фиг.36С показан вид сверху варианта выполнения блокировочного механизма. Запирающая штанга 1632 шарнирно соединена с корпусом противовыбросового превентора качающимся элементом 1633 и шарниром 1634. Запирающая штанга 1632 может поворачиваться в положение между запирающими фиксаторами, например, запирающим фиксатором 1612 крышки и запирающими фиксаторами, например, запирающим фиксатором 1622 противовыбросового превентора. В этом положении запирающая штанга может противостоять любой силе, которая стремилась бы разъединить крышку 1604 и корпус 1602 противовыбросового превентора.
На фиг.37А и 37В показан другой вариант выполнения запирающего элемента, соответствующий настоящему изобретению. На фиг.37А показан поворотный элемент 1714 в разблокированном положении. Поворотный элемент соединен с корпусом 1702 противовыбросового превентора шарниром 1715 таким образом, что поворотный элемент 1714 может поворачиваться. С поворотным элементом 1714 приводным элементом 1717 соединен линейный привод 1716. Крышка 1704 включает запирающий фиксатор 1712, относительно которого может блокироваться поворотный элемент 1714.
На фиг.37В показан поворотный элемент 1714 в заблокированном положении. Запирающая поверхность 1732 поворотного элемента 1714 фиксируется относительно запирающего фиксатора 1712 для сопротивления силам, которые стремятся разделять корпус 1702 противовыбросового превентора и крышку 1704. Запирающая поверхность может быть наклонной для облегчения процесса запирания. В некоторых вариантах осуществления изобретения запирающая поверхность 1732 формирует запирающий конус.
В некоторых вариантах осуществления изобретения, таких как показанный на фиг.37А, корпус 1702 противовыбросового превентора включает механический стопор. Винт 1722 удерживается на месте стопором 1724. Положение винта 1722 можно регулировать таким образом, чтобы поворотный элемент 1714 мог быть разблокирован при необходимости. В блокированном положении винт 1722 может быть расположен так, чтобы поворотный элемент 1714 не мог перемещаться из положения запирающего контакта с запирающим фиксатором 1712 крышки 1704.
Можно использовать другие приводные устройства без отхода от объема изобретения. Например, поворотный элемент 1714 можно поворачивать ручным приводом. Способ приведения в действие не вносит ограничений в изобретение.
Предпочтительно один или более вариантов осуществления настоящего изобретения обеспечивает прочное прикрепление крышки к корпусу противовыбросового превентора при помощи блокировочного механизма, который можно разблокировать за относительно короткий период времени. Это обеспечивает легкую проверку и замену плашечных блоков, уплотнений и других составляющих компонентов противовыбросового превентора.
Хотя изобретение было описано в отношении ограниченного количества вариантов его осуществления, специалистам в данной области техники, извлекающим пользу из настоящего описания, будет понятно, что могут быть разработаны другие варианты осуществления изобретения без отхода от раскрытого здесь объема изобретения. Соответственно объем изобретения следует ограничивать только прилагаемой формулой изобретения.
Формула изобретения
1. Блокировочный механизм крышки для противовыбросового превентора, содержащий расположенные между крышкой и корпусом противовыбросового превентора радиальный замок с фиксатором, имеющим прямую поверхность, устройство смещения радиального замка и, по меньшей мере, один привод замка, в рабочем положении соединенный с устройством смещения радиального замка, которое приспособлено для смещения радиального замка и создания запирающего взаимодействия между крышкой и корпусом противовыбросового превентора при взаимодействии фиксатора с этим корпусом.
2. Блокировочный механизм крышки для противовыбросового превентора, содержащий расположенные между крышкой и корпусом противовыбросового превентора замок с фиксатором, имеющим наклонную поверхность и выполненным с возможностью защелкивания и фиксации крышки, привод замка, соединенный в рабочем положении с фиксатором и обеспечивающий при установке крышки перемещение фиксатора в направлении корпуса противовыбросового превентора до запирающего взаимодействия с наклонной поверхностью, выполненной в корпусе противовыбросового превентора.
3. Блокировочный механизм по п.2, в котором фиксатор содержит выемку в форме ласточкина хвоста, а привод замка соединен с фиксатором осью, имеющей выступ в форме ласточкина хвоста, размещенный в указанной выемке.
РИСУНКИ
MM4A – Досрочное прекращение действия патента СССР или патента Российской Федерации на изобретение из-за неуплаты в установленный срок пошлины за поддержание патента в силе
Дата прекращения действия патента: 28.04.2006
Извещение опубликовано: 20.06.2007 БИ: 17/2007
NF4A Восстановление действия патента СССР или патента Российской Федерации на изобретение
Дата, с которой действие патента восстановлено: 20.06.2007
Извещение опубликовано: 20.06.2007 БИ: 17/2007
PC4A – Регистрация договора об уступке патента Российской Федерации на изобретение
(73) Патентообладатель(и):
ХАЙДРИЛ КОМПАНИ (US)
(73) Патентообладатель:
ХАЙДРИЛ ЮЭсЭй МЭНЬЮФЭКЧУРИНГ ЭлЭлСи (US)
Дата и номер государственной регистрации перехода исключительного права: 25.05.2009 № РД0050465
Извещение опубликовано: 10.07.2009 БИ: 19/2009
|
|