|
|
(21), (22) Заявка: 2004117630/03, 09.06.2004
(24) Дата начала отсчета срока действия патента:
09.06.2004
(43) Дата публикации заявки: 20.11.2005
(45) Опубликовано: 10.04.2006
(56) Список документов, цитированных в отчете о поиске:
RU 2086400 C1, 10.08.1997. SU 85712, 07.09.1964. SU 1173033 А, 15.08.1985. SU 1184922 А, 15.10.1985. SU 627769, 05.10.1978. US 4445402, 01.05.1984.
Адрес для переписки:
620062, г.Екатеринбург, ул.Ленина, 62, корп.8, кв.54, А.И. Литвинову
|
(72) Автор(ы):
Литвинов Анатолий Иванович (RU)
(73) Патентообладатель(и):
Литвинов Анатолий Иванович (RU)
|
(54) СПОСОБ СВИНЧИВАНИЯ ИЛИ РАЗВИНЧИВАНИЯ РЕЗЬБОВЫХ СОЕДИНЕНИЙ ТРУБ И УСТРОЙСТВО ДЛЯ ЕГО ОСУЩЕСТВЛЕНИЯ
(57) Реферат:
Изобретение относится к области машиностроения, а именно к буровой технике для соединения бурильных и обсадных труб. Технический результат изобретения выражается в использовании одного привода, оснащенного дифференциальной передачей для выполнения операций по свинчиванию или развинчиванию замковых соединений труб. Способ свинчивания или развинчивания резьбовых соединений труб заключается в том, что стопорение одной трубы и вращение для ввинчивания или развинчивания другой трубы осуществляется одновременно с использованием гидравлического привода и тормозной системы для передачи трубам разнонаправленных крутящих моментов одной величины с гашением реактивных моментов собственно приводом и тормозной системой. Устройство по этому способу содержит два соосных приводных ключа, каждый из которых включает корпус и механизм зажима труб, при этом привод ключей выполнен общим и состоит из кинематически связанных валом быстроходного редуктора и дифференциального блока, состоящего из корпуса с наружным и внутренним зубчатым венцами, водила с установленными в нем тремя сателлитами и размещенного в корпусе первого ключа, ведомой шестерни, кинематически связанной с водилом и установленной в корпусе второго ключа с возможностью взаимодействия с соответствующими шестернями механизмов зажима труб. В свою очередь механизм зажима труб первого ключа жестко соединен с тормозным шкивом тормозной системы, которая установлена на корпусе первого ключа и содержит четыре прижимные колодки и цилиндрическую обойму со встроенными в ней гидроцилиндрами прижима колодок, с возможностью поворота цилиндрической обоймы совместно со шкивом и механизмом зажима труб первого ключа относительно оси трубозажимного механизма. Дополнительно цилиндрическая обойма снабжена двумя упорами, из которых один упор жестко связан с цилиндрической обоймой, взаимодействует с двумя гидроцилиндрами докрепления-раскрепления резьб, а другой упор связан с цилиндрической обоймой через шарнирную ось, также взаимодействует с двумя другими гидроцилиндрами докрепления-раскрепления резьб, обеспечивая таким образом гашение обратных реакций и увеличение крутящих и стопорных моментов трубозажимным механизмам. 2 н.п.ф-лы, 2 ил. 
Изобретение относится к буровой технике и может быть использовано на существующих буровых установках, работающих как на море, так и на суше для соединения бурильных или обсадных труб.
Существующие способы свинчивания или развинчивания резьбовых соединений основаны на выполнении операций удержания неподвижной трубы и вращения свинчиваемой или развинчиваемой с ней другой трубы с использованием разных приводов, как правило: для вращения верхней трубы применяют гидромоторы или электродвигатели, а для стопорения нижней трубы гидроцилиндры, которые кинематически не связаны с приводами вращения (1).
Принцип работы приводов по (1) сводится к следующему: включаются гидропривода, одновременно или раздельно (не имеет значения), сухари трубозажимных устройств сходятся на трубе. Так как второй ключ имеет неподвижное кулачковое кольцо, а охватывающие его сверху и снизу диски, в свою очередь соединенные посредством цепей через приводной механический вал с гидромотором, имеют ограниченный угол поворота, то шарнирно-скрепленные с дисками трубозажимные механизмы с сухарями (по правилу клина) замыкаются на трубе, создавая распорные усилия, посредством которых труба удерживается от поворота, а гидромотор привода переходит в режим насоса, обеспечивая постоянство рабочего давления. В свою очередь первый ключ, имеющий силовой привод, приводит во вращение зубчатое колесо с размещенными внутри него кулачковыми поверхностями, обеспечивает зажим трубозажимными механизмами первой трубы и ее дальнейшее вращение.
По мере возникновения дополнительных сил сопротивлений в резьбовых частях соединений рабочее давление в гидросистеме, поступающее в гидромотор первого ключа, увеличивается, увеличивается и крутящий момент, и за счет сил трения производится доворот трубозажимного механизма второго ключа, производя докрепление или раскрепление первой трубы со второй. Без наличия второго привода во втором ключе проведение операций по свинчиванию или развинчиванию были бы невозможно.
В патенте США №4445402 (фиг.4) указан гидропривод второго ключа, который имеет общий механический вал со звездочками для обеспечения поворота дисков относительно неподвижного кулачкового кольца, и отсутствует какая-либо связь этого вала с вращающимся зубчатым колесом первого ключа. Гашение реакций от крутящих моментов производится через штыри на стационарную раму устройства. Совмещение одним приводом зажима и вращение трубы первого ключа с зажимом и стопорением трубы второго ключа привело бы устройство (конструкцию) в неработоспособное состояние.
Известно устройство для свинчивания или развинчивания резьбовых соединений (2), выбранное в качестве прототипа предлагаемому устройству, которое содержит расположенные соосно два приводных ключа, смонтированные на общей раме. Механизмы зажатия труб в обоих ключах смонтированы в зубчатых колесах, находящихся в зацеплениях с шестернями общего привода, состоящего из быстроходного редуктора и дифференциального блока.
Дифференциальный блок содержит корпус и водило и размещен внутри корпусов обоих ключей. Корпус дифференциального блока, имеющего наружный и внутренний зубчатые венцы, расположен в корпусе приводного ключа, а вал водила с находящейся с ним в зацеплении ведомой шестерней – в корпусе удерживающего ключа.
Корпус дифференциального блока установлен на опорных подшипниках в расточках корпуса приводного ключа, зафиксирован от выпадения крышками, а водило дифференциального блока встроено на подшипниках качения во внутреннюю расточку корпуса блока, через которую проходит вертикальный вал, соединенный зацеплениями в нижней части с ведомой шестерней быстроходного редуктора, а в верхней части с сателлитными шестернями водила дифференциального блока.
Конструкция прототипа также обладает недостатками:
– имеет ограниченную возможность в создании высоких крутящих и стопорных моментов при операциях докрепления-раскрепления резьбовых соединений;
– принципиальная невозможность применения указанного устройства на буровых установках отечественного производства, не имеющих жестких направляющих вышки для восприятия ими реактивных сил от крутящего момента, создаваемого приводом, и, как следствие, невозможность их установки в подвесном варианте на гибких связях.
Указанные проблемы стимулировали поиск новых технических решений. Технический результат изобретения выражается в использовании одного привода, оснащенного дифференциальной передачей для выполнения операций по свинчиванию или развинчиванию замковых соединений труб, повышая надежность срабатывания захватных элементов трубозажимных устройств с автоматически саморегулированием крутящего момента в зависимости от сил сопротивления, возникающих при операциях свинчивания-развинчивания или докрепления-раскрепления резьб. Способ свинчивания или развинчивания резьбовых соединений труб заключается в том, что стопорение одной трубы и вращение для свинчивания или развинчивания другой трубы осуществляется одновременно с использованием авторегулируемого гидравлического привода и тормозной системы с передачей трубам разнонаправленных крутящих моментов одной величины с обеспечением гашения реактивных моментов собственно приводом и тормозной системы без передачи их на внешние элементы буровой установки.
Устройство по этому способу снабжено двумя зубчатыми колесами, каждое из которых посредством подшипниковых опор установлено в корпусе соответствующего ключа с возможностью взаимодействия с соответствующим механизмом зажима труб и двумя промежуточными шестернями, каждая из которых установлена в корпусе соответствующего ключа с возможностью взаимодействия с соответствующим зубчатым колесом, привод ключей выполнен общим и состоит из кинематически связанных валом быстроходного редуктора и блока дифференциала, состоящего из корпуса с наружными и внутренними эвольвентными зубьями, водила с установленным в нем тремя сателлитами и размещенного в корпусе ключа вращателя труб, ведомой шестерней, кинематически связанной с водилом и установленной в корпусе стопорного ключа с возможностью взаимодействия с соответствующей промежуточной шестерней, причем наружные эвольвентные зубья корпуса блока дифференциала расположены в корпусе ключа вращателя труб с возможностью взаимодействия с его промежуточной шестерней; при этом механизм зажима ключа вращателя труб жестко соединен с тормозным шкивом тормозной системы, которая в свою очередь установлена на корпусе ключа вращателя труб и содержит четыре тормозные колодки и цилиндрическую обойму со встроенными в ней гидроцилиндрами прижима тормозных колодок с возможностью поворота цилиндрической обоймы совместно со шкивом и механизмом зажима труб вращателя ключа относительно оси механизма зажима труб, при этом дополнительно цилиндрическая обойма снабжена двумя упорами, из которых один упор жестко связан с цилиндрической обоймой и установлен с возможностью взаимодействия с двумя гидроцилиндрами докрепления-раскрепления резьб, а другой упор связан с цилиндрической обоймой через шарнирную ось и установлен с возможностью взаимодействия с двумя другими гидроцилиндрами докрепления-раскрепления резьб, обеспечивая таким образом гашение обратных реакций и увеличение крутящих и стопорных моментов механизмами зажима труб.
Предлагаемое устройство свинчивания или развинчивания резьбовых соединений труб обеспечивает:
– использование одного привода для вращения верхней трубы и стопорения нижней трубы с гашением обратных реакций внутри собственного корпуса ключа при выполнении операций свинчивания-развинчивания резьб, что позволяет применять ключ как в подвесном варианте, так и с установкой его на колонну буровой установки;
– создание высоких моментов кручения и стопорения за счет применения отдельной тормозной системы, снабженной дополнительным устройством докрепления-раскрепления резьб, что позволяет существенно уменьшить нагрузки на зубчатые элементы вращателя и стопорного ключа.
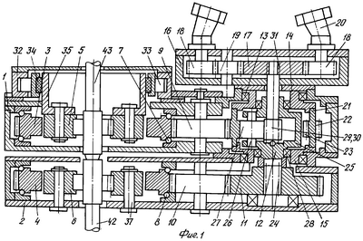
На фиг.1 представлен вид устройства в разрезе.
На фиг.2 представлен вид сверху на тормозную систему.
Устройство содержит соосные корпус 1 ключа вращателя труб, корпус 2 стопорного ключа, в которых смонтированы зубчатые колеса 3 и 4 со встроенными в них механизмами зажима труб 5 и 6, подшипниковые опоры 7 и 8, промежуточные шестерни 9 и 10 и сочлененные с ними эвольвентными зацеплениями ведомая шестерня 11 и блок дифференциала 12.
Блок дифференциала 12 установлен на подшипниках качения 13 в корпусе 1 вращателя труб и зафиксирован от выпадения верхней крышкой 14 и нижней крышкой 15.
На верхнем основании корпуса 1 встроен корпус быстроходного редуктора 16, содержащий ведомую шестерню 17, ведущие шестерни 18, промежуточную шестерню 19 и два привода 20.
Блок дифференциала, состоящего из: корпуса 21 с наружными и внутренними эвольвентными зубьями 22 и 23 со шлицевой расточкой 24 в нижней части и встроенного в корпус 21 водила 25 с установленными на осях 26 тремя сателлитами 27.
В свою очередь водило 25 установлено на подшипниках качения 28 во внутренние расточки корпуса 21.
Во внутреннюю расточку водила 25 встроен вертикальный вал 29, в нижней части имеющий эвольвентные зубья 30, посредством которых он находится в зацеплении с сателлитами 27 блока дифференциала 12 и шлицевую расточку 31 в верхней части, посредством которой вертикальный вал 29 находится в зацеплении с ведомой шестерней 17 редуктора 16.
На верхнее основание корпуса 1 установлена тормозная система, состоящая из обоймы 32, с радиально размещенными внутри нее восью гидроцилиндрами 33, четырех тормозных колодок 34 и тормозного шкива 35, жестко скрепленного дюбелями 36 с механизмом зажима труб 5.
В свою очередь механизм зажима труб 6 жестко скреплен дюбелями 37 с корпусом 2.
Обойма 32 в нижней части основания имеет два паза 38, в которые встроены упоры 39 и 40, при этом упор 39 жестко скреплен с основанием обоймы 32, а упор 40 установлен на корпусе 1 посредством шарнирной оси 41 с возможностью его поворота относительно оси 41. Выступающие концы упоров 39 и 40 зафиксированы гидроцилиндрами 44 и 45, установленными на верхнем основании корпуса 1.
Устройство работает следующим образом.
С момента подачи давления на привода 20 (гидромоторы ГМ1 и ГМ2) вращение через ведущие шестерни 18 и промежуточную шестерню 19 передается ведомой шестерне 17 редуктора 16. При этом привода 20 имеют разные направления, а шестерня 17 получает вращение в одном направлении, обеспечивая таким образом гашение реактивных моментов от работы приводов 20.
Одновременно производится прижатие тормозных колодок 34 к тормозному шкиву 35, затормаживая его, а через него и зубчатое колесо 3 вращателя труб.
Так как сопротивление вращению у вращателя выше, чем у стопорного ключа, то вначале происходит схождение сухарей механизма зажима труб 6 к трубе 42. Вращение шестерни 17 через шлицевую расточку 31 передается вертикальному валу 29.
Вал 29, получив вращение, передает его через эвольвентные зубья 30 сателлитам 27, которые в свою очередь приводят во вращение водило 25, а через него и через шлицевую расточку 24, ведомой шестерни 11 и промежуточной 10, приводят во вращение зубчатое колесо 4.
Встроенный в зубчатое колесо 4 механизм зажима труб 6 приводится в движение, его сухари сходятся на нижней трубе 42 и замыкаются на ней.
После того как нижний механизм зажима труб 6 замыкается на трубе 42, вращение колеса 4, шестерен 10, 11 и водила 25 прекращается, сохраняя при этом усилие зажима сухарями трубы 42 и вращение вала 29, который, в свою очередь, вращаясь через сателлиты 27, приводит во вращение корпус 21 блока дифференциала 12, а через него и промежуточную шестерню 9 – вращение зубчатого колеса 3.
Зубчатое колесо 3, получив вращение, противоположное по направлению к колесу 4, приводит в движение механизм зажима труб 5, его сухари сходятся на верхней трубе 43, зажимают ее и передают ей вращение. Происходит процесс свинчивания или развинчивания замковых соединений.
При касании торцов труб 42 и 43 происходит резкое возрастание сопротивлений, что приводит к увеличению крутящего момента и возникающих реактивных моментов. Гашение этих моментов осуществляется посредством упоров 39 – и 40, из которых упор 39, жестко скрепленный с обоймой 32, передает реакции на корпус 1 через гидроцилиндры 44 с одним знаком (+ или -), а упор 40, шарнирно соединенный с корпусом 1 осью 41, передает реакции на корпус 1 через гидроцилиндры 45 с противоположным знаком упору 39 (+ или -), при этом корпус 1 остается неподвижным.
Источники информации
1. Патент США №4445402, кл. В 25 В 17/00, 1984 г.
2. Патент РФ №2086400, кл. В 25 В 17/00, 1997 г. (прототип).
Формула изобретения
1. Способ свинчивания или развинчивания резьбовых соединений труб, при котором производят стопорение одной трубы и вращение для свинчивания или развинчивания с ней другой трубы, отличающийся тем, что стопорение одной трубы и вращение для свинчивания или развинчивания другой трубы осуществляют одновременно с использованием автоматически регулируемого гидравлического привода и тормозной системы с передачей трубам разнонаправленных крутящих моментов одной величины и обеспечением при этом гашения реактивных моментов собственно приводом и тормозной системой без передачи последних на внешние элементы.
2. Устройство свинчивания или развинчивания резьбовых соединений труб, содержащее два соосных приводных ключа, каждый из которых включает корпус и механизм зажима труб, привод для вращения верхней трубы и стопорения нижней трубы, отличающееся тем, что оно снабжено двумя зубчатыми колесами, каждое из которых посредством подшипниковых опор установлено в корпусе соответствующего ключа с возможностью взаимодействия с соответствующим механизмом зажима труб и двумя промежуточными шестернями, каждая из которых установлена в корпусе соответствующего ключа с возможностью взаимодействия с соответствующим зубчатым колесом, привод ключей выполнен общим и состоит из кинематически связанных валом быстроходного редуктора и блока дифференциала, состоящего из корпуса с наружными и внутренними эвольвентными зубьями, водила с установленными в нем тремя сателлитами и размещенного в корпусе ключа вращателя труб, ведомой шестерней, кинематически связанной с водилом и установленной в корпусе стопорного ключа с возможностью взаимодействия с соответствующей промежуточной шестерней, причем наружные эвольвентные зубья корпуса блока дифференциала расположены в корпусе ключа вращателя труб с возможностью взаимодействия с его промежуточной шестерней; при этом механизм зажима ключа вращателя труб жестко соединен с тормозным шкивом тормозной системы, которая, в свою очередь, установлена на корпусе ключа вращателя труб и содержит четыре тормозные колодки и цилиндрическую обойму со встроенными в ней гидроцилиндрами прижима тормозных колодок с возможностью поворота цилиндрической обоймы совместно со шкивом и механизмом зажима труб вращателя ключа относительно оси механизма зажима труб, при этом дополнительно цилиндрическая обойма снабжена двумя упорами, из которых один упор жестко связан с цилиндрической обоймой и установлен с возможностью взаимодействия с двумя гидроцилиндрами докрепления-раскрепления резьб, а другой упор связан с цилиндрической обоймой через шарнирную ось и установлен с возможностью взаимодействия с двумя другими гидроцилиндрами докрепления-раскрепления резьб, обеспечивая таким образом гашение обратных реакций и увеличение крутящих и стопорных моментов механизмами зажима труб.
РИСУНКИ
MM4A – Досрочное прекращение действия патента СССР или патента Российской Федерации на изобретение из-за неуплаты в установленный срок пошлины за поддержание патента в силе
Дата прекращения действия патента: 10.06.2008
Извещение опубликовано: 10.07.2010 БИ: 19/2010
|
|