|
|
(21), (22) Заявка: 2004111531/03, 15.04.2004
(24) Дата начала отсчета срока действия патента:
15.04.2004
(43) Дата публикации заявки: 20.10.2005
(45) Опубликовано: 10.04.2006
(56) Список документов, цитированных в отчете о поиске:
RU 7443 U1, 16.08.1998. SU 168226 А, 18.02.1965. SU 575411 А, 05.10.1977. SU 712490 А, 30.01.1980. RU 2025604 С1, 30.12.1991.
Адрес для переписки:
117342, Москва, а/я 4
|
(72) Автор(ы):
Гаджибеков Гюльахмед Магомедович (RU), Гасанов Ариф Гасанович (RU), Кустов Владимир Васильевич (RU), Белолипецкая Ольга Анатольевна (RU), Куманцов Алексей Владимирович (RU), Бурмистров Павел Валентинович (RU), Кулиш Дмитрий Николаевич (RU), Андрианов Вячеслав Григорьевич (RU)
(73) Патентообладатель(и):
Гаджибеков Гюльахмед Магомедович (RU)
|
(54) КОМПЕНСАТОР ДИНАМИЧЕСКИХ НАГРУЗОК ШТАНГ
(57) Реферат:
Изобретение относится к нефтедобывающей промышленности, в частности к компенсаторам для штанговых глубинных насосов. Обеспечивает повышение надежности компенсатора динамических нагрузок штанг, увеличение его ресурса и снижение затрат, связанных с его изготовлением, повышение эффективности демпфирования. Устройство предназначено для соосного размещения между колонной штанг и штанговым насосом. Оно содержит плунжер, размещенный в цилиндрическом корпусе, заполненном рабочей жидкостью, перетекающей через перепускные отверстия при работе плунжера из верхней части цилиндрического корпуса в нижнюю. Отверстия выполнены в виде, по крайней мере, одного паза на плунжере и, по крайней мере, одной кольцевой канавки на его внешней поверхности. Пазы и канавки расположены по отношению друг к другу таким образом, чтобы полости, образованные ими, пересекались между собой. 1ил. 
Изобретение относится к добыче нефти штанговыми глубинными насосами, в частности к компенсаторам динамических нагрузок штанг.
Известен компенсатор веса глубинно-насосных штанг, содержащий цилиндр, связанный с насосно-компрессорными трубами (НКТ), и поршень, концентрично размещенный относительно штанг и связанный с ним [1].
Недостатком указанного компенсатора является то, что каналы, выполненные в цилиндре, а также уплотнения являются причиной утечки скважинной продукции из НКТ в затрубное пространство.
Известен также компенсатор веса глубинно-насосных штанг, состоящий из цилиндра, связанного с НКТ, поршня, установленного на глубинно-насосных штангах, и уплотнения. Пространство между поршнем и уплотнением связано с затрубным пространством посредством каналов [2].
Однако через каналы в цилиндре происходит утечка продукции скважины из НКТ в затрубье, снижая при этом надежность работы компенсатора.
Существует компенсатор динамических нагрузок штанг по техническому решению наиболее близкий к предлагаемому, содержащий штанговый насос, цилиндр с рабочей поверхностью, плунжер, связанный с колонной штанг, и колонну НКТ, в котором по концам рабочей поверхности цилиндра выполнены отверстия, выполняющие роль каналов для перетекающей жидкости [3].
В известном компенсаторе сечения отверстий определяют количество жидкости при перетоке. А поскольку жидкость, как правило, содержит механические примеси, то имеет место эрозионный износ, увеличивающий диаметры отверстий и ухудшающий компенсацию динамических нагрузок штанг, в результате чего приходится предъявлять особые требования к износостойкости материала, что связано с дополнительными затратами.
Цель изобретения состоит в повышении надежности компенсатора, увеличении его ресурса и снижении затрат, связанных с его изготовлением, и сводится к созданию такой системы отверстий для перетекающей жидкости, которая бы могла влиять на ее гидравлическое сопротивление не только за счет сечения отверстий, но и за счет их длины. Размещение этих отверстий на плунжере упрощает устройство.
Сущность изобретения сводится к тому, что в компенсаторе динамических нагрузок глубинно-насосных штанг, предназначенном для соосного размещения между колонной штанг и штанговым насосом, содержащем плунжер, размещенный в цилиндрическом корпусе, заполненном рабочей жидкостью, перетекающей через пропускные отверстия при работе плунжера из верхней части цилиндрического корпуса в нижнюю, вышеуказанные отверстия выполнены в виде, по крайней мере, одного паза на плунжере и, по крайней мере, одной кольцевой канавки на его внешней поверхности, при этом пазы и канавки расположены по отношению друг к другу таким образом, чтобы их полости пересекались между собой.
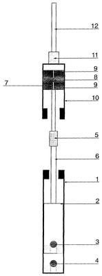
На чертеже схематически изображен предлагаемый компенсатор динамических нагрузок штанг в продольном разрезе.
Устройство, согласно настоящему изобретению, состоит из цилиндра 1 штангового насоса, в котором размещен плунжер 2 штангового насоса с нагнетательным клапаном 3 и всасывающим клапаном 4. Плунжер 2 посредством муфты 5 и штока 6 соединен с плунжером компенсатора 7, размещенным в цилиндре 10. В компенсаторе 7 имеются кольцевая канавка 8 и продольные пазы 9. Цилиндр 10 через переходную муфту 11 соединен с колонной насосно-компрессорных труб 12.
Компенсатор работает следующим образом: после его спуска в скважину на колонне штанг имеют место знакопеременные усилия, заставляющие колонну штанг совершать возвратно-поступательные движения.
При ходе плунжера 2 штангового насоса вверх плунжер компенсатора 7 стремится в крайнее нижнее положение. Жидкость из-под плунжера 7 через продольные пазы 9 и кольцевую канавку 8 стремится наполнить цилиндр 10. При ходе плунжера 2 вниз за счет его трения о стенки цилиндра 1 и потерь в нагнетательном клапане 3 плунжер компенсатора 7 стремится в крайнее верхнее положение, вытесняя при этом жидкость из полости цилиндра 10 над собой через продольные пазы 9 и кольцевую канавку 8. В результате перетока жидкости через продольные пазы 9 и кольцевую канавку 8 создается эффект демпфирования. Выбор соответствующего сечения и длины отверстий, а также их взаимное расположение позволяет повысить эффективность демпфирования за счет удлинения пути для перетекающей жидкости и изменения гидравлического сопротивления.
Предлагаемый компенсатор позволяет уменьшить ускорение плунжера штангового насоса, компенсирует удлинение насосных штанг и снимает ударные динамические нагрузки, действующие на колонну насосных штанг, так как в результате перетока жидкости по системе паз – канавка создается усилие меньшее, нежели усилие, создаваемое в колонне штанг.
Источники информации
1. Муравьев Н.М. и др. Насосная эксплуатация скважин за рубежом, Москва, Недра, 1967.
2. А.С. СССР №183079, кл. F 04 В 47/00, 1966.
3. Полезная модель к свидетельству РФ №7443, кл. Е 21 В 43/00, 1998 (прототип).
Формула изобретения
Компенсатор динамических нагрузок глубинно-насосных штанг, предназначенный для соосного размещения между колонной штанг и штанговым насосом, содержащий плунжер, размещенный в цилиндрическом корпусе, заполненном рабочей жидкостью, перетекающей через перепускные отверстия при работе плунжера из верхней части цилиндрического корпуса в нижнюю, отличающийся тем, что вышеуказанные отверстия выполнены в виде, по крайней мере, одного паза на плунжере и, по крайней мере, одной кольцевой канавки на его внешней поверхности, при этом пазы и канавки расположены по отношению друг к другу таким образом, чтобы полости, образованные ими, пересекались между собой.
РИСУНКИ
|
|