|
(21), (22) Заявка: 2004124878/03, 16.08.2004
(24) Дата начала отсчета срока действия патента:
16.08.2004
(45) Опубликовано: 10.04.2006
(56) Список документов, цитированных в отчете о поиске:
БЕЛЕВИЧ В.Б. Кровельные работы. М.: Высшая школа, 2000, с. 321-374. US 3969850 A, 20.07.1976. JP 57-18023 A, 14.04.1982. DE 2842347 A, 03.04.1980. GB 1543946 A, 11.04.1979.
Адрес для переписки:
119421, Москва, Ленинский пр-кт, 99, кв.226, пат.пов. Ю.И. Копырину, рег.№ 37
|
(72) Автор(ы):
Протасов Виктор Петрович (RU), Дегтярев Иван Михайлович (RU), Бахмисов Владимир Андреевич (RU)
(73) Патентообладатель(и):
Протасов Виктор Петрович (RU)
|
(54) МЕТАЛЛИЧЕСКАЯ КРОВЛЯ КРЫШИ И СПОСОБ ЕЕ ВОЗВЕДЕНИЯ
(57) Реферат:
Заявлены металлическая кровля крыши и способ ее возведения. Сущность изобретения состоит в том, что настенные желоба, сформированные из края рядовой кровли, и поддерживающие крюки, закрепленные под ними, изготовлены в результате их одновременного изгиба. Это позволяет полностью устранить горизонтальные лежачие фальцы, соединяющие рядовую кровлю с настенными желобами, как одно из самых узких мест в надежности кровли, обеспечить сокращение времени и трудоемкости ее возведения и ремонта, рост технологичности работ, и, как следствие, качества работ. 2 н. и 26 з.п. ф-лы, 16 ил. 
Изобретение относится к области строительства и может быть использовано для возведения металлических кровель, например, фальцевых металлических кровель из кровельных картин, изготовленных из металлических листов, в том числе из картин, изготовленных из рулонного кровельного металла.
Известно, что на скатных кровлях при высоте здания более трех этажей обязательно устройство организованного водостока. Наиболее распространенный вариант – устройство настенных желобов, в частности, на фальцевых кровлях.
Известна металлическая кровля крыши, включающая рядовую кровлю из соединенных фальцами кровельных картин рядовой кровли с настенными желобами, расположенными с уклоном в сторону лотков на поддерживающих крюках, и карнизный свес [1].
Согласно этому техническому решению для возведения металлической кровли крыши монтируют на обрешетке карнизный свес, а также рядовую кровлю из соединенных фальцами по длинным сторонам картин с закрепленными на поддерживающих крюках настенными желобами, расположенными с уклоном в сторону лотков, размещенных над водоприемными воронками.
Металлическая кровля крыши и способ ее возведения, охарактеризованные в источнике [1], приняты в качестве прототипа заявленных изобретений, поскольку являются наиболее близкими к ним по совокупности общих существенных признаков и достигаемому результату.
Для возведения описанной в прототипе [1] традиционной фальцевой кровли с настенными желобами картины для настенных желобов заготавливаются в мастерской.
При этом подготовка картин для настенных желобов включает в себя ряд технологических этапов:
1) соединение двух листов кровельного материала короткими сторонами в картину двойным лежачим фальцем по направлению стока воды, который включает в себя 24 операции по загибу и правке и 6 переворачиваний листов на верстаке или гибочном станке;
2) отгиб кромки на длинной стороне картины для соединения с листами рядовой кровли, который включает 2 операции и 1 переворачивание;
3) отгиб отворотной ленты по другой длинной стороне картины, который содержит 3 операции и 2 переворачивания;
4) отгиб борта (стенки) настенного желоба в несколько проходов;
5) сваливание борта настенного желоба на требуемый угол.
После устройства на крыше строящегося сооружения карнизных свесов и закрепления поддерживающих крюков для крепления настенных желобов, заготовленные картины настенных желобов подаются на кровлю, укладываются на поддерживающие крюки, соединяются между собой двойным лежачим фальцем с промазкой герметика и закрепляются по верхним краям кляммерами к обрешетке, бортами – к поддерживающим крюкам с помощью заклепок или иным способом. Затем устраивается рядовая кровля, нижняя ее кромка обрезается по месту примыкания к настенному желобу с напуском для фальца и соединяется с верхним краем настенного желоба посредством горизонтального лежачего фальцевого соединения с промазкой герметика. Торцы гребневых (стоячих) фальцев рядового покрытия обрабатываются путем обрезки конца внутреннего фальца под углом 60 градусов, вырезки угла на внешнем фальце, подгибки внутрь конца внешнего фальца и нахлестываются верхним фальцем гребня.
Как показывает опыт, самыми уязвимыми местами на фальцевой кровле являются места примыканий к конструктивным элементам кровли и соединения кровельных картин посредством горизонтальных лежачих фальцев. К таким соединениям относятся горизонтальные лежачие фальцы соединений картин рядовой кровли между собой, картин ендовы между собой, рядовой кровли с настенными желобами, ендов (разжелобков) с настенным желобом.
При летних осадках, даже ливневых, водоотводящие системы, при правильном их устройстве, довольно хорошо справляются с потоком воды. Но в зимний период, особенно с частыми оттепелями, накопившийся на кровле снег и лед, подтаивая и сползая с рядовой кровли, не только перекрывает настенный желоб, но и намного выше по уровню ската перекрывает горизонтальные лежачие фальцы соединения настенного желоба с рядовой кровлей и ендовой и соединения рядовых картин, хотя место соединения настенного желоба с рядовой кровлей принято устраивать выше борта настенных желобов. При подтаивании снега и льда вода попадает под лежачий фальц снаружи, со стороны желоба. Замерзая, вода превращается в лед и распирает фальц изнутри, что приводит к раскрытию фальца, хоть и в небольшой степени. Через определенное количество циклов “оттаивания-замерзания” фальцы раскрываются уже значительно и получаются протекающие фальцы, особенно при промазывании фальцев высыхающими герметиками. Ситуация усугубляется в случае недостаточной вентиляции чердачного помещения и при температурах в нем, превышающих значение температуры окружающего воздуха более чем на 4-6 градусов. В этом случае на внутренней поверхности кровли образуется конденсат атмосферной влаги, который мелкими каплями также стекает внутрь нижележащих горизонтальных фальцев и уже изнутри, в виде льда, стремится расширить фальцы.
Таким образом, в горизонтальные лежачие фальцы часто попадает влага, которая, помимо раскрытия фальцев в зимнее время, ведет к увеличению скорости коррозии в пазухах фальца. Поэтому срок службы горизонтальных лежачих фальцев по сравнению с остальной кровлей ниже в 1,5-2 раза.
Необходимо также иметь в виду, что для соединения настенного желоба с рядовыми картинами и ендовой применяются металлические инструменты (молотки, металлическая лапа, зубило и др.), которые повреждают защитный поверхностный слой кровельного материала и оголяют металл. Повреждение поверхностного слоя приводит также к увеличению скорости коррозии металла в этих местах и, как следствие, к преждевременному ослаблению металла, образованию свищей и отверстий в зоне фальца, питтингообразованию (точечной коррозии в глубину). К тому же, в раскрытые фальцы набиваются пыль и грязь, которые также впитывают и удерживают влагу, которая способствует коррозии.
Из всего сказанного следует, что чем меньше на кровле лежачих горизонтальных фальцев, тем более кровля непроницаема для влаги и менее доступна коррозии.
В настоящее время, в целях уменьшения количества горизонтальных лежачих фальцев, соединяющих картины рядовой кровли между собой, применяется технология изготовления фальцованных картин из рулонного металлического листа. Картины рядовой кровли изготавливаются длиной, равной длине ската, исключая карнизные свесы и настенные желоба. Соединение этих картин с настенными желобами остается прежним – посредством лежачего горизонтального фальца, т.е., остается “последний” горизонтальный лежачий фальц.
Целью заявленных изобретений является намерение найти новую конструкцию металлической кровли крыши и способа ее изготовления, которая характеризовалась бы отсутствием горизонтальных лежачих фальцевых соединений, то есть, отсутствием опасности протечек через раскрытые фальцы, особенно в зимний период эксплуатации; увеличенным сроком службы вследствие снижения коррозии металла в местах соединения настенного желоба с рядовой кровлей, снижением трудоемкости изготовления и ускорением производства работ по возведению, увеличенной прочностью крепления настенного желоба к обрешетке и повышенной пространственной жесткости настенного желоба, возможностью варьировать высотой бортов уже смонтированного настенного желоба.
Первым объектом нашего изобретения является металлическая кровля крыши, включающая рядовую кровлю из соединенных фальцами кровельных картин рядовой кровли с настенными желобами, расположенными с уклоном в сторону лотков на поддерживающих крюках, и карнизный свес, причем, согласно изобретению, картины рядовой кровли выполнены с напуском для формирования настенных желобов, а настенные желоба и поддерживающие крюки представляют собой одновременно изогнутые над карнизным свесом концевые части рядовой кровли со сваленными в сторону лотка фальцами и металлических полос, закрепленных под концевыми частями рядовой кровли.
Данная совокупность общих существенных признаков применима при любом использовании заявленного устройства.
По сравнению с принятой за прототип традиционной конструкцией металлической кровли крыши заявленная конструкция металлической кровли крыши со сформированными настенными желобами из рядовой кровли имеет следующие преимущества:
1) такая кровля не имеет горизонтальных “лежачих” фальцевых соединений, то есть, нет опасности протечек через раскрытые фальцы, особенно в зимний период эксплуатации;
2) коррозия металла в местах соединения настенных желобов с рядовой кровлей, начинающаяся в результате попадания влаги в раскрытые фальцы, отсутствует, что, в конечном счете, продлевает потенциальный срок службы материала кровли;
3) исключаются трудоемкие операции по изготовлению настенных желобов в мастерской;
4) исключаются операции по соединению фальцем настенных желобов с рядовой кровлей и промазкой места соединения герметиком, обделке торцов гребневых фальцев;
5) не повреждается верхний защитный слой металла из-за исключения операций с ударными воздействиями металлическим инструментом;
6) сокращается приведенное время устройства одного погонного метра настенного желоба в полтора – два раза. Скорость производства работ по формированию настенных желобов одним кровельщиком – 10 погонных метров/час;
7) сокращается время работ при вскрытой кровле. Настенные желоба можно формировать после устройства всех элементов кровли;
8) в результате крепления нижней кляммеры рядовой кровли к обрешетке в непосредственной близости (50 – 100 мм) от места сгиба настенного желоба в среднем в два раза повышается прочность крепления желоба при воздействии ветровой нагрузки. Между тем при традиционном способе крепления настенных желобов прокладка кляммеров в лежачие фальцы, соединяющие картины настенных желобов между собой, не предусмотрена. При устройстве настенных желобов из рядовой кровли дополнительное крепление настенных желобов к основанию удерживает настенный желоб даже в случае отрыва заклепок борта желоба от крюка;
9) так как настенные желоба формируются при наличии сваленных двойных фальцев, то борта желоба имеют дополнительные ребра жесткости и меньше подвержены изменению начальной конфигурации в случае сползания ледяных масс;
10) ремонтопригодность настенных желобов из рядовой кровли по сравнению с традиционным методом не ухудшается, так как всегда есть возможность их замены на традиционные желоба без демонтажа кровли;
11) заявленная конструкция применима для всех видов фальцевых кровель из металлических кровельных листов, при этом высоту бортов настенных желобов можно варьировать.
Заявленной конструкцией решается проблема наличия горизонтальных лежачих фальцев, как одного из самых узких мест в надежности кровли, повышена технологичность работ и, как следствие, качество работ.
Следует также отметить, что заявленная конструкция имеет также то преимущество, что упрощается и облегчается процесс ее возведения по сравнению с процессом возведения традиционной кровли.
По сравнению с принятой за прототип конструкцией кровли крыши заявленная конструкция металлической кровли крыши со сформированными настенными желобами из рядовой кровли имеет также следующие преимущества: обеспечивает формирование настенных желобов непосредственно на кровле, не требует трудоемкой заготовки картин настенных желобов, их соединения между собой и укладки на кровлю, соединения с картинами рядовой кровли, обделки торцов гребней и т.п. операций, связанных с устройством настенных желобов, как отдельных деталей кровли с последующим их монтажом.
Кроме того, применительно к устройству, заявитель считает необходимым выделить следующие развития и/или уточнения совокупности его существенных признаков, относящиеся к частным случаям выполнения или использования.
Желательно, чтобы концевые части фальцев по длинным сторонам картин со стороны карнизного свеса были бы выполнены сваленными набок в сторону ближайшего лотка по ходу стока воды. Это облегчит ток воды, а также предотвратит протечки и размыв герметика под фальцами.
Для повышения герметизации и срока службы кровли предпочтительно, чтобы под сваленным фальцем был бы уложен герметик, например, невысыхающий, типа “Герлен”.
Заявитель считает необходимым отметить в данном месте описания, что в качестве герметика для герметизации любых швов, упоминаемых в данной заявке, наиболее целесообразен невысыхающий герметик, в частности, широко известный и положительно зарекомендовавший себя герметик, имеющий товарный знак “Герлен АГ” или его аналоги.
Для удобства и быстроты возведения кровли желательно, чтобы по продольной оси лотка была бы уложена рядовая картина с внутренними фальцами по длинным сторонам, а по обеим сторонам от нее в стороны водоразделов последовательно были бы уложены соединенные двойными фальцами картины рядовой кровли с внутренними и наружными фальцами по длинным сторонам, причем их наружные фальцы располагались бы со стороны продольной оси лотка.
Для надежности закрепления лотка целесообразно также, чтобы его основание было бы закреплено на обрешетку между уложенной по оси лотка рядовой картиной с внутренними фальцами по длинным сторонам рядовой кровли и карнизным свесом, а кромки бортов лотка были бы соединены посредством фальцев с кромками бортов настенного желоба.
Для повышения герметичности конструкции и увеличения срока ее службы, желательно, чтобы между основанием лотка и карнизным свесом была бы размещена прокладка из герметика, а основание лотка было бы прикреплено к обрешетке кровельными гвоздями.
Для упрощения конструкция и сроков монтажа предпочтительно, чтобы по оси водораздела была бы уложена срединная картина рядовой кровли, а в образующемся в результате формирования настенного желоба зазоре между кромками бортов срединной картины рядовой кровли была бы размещена треугольная вставка, соединенная с бортами посредством одинарных фальцев перед формированием отворотной ленты настенного желоба (фиг.13-фиг.16).
Для повышения жесткости настенного желоба целесообразно, чтобы на кромке настенного желоба была бы образована двойная отворотная лента.
Поддерживающие крюки могут иметь различную конструкцию и варианты установки. Заявитель разработал множество модификаций. Однако желательно, чтобы поддерживающие крюки были бы установлены перпендикулярно продольной оси настенных желобов и соединялись бы с настенным желобом заклепками, например, оцинкованными при устройстве кровли из оцинкованных металлов, а с обрешеткой – кровельными гвоздями, причем для повышения герметичности между поддерживающими крюками и карнизным свесом размещалась бы прокладка из герметика.
Карнизный свес также может иметь различную конструкцию. Однако предпочтительно, чтобы он был образован из соединенных двойным фальцем между собой картин карнизного свеса, усилен костылями и оснащен хомутами для крепления водоприемных воронок.
Заявитель отмечает также, что целесообразно, чтобы ближайшие к продольной оси настенного желоба со стороны конька крепежные элементы (кляммера), крепящие картины рядовой кровли к обрешетке, были бы расположены на расстоянии 0,05 м -0,1 м от продольной оси настенного желоба в сторону конька.
Для повышения герметичности кровли и увеличения срока ее службы, желательно, чтобы под крепежными элементами, крепящими рядовые картины к обрешетке и расположенными на карнизном свесе, был бы уложен герметик.
С другой стороны, изобретение относится к способу возведения металлической кровли крыши, при котором монтируют на обрешетке карнизный свес, рядовую кровлю из соединенных фальцами по длинным сторонам картин с закрепленными на поддерживающих крюках настенными желобами, расположенными с уклоном в сторону лотков, размещенных над водоприемными воронками, при этом, согласно изобретению, прикрепляют на карнизном свесе плоские заготовки лотков с выдвинутой за его переднюю кромку частью, а также металлические полосы за их закрепляемые части со стороны конька, укладывают рядовую картину с внутренними фальцами с обеих длинных кромок по оси лотка длиной на весь скат с припуском, достаточным для формирования, по меньшей мере, настенного желоба, с кромкой ниже продольной оси настенного желоба, и закрепляют ее крепежными элементами к обрешетке, причем ближайшие к кромке карнизного свеса крепежные элементы крепят выше продольной оси настенного желоба, по обеим сторонам от уложенной рядовой картины с внутренними фальцами в сторону водоразделов последовательно укладывают и закрепляют крепежными элементами следующие картины рядовой кровли, выполненные с внутренними и наружными фальцами по длинным сторонам длиной, по меньшей мере, на весь скат и настенный желоб, причем срединную картину рядовой кровли, приходящуюся на ось водораздела, подготавливают по месту и укладывают в последнюю очередь, на части длины со стороны кромки карнизного свеса сформированные фальцы сваливают набок в сторону ближайшего лотка по ходу стока воды, параллельно продольной оси настенного желоба ниже по скату отрезают край рядовой кровли, производят надрезы рядовой кровли напротив оси воронки и оси водораздела на ширину борта желоба от кромки рядовой кровли, вырезают проем по оси воронки на бортах настенного желоба с напуском для фальцев для соединения с лотком, отворачивают обрезанный край рядовой кровли одновременно с металлическими полосами, находящимися под ней, вверх в сторону конька с формированием настенного желоба, соединяют отогнутые части металлических полос с настенным желобом заклепками, формируют лоток путем подъема бортов его плоской заготовки и соединения фальцами с бортами настенного желоба, устанавливают вставку треугольной формы в зазоре между кромками бортов в верхней части настенного желоба вдоль оси водораздела и фальцами соединяют их между собой, формируют двойную отворотную ленту из кромки стенки желоба.
По сравнению с принятым за прототип способом возведения традиционной конструкции металлической кровли крыши [1] заявленный способ возведения кровли со сформированными настенными желобами из рядовой кровли имеет следующие преимущества: обеспечивает формирование настенных желобов непосредственно на кровле, не требует трудоемкой заготовки картин настенных желобов, их соединения между собой и укладки на кровлю, соединения с картинами рядовой кровли, обделки торцов гребней и т.п. операций, связанных с устройством настенных желобов традиционным способом.
Далее, применительно к способу, заявитель считаем необходимым выделить следующие развития и/или уточнения совокупности его существенных признаков, относящиеся к частным случаям выполнения или использования.
Для удобства монтажа кровли желательно, чтобы перед закреплением плоских заготовок лотков отмечались бы маркером на карнизных свесах оси расположения водоприемных воронок и оси водораздела настенных желобов.
Металлические полосы, которые в дальнейшем будут изогнуты и превращены в поддерживающие крюки, могут быть закреплены на обрешетке различными приемами. Один из наиболее целесообразных состоит в следующем.
Сначала наносят на карнизный свес маркером продольную ось настенного желоба с помощью шнура, натянутого между низшей точкой настенного желоба напротив воронки и точкой наивысшего подъема настенного желоба вдоль оси водораздела. Затем на расстоянии, выбираемом в интервале от 110 мм до 590 мм от центра лотка, перпендикулярно нанесенной продольной оси настенного желоба, с выпуском свободного конца ниже этой оси, кровельными гвоздями прибивают металлическую полосу, при этом нижний кровельный гвоздь забивают не полностью для закрепления шнура при укладке остальных полос. После этого на расстоянии от 0 мм до 700 мм от точки водораздела, со стороны лотка, аналогичным образом закрепляют другую металлическую полосу, причем нижний гвоздь также забивают не полностью. Между выступающими гвоздями натягивают шнур, и остальные металлические полосы закрепляют перпендикулярно линии шнура вышеописанным приемом с интервалом между ними не более 700 мм.
Для повышения герметичности металлической кровли крыши и увеличения срока ее службы желательно при ее возведении осуществить герметизацию кровли герметиком. При этом герметик предпочтительно укладывать:
– под прикрепляемой частью металлических полос,
– под прикрепляемой частью плоских заготовок лотков,
– под крепежными элементами, обычно называемыми кляммерами, крепящими рядовые картины к обрешетке на карнизных свесах.
Кроме того, для этой же цели двойные фальцы сваливают набок по ходу стока воды с прокладкой герметика под ними.
Важным вопросом является отрезка края рядовой кровли параллельно продольной оси настенного желоба и на фиксированном расстоянии от нее. Для отрезки надлежащего качества с минимальной затратой времени целесообразно использовать следующий прием: сначала при помощи шнура и маркера следует отметить линию среза кромки рядовой кровли на фиксированном расстоянии ниже продольной оси настенного желоба. Линия среза отмечается на расстоянии, достаточном для формирования борта настенного желоба требуемой высоты с напуском 50 мм. Затем край рядовой кровли, выходящий за линию отреза, обрезают по нанесенной линии.
Для повышения жесткости настенного желоба желательно после отворачивания вверх в направлении от кровельного свеса обрезанного края рядовой кровли сформировать двойную отворотную ленту по кромке настенного желоба.
Предпочтительно соединять отогнутые части металлических полос с настенным желобом при помощи заклепок. Данное соединение легко осуществить. Оно прочно и надежно в эксплуатации.
Для формирования лотков из плоских заготовок важным вопросом является момент образования, а точнее вырезания каждого проема по оси соответствующей воронки на бортах настенного желоба с напуском для фальцев для соединения с лотком при его формировании из плоской заготовки путем подъема ее бортов. Проем можно вырезать как перед образованием настенного желоба, так и после его образования.
В завершении монтажа металлической кровли крыши целесообразно установить вставку треугольной формы в зазоре между кромками бортов в верхней части настенного желоба и фальцами соединить их между собой.
Дополнительным преимуществом изобретения является то, что она может быть реализована на оборудовании, широко применяемом при производстве строительных работ.
Изобретение поясняется чертежами.
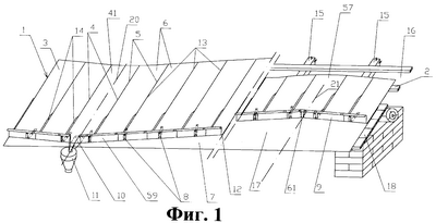
На фиг.1 изображена металлическая кровля крыши в готовом виде, аксонометрия.
На фиг.2 изображена металлическая кровля крыши на начальном этапе процесса изготовления после монтажа карнизного свеса, нанесения осей лотка, водораздела и настенного желоба, монтажа заготовки лотка и металлических полос, аксонометрия.
На фиг.3 изображена плоская заготовка лотка с фальцами, вид в плане.
На фиг.4 – то же, сечение А-А фиг.3.
На фиг.5 – то же, сечение Б-Б фиг.3.
На фиг.6 изображена металлическая полоса, продольное сечение.
На фиг.7 изображена металлическая кровля крыши в процессе изготовления после укладки картин рядовой кровли, вид в плане.
На фиг.8 схематично изображена рядовая картина с внутренними фальцами с обеих длинных кромок, укладываемая по продольной оси настенного желоба с крепежными элементами в виде кляммеров, аксонометрия.
На фиг.9 схематично изображена рядовая картина с внутренними фальцами с обеих длинных кромок, укладываемая по продольной оси настенного желоба, и присоединяемая к ней картина рядовой кровли с внутренними и наружными фальцами по длинным сторонам и с введенным кляммером, вид с торца.
На фиг.10 изображена металлическая кровля крыши в процессе изготовления после срезания края рядовой кровли, вид в плане.
На фиг.11 изображен край настенного желоба в процессе его отгиба, вид с торца.
На фиг.12 изображен лоток в месте его соединения с настенными желобами.
На фиг.13 изображена треугольная металлическая вставка в процессе монтажа в верхней точке настенного желоба, аксонометрия.
На фиг.14 – то же, сечение В-В фиг.13.
На фиг.15 изображено сечение Г-Г фиг.13 настенного желоба после его подъема (отворачивания) перед установкой треугольной вставки.
На фиг.16 изображен фрагмент кровли после установки треугольной вставки и формирования отворотной ленты, аксонометрия.
Металлическая кровля 1 крыши (фиг.1) включает смонтированные на обрешетке 2 при помощи крепежных элементов, обычно называемых кляммерами, рядовую кровлю 3 из соединенных фальцами 4 по длинным сторонам 5 кровельных картин 6 рядовой кровли 3, карнизный свес 7 и расположенные на поддерживающих крюках 8 настенные желоба 9, расположенные с уклоном в сторону лотков 10, размещенных над водоприемными воронками 11. При этом кровельные картины 6 рядовой кровли 3 выполнены, по меньшей мере, на длину ската крыши с припуском на образование настенного желоба 9, как это хорошо видно на фиг.7. Кровельные картины 6 установлены на карнизном свесе 7 (фиг.1) с отгибом 12 от него с образованием настенного желоба 9, а поддерживающие крюки 8 размещены между картинами 6 рядовой кровли 3 и карнизным свесом 7. Фальцы 4, посредством которых длинные стороны 5 смежных картин 6 рядовой кровли 3 соединены между собой, у заявленной металлической кровли 1 крыши имеются двух типов: от конька металлической кровли 1 до нижней ее части фальцы 4 выполнены стоячими. Стоячие фальцы обозначены позицией 13. Концевые части фальцев 4 по длинным сторонам смежных картин 6 со стороны карнизного свеса 7 выполнены лежачими, то есть сваленными набок. Они обозначены позицией 14.
Такова конструкция заявленного устройства в целом.
Рассмотрим подробно способ возведения заявленной металлической кровли крыши, из которой будут более ясны отдельные конструктивные ее особенности.
Сначала на стропильных ногах 15 (фиг.2) закрепляют обрешетку 2 с прозорами 16 или без них. В месте, над которым будет располагаться кровля 17 карнизного свеса, обрешетку 2 устанавливают без прозоров 16, образуя карнизный настил 18.
Заявитель отмечает, что, желательно, перед устройством карнизного свеса, закрепить хомуты 19 для крепления водоприемных воронок 11 в карнизном настиле 18. Затем крепят костыли на карнизный настил 18 с врезкой их заподлицо. Данные операции широко известны, подробно описаны в прототипе [1] и не являются предметом изобретения. Поэтому подробно не описываются. Затем устанавливают кровлю 17 карнизного свеса. Для этого сначала готовят картины карнизного свеса в мастерской. На карнизном настиле 18, являющемся частью карнизного свеса, их соединяют между собой двойными фальцами с промазкой швов герметиком, причем с нижней стороны соединенные картины карнизного свеса одевают на костыли, а сверху закрепляют на обрешетке при помощи кровельных гвоздей. Данная операция, как и описанные, ранее широко известна, подробно описана в прототипе, например, на страницах 338-341, и не является предметом изобретения. Поэтому подробно не описывается.
Таким образом, до начала монтажа настенных желобов 9 завершаются все работы по устройству карнизных свесов с закреплением хомутов для крепления водоприемных воронок.
На карнизных свесах, а точнее на кровле 17 карнизных свесов, отмечаются маркером оси расположения водоприемных воронок 11, продольные оси 20 лотков 10 и оси 21 водораздела настенных желобов 9, являющимися местами наибольшего подъема настенных желобов 9 (фиг.2).
Закрепляют плоские заготовки 22 лотков 10 вдоль продольных осей 20 лотков 10 по наклонным осям скатов, проходящих через вертикальные оси водоприемных воронок 11, с прокладкой невысыхающего герметика типа “Герлен АГ” или его аналогов под закрепляемую часть 23 (фиг.3), при помощи кровельных гвоздей 24 (фиг.2).
Рассмотрим подробнее плоскую заготовку 22 лотка 10, поскольку это будет важно в дальнейшем (фиг.3, фиг.4, фиг.5). Плоская заготовка 22 представляет собой плоский металлический лист, состоящий из упомянутой выше закрепляемой части 23 (фиг.3) прямоугольной формы и части 25 формирования лотка трапециевидной формы с открылками 26. Каждый открылок 26 выполнен с фальцем 27, которые “свалены”, то есть пригнуты к поверхности открылков 26. Кроме того, плоскую заготовку 22 выполняют с одинарными отворотными лентами 28 на боковых кромках открылков 26 и одинарной отворотной лентой 29 на нижней кромке на всю ширину плоской заготовки 22 лотка 10.
ПРИМЕЧАНИЕ: согласно принятой в строительстве терминологии под фальцем понимается отогнутая кромка металлического листа. Сцепленные между собой фальцами смежные металлические листы образуют фальцевое соединение.
После подробного описания конструкции плоской заготовки 22 лотка 10 продолжим описание возведения металлической кровли 1 крыши.
Закрепив плоскую заготовку 22 лотка 10 на кровлю карнизного свеса 17, маркером наносится продольная ось 30 (фиг.2) будущего настенного желоба 9 с помощью шнура (не показан), натянутого между низшей точкой 31 настенного желоба 9, расположенной на продольной оси 20 лотка 10, и точкой 32 наивысшего подъема настенного желоба 9, расположенной на оси 21 водораздела. В дальнейшем, при монтаже картин 6 рядовой кровли 3, элементов настенных желобов 9 и формирования настенных желобов 9 следует руководствоваться этой линией при замерах.
На расстоянии, например, 0,2 м от центра плоской заготовки 22 лотка 10, перпендикулярно нанесенной продольной оси 30 будущего настенного желоба 9, с выпуском свободного конца 33 (фиг.6) металлической полосы 34, например, на 0,17 м ниже продольной оси 30 будущего настенного желоба 9, с прокладкой герметика по всей закрепляемой части 35, кровельными гвоздями 24 (фиг.2) прибивается первая металлическая полоса 34, в частности, размером 0,6 м на 0,016 м на 0,006 м, предназначенная для формирования в дальнейшем поддерживающего крюка 8 для крепления настенного желоба 9. При этом нижний гвоздь 36 забивается в нижнее отверстие 37 не полностью и служит для закрепления шнура при укладке остальных полос.
Для удобства на фиг.6 металлическая полоса 34 показана отдельно. Она состоит из тела полосы в форме параллелепипеда, достаточных размеров, чтобы из нее можно было сформировать поддерживающий крюк достаточной прочности, жесткости и надежности. Металлическая полоса 34 содержит закрепляемую часть 35 со сквозными отверстиями 38, в число которых входит упомянутое выше нижнее сквозное отверстие, обозначенное позицией 37. Все сквозные отверстия 38, в том числе нижнее сквозное отверстие 37, предназначены для забивания через них кровельных гвоздей 24 к карнизному настилу 18 через кровлю 17. Кроме того, металлическая полоса 34 содержит свободный конец 33 с отверстием 39, из которого в дальнейшем в результате отгиба будет сформирован поддерживающий крюк 8. Через нижнее сквозное отверстие 37 прибивается указанный выше нижний гвоздь 36.
Для повышения герметичности под закрепляемую часть 35 может быть уложен герметик.
На расстоянии, например, 0,2 м от оси 21 водораздела (фиг.2), в сторону лотка 10, аналогичным образом закрепляется аналогичным образом другая металлическая полоса 40, конструкция которой идентична конструкции описанной выше первой металлической полосы 34 (фиг.6). Нижний гвоздь в нее также забивается не полностью.
После этого, между выступающими гвоздями натягивается шнур, и остальные металлические полосы 34 закрепляются перпендикулярно линии шнура вышеописанным приемом с расстоянием между ними не более 0,7 м (фиг.2).
Затем начинается укладка картин 6 рядовой кровли 3 (фиг.7). Сначала укладывается рядовая картина 41 с внутренними фальцами 42 с обеих длинных кромок 43 по продольной оси 20 лотка 10 длиной на весь скат, достаточной для формирования конькового гребня и настенного желоба 9, с обрезом 44 (фиг.7 и фиг.8), например, не менее 0,2 м ниже продольной оси 30 настенного желоба 9, в частности 0,3 м.
Рядовая картина 41 с внутренними фальцами 42 с обеих длинных кромок 43 закрепляется крепежными элементами 45, представляющими собой кляммеры 46, к обрешетке 2 через, например, 0,4 м, кровельными гвоздями 24. Кляммеры 46 могут быть двух типов. На фиг.9 изображен кляммер, представляющий собой полосу кровельного металла, имеющий в поперечном сечении Z-образную форму. Нижняя часть 47 полосы крепится к настилу, а верхняя часть выполняется с фальцем 48 для соединения с фальцами кровельных картин. На фиг.8 изображен кляммер другого типа. Он состоит из крепящегося к настилу основания 49 с продольной прорезью 50, в которую вставляется отогнутый конец 51 верхней подвижной части 52 Z-образного профиля с фальцем на конце для соединения с фальцами картин кровли. Отогнутый конец 51 уже продольной прорези 50. Следствием данной конструкции является преимущество данного типа кляммера, заключающееся в подвижности верхней подвижной части 52 относительно основания 49 для обеспечения компенсации температурных расширений кровельных картин, которые могут быть значительными вследствие значительной длины этих кровельных картин. Нижние кляммеры 53 (фиг.7) с обеих сторон картины, являющиеся ближайшими к продольной оси 30 настенного желоба, крепятся на расстоянии, например, в диапазоне 0,05-0,1 м выше продольной оси 30 с прокладкой герметика под ними.
Влево и вправо от уложенной рядовой картины 41 с внутренними фальцами 42 с обеих длинных кромок 43 в сторону осей 21 водораздела последовательно укладываются и закрепляются крепежными элементами 45 следующие рядовые картины 54 рядовой кровли с внутренними 55 и наружными 56 фальцами по длинным сторонам. Под крепежные элементы 45, располагающиеся на кровле 17 карнизных свесов, укладывается герметик. Картины 54 рядовой кровли с внутренними 55 и наружными 56 фальцами по длинным сторонам соединяются с рядовой картиной 41 с внутренними фальцами 42 с обеих длинных кромок двойными фальцами. Кроме того, картины 54 рядовой кровли с внутренними 55 и наружными фальцами 56 по длинным сторонам соединяются фальцевыми соединениями между собой. Для соединения используется ручной или электро-инструмент. Срединная картина 57 рядовой кровли 3, приходящаяся на ось 21 водораздела, подготавливается по месту и укладывается в последнюю очередь. Она изготавливается с наружными фальцами по обеим длинным сторонам и соединяется со смежными ей картинами 54 также фальцевыми соединениями с закреплением крепежными элементами 45.
В результате все рядовые картины оказываются соединенными между собой стоячими фальцами 13. Сформированные фальцы сваливаются набок по ходу стока воды с образованием лежачих фальцев 14 с прокладкой герметика под сваливаемый фальц, представляющий собой жгут или полосу герметика сечением, в частности, 25 мм2, начиная, например, на 0,5-0,6 м выше линии среза кромки рядовых картин 6 до низа рядовых картин 6.
После этого, при помощи шнура и маркера отмечается линия среза 58 кромки рядовой кровли 3, например, на 0,2 м ниже продольной оси 30 настенного желоба 9 (фиг.10).
Затем, край рядовой кровли 3, выходящий за линию отреза, обрезается по нанесенной линии среза 58 ручными рычажными ножницами по металлу.
После этого, делаются надрезы рядовой кровли по продольной оси 20 лотка 10 и оси 21 водораздела на ширину борта настенного желоба 9 от кромки рядовой кровли 3 до продольной оси 30 настенного желоба 9 (фиг.10).
Инструментом для формирования настенного желоба 9 захватывается обрезанный край рядовой кровли 3 по линии среза 58 (фиг.10) одновременно с металлическими полосами 34, находящимися под ней, на всю глубину посадки инструмента, отрегулированного на формирование настенного желоба 9 высотой, например, 0,15 м.
Край настенного желоба 9 вместе со свободными концами 33 металлических полос 34 при помощи того же инструмента отворачивается кверху, в направлении, перпендикулярном к продольной оси 30 настенного желоба 9, в несколько проходов, во избежание заламывания листов картин и деформирования фальцев (фиг.11).
Край настенного желоба 9 по линии среза 58 при помощи инструмента для формирования настенного желоба отгибается кверху на требуемый угол и выравнивается при помощи киянка и поддержки.
С помощью дырокола или пробойника пробивается отверстие на бортике сформированного настенного желоба 9 напротив отверстия на конце соответствующего ему поддерживающего крюка 10, сформированного отгибом из металлической полосы 34, и заклепывается заклепками, например, оцинкованными, с помощью заклепочника.
В дальнейшем с целью формирования двойной отворотной ленты при помощи кромкогиба кромка настенного желоба может быть отворочена вниз на ширину 0,015 м и свалена (прижата) вплотную к борту желоба.
С использованием другого кромкогиба отвернутая кромка настенного желоба вторично может быть отогнута вниз на 60 градусов, по отношению к борту желоба. Ширина отворотной ленты может составлять, например, 0,02 м.
После этого, напротив плоской заготовки 22 лотка 10 на ширину его части 25 формирования лотка трапециевидной формы в сформированном борте 59 настенного желоба 9 (фиг.12, фиг.1) вырезается от его кромки проем глубиной до продольной оси 30 настенного желоба 9 с напуском 60 для формирования фальца для соединения с фальцем 27 открылков 26 плоской заготовки 22 лотка 10.
На верхнем крае бортов плоской заготовки 22 лотка 10 поднимаются предварительно уложенные фальцы 27. Затем поднимаются открылки 26, образующие борта лотка 10 под прямым углом к части 25 плоской заготовки лотка, и соединяются фальцами 27 с бортами настенного желоба 9 фальцевым соединением с использованием напусков 60.
Очевидно, что в верхней точке настенного желоба 9 борта 59 его расходятся, так как срединная картина 57 перегнута в разные стороны относительно оси 21 водрораздела. Для соединения бортов между собой можно использовать треугольную металлическую вставку 61 (фиг.13), которая соединяется с бортами посредством одинарных фальцев 62 (фиг.14) и одинарных фальцев 63 на сформированных бортах 59 настенного желоба 9 (фиг.15).
В качестве металлического материала кровли может быть использован любой подходящий кровельный материал, например, сталь, в том числе оцинкованная, медь и т.д.
По сравнению с традиционными кровлями и способами их возведения заявленное изобретение, основывающееся на формировании настенных желобов из рядовой кровли, имеет следующие преимущества:
– Такая кровля не имеет горизонтальных лежачих фальцевых соединений, то есть нет опасности протечек через раскрытые фальцы, особенно в зимний период эксплуатации.
– Коррозия металла в местах соединения настенного желоба с рядовой кровлей, начинающаяся в результате попадания влаги в раскрытые фальцы, отсутствует, что, в конечном счете, продлевает потенциальный срок службы материала кровли.
– Исключаются трудоемкие операции по изготовлению настенного желоба в мастерской.
– Исключаются операции по соединению фальцем настенного желоба с рядовой кровлей и промазкой места соединения герметиком, обделке торцов гребневых фальцев.
– Не повреждается верхний защитный слой металла из-за исключения операций с ударными воздействиями металлическим инструментом.
– Сокращается приведенное время устройства одного погонного метра настенного желоба в полтора – два раза. Скорость производства работ по формированию настенного желоба одним кровельщиком – 10 погонных м/час.
– Сокращается время работ при вскрытой кровле. Настенные желоба можно формировать после устройства всех элементов кровли.
В результате крепления нижней кляммеры рядовой кровли к обрешетке в непосредственной близости (0,05 м -0,1 м) от места сгиба желоба в среднем в два раза повышается прочность крепления желоба при воздействии ветровой нагрузки. Между тем при традиционном способе крепления настенного желоба прокладка кляммеров в лежачие фальцы, соединяющие картины желобов между собой, не предусмотрена. При устройстве настенного желоба из рядовой кровли дополнительное крепление желобов к основанию удерживает его даже в случае отрыва заклепок борта настенного желоба от крюка.
Так как настенные желоба формируются при наличии сваленных двойных фальцев, то борта настенного желоба имеют дополнительные ребра жесткости и меньше подвержены изменению начальной конфигурации в случае сползания ледяных масс.
Ремонтопригодность настенных желобов из рядовой кровли по сравнению с традиционным методом не ухудшается, так как всегда есть возможность их замены на традиционные желоба без демонтажа кровли.
Заявленные устройство и способ применимы для изготовления всех видов фальцевых кровель из металлических кровельных листов, при этом высоту бортов желобов можно варьировать.
Изобретение решает проблему наличия горизонтальных лежачих фальцев, как одного из самых узких мест в надежности кровли, обеспечивается повышение технологичности работ и, как следствие, качества работ.
Источники информации, принятые во внимание:
1. В.Б.Белевич. Кровельные работы. Учебник для профессиональных учебных заведений. – 3-е издание, переработанное и дополненное, – Москва, Высшая школа, Издательский центр “Академия”, 2000, с.321-374 (прототип устройства и способа), а также рис. 1, поясняющий традиционную конструкцию фальцевой кровли из металлических листов.
Формула изобретения
1. Металлическая кровля крыши, включающая рядовую кровлю из соединенных фальцами кровельных картин рядовой кровли с настенными желобами, расположенными с уклоном в сторону лотков на поддерживающих крюках, и карнизный свес, отличающаяся тем, что картины рядовой кровли выполнены с напуском для формирования настенных желобов, а настенные желоба и поддерживающие крюки представляют собой одновременно изогнутые над карнизным свесом концевые части рядовой кровли со сваленными в сторону лотка фальцами, и металлических полос, закрепленных под концевыми частями рядовой кровли.
2. Металлическая кровля крыши по п.1, отличающаяся тем, что концевые части фальцев по длинным сторонам картин со стороны карнизного свеса выполнены лежачими в сторону ближайшего лотка по ходу стока воды.
3. Металлическая кровля крыши по п.2, отличающаяся тем, что под лежачими фальцами уложен герметик.
4. Металлическая кровля крыши по п.3, отличающаяся тем, что в качестве герметика использован невысыхающий герметик.
5. Металлическая кровля крыши по п.1, отличающаяся тем, что по продольной оси лотка уложена рядовая картина с внутренними фальцами по длинным сторонам, а по обеим сторонам от нее в стороны водоразделов последовательно уложены соединенные двойными фальцами картины рядовой кровли с внутренними и наружными фальцами по длинным сторонам, причем их наружные фальцы расположены со стороны продольной оси лотка.
6. Металлическая кровля крыши по п.5, отличающаяся тем, что основание лотка закреплено на обрешетку между уложенной по оси лотка рядовой картиной с внутренними фальцами по длинным сторонам рядовой кровли и карнизным свесом, а кромки бортов лотка соединены посредством фальцев с кромками бортов настенного желоба.
7. Металлическая кровля крыши по п.6, отличающаяся тем, что между основанием лотка и карнизным свесом размещена прокладка из герметика, а основание лотка прикреплено к обрешетке кровельными гвоздями.
8. Металлическая кровля крыши по п.1, отличающаяся тем, что по оси водораздела уложена срединная картина рядовой кровли, а в образующемся в результате формирования настенного желоба зазоре между кромками бортов срединной картины рядовой кровли размещена треугольная вставка, соединенная с бортами посредством одинарных фальцев перед формированием отворотной ленты настенного желоба.
9. Металлическая кровля крыши по п.1, отличающаяся тем, что на кромке настенного желоба образована двойная отворотная лента.
10. Металлическая кровля крыши по п.1, отличающаяся тем, что поддерживающие крюки установлены перпендикулярно продольной оси настенных желобов.
11. Металлическая кровля крыши по п.1, отличающаяся тем, что поддерживающие крюки соединены с настенным желобом заклепками, а с обрешеткой – кровельными гвоздями.
12. Металлическая кровля крыши по п.11, отличающаяся тем, что между поддерживающими крюками и карнизным свесом размещена прокладка из герметика.
13. Металлическая кровля крыши по п.1, отличающаяся тем, что карнизный свес образован из соединенных двойным фальцем между собой картин карнизного свеса и усилен костылями.
14. Металлическая кровля крыши по п.1, отличающаяся тем, что карнизный свес оснащен хомутами для крепления водоприемных воронок.
15. Металлическая кровля крыши по п.1, отличающаяся тем, что ближайшие к продольной оси настенного желоба со стороны конька крепежные элементы, крепящие картины рядовой кровли к обрешетке, расположены на расстоянии 0,05 – 0,1 м от продольной оси настенного желоба в сторону конька.
16. Металлическая кровля крыши по п.1, отличающаяся тем, что под крепежными элементами, крепящими рядовые картины к обрешетке и расположенными на карнизном свесе, уложен герметик.
17. Способ возведения металлической кровли крыши, при котором монтируют на обрешетке карнизный свес, рядовую кровлю из соединенных фальцами по длинным сторонам картин с закрепленными на поддерживающих крюках настенными желобами, расположенными с уклоном в сторону лотков, размещенных над водоприемными воронками, отличающийся тем, что прикрепляют на карнизном свесе плоские заготовки лотков с выдвинутой за его переднюю кромку частью, а также металлические полосы за их закрепляемые части со стороны конька, укладывают рядовую картину с внутренними фальцами с обеих длинных кромок по оси лотка длиной на весь скат с припуском, достаточным для формирования, по меньшей мере, настенного желоба, с кромкой ниже продольной оси настенного желоба и закрепляют ее крепежными элементами к обрешетке, причем ближайшие к кромке карнизного свеса крепежные элементы крепят выше продольной оси настенного желоба, по обеим сторонам от уложенной рядовой картины с внутренними фальцами в сторону водоразделов последовательно укладывают и закрепляют крепежными элементами следующие картины рядовой кровли, выполненные с внутренними и наружными фальцами по длинным сторонам длиной, по меньшей мере, на весь скат, и настенный желоб, причем срединную картину рядовой кровли, приходящуюся на ось водораздела, подготавливают по месту и укладывают в последнюю очередь, на части длины со стороны кромки карнизного свеса сформированные фальцы сваливают набок в сторону ближайшего лотка по ходу стока воды, параллельно продольной оси настенного желоба ниже по скату отрезают край рядовой кровли, производят надрезы рядовой кровли напротив оси воронки и оси водораздела на ширину борта желоба от кромки рядовой кровли, вырезают проем по оси воронки на бортах настенного желоба с напуском для фальцев для соединения с лотком, отворачивают обрезанный край рядовой кровли одновременно с металлическими полосами, находящимися под ней, вверх в сторону конька с формированием настенного желоба, соединяют отогнутые части металлических полос с настенным желобом заклепками, формируют лоток путем подъема бортов его плоской заготовки и соединения фальцами с бортами настенного желоба, устанавливают вставку треугольной формы в зазоре между кромками бортов в верхней части настенного желоба вдоль оси водораздела и фальцами соединяют их между собой, формируют двойную отворотную ленту из кромки стенки желоба.
18. Способ возведения металлической кровли крыши по п.17, отличающийся тем, что перед закреплением плоских заготовок лотков отмечают маркером на карнизных свесах оси расположения водоприемных воронок и оси водораздела настенных желобов.
19. Способ возведения металлической кровли крыши по п.17, отличающийся тем, что для прикрепления к карнизному свесу металлических полос наносят на карнизный свес маркером продольную ось настенного желоба с помощью шнура, натянутого между низшей точкой настенного желоба напротив воронки и точкой наивысшего подъема настенного желоба вдоль оси водораздела, на расстоянии от центра лотка перпендикулярно нанесенной продольной оси настенного желоба, с выпуском свободного конца ниже этой оси, кровельными гвоздями прибивают металлическую полосу, при этом нижний кровельный гвоздь забивают не полностью для закрепления шнура при укладке остальных полос, на расстоянии от точки водораздела, со стороны лотка, аналогичным образом закрепляют другую металлическую полосу, причем нижний гвоздь также забивают не полностью, между выступающими гвоздями натягивают шнур, а остальные металлические полосы закрепляют перпендикулярно линии шнура вышеописанным приемом с интервалом между ними.
20. Способ возведения металлической кровли крыши по п.19, отличающийся тем, что под прикрепляемой частью металлических полос укладывают герметик.
21. Способ возведения металлической кровли крыши по п.17, отличающийся тем, что под прикрепляемой частью плоских заготовок лотков размещают герметик.
22. Способ возведения металлической кровли крыши по п.17, отличающийся тем, что под крепежными элементами, крепящими рядовые картины к обрешетке и расположенными на карнизном свесе, прокладывают герметик.
23. Способ возведения металлической кровли крыши по п.17, отличающийся тем, что двойные фальцы сваливают набок по ходу стока воды с прокладкой герметика.
24. Способ возведения металлической кровли крыши по п.17, отличающийся тем, что для обеспечения отреза края рядовой кровли параллельно продольной оси настенного желоба и на фиксированном расстоянии от нее сначала при помощи шнура и маркера отмечают линию среза кромки рядовой кровли на фиксированном расстоянии ниже продольной оси настенного желоба, а затем край рядовой кровли, выходящий за линию отреза, обрезают по нанесенной линии.
25. Способ возведения металлической кровли крыши по п.17, отличающийся тем, что после отворачивания вверх в направлении от кровельного свеса обрезанного края рядовой кровли формируют двойную отворотную ленту по кромке настенного желоба.
26. Способ возведения металлической кровли крыши по п.17, отличающийся тем, что соединяют отогнутые части металлических полос с настенным желобом при помощи заклепок.
27. Способ возведения металлической кровли крыши по п.17, отличающийся тем, что проем в рядовой кровле для обеспечения соединения с бортами лотков из плоских заготовок и их формирования путем подъема бортов выполняют перед образованием настенного желоба.
28. Способ возведения металлической кровли крыши по п.17, отличающийся тем, что устанавливают вставку треугольной формы в зазоре между кромками бортов в верхней части настенного желоба и фальцами соединяют их между собой.
РИСУНКИ
|