|
|
(21), (22) Заявка: 2005109533/03, 05.04.2005
(24) Дата начала отсчета срока действия патента:
05.04.2005
(45) Опубликовано: 10.04.2006
(56) Список документов, цитированных в отчете о поиске:
RU 2070256 C1, 10.06.2004. RU 1499 U1, 16.01.1996. SU 128597 A1, 01.01.1960. DE 2608872 A1, 08.09.1977. DE 2659415 A1, 07.07.1977. DE 19816529 A1, 14.10.1999. US 5483773 A, 16.01.1996.
Адрес для переписки:
115088, Москва, Симоновский вал, 26, корп.2, кв.30, В.С. Чайкову
|
(72) Автор(ы):
Барков Юрий Васильевич (RU), Блажко Владимир Павлович (RU), Голофаст Сергей Иванович (RU)
(73) Патентообладатель(и):
ОАО “ЦЕНТРАЛЬНЫЙ НАУЧНО-ИССЛЕДОВАТЕЛЬСКИЙ И ПРОЕКТНЫЙ ИНСТИТУТ ЖИЛЫХ И ОБЩЕСТВЕННЫХ ЗДАНИЙ” (RU)
|
(54) БАЛКОН ЗДАНИЯ
(57) Реферат:
Изобретение относится к строительству, а именно к сооружениям балконов (лоджий) в существующих, преимущественно кирпичных зданиях. Балкон здания состоит из прикрепленных к ограждающей стене здания металлических консольных кронштейнов, опертой на них торцами горизонтальной несущей плиты и ограждения. Каждый металлический консольный кронштейн выполнен угловым и неравноплечим из жестко связанных друг с другом вертикального и горизонтального элементов, наружные концы которых соединены раскосом. Несущая плита имеет металлическую обвязку, торцевые части которой образованы горизонтальными элементами металлических консольных кронштейнов. Верхний и нижний анкеры расположены соответственно в образованных в ограждающей стене верхнем наклонном и нижнем горизонтальном заполненных расширяющимся при схватывании строительным раствором глухих каналах. Выступающий конец верхнего анкера жестко соединен с подвешенным к нему вертикальным элементом металлического консольного кронштейна, а на имеющий резьбу конец нижнего горизонтального анкера надета нижняя часть вертикального элемента этого же металлического консольного кронштейна, зафиксированного гайкой. Технический результат изобретения заключается в снижении трудозатрат при сооружении балконов при реконструкции зданий. 3 з.п. ф-лы, 5 ил. 
Изобретение относится к строительству, а именно к сооружениям балконов (лоджий) в существующих, преимущественно кирпичных зданиях.
Известен из реферата №1499 с опубликованной в 1996.01.16 формулой изобретения заявки Российской Федерации №94037975, кл.6 Е 04 В 1/00, балкон, содержащий закрепленные на наружной поверхности ограждающей стены здания и прилегающие к ней металлические угловые неравноплечие кронштейны, консольные балки которых связанные между собой посредством набора поперечных металлических прогонов пола, и ограждение.
Недостатками вышеуказанного балкона является необходимость образования в ограждающей стене, к которой прилегают малые пластины металлических угловых неравноплечих кронштейнов горизонтальных сквозных каналов для пропуска в них выше уровня пола шпилек для крепления на внутренней поверхности ограждающей стены фиксирующей пластины и отсутствие распорных стоек между балконами смежных этажей.
Наиболее близким по своей технической сути к предложенному балкону здания является известный из патента Российской Федерации №2070256, кл.6 Е 04 В 2/00, 1994 г., балкон здания, содержащий к ограждающей стене последнего посредством верхних и нижних анкеров и имеющие растяжки металлических консольных кронштейнов, нижние горизонтальные элементы которых жестко связанны с торцами опертой на них горизонтальной несущей плиты, и ограждение.
Недостатками вышеуказанного балкона здания является сложность его установки на ограждающих стенах эксплуатируемых многоэтажных кирпичных зданий при их ремонте, восстановление и реконструкции.
Задачами изобретения является обеспечение возможности сооружения балконов (лоджий) в старых эксплуатируемых кирпичных зданиях для расширения полезной площади и комфортности без образования в ограждающей наружной стене здания канавок и проемов для заделки нижних частей устанавливаемых балконов.
Поставленные задачи достигаются тем, что в балконе здания, содержащем прикрепленные к ограждающей стене последнего посредством верхних и нижних анкеров и имеющих растяжки металлических консольных кронштейнов, нижние горизонтальные элементы которых жестко связанны с торцами опертой на них горизонтальной несущей плитой, и ограждение, горизонтальная несущая плита снабжена охватывающей ее по периметру металлической обвязкой, имеющей профилированное поперечное сечение, выступающая из стены часть каждого нижнего анкера – прижимной регулировочной гайкой, фиксирующей положение металлического консольного кронштейна относительно контактирующей с ним поверхности стены, при этом каждый упомянутый кронштейн выполнен угловым и неравноплечим из жестко связанных друг с другом вертикального и горизонтального элементов, каждая растяжка – в виде соединяющего наружные концы элементов упомянутого кронштейна жесткого раскоса, горизонтальный элемент которого образует торцевую часть металлической обвязки вышеупомянутой горизонтальной несущей плиты, верхние и нижние анкеры размещены в образованных в ней и заполненных расширяющимся при схватывании строительном раствором глухих каналах, при этом каналы для размещения нижних частей верхних анкеров и жесткие раскосы наклонены в вертикальной плоскости поперечного сечения стены соответственно под углами и , равными 45-75° и 30-65°, а длина L каждого нижнего анкера превышает длину L1 его выступающей из канала стены части в 10-20 раз.
Кроме того, балкон здания может быть снабжен промежуточным металлическим консольным кронштейном с закрепленной на нем вертикальной разделительной стенкой, а горизонтальный элемент промежуточного металлического консольного кронштейна может быть выполнен с вертикальным поперечным сечением в виде двутавра, нижняя часть вертикального элемента каждого металлического консольного кронштейна – с выпуском для жесткого соединения с верхней частью соосного с ним и расположенного под ним вертикального элементом металлического консольного кронштейна балкона смежного нижнего этажа здания, а свободный конец горизонтального элемента металлического консольного кронштейна может быть жестко соединен посредством вертикальной опорной стойки с соосным и расположенным под ним свободным концом горизонтального элемента металлического консольного кронштейна балкона смежного нижнего этажа.
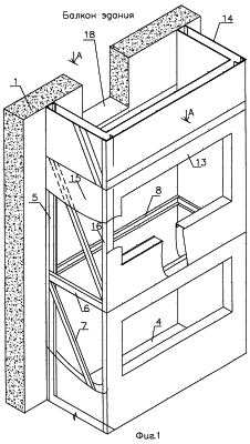
Сущность изобретения поясняется на чертежах, где на фиг.1 схематично изображен общий вид балкона здания; на фиг.2 – разрез по А-А на фиг.1; на фиг.3 – узел Б на фиг.2 в увеличенном масштабе; на фиг.4 – узел В на фиг 2 в увеличенном масштабе.
Балкон здания состоит из прикрепленных к наружной поверхности ограждающей стены 1 здания при помощи верхних 2 и нижних 3, имеющих резьбу, анкеров металлических консольных кронштейнов, опертой на них торцами горизонтальной несущей плиты 4 и ограждения. Каждый металлический консольный кронштейн выполнен угловым и неравноплечим из жестко связанных друг с другом вертикального 5 и горизонтального 6 элементов, наружные концы которых соединены между собой растяжкой, выполненной в виде жесткого раскоса 7. Горизонтальная несущая плита 4 снабжена профилированной металлической обвязкой 8, торцевые части которой образованы горизонтальными элементами 6 металлических консольных кронштейнов. Верхний 2 и нижний 3 анкеры расположены соответственно в образованных в ограждающей, преимущественно кирпичной, стене 1 здания верхнем 9 наклонном и нижнем 10 горизонтальном, заполненных расширяющимся при схватывании строительным раствором 11 глухих каналах. Выступающий конец верхнего 2 анкера неподвижно соединен, например посредством сварки, с верхней частью подвешенного к нему вертикального 5 элемента металлического консольного кронштейна, а на выступающий из ограждающей стены 1 и имеющий резьбу конец нижнего горизонтального анкера 3 надета, имеющая отверстие, нижняя часть вертикального 5 элемента этого же металлического консольного кронштейна, положение которого относительно ограждающей стены 1 фиксируется гайкой 12. Ограждение балкона здания может быть выполнено из соединенных между собой торцами фасадной 13 светопрозрачной и боковых правой 14 и левой 15 стенок, установленных на обвязке 8 горизонтальной несущей плиты 4 и связанных своими верхними торца с обвязкой 8 горизонтальной несущей плиты 4 балкона смежного верхнего этажа Торцы вертикальных 6 элементов металлических консольных кронштейнов, соосных по вертикали балконов всех последовательно расположенных этажей здания, жестко соединены друг с другом. Посредством сварных соединений, а свободные концы горизонтальных 5 элементов каждого консольного кронштейна этих же соосных по вертикали балконов всех последовательно расположенных этажей здания жестко соединены друг с другом посредством вертикальных опорных стоек 16. Каналы для размещения нижних частей верхних 2 анкеров и жесткие раскосы 7 наклонены в вертикальной плоскости поперечного сечения ограждающей стены 1 соответственно под углами и , равными 45-75° и 30-65°. Длина L каждого нижнего 3 анкера превышает длину L1 его выступающей из канала ограждающей стены 1 части в 10-20 раз.
Сборку и установку балкона осуществляют следующим образом. Перед установкой балкона на ограждающую стену 1 в последней с внешней ее поверхности в местах крепления балкона выполняют (просверливают) верхние наклонные 9 и горизонтальные 10 глухие каналы, которые затем заполняют расширяющейся при схватывании строительной смесью 11 и устанавливают соответственно верхние 2 и нижние 3 анкеры. Затем после схватывания строительной смеси 11 в верхних 9 и нижних 10 глухих каналах стены 1 последовательно осуществляют следующие операции по сборке балконов:
установки металлических консольных кронштейнов балкона на ограждающую стену 1 при помощи сварки к выступающим концам верхних 2 анкеров верхних частей вертикальных элементов 5 металлических консольных кронштейнов, причем перед сваркой верхних частей вертикальных 5 элементов с верхними анкерами 2 через отверстия 17, образованные в нижних частях этих же вертикальных 5 элементов пропускают выступающие части нижних анкеров 3 и фиксируют положение указанных вертикальных элементов 5 гайками 12;
соединение торцов горизонтальных 6 элементов металлических консольных кронштейнов каждого балкона друг с другом посредством продольных элементов обвязки 8 при помощи сварки;
установка в полости, образованной обвязкой 8, арматуру горизонтальной несущей плиты 4 и ее бетонирование;
жесткое соединение нижних частей вертикальных элементов 5 металлических консольных кронштейнов с верхними частями соосных с ними и расположенных под ними вертикальных элементов 5 металлических консольных кронштейнов балконов смежного нижнего этажа здания;
соединение свободных концов горизонтальных элементов 6 металлических консольных кронштейнов посредством вертикальных опорных стоек 16 с соосными и расположенными под ними свободными концами горизонтальных 6 элементов металлических консольных кронштейнов балконов смежного нижнего этажа здания и монтируют на обвязках 8 горизонтальной несущей плиты 4 балконов образующие их ограждение и соединенные друг с другом торцами фасадную 13 светопрозрачную и боковые правые 14 и левые 15 стенки, связанные своими верхними торцами с обвязками 8 несущих плит 4 балконов смежного верхнего этажа здания. В зависимости от того когда осуществляется установка балкона, трансформация оконного проема ограждающей стены 1 в проем 18 для балконной двери и установка в нем последней может осуществляться как в процессе эксплуатации кирпичного здания, так и при его реконструкции или капитальном ремонте перед установкой балкона, или после его монтажа.
Установка предлагаемых балконов в процессе капитального ремонта, реконструкции и эксплуатации здания, преимущественно кирпичного здания, позволит повысить его комфортность и расширить полезную площадь без больших затрат ручного труда и средств.
Формула изобретения
1. Балкон здания, содержащий прикрепленные к ограждающей стене последнего посредством верхних и нижних анкеров и имеющие растяжки металлические консольные кронштейны, нижние горизонтальные элементы которых жестко связаны с торцами опертой на них горизонтальной несущей плиты, и ограждение, отличающийся тем, что горизонтальная несущая плита снабжена охватывающей ее по периметру металлической обвязкой, имеющей профилированное поперечное сечение, выступающая из стены часть каждого нижнего анкера снабжена прижимной регулировочной гайкой, фиксирующей положение металлического консольного кронштейна относительно контактирующей с ним поверхности стены, при этом каждый упомянутый кронштейн выполнен угловым и неравноплечим из жестко связанных друг с другом вертикального и горизонтального элементов, каждая растяжка – в виде соединяющего наружные концы элементов упомянутого кронштейна жесткого раскоса, горизонтальный элемент кронштейна образует торцевую часть металлической обвязки вышеупомянутой горизонтальной несущей плиты, верхние и нижние анкеры размещены в образованных в стене и заполненных расширяющимся при схватывании строительным раствором глухих каналах, при этом каналы для размещения нижних частей верхних анкеров и жесткие раскосы наклонены в вертикальной плоскости поперечного сечения стены соответственно под углами и , равными 30-45° и 30-65°, а длина L каждого нижнего анкера превышает длину L1 его выступающей из канала стены части в 10-20 раз.
2. Балкон по п.1, отличающийся тем, что нижняя часть вертикального элемента каждого металлического консольного кронштейна выполнена с выпуском для жесткого соединения с верхней частью соосного с ним и расположенного под ним вертикального элемента металлического консольного кронштейна балкона смежного нижнего этажа здания.
3. Балкон по п.1, отличающийся тем, что свободный конец горизонтального элемента каждого металлического консольного кронштейна жестко соединен посредством вертикальной опорной стойки с соосным и расположенным под ним свободным концом горизонтального элемента металлического консольного кронштейна балкона смежного нижнего этажа здания.
4. Балкон по п.1, отличающийся тем, что он снабжен промежуточным металлическим консольным кронштейном с закрепленной на нем вертикальной разделительной стенкой, а горизонтальный элемент промежуточного металлического консольного кронштейна выполнен с вертикальным поперечным сечением в виде двутавра.
РИСУНКИ
MM4A – Досрочное прекращение действия патента СССР или патента Российской Федерации на изобретение из-за неуплаты в установленный срок пошлины за поддержание патента в силе
Дата прекращения действия патента: 06.04.2007
Извещение опубликовано: 20.07.2008 БИ: 20/2008
|
|