|
|
(21), (22) Заявка: 2004133569/03, 17.11.2004
(24) Дата начала отсчета срока действия патента:
17.11.2004
(45) Опубликовано: 10.04.2006
(56) Список документов, цитированных в отчете о поиске:
SU 350901 A, 19.09.1972. SU 283903 A, 19.07.1976. US 2168341 А, 08.08.1939. МАЛЕВАНЧИК Б.С. и др. Рыбопропускные и рыбозащитные сооружения. Москва, “Легкая и пищевая промышленность”, 1984, с. 9 – 14, рис. 1 – 3; с. 24 – 26, рис. 9.
Адрес для переписки:
346412, Ростовская обл., г. Новочеркасск, пер. Комсомольский, 25а, кв.1, А.А. Чистякову
|
(72) Автор(ы):
Чистяков Александр Анатольевич (RU), Шкура Виктор Николаевич (RU)
(73) Патентообладатель(и):
Федеральное государственное образовательное учреждние высшего профессионального образования “Новочеркасская государственная мелиоративная академия” ФГОУ ВПО (НГМА) (RU)
|
(54) РЫБОПРОПУСКНОЕ СООРУЖЕНИЕ
(57) Реферат:
Изобретение относится к гидротехническому строительству, а именно к рыбопропускным сооружениям, предназначенным для пропуска производителей рыбы через подпорные сооружения к местам нереста и нагула. Рыбопропускное сооружение включает рыбонакопитель с побудительным устройством, установленным на горизонтальных направляющих и снабженным сетным полотном, соединенным с приводом его положения, ложную стенку, размещенную вдоль рыбонакопителя и выполненную в виде решетки, один конец которой закреплен на горизонтальной оси вращения, а другой соединен с приводом, устройство для управления поведением рыбы, рабочие элементы которого выполнены параллельно рыбонакопителю, транспортный контейнер для перевода рыбы, расположенный в донной нише в конце рыбонакопителя, контейнеровоз, установленный на эстакаде. Рыбонакопитель снабжен водонепроницаемым армированным полотнищем и расположен вдоль береговой кромки. Рабочие элементы устройства для управления поведением рыбы выполнены в виде струеформирующих насадков, расположенных выше уровня воды в рыбонакопителе, и соединены с напорным водоводом, проложенным вдоль стационарной стенки рыбонакопителя. Ось вращения ложной стенки выполнена на дне рыбонакопителя параллельно его стационарной стенке. Водонепроницаемое полотнище закреплено к свободной кромке ложной стенки и соединено гибкими тягами с приводом. Торцовые части ложной стенки в начале и в конце рыбонакопителя снабжены гофрированными элементами. Изобретение обеспечивает повышение эффективности привлечения и концентрации рыбы в рыбосборном коллекторе. 4 з. п. ф-лы, 13 ил. 
(56) (продолжение):
CLASS=”b560m”ХАРЧЕВ Г.К. Рыбопропускные сооружения. Ленинград – Москва, Государственное издательство строительной литературы, 1940, с. 94 – 100, рис. 60 – 66.
Изобретение относится к гидротехническому строительству, а именно к рыбопропускным сооружениям, предназначенным для пропуска производителей рыбы через подпорные сооружения к местам нереста и нагула.
Известно рыбопропускное сооружение [1], включающее рыбонакопитель, размещенный вдоль береговой кромки, вплывные отверстия, расположенные вдоль его длины и обращенные в сторону нижнего бьефа и блок питания.
Недостатком данного сооружения является низкая эффективность привлечения и концентрации рыбы в рыбосборном коллекторе.
Известно рыбопропускное сооружение [2], включающее рыбонакопитель с побудительным устройством, транспортный контейнер, установленный в донной нише, контейнеровоз, расположенный на эстакаде, и устройство для управления поведением рыбы в потоке воды нижнего бьефа.
Недостатком данного сооружения является низкая эффективность привлечения и концентрации рыбы в рыбосборном коллекторе.
Наиболее близким по технической сущности и достигаемому результату является рыбопропускное сооружение [3], включающее рыбонакопитель с побудительным устройством, установленным на горизонтальных направляющих и снабженный сетным полотном, соединенным с приводом его положения, ложную стенку, размещенную вдоль рыбонакопителя и выполненную в виде решетки, один конец которой закреплен на горизонтальной оси вращения, а другой соединен с приводом, устройство для управления поведением рыбы, рабочие элементы которого выполнены параллельно рыбонакопителю, транспортный контейнер для перевода рыбы, расположенный в донной нише в конце рыбонакопителя, контейнеровоз, установленный на эстакаде.
Недостатком данного сооружения является низкая эффективность привлечения рыбы в рыбосборный коллектор.
Целью изобретения является повышение эффективности привлечения и концентрации рыбы в рыбосборный коллектор.
Сущность изобретения заключается в следующем.
По п.1 формулы изобретения. Выполнение рыбонакопителя, снабженного водонепроницаемым армированным полотнищем, позволяет при подъеме ложной стенки в вертикальное положение, сформировать ловушку для рыбы, привлеченной шумом падающих на поверхность зеркала воды гидравлических струй, формируемых системой струеформирующих насадков, расположенных выше уровня воды. Это позволяет отсечь мигрантов от акватории нижнего бьефа и сконцентрировать их в пространстве рыбонакопителя.
Выполнение водонепроницаемого полотнища армированным позволяет повысить надежность его работы, поскольку полотнище испытывает нагрузки на растяжение и является частью гибкой тяги.
Выполнение рабочих элементов устройства для управления поведением рыбы в виде струеформирующих насадков, расположенных выше уровня воды в рыбонакопителе и соединенных с напорным водоводом, проложенным вдоль стационарной стенки рыбонакопителя, позволяет организовать активную зону для привлечения рыбы вблизи береговой кромки. Гидравлические струи, истекающие из струеформирующих насадков, падая на зеркало воды, создают акустический эффект, аэрируют поток и формируют привлекающее рыбу течение, образуемое вдоль береговой кромки. Рыба, идущая на нерест, привлекается в создаваемую активную зону привлечения, где происходит ее концентрация, а в последующем и перевод во внутреннее пространство рыбонакопителя.
Выполнение оси вращения ложной стенки на дне рыбонакопителя параллельно его стационарной стенке и закрепление водонепроницаемого полотнища к свободной кромке ложной стенки позволяет при подъеме ложной стенки вертикально вверх, не только формировать канал рыбонакопителя-рыбосборника, но и собирать концентрировать мигрантов во внутреннем пространстве рыбопропускного сооружения.
Выполнение торцовых частей ложной стенки, в начале и в конце рыбонакопителя, снабженных гофрированными элементами, позволяет предотвратить утечку рыбы из рыбонакопителя.
По п.2 формулы изобретения. Выполнение вдоль рыбонакопителя со стороны береговой кромки источников света, направленные к поверхности воды, позволяет в сумеречное и ночное время суток использовать эффект привлечения рыбы на свет и повышать ее концентрацию вдоль береговой кромки.
По п.3 формулы изобретения. Выполнение дополнительного рыбонакопителя, размещенного на противоположном берегу реки, симметрично основному рыбонакопителю, позволяет повысить рыбонесущую способность рыбопропускного сооружения. Как известно, наиболее устойчивые трассы миграции рыб пролегают вдоль берегов рек, поэтому устройство вдоль берегов основного и дополнительного рыбонакопителей повышает вероятность захода рыбы в зону их влияния.
По п.4 формулы изобретения. Выполнение рыбонакопителя, снабженного дополнительным блоком питания в виде системы затопленных струеформирующих насадков, выпускные отверстия которых ориентированы по направлению течения в реке, позволяет сформировать вдоль лотка рыбонакопителя устойчивое привлекающее рыб течение. Размещение затопленных струеформирующих насадков по длине рыбонакопителя в углублениях его стационарной стенки, при этом насадки дискретно размещены по глубине, позволяет сетному полотну побудительного устройства беспрепятственно перемещаться вдоль боковых стенок рыбонакопителя. Соединение струеформирующих насадков с дополнительным напорным водоводом позволяет обеспечить автономную их работу вне зависимости от режима работы поверхностных струеформирующих насадков.
По п.5 формулы изобретения. Выполнение струеформирующих насадков четных рядов, смещенных по высоте относительно струеформирующих насадков нечетных рядов на половину шага установки струеформирующих насадков, позволяет получить более плотный привлекающий рыбу поток, равномерно распределяемый вдоль лотка рыбонакопителя.
Решение поставленной задачи достигается путем создания новой конструкции рыбопропускного сооружения. Графический материал, поясняющий сущность предлагаемого изобретения, представлен на следующих фигурах:
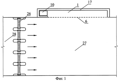
фиг.1 – рыбопропускное сооружение, план;
фиг.2 – поперечный разрез рыбонакопителя, операция привлечения и накопления мигрантов;
фиг.3 – то же, окончание процесса привлечения и накопления, операция подъема ложной стенки рыбонакопителя;
фиг.4 – поперечный разрез лотка рыбонакопителя, ложная стенка в вертикальном положении;
фиг.5 – то же, операция перевода побудительным устройством накопленных рыб, вдоль лотка рыбонакопителя в направлении расположения транспортного контейнера;
фиг.6 – то же, вид сверху;
Фиг.7 – вид на торцовую часть ложной стенки;
фиг.8 – гидроузел, план, вариант симметричного размещения дополнительного рыбонакопителя на противоположном берегу реки;
фиг.9 – поперечный разрез лотка рыбонакопителя, снабженного дополнительным блоком питания в виде системы затопленных струеформирующих насадков, операция привлечения и накопления рыбы;
фиг.10 – вид на стационарную стенку рыбонакопителя с размещенными на ней струеформирующими насадками;
фиг.11 – разрез А-А на фиг.10;
фиг.12 – вид на стационарную стенку рыбонакопителя с размещенными на ней струеформирующими насадками, при этом насадки в рядах смещены друг относительно друга на половину шага установки насадков по высоте;
фиг.13 – схема перемещения рыбы в транспортном контейнере в верхний бьеф гидроузла.
Рыбопропускное сооружение включает рыбонакопитель 1 с побудительным устройством 2, установленным на горизонтальных направляющих 3, и снабженный сетным полотном 4, соединенным с приводом 5 его положения, ложную стенку 6, размещенную вдоль рыбонакопителя 1 и выполненную в виде решетки, один конец которой закреплен на горизонтальной оси 7 вращения, а другой соединен с приводом 8, устройство 9 для управления поведением рыбы, рабочие элементы которого выполнены параллельно рыбонакопителю 1, транспортный контейнер 10 для перевода рыбы, расположенный в донной нише 11 в конце рыбонакопителя 1, контейнеровоз 12, установленный на эстакаде 13.
Рыбонакопитель 1 снабжен водонепроницаемым армированным полотнищем 14 и расположен вдоль береговой кромки, рабочие элементы устройства 9 для управления поведением рыбы выполнены в виде струеформирующих насадков 15, расположенных выше уровня воды в рыбонакопителе 1, и соединены с напорным водоводом 16, проложенным вдоль стационарной стенки 17 рыбонакопителя 1, при этом ось 7 вращения ложной стенки 6 выполнена на дне рыбонакопителя 1 параллельно его стационарной стенке 17, а водонепроницаемое полотнище 14 закреплено к свободной кромке ложной стенки 6 и соединено гибкими тягами 18 с приводом 8, причем торцовые части ложной стенки 6, в начале и в конце рыбонакопителя 1 снабжены гофрированными элементами 19.
Кроме того вдоль рыбонакопителя 1 со стороны береговой кромки могут быть расположены источники света 20, направленные к поверхности воды.
Помимо того, дополнительный рыбонакопитель 21 может быть размещен на противоположном берегу реки симметрично основному рыбонакопителю 1.
Кроме того, рыбонакопитель 1 может быть снабжен дополнительным блоком питания в виде системы струеформирующих насадков 22, размещенных по длине рыбонакопителя 1 в углублениях 23 его стационарной стенки 17, при этом насадки 22 дискретно размещены по глубине, а их выпускные отверстия 24 направлены по направлению течения реки, причем система струеформирующих насадков 22 соединена с дополнительным напорным водоводом 25.
Помимо того, струеформирующие насадки 22 четных рядов могут быть смещены по высоте относительно струеформирующих насадков 22 нечетных рядов на половину шага установки струеформирующих насадков 22.
Рыбопропускное сооружение устроено ниже подпорного сооружения 26 в нижнем бьефе 27. Накопленную рыбу переводят транспортным контейнером 10 посредством контейнеровоза 12 и эстакады 13 в верхний бьеф 28.
Струеформирующие насадки 15, размещенные выше уровня воды, при своей работе создают активную зону 29 привлечения рыбы.
Рыбопропускное сооружение работает следующим образом.
Рыба, идущая на нерест, привлеченная шумом падающих на поверхность воды гидравлических струй, образуемых устройством 9 для управления поведением рыбы, выполненным в виде струеформирующих насадков 15, концентрируется в активной зоне 29 привлечения, образуемой вдоль стационарной стенки 17 рыбонакопителя 1 (фиг.2). Для перевода привлеченной рыбы во внутреннее пространство лотка рыбонакопителя 1, служба эксплуатации включает в работу привод 8 для перевода ложной стенки 6 в вертикальное положение. При этом гибкие тяги 18 воздействуют на водонепроницаемое армированное полотнище 14, которое при своем подъеме отсекает накопленную рыбу от акватории нижнего бьефа 27 (фиг.3). После подъема ложной стенки 6 в вертикальное положение (фиг.4) подачу привлекающего рыбу расхода в струеформирующие насадки 15 прекращают и включается в работу побудительное устройство 2, при этом его сетное полотно 4 посредством привода 5 опускается вниз и занимает вертикальное положение, перекрывая при этом поперечное сечение лотка рыбонакопителя 1 (фиг.5). Перемещаясь по направляющим 3, побудительное устройство 2 переводит накопленную рыбу к месту размещения транспортного контейнера 10, который в это время находится в донной нише 11. Дальнейший процесс перевода рыбы заключается в следующем. Контейнеровоз 12 поднимает транспортный контейнер 10 и по канатной дороге эстакады 13 (фиг.13) перемещает рыбу в верхний бьеф 28, где она выпускается в водохранилище. Во время перевода рыбы в верхний бьеф 28 служба эксплуатации опускает ложную стенку 6 в крайнее нижнее положение и осуществляет подачу привлекающего рыбу потока в струеформирующие насадки 15, начиная новый цикл привлечения. После выпуска рыбы транспортный контейнер 10 возвращается в исходное положение – донную нишу 11.
Выполнение вдоль рыбонакопителя 1 со стороны береговой кромки источников света 20, направленных к поверхности воды, позволяет в сумеречное и ночное время суток использовать эффект привлечения рыбы на свет и повышать ее концентрацию вдоль береговой кромки.
Выполнение дополнительного рыбонакопителя 21, размещенного на противоположном берегу реки, симметрично основному рыбонакопителю 1, позволяет повысить рыбонесущую способность рыбопропускного сооружения. Как известно, наиболее устойчивые трассы миграции рыб пролегают вдоль берегов рек, поэтому устройство вдоль берегов основного 1 и дополнительного 21 рыбонакопителей повышает вероятность захода рыбы в зону их влияния.
Возможен вариант выполнения рыбонакопителя 1 и 21, снабженного дополнительным блоком питания в виде системы затопленных струеформирующих насадков 22, выпускные отверстия 24 которых ориентированны по направлению течения в реке, позволяет сформировать вдоль лотка рыбонакопителя 1 и 21 устойчивое привлекающее рыб течение. Размещение затопленных струеформирующих насадков 22 по длине рыбонакопителя 1 или 21 в углублениях 23 его стационарной стенки 17, при этом насадки 22 дискретно размещены по глубине, позволяет сетному полотну 4 побудительного устройства 2 беспрепятственно перемещаться вдоль боковых стенок рыбонакопителя 1 или 21. Соединение струеформирующих насадков 22 с дополнительным напорным водоводом 25 позволяет обеспечить автономную их работу вне зависимости от режима работы поверхностных струеформирующих насадков 15.
Возможен вариант выполнения струеформирующих насадков 22 четных рядов, смещенных по высоте относительно струеформирующих насадков 22 нечетных рядов на половину шага установки струеформирующих насадков 22, что позволяет получить более плотный привлекающий рыбу поток, равномерно распределяемый вдоль лотка рыбонакопителя 1 или 21.
Источники информации
1. Патент США №2168341,”Fishway”, МПК Е 02 В 8/08 H.B.Holmer, 1939-08-08.
2. А.С. СССР №283903, “Рыбоподъемник”, МПК Е 02 В 8/08, Боровиков А.И., Малеванчик B.C., Петухов Б.П., Ряховская Г.Н., опубл. Б.И. №23, 1976-25-06.
3. А.С. СССР №350901, “Устройство для перемещения рыбы из одного бьефа в другой”, МПК Е 02 В 8/08, Селезнев С.В., Борисенко Н.Г., Кошкин В.Я., опубл. Б.И. №27, 1972-19-09.
Формула изобретения
1. Рыбопропускное сооружение, включающее рыбонакопитель с побудительным устройством, установленным на горизонтальных направляющих и снабженным сетным полотном, соединенным с приводом его положения, ложную стенку, размещенную вдоль рыбонакопителя и выполненную в виде решетки, один конец которой закреплен на горизонтальной оси вращения, а другой соединен с приводом, устройство для управления поведением рыбы, рабочие элементы которого выполнены параллельно рыбонакопителю, транспортный контейнер для перевода рыбы, расположенный в донной нише в конце рыбонакопителя, контейнеровоз, установленный на эстакаде, отличающееся тем, что рыбонакопитель снабжен водонепроницаемым армированным полотнищем и расположен вдоль береговой кромки, рабочие элементы устройства для управления поведением рыбы выполнены в виде струеформирующих насадков, расположенных выше уровня воды в рыбонакопителе, и соединены с напорным водоводом, проложенным вдоль стационарной стенки рыбонакопителя, при этом ось вращения ложной стенки выполнена на дне рыбонакопителя параллельно его стационарной стенке, а водонепроницаемое полотнище закреплено к свободной кромке ложной стенки и соединено гибкими тягами с приводом, причем торцевые части ложной стенки в начале и в конце рыбонакопителя снабжены гофрированными элементами.
2. Рыбопропускное сооружение по п. 1, отличающееся тем, что вдоль рыбонакопителя со стороны береговой кромки расположены источники света, направленные к поверхности воды.
3. Рыбопропускное сооружение по п. 1, отличающееся тем, что дополнительный рыбонакопитель размещен на противоположном берегу реки симметрично основному рыбонакопителю.
4. Рыбопропускное сооружение по любому из пп. 1 – 3, отличающееся тем, что рыбонакопитель снабжен дополнительным блоком питания в виде системы струеформирующих насадков, размещенных по длине рыбонакопителя в углублениях его стационарной стенки, при этом насадки дискретно размещены по глубине, а их выпускные отверстия направлены по направлению течения нижнего бьефа, причем система струеформирующих насадков соединена с дополнительным напорным водоводом.
5. Рыбопропускное сооружение по п. 4, отличающееся тем, что струеформирующие насадки четных рядов смещены по высоте относительно струеформирующих насадков нечетных рядов на половину шага установки струеформирующих насадков.
РИСУНКИ
MM4A – Досрочное прекращение действия патента СССР или патента Российской Федерации на изобретение из-за неуплаты в установленный срок пошлины за поддержание патента в силе
Дата прекращения действия патента: 18.11.2006
Извещение опубликовано: 20.06.2008 БИ: 17/2008
|
|