|
|
(21), (22) Заявка: 2004114813/03, 17.05.2004
(24) Дата начала отсчета срока действия патента:
17.05.2004
(43) Дата публикации заявки: 27.10.2005
(45) Опубликовано: 10.04.2006
(56) Список документов, цитированных в отчете о поиске:
RU 97104595 A, 27.03.1999. SU 1293271 A1, 19.02.1985. SU 633976 A1, 25.11.1978. ШАПИРО Л.Б. и др., Скоростное строительство внеклассного железнодорожного моста на магистрали Санкт-Петербург-Москва, статья в журнале «Вестник мостостроения», 2002, №3-4, с.40-44.
Адрес для переписки:
115551, Москва, ул. Домодедовская, 22, корп.1, кв.632, Г.Д. Альперовичу
|
(72) Автор(ы):
Альперович Геннадий Давидович (RU)
(73) Патентообладатель(и):
Альперович Геннадий Давидович (RU)
|
(54) СПОСОБ МОНТАЖА УКРУПНЕННЫХ СТРОИТЕЛЬНЫХ КОНСТРУКЦИЙ
(57) Реферат:
Изобретение относится к области мостостроения и может быть использовано при надвижке неразрезных пролетных строений мостов. Новым в способе надвижки неразрезного пролетного строения моста является то, что на опорах моста размещают накаточные балки, которые объединяют между собой, а по всей их длине приваривают упоры для предотвращения смещения пролетного строения, к надвигаемому пролетному строению крепят салазки, не менее двух на пролет, имеющие в нижней части две стенки, а толкающее устройство закрепляют к накаточным балкам. Технический результат изобретения состоит в упрощении технологии работ и снижении стоимости конструкций. 1 ил. 
Изобретение относится к строительству, преимущественно к мостостроению, и может быть использовано при надвижке неразрезных пролетных строений мостов по постоянным и временным опорам.
При надвижке неразрезных пролетных строений мостов на опоры передаются горизонтальные усилия, значительно превышающие эксплуатационные, что требует их усиления. Кроме того, для осуществления надвижки необходимо устраивать якорь, к которому крепят толкающее или тянущее устройство, необходимо компенсировать прогибы консоли надвигаемого пролетного строения путем устройства аванбека или другим способом (установка специальных приемных устройств и т.д.), необходимо также предпринимать меры против перемещения надвигаемого пролетного строения в плане (рысканья) путем установки двух независимо работающих тянущих (толкающих) механизмов и устройства на опорах конструкций, позволяющих ликвидировать поперечное смещение конструкций (1).
Известен также способ монтажа укрупненного строительного блока путем перекатки к месту установки по временной эстакаде. В этом случае блок устанавливается на тележки, салазки или катки, а временная эстакада воспринимает всю нагрузку от перемещаемого блока. Эстакада должна быть достаточно жесткой для обеспечения равномерной работы тележек (салазок, катков), а ее несущие балки выполняются в виде двух-трехстенчатых коробчатых сечений, способных работать на кручение при поперечном смещении тележек (салазок, катков) (2).
Цель изобретения – упрощение технологии производства работ при надвижке и уменьшение стоимости конструкций.
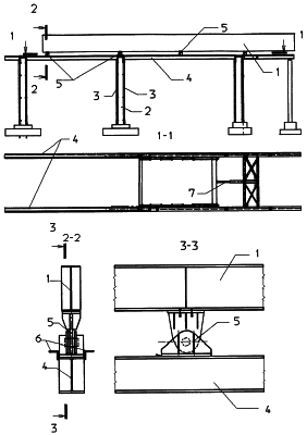
Цель изобретения достигается тем, что надвижка пролетного строения 1 выполняется по предварительно установленным на постоянные 2 или временные 3 опоры одностенчатым накаточным балкам 4. Верхние или нижние пояса накаточных балок объединены между собой.
К пролетному строению закреплены салазки 5 – не менее двух салазок на пролет. Салазка состоит из двух частей, объединенных шарниром, при этом нижняя часть салазки имеет две стенки, что обеспечивает центральную передачу усилий с салазки на накаточную балку при достаточной жесткости пролетного строения при работе на кручение.
По всей длине накаточной балки к ней прикреплены упоры 6. Упоры могут входить в сечение накаточной балки при их работе на изгиб. Расстояние между упорами выбирается таким, чтобы зазор между опорным листом салазки и упором не превышал допустимого поперечного смещения пролетного строения.
Толкающее (домкрат) или тянущее устройство 7 прикрепляется к накаточным балкам. Благодаря объединению накаточных балок между собой усилия трения, возникающие при перемещении салазок, передаются непосредственно на домкрат, минуя опоры.
При перемещении пролетного строения нагрузка на накаточные балки определяется соотношением изгибных жесткостей пролетного строения и накаточных балок, а также расположением салазок на пролетном строении. Салазки передают тем большую нагрузку на накаточную балку, чем ближе они к опорам, что приводит к существенному облегчению накаточных балок.
Литература
1. А.В.Кручинин, В.К.Белый. Монтаж стальных пролетных строений мостов. М.: Транспорт, 1978 г.
2. Авторское свидетельство №633976.
Формула изобретения
Способ надвижки неразрезного пролетного строения моста, характеризующийся тем, что на опорах моста размещают накаточные балки, которые объединяют между собой, а по всей их длине приваривают упоры для предотвращения смещения пролетного строения, к надвигаемому пролетному строению крепят салазки, не менее двух на пролет, имеющие в нижней части две стенки, а толкающее устройство закрепляют к накаточным балкам.
РИСУНКИ
|
|