|
|
(21), (22) Заявка: 2005106186/02, 05.03.2005
(24) Дата начала отсчета срока действия патента:
05.03.2005
(45) Опубликовано: 10.04.2006
(56) Список документов, цитированных в отчете о поиске:
RU 2053432 C1, 27.01.1996. RU 2237748 C1, 10.10.2004. RU 2178856 C1, 27.01.2002.
Адрес для переписки:
620041, г.Екатеринбург, А-8, ул. Уральская, 56А, кв.2, Т.К.Чувашевой
|
(72) Автор(ы):
Наумейко Анастасия Анатольевна (RU)
(73) Патентообладатель(и):
Наумейко Анастасия Анатольевна (RU)
|
(54) СПОСОБ РЕМОНТА ПРОТЯЖЕННЫХ СТАЛЬНЫХ ГАЗОПРОВОДОВ
(57) Реферат:
Изобретение относится к защите металлов от коррозии и может быть использовано при защите от коррозии стальных протяженных подземных газопроводов. Способ включает восстановление дефектных участков газопровода с нанесением изоляционных защитных покрытий и соединение с системой катодной защиты, при этом предварительно отключают дефектный участок газопровода от магистрального газопровода, освобождают дефектный участок от природного газа, сжимают освобождаемый природный газ и заполняют им сосуды под давлением, очищают поверхность газопровода от остатков земли и дефектного покрытия методом отслаивания – путем создания градиента температур и напряжений между дефектным покрытием и газопроводом, проводят финишную зачистку наружной поверхности газопровода с отсосом пыли, нагревают газопровод до температуры от 70 до 175°С, последовательно наносят слои адгезионной композиции, диэлектрического изоляционного покрытия с перекрытием стыков между стальными трубами газопровода и слоя спиралеобразного покрытия из металла с потенциалом более отрицательным, чем потенциал защищаемого газопровода; при этом металлическое покрытие наносят в виде ленты или фольги, концы которых выводят на расстояние (0,01-l)d, где d – диаметр трубы, затем на металлическое покрытие наносят изоляционное пластмассовое покрытие, а после монтажа газопровода в местах стыков стальных труб концы ленты или фольги по всей длине газопровода электрически соединяют через блоки коммутации и измерения параметров защиты с системой катодной защиты. Технический результат: обеспечение контроля и надежности защиты от коррозии стальных газопроводов в различных средах их размещения при существенном сокращении энергетических затрат и повышении срока службы металлического покрытия. 2 з.п. ф-лы, 10 ил. 
Изобретение относится к защите металлов от коррозии и может быть использовано при защите от коррозии стальных протяженных подземных газопроводов.
Известен способ изготовления экранной защиты трубопроводов от электрохимического воздействия, состоящий в том, что на трубу наносят два слоя изоляции из кремнепе-нобетона и пенополиуретана в виде “скорлуп”, покрывают алюминиевой фольгой, которую закрепляют бандажами с их заземлением через 10-50 м. Между первым внутренним слоем и наружным слоем из пенополиуретана приклеивают пенополимерным раствором ленту из алюминиевой фольги в виде спирали, покрывающей снаружи всю изоляцию трубы. Концы ленты выводят в местах стыков труб по всей длине трубопровода и электрически соединяют с бандажами [1].
Недостаток способа заключается в ограниченности сферы его применения – только в строительстве и только для защиты трубопроводов от воздействия на них блуждающих токов. Это связано с тем, что почвенный электролит свободно попадает между “скорлупами” из кремнепенобетона и пенополиуретана и в зазоры между спиралями ленты из алюминиевой фольги на поверхность трубопровода.
Известен способ комплексной защиты от коррозии протяженных стальных сооружений, осуществляемый путем изоляции конструкции и катодной поляризации от внешнего источника тока и нанесения под диэлектрическое изоляционное покрытие слоя металлического покрытия (например, газотермическим способом), имеющего потенциал в данной среде отрицательнее потенциала защищаемой конструкции (например, алюминия); в системе катодной защиты анод выполняют в виде ленты (или отдельных элементов, максимально приближенных к зонам дефектов защитных покрытий трубопроводов и соединенных изолированным проводником) и располагают спирально на сооружении с шагом, равным его зоне защиты, а катодную поляризацию сооружения осуществляют током плотностью 5-60 мА/кв. м [2].
Недостатки способа заключаются в том, что он не защищает сооружения от блуждающих токов; непосредственный контакт металлов с разными потенциалами ионизации (например, Al – 5,98В и Fe – 7,9B) создает дополнительно контактную разность потенциалов -1,91В, которую необходимо дополнительно компенсировать внешним источником тока; использование в качестве покрытия алюминия может привести к увеличению рН приэлектродного слоя и к катодной коррозии, а избыточная щелочность – к омылению покрытия и снижению эффективности катодной защиты; катодная поляризация сооружения током плотностью 5-60 мА/кв. м не учитывает реальные многообразные условия протекания коррозионного процесса, который зависит от природы металла. химического состава, структуры и состояния его поверхности, состава и концентрации электролита, условий диффузии и температуры.
Например, при присоединении алюминиевого протектора через металлический изолированный от грунта проводник к защищаемому стальному сооружению по проводнику потечет ток от стального сооружения (Ест=-0,55 В) к протектору (Ест=-1,66 В). В грунте происходит омическое падение напряжения, так что поверхность стального сооружения поляризуется менее отрицательно. Смещение потенциала этих металлов в отрицательную сторону за пределы уровня максимального защитного потенциала приводят к недопустимому росту скорости растворения металлического покрытия (протектора) и, кроме того, к дополнительным расходам электрической энергии. Образование плотной окисной пленки у технических сплавов алюминия препятствует прохождению тока защиты стального сооружения.
Известен способ комплексной защиты от коррозии протяженного стального сооружения, включающий последовательное размещение слоев металлического и диэлектрического изоляционного покрытия, причем слой металлического покрытия выполняют из металла с потенциалом в среде установки более отрицательным, чем потенциал защищаемого сооружения [3].
Недостаток способа заключается в ненадежности электрохимической защиты от коррозии при повреждении металлического покрытия. Кроме того, способ не обеспечивает механическую защиту покрытий при транспортировке и монтаже трубопроводов. При отсутствии катодной защиты применяемая протекторная защита не может гарантированно обеспечить защиту стальных сооружений в различных средах их размещения.
Известен способ комплексной защиты от коррозии протяженного стального трубопровода, включающий последовательное размещение слоев металлического и диэлектрического изоляционного покрытия, причем слой металлического покрытия выполняют из металла с потенциалом в среде установки более отрицательным, чем потенциал защищаемого сооружения; при этом на предварительно очищенную, нагретую поверхность защищаемой стальной трубы наносят снаружи изоляционное диэлектрическое пластмассовое покрытие, затем на изоляционное покрытие наносят спиралеобразное металлическое покрытие в виде ленты или фольги, покрывающее снаружи изоляцию трубы, концы ленты или фольг выводят на расстояние 0,01-1d, где d – диаметр трубы, затем на металлическое покрытие наносят изоляционное пластмассовое покрытие, после монтажа трубопровода в местах стыков стальных труб концы ленты или фольги по всей длине трубопровода электрически соединяют через блоки коммутации и измерения параметров защиты с системой катодной защиты [4].
Недостатки способа заключаются в том, что:
– при очистке поверхности трубы дробеструйным методом образуется плотное мелкодисперсное облако пылевидных частиц, состоящее из продуктов коррозии, частиц старого покрытия и земли, неизбежно оседающих на поверхность трубопровода, что резко ухудшает адгезию диэлектрического изоляционного покрытия к поверхности трубы и, вследствие этого, является одной из причин интенсивной коррозии поверхности трубопроводов, приводящей к аварийным разрушениям магистральных трубопроводов (2. Борисов Б.И. Изоляционные работы при строительстве магистральных трубопроводов. – М.: Недра, 1990, с.56);
– все операции по последовательному нанесению слоев металлического и диэлектрического изоляционного покрытия на стальной трубе в основном проводятся в заводских условиях, что не исключает нарушение целостности изоляционного покрытия при транспортировке;
– для улучшения адгезии к поверхности трубы диэлектрическое изоляционное покрытие приклеивают модифицированной диэлектрической адгезионной композицией при температуре 180-210°С, что приводит к повышенным энергетическим затратам;
– стыки стальных труб, наиболее подверженные коррозии, находятся вне зоны катодной защиты, что снижает ее эффективность.
Наиболее близким техническим решением является способ ремонта протяженных стальных газопроводов, включающий восстановление дефектных участков газопровода с нанесением изоляционных защитных покрытий и соединение с системой катодной защиты [5].
Недостатками данного способа ремонта газопровода являются то, что способ не предусматривает:
– использование освобождаемого из газопровода природного газа и заполнение им сосудов под давлением, что приводит к безвозвратной потере его значительных объемов и загрязнению окружающей среды;
– все операции по последовательному нанесению изоляционного покрытия на протяженном газопроводе проводятся без финишной очистки дефектного участка газопровода от старой изоляции и без его нагрева, что ухудшает адгезию к поверхности газопровода изоляционного покрытия и приводит к сокращению службы газопровода.
Задачей предлагаемого изобретения является снижение энергетических затрат, повышение качества и эффективности защиты от коррозии и надежности эксплуатации стальных подземных газопроводов.
Поставленная цель достигается тем, что в отличие от известного способа ремонта протяженных стальных газопроводов, имеющих комплексную защиту от коррозии, включающего восстановление дефектных участков газопровода с нанесением изоляционных защитных покрытий и соединение с системой катодной защиты, предлагаемый предусматривает отключение дефектного участка газопровода от магистрального газопровода, освобождение дефектного участка от природного газа, сжатие освобождаемого природного газа и заполнение им сосудов под давлением, очистка поверхности газопровода от остатков земли и дефектного покрытия методом отслаивания – путем создания градиента температур и напряжений между дефектным покрытием и газопроводом, проведение финишной зачистки наружной поверхности газопровода с отсосом пыли, нагревание газопровода до температуры от 70 до 175°С, последовательное нанесение слоев адгезионной композиции, диэлектрического изоляционного покрытия с перекрытием стыков между стальными трубами и слоя спиралеобразного покрытия из металла с потенциалом более отрицательным, чем потенциал защищаемого газопровода, при этом металлическое покрытие наносят в виде ленты или фольги, концы которых выводят на расстояние (0,01-1d), где d – диаметр трубы, затем на металлическое покрытие наносят изоляционное пластмассовое покрытие, а после монтажа газопровода в местах стыков стальных труб концы ленты или фольги по всей длине газопровода электрически соединяют через блоки коммутации и измерения параметров защиты с системой катодной защиты.
Вариант предусматривает то, что для отслаивания дефектного покрытия от стального трубопровода проводят охлаждение дефектной изоляции струей испаренного жидкого азота или/и углекислого газа, градиент температур и напряжений между дефектным участком изоляции и стальным трубопроводом создают импульсным электрическим полем напряженностью от 5 до 50 кВ, нагрев очищенного трубопровода проводят продуктами сгорания природного газа, который подается в горелочные устройства из сосудов под давлением.
Вариант предусматривает охлаждение дефектной изоляции до температуры от -90 до -152°С, импульсное электрическое поле создают индуктором, размещенным вокруг отслаиваемого участка изоляции стального трубопровода.
Технический результат: предложенный способ комплексной защиты от коррозии протяженного стального газопровода исключает недостатки прототипа, обеспечивает контроль и надежность электрохимической защиты от коррозии стальных газопроводов в различных средах их размещения при существенных сокращении энергетических затрат и повышении срока службы металлического покрытия.
Предложенный метод финишной очистки поверхности трубы и нагрев ремонтируемого участка газопровода повышает адгезию изоляционного покрытия к поверхности трубы, что способствует улучшению качества коррозионной защиты стального газопровода и приводит к сокращению затрат при его эксплуатации.
Способ позволяет использовать освобождаемый из газопровода природный газ, что снижает загрязнение окружающей среды
Анализ информации показал, что заявленное техническое решение не известно из достигнутого уровня техники, в связи с чем оно соответствует критерию «новизна».
Подобное техническое решение явным образом не следует из уровня техники и, следовательно, соответствует критерию «изобретательский уровень».
Вариант реализации предлагаемого способа поясняется на фиг.1, 2, 3, 4, 5, 6, 7, 8, 9, 10.
При производстве ремонтных работ обследуют и выявляют нарушения изоляции газопроводов 1, отключают дефектный участок газопровода 1 от магистрального газопровода, освобождают дефектный участок от природного газа, сжимают освобождаемый природный газ и заполняют им сосуды под давлением (не показаны).
Затем выполняют последовательно и непрерывно следующие технологические операции:
– роют на глубину почвы 21 симметрично продольной оси газопровода 1 траншею 19 шириной четыре d (этап 1);
– разрабатывают в грунте симметрично продольной оси газопровода траншею трапецеидальной формы 20 на глубину, не достигающую 20 мм до верхней поверхности газопровода 1, транспортируя раздельно почву 20 из траншеи 19 и грунт из траншеи 20 для обратной засыпки отремонтированного газопровода 1, разрабатывают два приямка 22 в форме трапеций, у которых внутренние стороны перпендикулярны основанию, до уровня на 1,5 d глубже нижней кромки газопровода и два приямка прямоугольной формы 23 глубиной 1,0 d (этап 2);
– устанавливают правый 24 и левый 25 рабочие органы, например, закрепленные на навесном оборудовании тягача (см. М.И.Гальперин, Н.Г.Домбровский. Строительные машины. – М.: Высшая школа, 1980, стр.218-219) параллельно газопроводу 1 в оба приямка 22 до уровня на 50 мм глубже нижней кромки газопровода 1, включают роторные рабочие органы 24, 25 и устанавливают их в рабочее состояние перпендикулярно газопроводу 1, разрабатывая грунт под газопроводом 26, за исключением участка грунта 27, с поворотом роторных рабочих органов 23, 24 на угол =90 град. с помощью правой 28 и левой 29 поворотных штанг, удаляют грунт из-под газопровода 26 роторными рабочими органами 24, 25 в два приямка 23 (этап 3);
– очищают поверхность стального газопровода 1 от остатков земли и дефектного покрытия методом отслаивания. Для этого охлаждают дефектную изоляцию струей испаряемого жидкого азота до температуры -152°С, размещают вокруг отслаиваемого участка изоляции стального газопровода 1 индуктор (не показан). Создают градиент температур и напряжений между дефектным участком изоляции 3 и стальным газопроводом 1 импульсным электрическим полем напряженностью 10 кВ, проводят финишную зачистку наружной поверхности газопровода 1 с отсосом пыли непосредственно перед нанесением на нее адгезионной мастики;
– нагревают очищенный газопровод 1 до температуры 100°С продуктами сгорания природного газа, который подается в горелочные устройства из сосудов под давлением (не показаны);
– на очищенную наружную поверхность трубы газопровода 1 наносят последовательно слои адгезионной композиции 2, композиции полиэтилена высокого давления 3, затем на изоляционное покрытие приклеивают с помощью адгезионной композиции 2 металлическое покрытие из алюминиевого сплава 4, покрывающего снаружи изоляцию трубы 3 и стыки между стальными трубами, наружный слой термостабилизированной композиции полиэтилена высокого давления 5, концы металлической ленты 6 выводят в местах между стыками стальной трубы (этап 4);
– засыпают отремонтированный газопровод 1 грунтом 29 до середины трубы 1 (этап 5) с послойным уплотнением механическими уплотнителями грунта 30 в приямках 31 и грунта под газопроводом 29 (этап 6); после уплотнения грунта 31, 29 до первоначальной плотности газопровод 1 засыпают последовательно грунтом 32 и почвой 20 (этап 7);
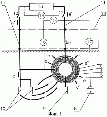
– после монтажа газопровода к стальному газопроводу приваривают токоотвод 7, концы ленты 6 из алюминиевого сплава и токоотвод 7 электрически соединяют проводниками 11 через блок коммутации и измерения параметров защиты 18 с системой катодной защиты, включающей катодно-поляризуемый стальной газопровод 1, внешний источник энергии 13. блок измерения и регулировки защитного потенциала 14, глубинные катодное 9 и анодное 10 заземления, датчик поляризационного потенциала 17, датчик напряженности электростатического поля 16 и датчик скорости коррозии 15, блоки измерения и обработки информации, логики, телеизмерения и телерегулирования (не показаны).
После ремонта в газопроводе 1 повышают давление до магистрального, проводят повторное обследование газопровода 1 с регистрацией его физических параметров (емкость, напряженность электростатического поля наведенных электрических зарядов между диэлектрическими изолированными друг от друга газопроводом и алюминиевым металлическим покрытием, плотность тока катодной поляризации газопровода) в системе катодной защиты.
При перекачке по газопроводу диэлектрических газопродуктов стенка трубы 1 заряжается отрицательным электрическим зарядом, а металлическое покрытие из алюминиевого сплава 4 – положительным электрическим зарядом. Конструкция газопровода электрически представляет собой систему параллельно соединенных между собой (через блок коммутации и измерения 18) конденсаторов. Электрическая емкость каждой трубы и емкость газопровода зависят пропорционально от диэлектрической проницаемости изоляционного покрытия 3, расположенного между трубой 1 и металлическим покрытием 4, т.е. от состояния изоляции.
При сохранении изоляции электрическая энергия накапливается в обкладках трубы (конденсаторе) и используется для передачи информации о состоянии защиты участков трубопровода. При отключенном внешнем источнике энергии 13 (с помощью спаренного переключателя 12) защита обеспечивается от внутреннего источника энергии током плотностью 0,001 до 0,007 мкА/кв.м. При локальных повреждениях газопровода и в неагрессивных средах размещения плотность тока, необходимая для поляризации стали до минимального защитного потенциала (0,85 В), обеспечивается от внутреннего источника энергии за счет электрической энергии. накопленной в газопроводе током плотностью до 16,5 мА/кв.м. Защита от внешнего источника энергии осуществляется только при недостаточности тока от внутреннего источника энергии. В этом случае (с помощью спаренного переключателя 12) подключают внешний источник энергии 13 и катодную поляризацию газопровода осуществляют током плотностью от 16,5 до 1614 мА/кв.м. Верхний предел обусловлен агрессивной максимальной средой размещения (загрязненная вода устья) при оголенном стальном трубопроводе (см. Защита металлических сооружений от подземной коррозии. – М.: Недра, 1981 г.).
Положительные результаты испытаний подтвердили эффективность и широкие возможности практического использования заявляемого способа в будущем.
Изложенное свидетельствует, что изобретение соответствует критерию «промышленная применимость».
Источники информации
1. Патент RU №2190799 от 28.08.2001.
2. Патенты RU №96119556 от 30.09.1996; №98116075 от 17.08.1998.
3. Авторское свидетельство SU №1313008, 1984.
4. Патент RU №2237748 от 26.11.2003.
5. Патент RU №2053432 от 27.01.1996 (прототип).
Формула изобретения
1. Способ ремонта протяженных стальных газопроводов, имеющих комплексную защиту от коррозии, включающий восстановление дефектных участков газопровода с нанесением изоляционных защитных покрытий и соединение с системой катодной защиты, отличающийся тем, что предварительно отключают дефектный участок газопровода от магистрального газопровода, освобождают дефектный участок от природного газа, сжимают освобождаемый природный газ и заполняют им сосуды под давлением, очищают поверхность газопровода от остатков земли и дефектного покрытия методом отслаивания – путем создания градиента температур и напряжений между дефектным покрытием и газопроводом, проводят финишную зачистку наружной поверхности газопровода с отсосом пыли, нагревают газопровод до температуры от 70 до 175°С, последовательно наносят слои адгезионной композиции, диэлектрического изоляционного покрытия с перекрытием стыков между стальными трубами газопровода и слоя спиралеобразного покрытия из металла с потенциалом более отрицательным, чем потенциал защищаемого газопровода, при этом металлическое покрытие наносят в виде ленты или фольги, концы которых выводят на расстояние (0,01÷1)d, где d – диаметр трубы, затем на металлическое покрытие наносят изоляционное пластмассовое покрытие, а после монтажа газопровода в местах стыков стальных труб концы ленты или фольги по всей длине газопровода электрически соединяют через блоки коммутации и измерения параметров защиты с системой катодной защиты.
2. Способ по п.1, отличающийся тем, что для отслаивания дефектного покрытия от стального трубопровода проводят охлаждение дефектной изоляции струей испаренного жидкого азота или/и углекислого газа, градиент температур и напряжений между дефектным участком изоляции и стальным трубопроводом создают импульсным электрическим полем напряженностью от 5 до 50 кВ, нагрев очищенного трубопровода проводят продуктами сгорания природного газа, который подается в горелочные устройства из сосудов под давлением.
3. Способ по п.2, отличающийся тем, что охлаждение дефектной изоляции проводят до температуры от -90 до -152°С, импульсное электрическое поле создают индуктором, размещенным вокруг отслаиваемого участка изоляции стального трубопровода.
РИСУНКИ
|
|