|
|
(21), (22) Заявка: 2004128262/02, 22.09.2004
(24) Дата начала отсчета срока действия патента:
22.09.2004
(45) Опубликовано: 10.04.2006
(56) Список документов, цитированных в отчете о поиске:
SU 381275 A1, 27.02.2000. RU 2220215 C1, 27.12.2003. RU 2219268 С1, 20.12.2003. ЕР 0097135 A1, 28.12.1983. ЕР 0064966 А1, 17.11.1982. US 5098471, 24.03.1992.
Адрес для переписки:
618421, Пермская обл., г. Березники, ул.Загородная, 29, “АВИСМА”филиал, техническому директору И.А.Сизикову
|
(72) Автор(ы):
Путин Анатолий Агафонович (RU), Путина Ольга Алексеевна (RU), Гулякин Александр Илларионович (RU), Рымкевич Дмитрий Анатольевич (RU), Чутков Алексей Петрович (RU), Танкеев Алексей Борисович (RU)
(73) Патентообладатель(и):
Открытое Акционерное Общество “Корпорация ВСМПО -АВИСМА” (RU)
|
(54) СПОСОБ ВАКУУМНОЙ СЕПАРАЦИИ ГУБЧАТОГО ТИТАНА И УСТРОЙСТВО ДЛЯ ЕГО ОСУЩЕСТВЛЕНИЯ
(57) Реферат:
Изобретение относится к цветной металлургии, в частности к получению губчатого титана магниетермическим восстановлением тетрахлорида титана, а именно к очистке от магния и его хлорида вакуумной сепарацией. Технический результат заключается в повышении производительности способа и устройства, в снижении образования пара и выбросов его в цехе. Способ включает нагрев реакционной массы, создание вакуума в аппарате, возгонку паров магния и хлорида магния и их конденсацию в реторте-конденсаторе, охлаждение реторты-конденсатора путем подачи воды. При этом сначала реторту-конденсатор охлаждают водой, пропускаемой через нижний патрубок водоохлаждаемой рубашки кессона с расходом 1-2 т/м2ч, а при достижении температуры нагрева свыше 950°С подачу воды к водоохлаждаемой рубашке осуществляют через дополнительный патрубок с увеличением расхода до 5-10 т/м2ч и воду подают через отверстия водоохлаждаемой рубашки на поверхность реторты-конденсатора. На завершающей стадии отгонки подачу воды через отверстия водоохлаждаемой рубашки прекращают и воду снова подают с расходом 1-2 т/м2ч. Кроме того, отвод воды осуществляют через верхний патрубок водохлаждаемой рубашки и через патрубок, размещенный на кессоне. Для осуществления способа предложено устройство для вакуумной сепарации губчатого титана, включающее реторту-реактор с донным патрубком и ложным днищем, закрытую крышкой с центральным патрубком и легкоплавкой заглушкой, вакуумотвод, реторту-конденсатор с донным патрубком, ложным днищем, кессон с водоохлаждаемой рубашкой и патрубками для подачи и отвода воды, распределитель воды, тепловой экран. Новым является то, что внутренняя поверхность водоохлаждаемой рубашки выполнена с отверстиями, расположенными на уровне донного патрубка реторты-конденсатора, при этом она снабжена дополнительным верхним патрубком для дополнительной подачи воды, размещенным под отверстиями водоохлаждаемой рубашки кессона. Водоохлаждаемая рубашка выполнена сверху сплошной и ее высота равна 2/3-3/4 высоты кессона. 2 н. и 1 з.п. ф-лы, 1 ил. 
Изобретение относится к цветной металлургии, в частности к получению губчатого титана магниетермическим восстановлением тетрахлорида титана, а именно к очистке от магния и его хлорида вакуумной сепарацией.
Известны способ вакуумной сепарации губчатого титана и устройство для его осуществления (а.с.СССР №443599, опубл. 10.02.2000, бюл.4). Способ вакуумной сепарации включает нагрев реакционной массы, содержащей губчатый титан, магний и хлорид магния, возгонку паров магния и его хлорида и конденсацию их в реторте-конденсаторе, охлаждение реторты-конденсатора водой, подаваемой через распределитель на реторту-конденсатор и охлаждение паров воды с помощью кессона с водоохлаждаемой рубашкой. Слив сконденсированной воды снизу через желоб и отвод воды из системы охлаждения. Вода в водоохлаждаемую рубашку и в распределитель воды подается одновременно. Это позволяет интенсифицировать процесс и сократить расход воды.
Устройство для осуществления способа состоит из реторты-реактора с крышкой с центральным патрубком, с донным патрубком и ложным днищем, теплового экрана, реторты-конденсатора с донным патрубком, ложным днищем, вакуумотводом, кессона с распределителем воды, причем в верхней части кессон выполнен в виде водоохлаждаемой рубашки.
Недостатком данного способа и устройства является пониженная производительность в результате неэффективности системы охлаждения реторты-конденсатора, а также повышенное выделение водяных паров в помещение промышленного цеха, что приводит к разрушению металлических и железобетонных конструкций здания.
Известны способ и устройство для вакуумной сепарации губчатого титана (пат. РФ №2220215, опубл.27.12.2003, бюл.36). Способ вакуумной сепарации включает нагрев реакционной массы (губчатый титан, магний и его хлорид), возгонку в вакууме и конденсацию паров магния и его хлорида в реторте-конденсаторе, охлаждение реторты-конденсатора водой, подаваемой через отбойники на внутреннюю стенку кессона. Охлаждение реторты-конденсатора осуществляют одновременно водой и воздухом при постоянном перепаде температуры воды на входе и выходе, при этом воду подают сверху вниз на внутреннюю поверхность кессона, а воздух снизу вверх в пространство между наружной стенкой реторты-конденсатора и внутренней стенкой кессона.
Устройство для осуществления способа состоит из реторты-реактора с крышкой с центральным патрубком, с донным патрубком и ложным днищем, теплового экрана, реторты-конденсатора с донным патрубком, ложным днищем, вакуумотводом, кессона, на котором на уровне сферического дна реторты-конденсатора размещен разбрызгиватель в виде форсунки отбойного типа, выполненной в виде трубы с отбойником. Это позволяет повысить срок службы аппарата сепарации и улучшить условия труда.
Недостатком данного способа и устройства является сложность конструкции и низкий срок службы отбойников. Это увеличивает затраты на изготовление и ремонт.
Известны способ и устройство для вакуумной сепарации губчатого титана (а.с. СССР №1412336, опубл. 10.07.2000, бюл.19). Способ вакуумной сепарации включает нагрев реакционной массы (губчатый титан, магний и его хлорид), возгонку в вакууме и конденсацию паров магния и его хлорида в реторте-конденсаторе. Охлаждение реторты-конденсатора заключается в постоянной подаче воды непосредственно на реторту-конденсатор в течение разогрева реторты-реактора и бурной возгонки паров магния и его хлорида.
Устройство для вакуумной сепарации губчатого титана включает реторту-реактор с донным патрубком, ложным днищем и крышкой с вакуумотводом, реторты-конденсатора с донным патрубком, ложным днищем, закрытый кессон с распределителем воды, патрубком для слива воды, и с люком для прохода воздуха через кессон.
Недостатком этого способа вакуумной сепарации губчатого титана и устройства для его осуществления является их низкая производительность. Во время разогрева устройства и охлаждения реторты-конденсатора воздухом (массовая конденсация паров магния и его хлорида) конденсатом зарастают монтажные зазоры между тепловым экраном и ретортой-конденсатором, что затрудняет демонтаж устройства и тем самым снижается производительность устройства. Кроме того, вода подается на дно реторты-конденсатора, поэтому исключается интенсивное охлаждение цилиндрической стенки реторты-конденсатора, снижается интенсивность конденсации паров магния и его хлорида, снижается производительность способа и устройства.
Известны способ вакуумной сепарации губчатого титана и устройство для его осуществления (а.с. СССР №381275, опубл.27.02.2000, бюл.6), по количеству общих признаков принятые за ближайший аналог-прототип. Способ включает нагрев реакционной массы, возгонку магния и его хлорида в вакууме, конденсацию их в реторте-конденсаторе, охлаждение реторты-конденсатора водой, причем сначала воду подают в секции водоохлаждаемой рубашки кессона, затем при достижении в печи температуры 900-980°С подачу воды в кессон прекращают и воду подают через распределитель на поверхность реторты-конденсатора в течение 10-20 час, затем воду подают снова в секции кессона. Слив воды осуществляют снизу кессона. Это позволяет исключить осаждение конденсатора в вакуумной системе и в паропроводе теплового экрана.
Устройство для вакуумной сепарации по прототипу включает реторту-реактор с донным патрубком и ложным днищем, закрытую крышкой с центральным парубком и легкоплавкой заглушкой, вакуумотвод, реторту-конденсатор с донным патрубком, ложным днищем, кессон с водоохлаждаемой рубашкой и патрубками для подачи и отвода воды, распределитель воды, тепловой экран. Кессон выполнен в виде охлаждаемых секций и в верхней части снабжен кольцевым разбрызгивателем
Недостатками данных способа и устройства являются то, что выполнение кессона в виде секций не позволяет интенсивно охлаждать реторту-конденсатор и между секциями пары магния и хлорида магния не конденсируются, стекают по стенке кессона на тепловой экран, вызывая аварийную ситуацию. Кроме того, размещение секции кессона с водоохлаждаемой рубашкой в зоне теплового экрана приводит к конденсации на нем паров магния и хлорида магния, что значительно снижает производительность устройства. Кроме того, охлаждение аппарата приводит к образованию водяных паров, которые выбрасываются в атмосферу цеха.
Технический результат направлен на устранение недостатков прототипа и заключается в повышении производительности способа и устройства, в снижении образования пара и выбросов его в цехе.
Технический результат достигается тем, что предложен способ вакуумной сепарации губчатого титана, включающий нагрев реакционной массы, создание вакуума в аппарате, возгонку паров магния и хлорида магния и их конденсацию в реторте-конденсаторе, охлаждение реторты-конденсатора путем подачи воды в водоохлаждаемую рубашку кессона, новым является то, что до нагрева реакционной массы до температуры 950°С подачу воды осуществляют через нижний патрубок водоохлаждаемой рубашки кессона с расходом 1-2 т/м2ч, затем при достижении температуры нагрева свыше 950°С осуществляют дополнительную подачу воды через верхний дополнительный патрубок с
увеличением расхода до 5-10 т/м2ч и воду подают через отверстия водоохлаждаемой рубашки на поверхность реторты-конденсатора, а на завершающей стадии возгонки подачу воды через отверстия водоохлаждаемой рубашки прекращают и воду снова подают с расходом 1-2 т/м2ч.
Кроме того, отвод воды осуществляют через верхний дополнительный патрубок водоохлаждаемой рубашки и через патрубок, размещенный на кессоне.
Для осуществления способа предложено устройство для вакуумной сепарации губчатого титана, включающее реторту-реактор с донным патрубком и ложным днищем, закрытую крышкой с центральным парубком и легкоплавкой заглушкой, вакуумотвод, реторту-конденсатор с донным патрубком, ложным днищем, кессон с водоохлаждаемой рубашкой и патрубками для подачи и отвода воды, распределитель воды, тепловой экран новым является то, что внутренняя поверхность водоохлаждаемой рубашки выполнена с отверстиями, расположенными на уровне донного патрубка реторты-конденсатора, водоохлаждаемая рубашка снабжена дополнительным верхним патрубком, размещенным под отверстиями водоохлаждаемой рубашки кессона, при этом она выполнена сверху сплошной и ее высота равна 2/3-3/4 высоты кессона.
Отличительные признаки способа и устройства получения губчатого титана позволяют повысить производительность реторты-конденсатора и аппарата вакуумной сепарации в целом в ходе процесса, а также снизить трудозатраты при демонтаже устройства, т.е. способствуют повышению его производительности.
Выполнение кессона с водоохлаждаемой рубашкой определенной высоты позволяет охлаждать стенку реторты-конденсатора, на которую осаждается основная масса паров магния и его хлорида в период интенсивной возгонки, что позволяет улучшить условия конденсации паров и тем самым повысить производительность устройства. Определение количества дополнительно подаваемой воды 5-10 т/м2ч на реторту-конденсатор улучшает условия конденсации паров магния и его хлорида, что способствует повышению производительности способа.
Отсутствие наростов конденсатного магния в монтажном зазоре между тепловым экраном и ретортой-конденсатором позволяет быстро демонтировать аппарат вакуумной сепарации, что повышает производительность устройства. Следовательно, все признаки изобретения способствуют повышению производительности способа и устройства для получения губчатого титана.
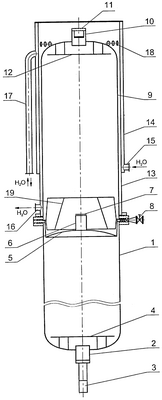
Устройство для получения губчатого титана показано на фиг.1. Устройство состоит из реторты-реактора 1 с донным патрубком 2, заглушкой 3, ложным днищем 4, закрытой крышкой 5 с центральным патрубком 6, легкоплавкой заглушкой 7 и боковым вакуумотводом 8, реторты-конденсатора 9 с донным патрубком 10, заглушкой 11 и ложным днищем 12, кессона 13 с водоохлаждаемой рубашкой 14 с нижним патрубком 15 для подвода воды и верхним патрубком 16 для отвода воды, дополнительным патрубком 17 для подвода и отвода воды, отверстий 18, теплового экрана 19.
Данное устройство работает следующим образом. В реторте-реакторе 1, герметизированной крышкой 5, получают реакционную массу губчатого титана, состоящую из 60% титана, 30% магния и 10% хлорида магния, которая размещается на ложном днище 4. К донному патрубку 2 приваривают заглушку 3. На центральный патрубок 6 крышки 5 устанавливают легкоплавкую заглушку 7, закрывают вакуумотвод 8.
На крышке 5 реторты-реактора 1 размещают тепловой экран 19 и реторту-конденсатор 9 с ложным днищем 12 и донным патрубком 10 с заглушкой 11. На реторту-конденсатор 9 устанавливают кессон 13 с водоохлаждаемой рубашкой 14, высота которой составляет 2/3- 3/4 высоты кессона, и на внутренней поверхности водоохлаждаемой рубашки 14 на уровне донного патрубка 10 реторты-конденсатора 9 выполнены отверстия 18. После монтажа устройства для получения губчатого титана (аппарат вакуумной сепарации) его устанавливают в вакуумную электропечь. Боковой вакуумотвод 8 подсоединяют к вакуумной системе и вакуумируют устройство. В водоохлаждаемую рубашку 14 кессона 13 через нижний патрубок 15 до нагрева реакционной массы до температуры 950°С подают воду с расходом 1,0 т/м2ч. Подача воды в водоохлаждаемую рубашку 14 кессона 13 в период разогрева реторты-реактора 1 с расходом 1,0-2,0 т/м2ч не создает переохлаждение теплового экрана 19 и монтажных зазоров между ним и ретортой-конденсатором. Все это способствует ускоренному расплавлению легкоплавкой заглушки 7 и подготовки стенки реторты-конденсатора 9 к осаждению на ней паров магния и его хлорида, что способствует повышению производительности способа и устройства для получения губчатого титана. Затем под воздействием паров магния и хлорида магния легкоплавкая заглушка 7 плавится и начинается процесс возгонки магния и его хлорида из губчатого титана. Происходит интенсивный унос паров магния и его хлорида из реторты-реактора 1 в реторту-конденсатор 9. При достижении температуры 950°С через верхний дополнительный патрубок 17 начинают подавать воду с расходом 5-10 т/м2ч непосредственно на цилиндрическую поверхность реторты-конденсатора 9 через отверстия 18. При таком охлаждении реторты-конденсатора 9 происходит интенсивная конденсация паров магния и его хлорида, что ускоряет процесс очистки губчатого титана от магния и хлорида магния, повышая производительность способа и устройства. Отвод воды осуществляют через патрубок 16, а затем после прекращения подачи воды через патрубок 17 вода стекает также и через этот патрубок. За период интенсивной возгонки из губчатого титана удаляется до 80% продуктов перегонки. Затем воду подают в водоохлаждаемую рубашку 14 кессона 13 с расходом 1,0-2,0 т/м2ч. Такого охлаждения вполне достаточно, чтобы сконденсировать остатки магния и его хлорида только на внутренней поверхности реторты-конденсатора 9, не допуская их конденсации на поверхности экрана 19 и в монтажных зазорах. Это сокращает длительность демонтажа устройства и тем самым повышает его производительность.
В результате выбранный режим охлаждения реторты-конденсатора и устройство для осуществления этого режима позволяют сократить длительность процесса сепарации на 7-10%, т.е. повысить производительность способа и устройства для получения губчатого титана.
Формула изобретения
1. Способ вакуумной сепарации губчатого титана, включающий нагрев реакционной массы, создание вакуума в аппарате, возгонку паров магния и хлорида магния и их конденсацию в реторте-конденсаторе, охлаждение реторты-конденсатора путем подачи воды в водоохлаждаемую рубашку кессона, отличающийся тем, что до нагрева реакционной массы до температуры 950°С подачу воды осуществляют через нижний патрубок водоохлаждаемой рубашки кессона с расходом 1-2 т/м2ч, затем при достижении температуры нагрева свыше 950°С осуществляют дополнительную подачу воды через верхний дополнительный патрубок с увеличением расхода до 5-10 т/м2ч и воду подают через отверстия водоохлаждаемой рубашки на поверхность реторты-конденсатора, а на завершающей стадии возгонки подачу воды через отверстия водоохлаждаемой рубашки прекращают и воду снова подают с расходом 1-2 т/м2ч.
2. Способ по п. 1, отличающийся тем, что отвод воды осуществляют через верхний дополнительный патрубок водоохлаждаемой рубашки и через патрубок, размещенный на кессоне.
3. Устройство для вакуумной сепарации губчатого титана, включающее реторту-реактор с донным патрубком и ложным днищем, закрытую крышкой с центральным патрубком и легкоплавкой заглушкой, вакуумотвод, реторту-конденсатор с донным патрубком, ложным днищем, кессон с водоохлаждаемой рубашкой и патрубками для подачи и отвода воды, распределитель воды, тепловой экран, отличающееся тем, что внутренняя поверхность водоохлаждаемой рубашки выполнена с отверстиями, расположенными на уровне донного патрубка реторты-конденсатора, водоохлаждаемая рубашка снабжена дополнительным верхним патрубком, размещенным под отверстиями водоохлаждаемой рубашки кессона, при этом она выполнена сверху сплошной и ее высота равна 2/3-3/4 высоты кессона.
РИСУНКИ
|
|