|
(21), (22) Заявка: 2004128842/02, 29.09.2004
(24) Дата начала отсчета срока действия патента:
29.09.2004
(45) Опубликовано: 10.04.2006
(56) Список документов, цитированных в отчете о поиске:
RU 2162111 С2, 20.01.2001. SU 1539215 A1, 30.01.1990. RU 2194773 C1, 20.12.2002.
Адрес для переписки:
241037, г.Брянск, пр-кт Станке-Димитрова, 3, ГОУВПО БГИТА
|
(72) Автор(ы):
Пыриков Павел Геннадьевич (RU)
(73) Патентообладатель(и):
Государственное образовательное учреждение высшего профессионального образования Брянская государственная инженерно-технологическая академия (RU)
|
(54) СПОСОБ УПРОЧНЯЮЩЕЙ ОБРАБОТКИ МЕТАЛЛОВ
(57) Реферат:
Изобретение относится к области машиностроения и может быть использовано для поверхностного упрочнения металлов при обработке источниками с высокой концентрацией энергии. Техническим результатом изобретения является увеличение глубины упрочнения в подповерхностных слоях. Сущность изобретения: генерируемые в металле волны от лазерного излучения и дополнительного электромагнитного источника вводятся в резонанс, при этом в обрабатываемом металле индуцируется магнитное поле напряженностью, обеспечивающей реализацию эффекта магнитопластичности. 1 з.п. ф-лы, 2 ил., 1 табл. 
Изобретение относится к машиностроению и может быть использовано для поверхностного упрочнения металлов при обработке источниками с высокой концентрацией энергии.
Известен способ упрочнения металлов вследствие теплового действия тока, индуктируемого в изделии, помещенном в переменное магнитное поле [1].
Недостатками его следует считать сложность локализации эффекта упрочнения в обрабатываемом металле и относительно высокую энергоемкость процесса.
Известен способ лазерной обработки металлов в магнитном поле [2], включающий нагрев зоны упрочнения источником с локальной концентрацией энергии при воздействии управляемым магнитным полем.
Недостатком его следует считать ограниченную глубину упрочнения. Задача изобретения – обеспечить формирование областей упрочнения в подповерхностных слоях металла.
Технический результат – увеличение глубины упрочнения.
Это достигается тем, что в способе упрочняющей обработки металлов воздействием на поверхность управляемыми лазерным и электромагнитным излучениями, генерирующими в металле волновые процессы, при воздействии на обрабатываемый участок поверхности визуализируют и аналитически обрабатывают частотные параметры волновых процессов источников излучения и корректируют их до введения волновых процессов в микрообъеме обрабатываемого металла в резонанс. При этом в обрабатываемом металле индуцируют магнитное поле напряженностью, обеспечивающей реализацию эффекта магнитопластичности.
Известно, что изменение свойств металлов в ответ на внешнее воздействие магнитным или электромагнитным (тепловым) полями, в частности, при передаче энергии от источника лазерного излучения, зависит от частоты (интенсивности излучения) этих полей; при этом характерно образование в металле волн с новыми частотами, являющихся результатом взаимодействия волн исходных.
Известно, что при частотах электромагнитного излучения, близких к собственным частотам вещества, происходит его резонансное поглощение веществом. При лазерном воздействии резонанс способствует повышению интенсивности излучения и стимулирует эффект термического упрочнения.
Явление резонанса, кроме того, может являться следствием интерференционных процессов в металле при сложении когерентных волн от двух разных источников, например от лазерного луча и электромагнитного индуктора. Причем колебательные процессы, генерируемые этими двумя источниками, устанавливаются таким образом, чтобы в пределах определенного микрообъема упрочнения, фазы обеих волн совпадали; в других микрообъемах обрабатываемого металла волны находятся в противофазе, вследствие чего интенсивность результирующей волны равна нулю и эффект ослабевает или отсутствует. Управление положением области резонанса позволяет получить условия для упрочнения микрообъемов металлов в подповерхностных слоях или обеспечить традиционные условия упрочнения в более широком спектре технологических режимов.
Создать условия для реализации заявляемого способа представляется возможным на основе управления величинами групповой и фазовой скоростей волн в металле с учетом дисперсии вещества dn/d , знак которой, в частности, определяет направление вектора перемещения резонансной области относительно обрабатываемой поверхности:
dn/d <>0,
где n – показатель преломления волн в металле,
– длина волны, м.
Известно также, что длина волны связана с частотой у волны соотношением вида =С/ , где С – скорость света; а показатель преломления n, в свою очередь, зависит от фазовой скорости волны : n=С/ , а также имеет функциональную связь с длиной волны n=f( ) и определен в качестве константы (для металлов 1.5). При этом фазовая скорость =С/n, а групповая скорость u= – dn/d .
Таким образом, последовательно изменяя и находя производную n, представляется возможным управлять фазовой и групповой скоростями волн, генерируемых лазером и внешним электромагнитным источником, формируя градиент дисперсии dn/d металла, характеризующей положение резонансной области.
Суть упрочнения состоит в том, что понятие “плотность потока энергии”, переносимая волной, характеризует интенсивность волны. Следовательно, интенсивность тепловых потоков в металле, создающаяся волновыми процессами (колебаниями) в случае наложения двух встречных волн с одинаковой амплитудой (от лазерного луча и электромагнитного индуктора), усиливается. Это создает дополнительные предпосылки для упрочнения на предельных режимах обработки (при температуре сублимации) и предполагает возможность уменьшения величины плотности подводимой энергии лазерного луча.
Эффект упрочнения, кроме того, стимулирован магнитопластическим эффектом, заключающимся в том, что частоту электромагнитного излучения, генерируемую от постороннего источника (электромагнита), устанавливают меньше частоты колебаний плотности свободных электронов в металле (3×1015 с-1). При этом вся поглощенная электронами энергия поля переходит в теплоту, что способствует уплотнению металла в области упрочнения.
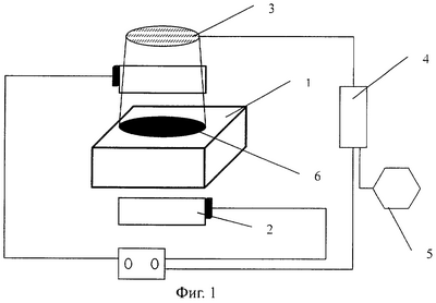
На фиг.1 показана схема упрочнения, на фиг.2 – момент образования резонансной области при интерференции генерируемых волн.
Способ реализуют следующим образом. Объект упрочнения 1 помещают в электромагнитный индуктор 2. Последний связан с источником лазерного излучения 3 через модулятор 4. Визуализацию и аналитическую обработку волновых процессов обеспечивают осциллографом 5. На модуляторе корректируют частотные характеристики электромагнитного индуктора 2 с частотными параметрами источника лазерного излучения 3 и устанавливают момент резонанса генерируемых волн относительно поверхности объекта упрочнения 1 при постоянстве режимов упрочнения. Инициализацию положения резонансной области проводят по оценке величины микротвердости по глубине на поперечном шлифе металла.
На фиг.2 показана область упрочнения 6, полученная от резонанса двух волн 7 и 8: от электромагнитного индуктора 2 и лазерного луча 3 с одинаковыми начальными амплитудами и разными длинами. Область резонанса 9 отображена на глубине t от поверхности объекта упрочнения 1.
Пример. Проводят импульсное лазерное воздействие 3 на поверхность образца 1 из углеродистой стали У10А, помещенного в индуктор 2, на следующих режимах: Е, Дж/мм2 1.8; d, мм 2.5; f, Гц 1.0. Источником внешних электромагнитных колебаний служит машинный генератор (не показан) переменного тока с диапазоном рабочих частот 0.2-400 Гц. При этом предполагают, что волны от лазерного луча и электромагнитного источника оказываются однонаправленными, а направление их распространения обеспечивается перпендикулярно поверхности упрочнения. Согласование частотных параметров двух волновых процессов от разных источников, соответствующее появлению резонансной области 9, в металле устанавливают эмпирически по оценке величины микротвердости в пределах локальной области зоны упрочнения по глубине на поперечном шлифе металла. Например, меняют частоту колебаний от машинного генератора в диапазоне 0.2 до 100 Гц при постоянстве частоты импульса лазерного луча 1.0 Гц. При этом последовательно пересчитывают величину и определяют dn/d . В силу изменившейся , dn/d становится отрицательным и возрастает по модулю, а групповая скорость волн оказывается меньше фазовой dn/d <0. На это указывает направленное перемещение резонансной области (области с повышенной микротвердостью), в которой фазы обеих волн совпадают, в направлении поверхности. Причем возрастание величины микротвердости в резонансной области составило 27%.
Аналогичным образом обеспечивают перемещение резонансной области в глубину (в подповерхностные слои), чем характеризуется превышение групповой скорости волн над фазовой.
Расчет длин и соответствующих скоростей волн в металле выполняют по известным методикам с учетом вышеприведенных формул и констант.
В таблице приведены результаты апробации заявляемого способа.
| Таблица |
| Результаты апробации заявляемого способа |
dn/d |
Расстояние t упрочненной области от поверхности, мкм |
| -0.7 |
450 |
| -0.8 |
380 |
| -0.9 |
270 |
| 0 |
195 |
| 0.1 |
242 |
| 0.2 |
388 |
| 0.3 |
464 |
Источники информации
1. Лахтин Ю.М., Леонтьева В.П. Материаловедение. – М.: Машиностроение, 1990. С.528.
2. Патент РФ №2162111, С 21 D 1/04 от 16.11.1998.
Формула изобретения
1. Способ упрочняющей обработки металлов воздействием на поверхность управляемыми лазерным и электромагнитным излучениями, генерирующими в металле волновые процессы, отличающийся тем, что при воздействии на обрабатываемый участок поверхности визуализируют и аналитически обрабатывают частотные параметры волновых процессов источников излучения и корректируют их до введения волновых процессов в микрообъеме обрабатываемого металла в резонанс.
2. Способ по п.1, отличающийся тем, что в обрабатываемом металле индуцируют магнитное поле напряженностью, обеспечивающей реализацию эффекта магнитопластичности.
РИСУНКИ
MM4A – Досрочное прекращение действия патента СССР или патента Российской Федерации на изобретение из-за неуплаты в установленный срок пошлины за поддержание патента в силе
Дата прекращения действия патента: 30.09.2006
Извещение опубликовано: 20.05.2008 БИ: 14/2008
|