|
(21), (22) Заявка: 2004123295/13, 29.07.2004
(24) Дата начала отсчета срока действия патента:
29.07.2004
(45) Опубликовано: 10.04.2006
(56) Список документов, цитированных в отчете о поиске:
RU 2155151 C2, 27.08.2000. US 4735810 A, 05.04.1988. US 2483985 A, 04.10.1949. GB 2100170 A, 22.12.1982.
Адрес для переписки:
124482, Москва, г. Зеленоград, а/я 48, пат.пов.Андреевой М.Ю., рег.№ 822
|
(72) Автор(ы):
Подольский Дмитрий Львович (RU)
(73) Патентообладатель(и):
ООО “МСиА” (RU)
|
(54) СПОСОБ ФОРМИРОВАНИЯ ИЗОБРАЖЕНИЯ НА ПАКЕТИКЕ ДЛЯ ПРИГОТОВЛЕНИЯ НАПИТКОВ
(57) Реферат:
Изобретение относится к способам маркировки пакетиков для приготовления напитков при их заваривания. Изобретение может быть использовано при функционировании устройств для выжимания пакетиков для приготовления чая или кофе как в местах общественного питания, в частности в ресторанах и кафе, а также в домашнем хозяйстве. Способ формирования изображения на пакетике для приготовления напитков включает следующие операции: размещение предварительно заваренного пакетика для приготовления напитков между двумя противолежащими рабочими поверхностями устройства для выжимания, по меньшей мере, одна из которых снабжена изображением, образованным совокупностью выступов над рабочей поверхностью и/или углублениями в рабочей поверхности, и надавливание рабочих поверхностей на поверхность пакетика до получения отпечатка изображения, по меньшей мере, на одной из поверхностей пакетика с одновременным удалением жидкости из пакетика. Изобретение позволяет обеспечить создание изображения на пакетиках для приготовления напитков без использования наружной упаковки безопасным путем. 3 з.п. ф-лы, 4 ил. 
Изобретение относится к способам маркировки пакетиков для приготовления напитков при их заваривания. Изобретение может быть использовано при функционировании устройств для выжимания пакетиков для приготовления чая или кофе как в местах общественного питания, в частности в ресторанах и кафе, а также в домашнем хозяйстве.
Общеизвестны способы маркировки пакетиков для приготовления напитков, в частности чая, путем прикрепления ярлыка с надписью или изображением к одному концу нити, другой конец которой крепиться к самому пакетику. При этом само изображение маркировки наносится на прикрепляемый носитель (ярлык).
Известен способ маркировки пакетиков для приготовления напитков, включающий размещение предварительно заваренного пакетика для приготовления напитков между двумя противолежащими рабочими поверхностями устройства для выжимания, по меньшей мере, одна из которых снабжена изображением, надавливание рабочих поверхностей на поверхность пакетика с одновременным удалением жидкости из пакетика. При этом рисунок маркировки размещен на внешней стороне устройства для выжимания. Таким образом, после отжимания пакетика для приготовления напитков, отжатый пакет снабжен дополнительной упаковкой с маркировкой. [Патент US №4735810, НКИ 426-80, опубл. 1988 г.].
Получению требуемого технического результата препятствуют ограниченные функциональные возможности способа для многократного применения.
Известен способ маркировки изделия, согласно которому изделие первоначально отформованное, но без маркировки, помещают в упаковку, имеющую предварительно образованный рисунок, и вводят указанный рисунок во временное взаимодействие с изделием для получения маркировки (оттиска) на изделии (Патент России №2155151 МПК B 65 D 85/72, опубл. 2000 г.). С существенными признаками заявляемого изобретения совпадают следующие признаки: размещение изделия между двумя противолежащими рабочими поверхностями устройства, одна из которых снабжена изображением, образованным выступами над рабочей поверхностью, надавливание рабочих поверхностей на поверхность изделия до получения отпечатка изображения на одной из поверхностей изделия.
Получению требуемого технического результата препятствуют ограниченные функциональные возможности способа при его использовании для таких изделий как пакетики для приготовления напитков.
Заявляемое изобретение направлено на решение задачи создания безопасного способа формирования изображения на пакетиках для приготовления напитков без использования дополнительной внешней упаковки.
Технический результат, получаемый при реализации изобретения, выражается в функциональном расширении технических возможностей, улучшении характеристик безопасного для здоровья применения способа формирования изображения (маркировки) и в обеспечении возможности многоразового применения способа для одного устройства.
Для достижения вышеуказанного технического результата способ формирования изображения на пакетике для приготовления напитков включает размещение предварительно заваренного пакетика для приготовления напитков между двумя противолежащими рабочими поверхностями устройства для выжимания, по меньшей мере, одна из которых снабжена изображением, образованным выступами над рабочей поверхностью и/или углублениями в рабочей поверхности, надавливание рабочих поверхностей на поверхность пакетика до получения отпечатка изображения, по меньшей мере, на одной из поверхностей пакетика с одновременным удалением жидкости из пакетика.
В частном случае выполнения изобретения пакетик для приготовления напитков выполнен в виде пакетика для приготовления кофе или чая, или горячего шоколада.
В частных случаях выполнения изобретения изображение выполнено в виде рисунка, например рисунка торговой марки, и/или словесного элемента.
От наиболее близкого аналога предлагаемое изобретение отличается следующим. Изобретение применяется только для пакетиков для приготовления напитков, и в способе используют устройство для выжимания пакетиков. Перед размещением пакетика между двумя противолежащими рабочими поверхностями устройства для выжимания его предварительно заваривают. Пакетик для приготовления напитков обычно выполнен из фильтровальной бумаги, через которую проходит вода. Стадия заваривания изменяет свойства как самого пакетика, так и его содержимого. Без указанной стадии при следующих операциях способа оболочка пакетика при надавливании могла бы быть повреждена. В отличие от аналога изображение на рабочей поверхности может быть образовано не только выступами над рабочей поверхностью, а также углублениями в рабочей поверхности. Использование такого выполнения изображения для достижения того же технического результата возможно за счет объема и пластичности пакетика. При надавливании рабочих поверхностей на поверхность пакетика одновременно с получением отпечатка изображения происходит удаление жидкости из пакетика. При этом удаление жидкости является важной операцией, т.к. именно за счет удаления избыточной жидкости из пакетика достигается возможность формирования изображения, т.к. изображение может быть сформировано в устойчивом состоянии только на отжатом пакетике.
В отличие от описанных в уровне технике способов в заявляемом способе отпечаток изображения формируют непосредственно на пакетике за счет использования специального устройства для выжимания, в связи с чем отпадает необходимость контакта пальцев человека с поверхностью, на которую краской нанесено изображение. Предлагаемый способ может быть использован многократно для одного устройства и определенное количество раз для одного пакетика.
Изобретение поясняется чертежами, где
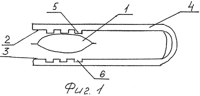
На фиг.1 схематично представлена операция размещения пакетика в устройстве (вид сбоку).
На фиг.2 схематично представлено операция надавливания (вид сбоку).
На фиг.3 схематично представлен выжатый пакетик (вид сбоку).
На фиг.4 схематично представлен пакетик с сформированным изображением.
Изображение формируют на пакетике для приготовления напитков 1. Пакетики для приготовления напитков в настоящее время достаточно широко известны и обычно состоят из небольшого мешка из фильтровальной бумаги, наполненного измельченным продуктом. Известны пакетики для приготовления кофе или чая или горячего шоколада.
Также известны устройства для выжимания пакетиков для приготовления напитков, содержащие два рабочих элемента, внутренние противолежащие поверхности которых являются рабочими поверхностями для выжимания, например патент США №2483985, 1947 г., патент Англии GB 2100170, A 47 G 21/10, 1982 г., патент Германии DE 3208362, A 47 G 31/00, 1983 г.
Способ формирования изображения на пакетике для приготовления напитков включает следующие операции:
– размещение предварительно заваренного пакетика для приготовления напитков 1 между двумя противолежащими рабочими поверхностями 2 и 3 устройства для выжимания 4, по меньшей мере, одна из которых 2 или 3 снабжена изображением, образованным совокупностью выступов 5 над рабочей поверхностью и/или углублениями 6 в рабочей поверхности (фиг.1);
– надавливание рабочих поверхностей 2 и 3 на поверхность пакетика 1 до получения отпечатка 7 изображения, по меньшей мере, на одной из поверхностей пакетика 1 с одновременным удалением жидкости из пакетика (фиг.2).
Удаление жидкости из пакетика может происходить через открытые боковые поверхности пакетика, а также дополнительно через специальные отверстия на рабочих элементах устройства для выжимания.
Устройство для выжимания 4 может быть выполнено в различных вариантах, выступами или углублениями может быть снабжена как одна рабочая поверхность, так и обе поверхности. Причем возможны различные варианты, например обе рабочие поверхности снабжены выступами или обе рабочие поверхности снабжены углублениями. Для получения более четкого отпечатка одна рабочая поверхность может быть снабжена как выступами, так и углублениями.
Изображение может быть выполнено в виде рисунка, например торговой марки, и/или словесного элемента. Изображение также может нести информацию рекламного содержания.
При обычной процедуре чаепития пакетик заливают горячей водой и настаивают. Затем устройством захватывают пакет из кружки с горячим чаем. И сжимая рабочие элементы 2 и 3, выжимают пакетик. Затем выжатый пакетик кладут на поверхность, ослабляя усилие сжатия, при этом на поверхности пакетика остается отпечаток изображения 7 (фиг.3, 4).
Объем правовой охраны изобретения не ограничивается вышеприведенным примером.
Формула изобретения
1. Способ формирования изображения на пакетике для приготовления напитков, включающий размещение предварительно заваренного пакетика для приготовления напитков между двумя противолежащими рабочими поверхностями устройства для выжимания, по меньшей мере, одна из которых снабжена изображением, образованным выступами над рабочей поверхностью и/или углублениями в рабочей поверхности, надавливание рабочих поверхностей на поверхность пакетика до получения отпечатка изображения, по меньшей мере, на одной из поверхностей пакетика с одновременным удалением жидкости из пакетика.
2. Способ формирования изображения на пакетике для приготовления напитков по п.1, отличающийся тем, что пакетик для приготовления напитков выполнен в виде пакетика для приготовления кофе, или чая, или горячего шоколада.
3. Способ формирования изображения на пакетике для приготовления напитков по п.1, отличающийся тем, что изображение выполнено в виде рисунка и/или словесного элемента.
4. Способ формирования изображения на пакетике для приготовления напитков по п.3, отличающийся тем, что рисунок выполнен в виде торговой марки.
РИСУНКИ
MM4A – Досрочное прекращение действия патента СССР или патента Российской Федерации на изобретение из-за неуплаты в установленный срок пошлины за поддержание патента в силе
Дата прекращения действия патента: 30.07.2008
Извещение опубликовано: 10.07.2010 БИ: 19/2010
|