|
(21), (22) Заявка: 2004102674/12, 21.01.2004
(24) Дата начала отсчета срока действия патента:
21.01.2004
(30) Конвенционный приоритет:
24.01.2003 (пп.1-25) CN 03211123.1
(43) Дата публикации заявки: 10.07.2005
(45) Опубликовано: 10.04.2006
(56) Список документов, цитированных в отчете о поиске:
US 5527124 А, 18.06.1996. JP 11-277977 А, 12.10.1999. US 5938361 А, 17.08.1999. US 878004 А, 04.02.1908.
Адрес для переписки:
191186, Санкт-Петербург, а/я 230, “АРС-ПАТЕНТ”, пат.пов. В.М.Рыбакову, рег. № 90
|
(72) Автор(ы):
ЛЮ Бао-Шен (TW), ЙОНГ Чанг-Юн (TW)
(73) Патентообладатель(и):
ЛЮ Бао-Шен (TW), ЙОНГ Чанг-Юн (TW)
|
(54) ПИШУЩИЙ ИНСТРУМЕНТ
(57) Реферат:
Предложенное решение относится к письменным принадлежностям. Содержит корпус для удержания и манипулирования пользователем, пишущий наконечник для осуществления пользователем письма, соединительную часть, расположенную между передним концом корпуса и задним концом пишущего наконечника таким образом, что пишущий наконечник и корпус ориентированы вдоль различных осей. Между пишущим наконечником и корпусом образовано видимое пространство. На переднем конце корпуса расположен держатель, имеющий форму треугольника или иного многоугольника и выполненный с возможностью регулирования при удержании и манипулировании пользователем для соблюдения правильного угла наклона письма. Данный пишущий инструмент обеспечивает возможность регулирования обзора написанного и толщины линии письма при сохранении наиболее естественного его положения удерживания. 24 з.п. ф-лы, 44 ил. 
Область техники, к которой относится изобретение
Настоящее изобретение относится к пишущему инструменту, в частности к конструкции пишущего инструмента, который содержит удерживаемую часть или корпус и позволяет пользователю сохранять хороший стиль письма для обеспечения плавного почерка и аккуратного написания знаков. Пишущий инструмент позволяет преодолеть трудность обзора написанного, делает работу пальцев более комфортной, а также облегчает манипулирование инструментом.
Уровень техники
С давних времен все обычные пишущие инструменты, такие как карандаш, цветной карандаш, ручка, шариковая ручка или кисточка для письма, относились к инструментам линейного типа, в которых пишущий наконечник и удерживаемая часть или корпус инструмента расположены на одной оси. Из-за анатомических ограничений человеческой руки корпус должен быть расположен с наклоном назад, так что между пишущим наконечником и рабочей поверхностью образован угол. При этом рабочая поверхность перекрывается рукой и пишущим наконечником, так что пишущий человек не может видеть содержание написанного или контролировать точность письма.
Вследствие этого для обзора написанного пишущему необходимо постоянно менять положение удерживания инструмента при письме и даже держать инструмент неправильным образом, что затрудняет выработку хорошего почерка и оказывает вредное влияние на руку и зрение. В особенности для детей с еще недостаточно развитыми руками и мониторными функциями обычные линейные пишущие инструменты почти не дают возможности писать или рисовать ровно и плавно.
Эти недостатки известных пишущих инструментов вызвали потребность в создании пишущего инструмента новой конструкции.
Раскрытие изобретения
Задача, на решение которой направлено настоящее изобретение, заключается в создании пишущего инструмента, в котором пишущий наконечник и корпус расположены не на одной оси, а по существу в Z-образной конфигурации. При этом держатель обеспечивает позиционирование инструмента, что позволяет пользователю сочетать удерживание инструмента с развитием естественной и правильной манеры письма.
Второй задачей изобретения является создание пишущего инструмента, обладающего возможностью регулирования положения удерживания инструмента пользователем и обеспечения наилучших условий эксплуатации.
Третьей задачей изобретения является создание пишущего инструмента, пригодного для различных пишущих элементов, таких как шариковая авторучка, шариковый пишущий элемент, карандаш и т.д.
Четвертой задачей изобретения является создание пишущего инструмента, в котором сменный пишущий элемент может представлять собой элементы различных требуемых типов, такие как карандаш, цветной карандаш, угольный карандаш, пастель, мелок и др. При этом сменные пишущие элементы размещены в приемном пространстве корпуса.
Пятой задачей изобретения является создание пишущего инструмента, обеспечивающего видимое пространство между пишущим наконечником и корпусом. Видимое пространство создает поле обзора, так что пользователь может следить за письмом, сохраняя при этом правильное положение удерживания инструмента.
Шестой задачей изобретения является создание пишущего инструмента, в котором в пишущем наконечнике установлен фиксирующий штырь для предотвращения отхода назад сменного пишущего элемента. Длина фиксирующего штыря может регулироваться в соответствии с типом сменного пишущего элемента для облегчения его позиционирования.
Седьмой задачей изобретения является создание пишущего инструмента с регулируемым держателем. Держатель может быть изогнут или скручен для достижения наиболее оптимального положения удерживания инструмента пользователем.
Восьмой задачей изобретения является создание пишущего инструмента, в котором обеспечена возможность регулирования угла между осями пишущего наконечника и корпуса для достижения наиболее оптимального положения удерживания инструмента.
Основным техническим результатом изобретения является возможность регулирования обзора написанного и толщины линии письма при сохранении наиболее естественного положения удерживания пишущего инструмента.
Для решения поставленных задач и достижения технического результата изобретение предлагает пишущий инструмент, содержащий корпус для удержания и манипулирования пользователем, пишущий наконечник для осуществления пользователем письма, соединительную часть, расположенную между передним концом корпуса и задним концом пишущего наконечника таким образом, что пишущий наконечник и корпус ориентированы вдоль различных осей, а между пишущим наконечником и корпусом образовано видимое пространство. На переднем конце корпуса расположен держатель, имеющий форму треугольника или иного многоугольника и выполненный с возможностью регулирования при удержании и манипулировании пользователем для соблюдения правильного угла наклона письма.
В предпочтительном варианте корпус, пишущий наконечник и соединительная часть расположены по существу в Z-образной конфигурации. Держатель и корпус предпочтительно сформованы как одно целое.
Держатель также может быть выполнен в виде отдельного элемента, установленного вокруг корпуса.
Задний конец держателя предпочтительно снабжен фиксирующим кольцом.
В следующем предпочтительном варианте держатель надет снаружи на корпус пишущего инструмента.
Каждая поверхность держателя предпочтительно снабжена рельефом противоскольжения для улучшения удерживания.
Между пишущим наконечником и соединительной частью может быть установлена ось вращения для обеспечения поворота пишущего наконечника на различные углы относительно соединительной части.
В еще одном варианте пишущий наконечник сформован отдельно от корпуса и соединительной части.
Передний конец пишущего наконечника может содержать сменный пишущий элемент, который представляет собой карандаш, цветной карандаш, угольный карандаш, пастель, мелок, ластик, сменный пишущий блок на водной основе из волокнистой массы, сменный пишущий блок на водной основе из животного волоса, сменный волокнистый блок на водной основе из синтетического волоса, сменный пишущий блок на водной основе из пластикатов или твердый сменный блок на водной, масляной или порошковой основе.
Сменный пишущий элемент предпочтительно охвачен патроном, а в пишущем наконечнике расположен фиксирующий штырь для поддержания заднего конца сменного пишущего элемента и предотвращения отхода этого пишущего элемента назад, когда патрон закреплен в пишущем наконечнике. Поверхность фиксирующего штыря предпочтительно снабжена усиливающими ребрами для снижения трения при плотной посадке патрона сменного пишущего элемента на фиксирующий штырь, тем самым облегчения снятия патрона с фиксирующего штыря.
Фиксирующий штырь может быть выполнен с возможностью регулирования длины посредством ввинчивания или иного крепления. Он также может быть образован передним концом пишущего наконечника для обеспечения фиксации патрона сменного пишущего элемента, причем, когда патрон установлен снаружи на фиксирующем штыре, этот штырь поддерживает сменный пишущий элемент и предотвращает его отход назад.
В дальнейшем предпочтительном варианте патрон сменного пишущего элемента большего размера установлен снаружи вокруг пишущего наконечника. Этот патрон может быть закреплен на пишущем наконечнике посредством навинчивания или иного крепления.
Пишущий наконечник может представлять собой шариковую авторучку, шариковый письменный элемент или карандаш.
В наиболее предпочтительном варианте корпус содержит приемное пространство для размещения сменных пишущих элементов, причем указанное приемное пространство проходит до соединительной части и предназначено для хранения сменных пишущих элементов. Сменные пишущие элементы предпочтительно расположены во внутренней трубке, которая установлена в приемном пространстве с возможностью извлечения для замены пишущих элементов, причем расстояние между внутренней трубкой и сменными пишущими элементами ограничено для предотвращения нарушения расположения сменных пишущих элементов.
В передней области приемного пространства предпочтительно расположен ограничивающий край для зажима и позиционирования патрона переднего сменного пишущего элемента, перед которым образовано буферное пространство для предотвращения повреждения руки пользователя при выдвижении переднего сменного пишущего элемента.
Приемное пространство на одном или обоих концах может заканчиваться отверстиями для введения сменных пишущих элементов с целью хранения.
Держатель предпочтительно сформован из мягкого пластичного материала с возможностью регулирования гибкости держателя при манипулировании пользователем для приспособления к положению удерживания пишущего инструмента.
Задний конец пишущего наконечника может быть снабжен упорной частью, ось которой совпадает с осью пишущего наконечника, причем при удержании пользователем пишущего инструмента его указательный палец прижат к упорной части, а другие пальцы естественным образом направлены по другим поверхностям пишущего наконечника.
На корпус предпочтительно надета посредством навинчивания или иного крепления комбинированная насадка, а сам корпус предпочтительно выполнен с возможностью открытия для хранения сменных пишущих элементов.
Краткое описание чертежей
Сущность изобретения понятна из дальнейшего описания, приведенного со ссылками на прилагаемые чертежи, где:
фиг.1 изображает внешний вид пишущего инструмента в соответствии с изобретением,
фиг.1А изображает конструкцию концевой части пишущего инструмента по фиг.1,
фиг.2 изображает внешний вид пишущего инструмента, в котором держатель надет снаружи на корпус,
фиг.2А изображает держатель пишущего инструмента по фиг.2,
фиг.2Б изображает конструкцию концевой части пишущего инструмента по фиг.2,
фиг.3 изображает положения удерживания пишущего инструмента по изобретению,
фиг.3А изображает одно из положений удерживания пишущего инструмента,
фиг.3Б изображает различные положения пишущего инструмента, обеспечивающие различные области обзора и линии письма,
фиг.4 изображает изгиб держателя согласно изобретению,
фиг.4А изображает изгиб держателя в одном направлении,
фиг.4Б изображает изгиб держателя в другом направлении,
фиг.5 изображает другой вариант положения удерживания пишущего инструмента,
фиг.5А изображает на виде сбоку пишущий инструмент в одном положении удерживания пальцами пользователя,
фиг.5Б изображает на виде сбоку пишущий инструмент в другом положении удерживания пальцами пользователя,
фиг.6 изображает в разобранном виде пишущий инструмент, снабженный фиксирующим кольцом,
фиг.7 изображает в частичном разрезе пишущий инструмент с фиксирующим кольцом,
фиг.8 изображает другой вариант пишущего инструмента с фиксирующим кольцом в собранном виде,
фиг.8А изображает сменный пишущий элемент, снабженный усиливающими ребрами,
фиг.8Б изображает колпачок пишущего инструмента,
фиг.8В изображает колпачок пишущего инструмента по фиг.8Б на виде сверху,
фиг.9 изображает сменные пишущие элементы согласно изобретению,
фиг.10 изображает фиксирующий штырь согласно изобретению,
фиг.11 изображает другой вариант выполнения фиксирующего штыря согласно изобретению,
фиг.12 изображает фиксирующий штырь согласно изобретению, снабженный усиливающими ребрами,
фиг.12А изображает фиксирующий штырь в поперечном сечении по линии 12А-12А на фиг.12,
фиг.13 изображает поворот фиксирующего штыря согласно изобретению,
фиг.14 изображает использование сменного пишущего элемента с патроном большего размера,
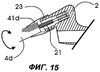
фиг.15 изображает другой вариант использования сменного пишущего элемента с патроном большего размера,
фиг.16 изображает различные типы сменных пишущих элементов,
фиг.17 изображает ограничительный край согласно изобретению,
фиг.17А изображает часть ограничительного края согласно изобретению,
фиг.18 изображает в разобранном виде пишущий инструмент с внутренней трубкой согласно изобретению,
фиг.18А изображает случай нарушения ряда сменных пишущих элементов в пишущем инструменте без внутренней трубки,
фиг.19 изображает в собранном виде пишущий инструмент с внутренней трубкой,
фиг.20 изображает вариант расположения сменных пишущих элементов в соответствии с изобретением,
фиг.21 изображает другой вариант расположения сменного пишущего элемента в соответствии с изобретением,
фиг.22 изображает в разобранном виде пишущий инструмент с отдельно выполненным пишущим наконечником,
фиг.23 изображает в собранном виде пишущий инструмент с отдельным пишущим наконечником,
фиг.23А изображает пишущий наконечник в разрезе по линии А-А на фиг.23,
фиг.24 изображает пишущий инструмент с отдельным пишущим наконечником в другом варианте выполнения,
фиг.25 изображает в разобранном виде пишущий инструмент с пишущим наконечником и осью вращения согласно изобретению,
фиг.26 изображает в разобранном виде пишущий инструмент с пишущим наконечником и осью вращения в другом варианте выполнения,
фиг.27 изображает в собранном виде пишущий инструмент с пишущим наконечником и осью вращения в еще одном варианте выполнения,
фиг.28 изображает поворот пишущего наконечника вокруг оси вращения.
Осуществление изобретения
На фиг.1 и 1А представлен пишущий инструмент, содержащий в основном корпус 1 и пишущий наконечник 2, установленный на переднем конце корпуса 1 таким образом, что пишущий наконечник 2 и корпус 1 имеют различные оси. Кроме того, пишущий инструмент содержит соединительную часть 3, расположенную между корпусом 1 и пишущим наконечником 2 таким образом, что корпус 1, пишущий наконечник 2 и соединительная часть 3 образуют по существу букву Z. На переднем конце корпуса 1 вблизи соединительной части 3 находится держатель 11. Держатель 11 имеет по существу треугольное поперечное сечение, удобное для пользователя. За счет этого, когда пользователь держит в руке пишущий инструмент, его рука направляется в правильное положение на держателе 11. В результате рука привыкает правильно держать инструмент.
Далее описание следует со ссылками на фиг.2, 2А и 2Б. Держатель 11 надет снаружи на корпус 1 пишущего инструмента. В качестве примера держатель может быть выполнен в виде треугольной пластмассовой втулки, надетой на передний конец корпуса 1 для обеспечения правильного положения удерживания инструмента пользователем.
Далее описание следует со ссылками на фиг.3, 3А и 3Б. Держатель 11 выполнен по существу треугольным в поперечном сечении. Благодаря треугольному держателю и Z-образной конфигурации пишущего инструмента может быть выработано наилучшее наиболее естественное положение удерживания пишущего инструмента. Кроме того, держатель 11 можно поворачивать, что вызывает изменение угла наклона пишущего наконечника 2, как показано на фиг.3А. Таким образом, за счет поворота держателя 11 можно не только сохранять удобное положение удерживания, но также регулировать обзор написанного и толщину линии письма, как показано на фиг.3Б. Кроме того, каждая поверхность держателя может быть дополнительно снабжена рельефом противоскольжения для лучшего удерживания. Держатель также может иметь форму другого многоугольника при условии, что рука 9 удерживает поверхность этого многоугольника естественным образом.
Далее описание следует со ссылками на фиг.4, 4А и 4Б. Держатель 11 выполнен из мягкого материала, такого как резина. За счет эластичности держателя 11 пользователь может оптимально регулировать изгиб держателя 11 при письме. Как показано на фиг.4, когда один конец 111 держателя 11 закручен в одном направлении, а его другой конец 112 зажат в положении Z-образной конфигурации, как показано на фиг.4А и 4Б. При этом каждая поверхность держателя 11 отклонена с образованием перекошенных поверхностей 113, 114, 115 для обеспечения возможности идеального захвата пальцами. В дополнение к этому, поскольку возможны различные геометрические положения удерживания, как показано на фиг.4А и 4Б, пальцы разных пользователей автоматически каждый раз направляются в правильное положение.
Далее описание следует со ссылками на фиг.5, 5А и 5Б. На заднем конце пишущего наконечника 2 расположена упорная часть 24, ось которой совпадает с осью наконечника. Когда пользователь держит пишущий инструмент, один палец 91, обычно указательный палец, упирается в торцовую поверхность упорной части 24 для позиционирования инструмента, а другие пальцы 92, 93 естественным образом направляются по обоим боковым поверхностям пишущего наконечника 2, так что пользователь может направлять пальцами наконечник для плавного письма и более гибкого и устойчивого ведения пишущего инструмента. Кроме того, для приспособления к различной длине, размеру и толщине пальцев рук в случае наличия в пишущем наконечнике 2 с держателем 11 упорной части 24, большой палец 92, указательный палец 91 и средний палец 93 могут прижиматься к поверхностям держателя 11 наиболее удобным образом. При этом каждая поверхность держателя 11 скручивается с образованием перекошенных поверхностей 113, 114, 115 для идеального захвата пальцами. Кроме того, упорная часть 24 может быть предусмотрена и для указательного пальца 91, как показано на фиг.5А, и для большого пальца 92, как показано на фиг.5В, и для других пальцев в соответствии с потребностями пользователя для обеспечения различных комфортных положений руки пользователя при письме.
Далее описание следует со ссылками на фиг.6. Если держатель 11 надет снаружи на корпус 1, на заднем конце держателя 11 может быть дополнительно предусмотрено фиксирующее кольцо 12 для предотвращения его скольжения. Кроме того, корпус 1 и Z-образное основное тело пишущего инструмента могут быть сформованы как отдельные элементы, которые затем скрепляют посредством свинчивания или ввода одного элемента в другой.
Далее описание следует со ссылками на фиг.7. Корпус 1 содержит приемное пространство 5, а в пишущем наконечнике 2 размещен сменный пишущий элемент 4. Патрон 41 охватывает сменный пишущий элемент 4 в качестве опоры. Область обзора 6 образована между пишущим наконечником 2 и корпусом 1, так что пользователь может следить за условиями и процессом письма. Приемное пространство 5 в корпусе 1 проходит до соединительной части 3 и заканчивается двумя отверстиями 51, 52. Пространство 5 служит для хранения сменных пишущих элементов 4. Кроме того, полый задний стопор 8 установлен в отверстии 52 корпуса 1, при этом диаметр отверстия полого заднего стопора 8 меньше наружного диаметра патрона 41 для предотвращения выпадения сменного пишущего элемента 4.
Далее описание следует со ссылками на фиг.8. В передней области приемного пространства 5 вокруг отверстия 51 расположен ограничительный край 56. Диаметр этого края меньше наружного диаметра патрона 41, что обеспечивает зажим патрона. Перед патроном 41 остается буферное пространство 53, чтобы пользователь не поранил руку 9 при выдвижении переднего сменного пишущего элемента 4.
Далее описание следует со ссылками на фиг.8А. Для устойчивого письма патрон 41 должен плотно входить в пишущий наконечник 2, но это также осложняет удаление пишущего элемента при его замене. Поэтому на поверхности патрона 41 сменного пишущего элемента выполнены усиливающие ребра 42 для снижения трения между патроном 41 и пишущим наконечником 2, так что патрон 41 может быть легко вынут из пишущего наконечника 2.
Далее описание следует со ссылками на фиг.8 и 8А-В. Пишущий инструмент дополнительно оснащен колпачком 7. Колпачок 7 имеет точку 71 зажима на пишущем наконечнике 2 или на заднем конце корпуса 1, а также ластик 72 на переднем конце колпачка. Кроме того, в колпачке имеется отверстие 73 для прохода воздуха, а также для того, чтобы не блокировать дыхание в том случае, если пишущий инструмент будет случайно проглочен.
Далее описание следует со ссылками на фиг.9 и 10. Для преодоления того недостатка, что сменный пишущий элемент 4 может отходить назад при нажиме, как показано на фиг.9, в пишущем наконечнике 2 расположен фиксирующий штырь 21. Таким образом, когда патрон 41 сменного пишущего элемента закреплен в пишущем наконечнике 2, фиксирующий штырь 21 поддерживает задний конец сменного пишущего элемента 4 в патроне 41 для обеспечения плавности письма, как показано на фиг.10.
Далее описание следует со ссылками на фиг.11. В альтернативном варианте фиксирующий штырь 21 может быть образован непосредственно передним концом пишущего наконечника 2, так что, когда патрон 41 сменного пишущего элемента установлен снаружи на фиксирующем штыре 21, фиксирующий штырь поддерживает задний конец сменного пишущего элемента 4, не допуская его отхода назад.
Соединительная часть 3 пишущего инструмента содержит одно или несколько декоративных отверстий 31. Декоративное отверстие 31 может иметь любую геометрическую форму для улучшения эстетического вида инструмента.
Далее описание следует со ссылками на фиг.12 и 12А. Поверхность фиксирующего штыря 21 также оснащена несколькими усиливающими ребрами 22 для снижения трения при плотной посадке патрона 41 на фиксирующем штыре 21 и облегчения снятия патрона 41 с фиксирующего штыря 21.
Далее описание следует со ссылками на фиг.13. Фиксирующий штырь 21 закреплен в пишущем наконечнике с помощью резьбы 23 или другого крепления, а длина фиксирующего штыря 21 может быть отрегулирована посредством ввинчивания для настройки на различные сменные пишущие элементы 4а, 4b.
Далее описание следует со ссылками на фиг.14. Патрон 41с сменного пишущего элемента большего размера установлен снаружи вокруг пишущего наконечника 2, при этом сменный пишущий элемент 4с также поддерживается фиксирующим штырем 21.
Далее описание следует со ссылками на фиг.15, которая дополняет фиг.6. Сменный пишущий элемент 4d, патрон 41d сменного пишущего элемента и пишущий наконечник 2 соединены вместе с помощью резьбы 23 или другого крепления для повышения стабильности письма. При этом патрон 41d сменного пишущего элемента закреплен на пишущем наконечнике 2 посредством навинчивания.
Далее описание следует со ссылками на фиг.16, которая изображает различные типы сменных пишущих элементов. Сменный пишущий элемент 4 по изобретению может представлять собой карандаш, цветной карандаш, угольный карандаш, пастель, мелок, ластик, сменный пишущий блок на водной основе из волокнистой массы, сменный пишущий блок на водной основе из животного волоса, сменный волокнистый блок на водной основе из синтетического волоса, сменный пишущий блок на водной основе из пластикатов или твердый сменный блок на водной, масляной или порошковой основе.
Далее описание следует со ссылками на фиг.17 и 17А. В передний области приемного пространства 5 находится ограничительный край 56, который может быть образован кольцом 56b или другим известным элементом, предназначенный для зажима патрона 41.
Далее описание следует со ссылками на фиг.18, 18А и 19. Поскольку приемное пространство 5 имеет определенный диаметр, когда в нем помещены сменные пишущие элементы 4 меньшего диаметра, эти элементы могут смещаться относительно друг друга с нарушением ряда, как показано на фиг.18А. Поэтому внутри приемного пространства дополнительно расположена внутренняя трубка 57. Сменные пишущие элементы 4 помещены во внутренней трубке 57, так что для их замены может быть вынута непосредственно внутренняя трубка 57. Кроме того, расстояние между внутренней трубкой 57 и сменными пишущими элементами может быть ограничено для устранения нарушения рядного расположения элементов.
Далее описание следует со ссылками на фиг.20. Задний упор 59а и полая винтовая крышка 59b расположены на заднем конце корпуса 1, что обеспечивает другой вариант хранения сменных пишущих элементов 4. Разумеется внутренняя трубка 57 может быть также помещена в корпусе 1 для хранения сменных пишущих элементов 4 по соображениям унификации. Корпус 1 дополнительно содержит комбинированную насадку, которая может быть присоединена посредством навинчивания или другим способом крепления.
Далее описание следует со ссылками на фиг.20 и 21. Пишущий инструмент содержит колпачок 7а. Колпачок 7а снабжен гайкой 7b, которая может быть навинчена на резьбу 28 на пишущем наконечнике 2. Колпачок 7а может быть также закреплен на полой винтовой крышке 59b заднего упора 59а, расположенного на заднем конце корпуса 1.
Далее описание следует со ссылками на фиг.22-24. Если того требует конструкция формы для изготовления пишущего инструмента, пишущий наконечник 2, корпус 1 и соединительная часть 3 могут быть изготовлены по отдельности. Задний конец пишущего наконечника 2 снабжен позиционирующей щелью 25, а соединительная часть 3 содержит соответствующий позиционирующий штырек 26, так что позиционирующая щель 25 и позиционирующий штырек 26 могут быть зафиксированы относительно друг друга путем посадки или любым другим известным способом.
Далее описание следует со ссылками на фиг.25-27. Ось вращения 27 расположена между пишущим наконечником 2 и соединительной частью 3, так что пишущий наконечник 2 может быть повернут на различные углы по отношению к соединительной части 3, а его положение может быть отрегулировано в соответствии с положением удерживания или привычкой пользователя для обеспечения наилучших условий работы с пишущим инструментом.
Далее описание следует со ссылками на фиг.28. Кроме поворота относительно соединительной части 3 и регулирования в соответствии с положением удерживания или привычкой пользователя пишущий наконечник 2 может быть также повернут на больший угол в обратную сторону. При этом пишущий инструмент можно положить в карман или футляр без колпачка.
Очевидно, что изобретение не ограничивается описанными наиболее практичными и предпочтительными примерами выполнения. При осуществлении изобретения возможны различные изменения и модификации, не выходящие за пределы объема охраны, который определен в формуле изобретения, трактуемой в наиболее широком смысле для включения подобных изменений и модификаций.
Формула изобретения
1. Пишущий инструмент, содержащий корпус для удержания и манипулирования пользователем, пишущий наконечник для осуществления пользователем письма, соединительную часть, расположенную между передним концом корпуса и задним концом пишущего наконечника таким образом, что пишущий наконечник и корпус ориентированы вдоль различных осей, а между пишущим наконечником и корпусом образовано видимое пространство, причем на переднем конце корпуса расположен держатель, имеющий форму треугольника или иного многоугольника и выполненный с возможностью регулирования при удержании и манипулировании пользователем для соблюдения правильного угла наклона письма.
2. Пишущий инструмент по п.1, отличающийся тем, что корпус, пишущий наконечник и соединительная часть расположены по существу в Z-образной конфигурации.
3. Пишущий инструмент по п.1, отличающийся тем, что держатель и корпус сформованы как одно целое.
4. Пишущий инструмент по п.1, отличающийся тем, что держатель выполнен в виде отдельного элемента, установленного вокруг корпуса.
5. Пишущий инструмент по п.4, отличающийся тем, что задний конец держателя снабжен фиксирующим кольцом.
6. Пишущий инструмент по п.1, отличающийся тем, что держатель надет снаружи на корпус пишущего инструмента.
7. Пишущий инструмент по п.1, отличающийся тем, что каждая поверхность держателя снабжена рельефом противоскольжения для улучшения удерживания.
8. Пишущий инструмент по п.1, отличающийся тем, что между пишущим наконечником и соединительной частью установлена ось вращения для обеспечения поворота пишущего наконечника на различные углы относительно соединительной части.
9. Пишущий инструмент по п.1, отличающийся тем, что пишущий наконечник сформован отдельно от корпуса и соединительной части.
10. Пишущий инструмент по п.1, отличающийся тем, что передний конец пишущего наконечника содержит сменный пишущий элемент.
11. Пишущий инструмент по п.10, отличающийся тем, что сменный пишущий элемент представляет собой карандаш, цветной карандаш, угольный карандаш, пастель, мелок, ластик, сменный пишущий блок на водной основе из волокнистой массы, сменный пишущий блок на водной основе из животного волоса, сменный волокнистый блок на водной основе из синтетического волоса, сменный пишущий блок на водной основе из пластикатов или твердый сменный блок на водной, масляной или порошковой основе.
12. Пишущий инструмент по п.11, отличающийся тем, что сменный пишущий элемент охвачен патроном, а в пишущем наконечнике расположен фиксирующий штырь для поддержания заднего конца сменного пишущего элемента и предотвращения отхода этого пишущего элемента назад, когда патрон закреплен в пишущем наконечнике.
13. Пишущий инструмент по п.12, отличающийся тем, что поверхность фиксирующего штыря снабжена усиливающими ребрами для снижения трения при плотной посадке патрона сменного пишущего элемента на фиксирующий штырь, тем самым облегчая снятие патрона с фиксирующего штыря.
14. Пишущий инструмент по п.12, отличающийся тем, что фиксирующий штырь выполнен с возможностью регулирования длины посредством ввинчивания или иного крепления.
15. Пишущий инструмент по п.12, отличающийся тем, что фиксирующий штырь образован передним концом пишущего наконечника для обеспечения фиксации патрона сменного пишущего элемента, причем, когда патрон установлен снаружи на фиксирующем штыре, этот штырь поддерживает сменный пишущий элемент и предотвращает его отход назад.
16. Пишущий инструмент по п.12, отличающийся тем, что патрон сменного пишущего элемента большего размера установлен снаружи вокруг пишущего наконечника.
17. Пишущий инструмент по п.12, отличающийся тем, что патрон сменного пишущего элемента закреплен на пишущем наконечнике посредством навинчивания или иного крепления.
18. Пишущий инструмент по п.1, отличающийся тем, что пишущий наконечник представляет собой шариковую авторучку, шариковый письменный элемент или карандаш.
19. Пишущий инструмент по п.1, отличающийся тем, что корпус содержит приемное пространство для размещения сменных пишущих элементов, причем указанное приемное пространство проходит до соединительной части и предназначено для хранения сменных пишущих элементов.
20. Пишущий инструмент по п.19, отличающийся тем, что сменные пишущие элементы расположены во внутренней трубке, которая установлена в приемном пространстве с возможностью извлечения для замены пишущих элементов, причем расстояние между внутренней трубкой и сменными пишущими элементами ограничено для предотвращения нарушения расположения сменных пишущих элементов.
21. Пишущий инструмент по п.19, отличающийся тем, что в передней области приемного пространства расположен ограничивающий край для зажима и позиционирования патрона переднего сменного пишущего элемента, перед которым образовано буферное пространство для предотвращения повреждения руки пользователя при выдвижении переднего сменного пишущего элемента.
22. Пишущий инструмент по п.19, отличающийся тем, что приемное пространство на одном или обоих концах заканчивается отверстиями для введения сменных пишущих элементов с целью хранения.
23. Пишущий инструмент по п.1, отличающийся тем, что держатель сформован из мягкого пластичного материала с возможностью регулирования гибкости держателя при манипулировании пользователем для приспособления к положению удерживания пишущего инструмента.
24. Пишущий инструмент по п.1, отличающийся тем, что задний конец пишущего наконечника снабжен упорной частью, ось которой совпадает с осью пишущего наконечника, причем при удержании пользователем пишущего инструмента его указательный палец прижат к упорной части, а другие пальцы естественным образом направлены по другим поверхностям пишущего наконечника.
25. Пишущий инструмент по п.1, отличающийся тем, что на корпус надета посредством навинчивания или иного крепления комбинированная насадка, а корпус выполнен с возможностью открытия для хранения сменных пишущих элементов.
Приоритет по пп.1-25 – 24.01.2003.
РИСУНКИ
|