|
|
(21), (22) Заявка: 2004113326/02, 29.04.2004
(24) Дата начала отсчета срока действия патента:
29.04.2004
(45) Опубликовано: 10.04.2006
(56) Список документов, цитированных в отчете о поиске:
SU 1407849 A1, 07.07.1988. SU 934993 A1, 15.06.1982. RU 2041826 C1, 20.08.1995. US 4963084 A1, 06.03.1990. WO 89/01404 A1, 23.02.1989.
Адрес для переписки:
675000, г.Благовещенск, ул. Б. Хмельницкого, 2, ОРГиГ, М.Н. Савченко
|
(72) Автор(ы):
Савченко Илья Федорович (RU), Савченко Александр Ильич (RU)
(73) Патентообладатель(и):
Институт геологии и природопользования Дальневосточного отделения Российской академии наук (ИГиП ДВО РАН) (RU), Департамент по промышленности, транспорту и связи Администрации Амурской области (RU)
|
(54) ПРЕСС ДЛЯ БРИКЕТИРОВАНИЯ
(57) Реферат:
Изобретение относится к обработке материалов давлением и может быть использовано для изготовления брикетов из угольной мелочи, торфяной крошки, опилок, их смеси и других сыпучих материалов. Пресс содержит вертикально расположенный кожух, вал, прессующий элемент в виде ротора и полосу для удаления брикетов. Он дополнительно содержит неподвижно расположенный на валу цилиндрический эксцентрик и фланцы, закрепленные на валу и цилиндрическом эксцентрике. В верхнем фланце выполнены окно загрузки и смотровое окно, расположенное над окном выгрузки в нижнем фланце. Фланцы установлены в кожухе с максимальным зазором 0,25-0,5 мм. На эксцентрике с возможностью свободного вращения установлено формующее колесо. Венец колеса имеет вогнутые зубья передачи Новикова, входящие в зацепление с зубьями, расположенными на внутренней стороне кожуха между фланцами, и образующие матричный канал пресса в зоне максимального контакта с кожухом и внутренней поверхностью фланцев. В результате обеспечивается упрощение конструкции пресса, повышение его нагрузочной способности и надежности, а также снижение энергозатрат при прессовании. 4 ил. 
Изобретение относится к обработке материалов давлением и может быть использовано для изготовления брикетов из угольной мелочи, торфяной крошки, опилок, их смеси и других сыпучих материалов.
Известен пресс для брикетирования сыпучих материалов, содержащий кольцо с рабочим каналом на внутренней поверхности, эксцентрично размещенный в канале кольца прессующий диск, нож для извлечения (эвакуации) брикетов из рабочего канала, винтообразующую полосу, предназначенную для выгрузки брикетов и выполненную за одно целое с ножом, и приводные опорные ролики и валы (а.с. №1407849, МКИ В 30 В 11/20, 07.07.1988 г.). Этот пресс выбран в качестве прототипа.
Согласно прототипу прессуемый материал уплотняется в рабочем канале, проходя через узкий зазор между кольцом и прессующим диском. Получающаяся при этом брикетная лента имеет надрезы, образующиеся благодаря наличию на диске острых выступов. Лента набегает на нож и извлекается из рабочего канала кольца, далее она перемещается по винтовой линии, выходит из кольца и поступает в бункер, где происходит ее ломка.
Недостатком данной конструкции является невысокая нагрузочная способность кольца и опорных роликов из-за больших контактных напряжений в точках соприкосновения кольца с опорными роликами. Это не позволяет применять пресс для брикетирования материалов, требующих для прессования высоких удельных давлений.
Кроме этого, брикеты из указанных сыпучих материалов имеют отдачу прессования, выражающуюся в увеличении объема на 5-7% после снятия нагрузки. Поэтому извлечение брикета из матричного рабочего канала в прототипе связано с затратами энергии, превышающими энергию прессования, или же брикеты в ленте должны разрушаться ножом по образующей кромке, что недопустимо.
Задачей изобретения является упрощение конструкции, повышение нагрузочной способности пресса, его надежности и снижение затрат энергии на прессование.
Сущность изобретения заключается в применении такой кинематической схемы пресса, при которой нагрузка прессования передается через фланцы ротора на внутреннюю поверхность кожуха, что позволяет применять значительные усилия прессования и увеличивать степень уплотнения прессуемого материала и упрощает конструкцию. Это является техническим результатом изобретения.
Технический результат изобретения достигается тем, что пресс для брикетирования, содержащий вертикально расположенный кожух, вал, прессующий элемент в виде ротора, полосу для удаления брикетов, дополнительно содержит неподвижно расположенный на валу цилиндрический эксцентрик и фланцы, закрепленные на валу и цилиндрическом эксцентрике, причем в верхнем фланце выполнены окно загрузки и смотровое окно, расположенное над окном выгрузки нижнего фланца и фланцы установлены в кожухе с максимальным зазором 0,25-0,5 мм, а на эксцентрике с возможностью свободного вращения расположено формующее колесо, венец которого имеет вогнутые зубья передачи Новикова, входящие в зацепление с зубьями, расположенными на внутренней стороне кожуха между фланцами, и образующие матричный канал пресса в зоне максимального контакта с кожухом и внутренней поверхностью фланцев.
Кожух пресса, внутренняя поверхность фланцев и межзубовые впадины венца в зоне их максимального контакта в верхней мертвой точке (ВМИ) эксцентрика образуют матричный канал пресса, равный конечному объему брикета. Окно загрузки размещают в верхнем фланце, а окно выгрузки – в нижнем фланце. Эвакуация готовых брикетов осуществляется под собственным весом через окно выгрузки.
Изобретение представлено на чертежах
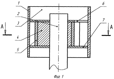
Фиг.1. Осевой разрез пресса через ВМТ и НМТ.
Фиг.2. Радиальное сечение пресса между фланцами.
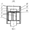
Фиг.3. Вид сверху.
Фиг.4. Сечение через сектор разгрузки.
Пресс для брикетирования состоит из вертикально расположенного кожуха 1 и ротора внутри кожуха. Выступающая над ротором часть кожуха выполняет роль приемного бункера 3. Ротор состоит из вала 2, на котором неподвижно закреплен цилиндрический эксцентрик 4. На эксцентрике свободно вращается формующее колесо с венцом из вогнутых зубьев передачи Новикова 5. К эксцентрику и валу неподвижно прикреплены верхний 6 и нижний 7 фланцы. Межзубовые впадины венца колеса являются прессовой камерой и соответствуют размеру брикета. Кожух и фланцы вращаются относительно друг друга с максимальным зазором 0,25-0,5. Верхний фланец 6 в области нижней мертвой точки (НМТ) имеет окно загрузки 8 в виде сектора 60°, между 30° и -30°. К задней стенке окна загрузки прикреплен ограничитель 10 россыпи прессуемого материала. Нижний фланец имеет окно выгрузки 9 в секторе 105°-165° от НТМ по направлению вращения вала, верхний фланец имеет смотровое окно 12, расположенное над окном выгрузки 9, причем сверху смотровое окно 12 закрыто крышкой 13 (фиг.3 и 4). К крышке 13 прикреплена подпружиненная полоса 14 для удаления брикетов. В кожухе между фланцами размещены зубья зацепления 11. Эти зубья необходимы для предотвращения проскальзывания прессуемой массы.
Устройство работает следующим образом. Сыпучий материал, например угольная мелочь, подается в приемный бункер 3. Далее возможны три варианта работы пресса.
Первый вариант. Вращают ротор (фиг.2) при неподвижном кожухе. Через окно загрузки 8 мелочь попадает в пространство между кожухом 1 и формирующим венцом зубчатого колеса 5, где в ВМТ осуществляется максимальный обжим брикета. Скольжение брикета происходит в торцевой части между фланцами, после прохождения ВМТ и выхода на окно выгрузки 9 с брикета снимаются как торцевые, так и радиальные нагрузки, и он под действием собственного веса покидает ротор пресса. Удалению брикетов способствует подпружиненная полоса 14 (фиг.4)
При втором варианте вращают кожух (фиг.3) при неподвижном роторе.
В третьем варианте вращают кожух и ротор в противоположных направлениях.
Устройство несложно в изготовлении и может быть выполнено на стандартном оборудовании.
Формула изобретения
Пресс для брикетирования, содержащий вертикально расположенный кожух, вал, прессующий элемент в виде ротора, полосу для удаления брикетов, отличающийся тем, что дополнительно содержит неподвижно расположенный на валу цилиндрический эксцентрик и фланцы, закрепленные на валу и цилиндрическом эксцентрике, причем в верхнем фланце выполнены окно загрузки и смотровое окно, расположенное над окном выгрузки в нижнем фланце, а фланцы установлены в кожухе с максимальным зазором 0,25…0,5 мм, на эксцентрике с возможностью свободного вращения установлено формующее колесо, венец которого имеет вогнутые зубья передачи Новикова, входящие в зацепление с зубьями, расположенными на внутренней стороне кожуха между фланцами, и образующие матричный канал пресса в зоне максимального контакта с кожухом и внутренней поверхностью фланцев.
РИСУНКИ
|
|