|
|
(21), (22) Заявка: 2003136331/02, 15.12.2003
(24) Дата начала отсчета срока действия патента:
15.12.2003
(43) Дата публикации заявки: 20.05.2005
(45) Опубликовано: 10.04.2006
(56) Список документов, цитированных в отчете о поиске:
SU 1287962 A1, 07.02.1987. SU 1664437 A, 23.07.1991. SU 390702 A, 28.12.1973. JP 20000334 A, 02.02.2002.
Адрес для переписки:
404111, Волгоградская обл., г. Волжский, пр. Ленина, 72, ВолжскИСИ филиал ВолгГАСА
|
(72) Автор(ы):
Матюшков Василий Викторович (RU), Бурков Юрий Герасимович (RU), Воробьев Алексей Васильевич (RU), Назаренко Вячеслав Алексеевич (RU), Шумячер Вячеслав Михайлович (RU)
(73) Патентообладатель(и):
Государственное образовательное учреждение высшего профессионального образования “Волгоградский государственный архитектурно-строительный университет” (RU)
|
(54) УСТРОЙСТВО ДЛЯ ОЧИСТКИ КРУГЛОГО ПРОКАТА
(57) Реферат:
Изобретение относится к прокатному производству и может быть использовано в цехах ускоренной очистки круглого проката от окалины, окислов и т.д. Задача изобретения – улучшение качества обработки, повышение ее эффективности, исключение подвижных частей, скребков в конструкции. Устройство имеет корпус, патрубки подвода твердой фракции, фильтр очистки рабочего материала, сборник отработанного материала. В соответствии с изобретением патрубки подвода твёрдой фракции последовательно соединены с блоком эжекторов. Устройство имеет форсунки для подачи смеси твердой фракции и сжатого воздуха, расположенные под углом 36о к обрабатываемой поверхности, регулятор давления воздуха и пневматические обдуватели, расположенные на входной и выходной частях устройства. Выходные сопла форсунок могут быть выполнены из металлокерамики. Техническое преимущество изобретения по сравнению с известным устройством заключаются в том, что оно обеспечивает возможность выбора оптимального режима обработки. 1 з.п. ф-лы, 1 ил. 
Изобретение относится к прокатному производству, конкретнее к технологическому процессу обработки сортового проката и труб, и может быть использовано как на существующих, так и на вновь сооружаемых станах, цехах ускоренной очистки круглого проката от окалины, окислов и т.д.
Известно устройство для очистки круглого проката твердой фракцией с помощью средств нагнетания газовой среды, включающее корпус, фильтр очистки рабочего материала, сборник отработанного материала, патрубки подвода твердой фракции (абразивной смеси), соединенные с трубопроводом сжатого воздуха (SU 1287962 А1, 07.02.1987, В 08 В 9/04).
Недостатком такого изобретения является отсутствие регулятора давления, необходимого для контроля и выбора оптимального режима очистки проката.
В результате проведения патентного поиска была установлена известность использования регулируемого дросселя для регулирования подачи газа в магистрали подачи сжатого воздуха, что позволяет контролировать и выбирать оптимальный режим обработки проката (SU 878384 А, 07.11.1981, В 21 В 45/04).
Недостатком таких устройств является невысокая эффективность и производительность очистки проката за счет конструктивного исполнения подводящих патрубков и обдувателей. В предлагаемом изобретении устройство имеет форсунки для подачи смеси твердой фракции и сжатого воздуха, расположенные под углом 36° к обрабатываемой поверхности, что обеспечивает более высокую производительность очистки проката.
Достоинством также является и то, что для повышения эффективности пневматические обдуватели расположены на входной и выходной части устройства.
Предлагаемым изобретением решается задача повышения эффективности обработки.
Решение этой задачи позволяет получить следующий технический результат – улучшение качества очистки поверхности проката за счет применения пневматических обдувателей.
Техническое преимущество изобретения по сравнению с известными устройствами заключается в том, что в предлагаемом изобретении патрубки подвода твердой фракции соединены последовательно с блоком эжекторов, при этом устройство имеет форсунки для подачи смеси твердой фракции и сжатого воздуха, расположенные под углом 36° к обрабатываемой поверхности, регулятор давления воздуха, необходимый для контроля за ходом технологического процесса, пневматические обдуватели, расположенные на входной и выходной части устройства. А также то, что выходные сопла форсунок выполнены из металлокерамики.
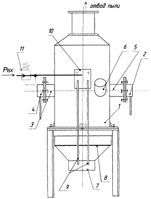
Устройство для очистки круглого проката изображено на чертеже. Устройство состоит из корпуса 1, направляющих воронок 3 и 5, пневматических обдувателей 2 и 4, служащих для предварительного обдува поступающего и обработанного проката и обеспечивающих более высокое качество обработки, загрузочной камеры 6, сборника отработанного материала 7, фильтра очистки рабочего материала 8, патрубков подвода твердой фракции (песка) 9, блока эжекторов для смешивания сжатого воздуха с твердой фракцией, последовательно соединенного с форсунками 10, и регулятора давления 11.
Обработка проката происходит следующим образом: движущаяся труба проходит предварительную очистку, для чего служат пневматические обдуватели 4 и 2, установленные соответственно на входе и на выходе. Затем прокат, поступая в корпус 1, проходит обработку поверхности смесью абразивной фракции (песка) и сжатого воздуха, смешанной в блоке эжекторов 10, где и осуществляется очистка проката от окалины и окислов при помощи смеси, поступающей из форсунок. Размер обрабатывающей фракции песка составляет от 0,8 до 2,0 мм. Давление на входе в устройство составляет Pраб 0,4-0,8 МПа.
Отработанный материал поступает в сборник, откуда вновь по питающим патрубкам направляется в блок эжекторов или через вентиляционное отверстие отработанные частицы (в виде пыли) выводятся из устройства.
Реализация предложенного устройства позволяет осуществить контролируемую обработку проката, повысить производительность и эффективность обработки путем изменения двух параметров технологического процесса:
– входного давления Рвх. с помощью регулятора давления 11, что приведет к увеличению силы активного взаимодействия рабочего агента с обрабатываемой поверхностью и соответственно к изменению интенсивности обработки;
– скорости подачи трубы по рольгангу vподачи, что повлечет за собой изменение времени контакта обрабатывающего материала с поверхностью проката, что также сказывается на динамичности процесса и скорости обработки поверхности проката.
Формула изобретения
1. Устройство для очистки круглого проката, включающее корпус, патрубки подвода твердой фракции, фильтр очистки рабочего материала, сборник отработанного материала, отличающееся тем, что патрубки подвода твёрдой фракции последовательно соединены с блоком эжекторов, при этом устройство имеет форсунки для подачи смеси твердой фракции и сжатого воздуха, расположенные под углом 36о к обрабатываемой поверхности, регулятор давления воздуха и пневматические обдуватели, расположенные на входной и выходной частях устройства.
2. Устройство по п.1, отличающееся тем, что выходные сопла форсунок выполнены из металлокерамики.
РИСУНКИ
MM4A – Досрочное прекращение действия патента СССР или патента Российской Федерации на изобретение из-за неуплаты в установленный срок пошлины за поддержание патента в силе
Дата прекращения действия патента: 16.12.2005
Извещение опубликовано: 20.02.2007 БИ: 05/2007
NF4A Восстановление действия патента СССР или патента Российской Федерации на изобретение
Дата, с которой действие патента восстановлено: 20.04.2007
Извещение опубликовано: 20.04.2007 БИ: 11/2007
|
|