|
(21), (22) Заявка: 2003135882/14, 15.12.2003
(24) Дата начала отсчета срока действия патента:
15.12.2003
(43) Дата публикации заявки: 27.04.2004
(45) Опубликовано: 10.04.2006
(56) Список документов, цитированных в отчете о поиске:
RU 2121332 C1, 10.11.1998. RU 2003319 C1, 30.11.1993. SU 1505547 A1, 07.09.1989. SU 1711887 A1, 15.02.1992. US 5820573 A, 13.10.1998. CA 23 89827 A, 07.12.2003. RU 2178286 С1, 20.01.2002.
Адрес для переписки:
169313, Республика Коми, г. Ухта, пр. Ленина, 35, кв.71, С.Н. Астрянину
|
(72) Автор(ы):
Астрянин Сергей Николаевич (RU)
(73) Патентообладатель(и):
Астрянин Сергей Николаевич (RU)
|
(54) СПОСОБ ВОССТАНОВЛЕНИЯ ФУНКЦИОНАЛЬНОГО СОСТОЯНИЯ ОРГАНИЗМА ПУТЕМ КОРРЕКЦИИ ПОЗВОНОЧНИКА И ТРЕНАЖЕР ДЛЯ МАССАЖА И УСТАНОВКИ ПОЗВОНКОВ
(57) Реферат:
Изобретение относится к области медицины и может быть использовано для массажа и установки сдвинутых позвонков влево или вправо от оси позвоночника самим пациентом. Тренажер для массажа и установки позвонков содержит основание с расположенными на его контактной поверхности рядами массажными элементами, разделенными выемкой. Тренажер снабжен телескопической стойкой, установленной в основании стойки и шарнирно соединенной с телескопической П-образной тягой, закрепленной на телескопической стойке с возможностью перемещения по ней. Основание тренажера закреплено на стойке, его боковые грани выполнены под углом <90°. Телескопическая стойка и телескопическая П-образная тяга имеют механизмы крепления соответственно по высоте стойки и по длине тяги. Способ восстановления функционального состояния организма путем коррекции позвоночника реализуют тренажером для массажа и установки позвонков. Давление во фронтальной и сагиттальной плоскости на зону смещения позвонка осуществляют посредством упора руками в П-образную тягу тренажера, а спины на массажные элементы тренажера и затем позвоночника на боковую грань основания тренажера, при этом позвоночник одновременно растягивают по вертикали весом пациента путем подгибания коленей. Технический результат – возможность самостоятельной коррекции позвоночника самим пациентом. 2 н. и 1 з.п. ф-лы, 10 ил. 
Изобретение относится к области медицины и может быть использовано для восстановления функционального состояния организма путем коррекции позвоночника с помощью тренажера для массажа и установки позвонков.
Известен способ лечения остеохондроза позвоночника и профилактики вертоброгенных заболеваний (патент №2005456, опубл. 15.01.1994), включающий диагностику смещения позвонков по выявленному дефансу мышц спины и его устранения путем давления в сагиттальной плоскости с помощью эластичного элемента. Диагностика и установка позвонка требует высокой квалификации профессионала.
Известно устройство для лечения позвоночника (патент №2003319, опубл. 30.11.1993, прототип), содержащее основание с расположенными на верхней его части парой массирующих элементов. С помощью тренажера разгружают перенапряженные мышцы позвоночника.
К недостаткам можно отнести отсутствие возможности по быстрой установке позвонков самим пациентом.
Выявлена главная причина многих заболеваний – от нервов, защемленных сдвинутыми позвонками, что ведет к нарушению иннервации органов, закрытию клапанов на аорте и открытию на вене, вследствие этого резко падает объем циркуляции крови, лимфы, количество подвода с кровью энергии, кислорода к клеткам органов. Наступает гипоксия, иммунодефицит, работоспособность органов падает до 5% при норме 100%. Нарушается течение энергий по миридиан-каналам и лимфостаз наступает при отключении лимфатического меридиан-канала.
Задачей изобретения явилась разработка способа восстановления иннервации органов с использованием тренажера для массажа и установки позвонков самим пациентом.
Технический результат – возможность самостоятельной коррекции позвоночника.
Технический результат достигается за счет того, что тренажер для массажа и установки позвонков содержит основание с расположенными на его контактной поверхности рядами массажными элементами, разделенными выемкой, и снабжен телескопической стойкой, установленной в основании стойки и шарнирно соединенной с телескопической П-образной тягой, закрепленной на телескопической стойке с возможностью перемещения по ней, при этом основание тренажера закреплено на стойке, его боковые грани выполнены под углом <90°, а телескопическая стойка и телескопическая П-образная тяга имеют механизмы крепления соответственно по высоте стойки и по длине тяги.
В выемке могут быть расположены массажные элементы в виде роликов, а глубина сечения выемки адекватна высоте позвонков.
Способ восстановления функционального состояния организма путем коррекции позвоночника заключается в том, что тренажером для массажа и установки позвонков осуществляют давление во фронтальной и сагиттальной плоскости на зону смещения позвонка посредством упора руками в П-образную тягу тренажера, а спины на массажные элементы тренажера и затем позвоночника на боковую грань основания тренажера, при этом позвоночник одновременно растягивают на вертикали весом пациента путем подгибания коленей.
Сущность изобретения поясняется графическими материалами.
На фиг.1-10 изображены варианты тренажера для осуществления способа восстановления функционального состояния организма, в частности, для коррекции позвоночника.
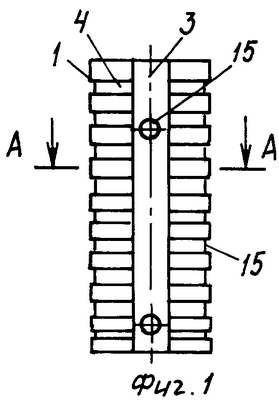
На фиг.1 изображен тренажер, общий вид, с продольными впадинами;
на фиг.2 – разрез А-А тренажера;
фиг.3 – тренажер, общий вид, с продольными и поперечными впадинами;
фиг.4 – разрез Б-Б фиг.3;
фиг.5 – тренажер, общий вид, контактная поверхность выполнена из роликов;
фиг.6 – разрез В-В фиг.5;
фиг.7 – тренажер, общий вид, в выемке расположены ролики;
фиг.8 – разрез Г-Г фиг.7;
фиг.9 – телескопическая стойка тренажера, вид сбоку;
фиг.10- тренажер, вид спереди, массажные элементы выполнены в виде пирамид.
Тренажер 1 содержит основание 2 с расположенными на его верхней части массажными элементами (МЭ), разделенными выемкой 3.
МЭ выполнены в виде рядов выступов с чередующими поперечными 4 и продольными впадинами 5, или в виде рядов роликов 6. Боковые грани 7 основания 2 выполнены под углом <90°.
Основание 2 тренажера 1 закреплено на телескопической стойке 8, к которой крепится телескопическая П-образная тяга 9, имеющая шарнирный узел 10, механизмы крепления 11, 12 по высоте стойки и по длине тяги 9.
На фиг.7, 9 МЭ на верхней части основания 2 не показаны.
На фиг.10 МЭ выполнены в виде пирамид 13, стрелками показаны передвижения П-образной тяги 9 в горизонтальной, а на фиг.9 – в вертикальной плоскости. 14 – шарнирный механизм.
Отверстия 15 служат для закрепления тренажера. 16 – болт для крепления стойки 8, 17 – основание стойки 8.
Способ восстановления функционального состояния организма с использованием предлагаемого тренажера осуществляется в следующей последовательности.
Вариант I.
Тренажер 1 (фиг.1, 3, 5, 7), имеющий различные конфигурации МЭ, закрепляют на дверной коробке винтами через отверстия 1. Вначале производят массаж мышц спины, опираясь на МЭ, а руками – на дверную коробку. Одновременно растягивают мышцы, позвоночник весом тела, подгибая и выпрямляя колени.
Затем переходят к установке на природное место сдвинутых позвонков (СИ, ЭПР<100%).
Например, позвонки грудного отдела №1, 2, 3, 6-12 сместились влево. Перемещают параллельно позвоночник на боковую грань 7 и надавливают на него до тех пор, пока позвонки не станут на место (СИ, ЭПР – 100%). Потом повторяют действия на другой стороне позвоночника, так как обычно позвонки №4, 5 сдвигаются вправо.
При правке позвонков позвоночник растягивают.
Вариант II.
Тренажер 1 (фиг.9, 10) закрепляют на телескопической стойке 8, на необходимой для пациента высоте, используя отверстия 11 на стойке 8. Тягу 9 поднимают вертикально вверх и становятся спиной к МЭ тренажера 1. Опускают тягу 9. Длина тяги 9 должна подбираться так, чтобы можно было усилиями упирающих рук в тягу 9 давить на мышцы спины, позвоночник. Механизм крепления 12 служит для фиксации П-образной тяги 9 на нужном расстоянии.
Массаж и правку позвонков выполняют, как и в I варианте. Шарнирный узел 10 тяги 9 позволяет выполнять различные движения тела, рук, чтобы производить массаж и коррекцию позвоночника.
В большинстве случаев позвонки смещаются группами влево и вправо. Например, в поясничном отделе позвонки №4, 5 смещаются вправо, а №1-3 – влево.
Использование тренажера в каждой семье позволит все позвонки быстро ставить слева, а потом справа.
Тренажер при эксплуатации показал отличные результаты. Не было случая, чтобы смещенные позвонки уходили за осевую линию, т.к. боковая грань 7 доходит до позвоночника и упирается в него.
Боковая грань 7 выполняется с углом 90°, чтобы надежнее фиксировать на нем сдвинутые позвонки, позвоночник. Можно массировать позвонки, используя ролики (фиг.7).
Формула изобретения
1. Способ восстановления функционального состояния организма путем коррекции позвоночника, отличающийся тем, что тренажером для массажа и установки позвонков по пп.2 и 3 осуществляют давление во фронтальной и сагиттальной плоскостях на зону смещения позвонка посредством упора руками в П-образную тягу тренажера, а спины на массажные элементы тренажера и затем позвоночника на боковую грань основания тренажера, при этом позвоночник одновременно растягивают по вертикали весом пациента путем подгибания коленей.
2. Тренажер для массажа и установки позвонков, содержащий основание с расположенными на его контактной поверхности рядами массажными элементами, разделенными выемкой, отличающийся тем, что он снабжен телескопической стойкой, установленной в основании стойки и шарнирно соединенной с телескопической П-образной тягой, закрепленной на телескопической стойке с возможностью перемещения по ней, при этом основание тренажера закреплено на стойке, его боковые грани выполнены под углом <90°, а телескопическая стойка и телескопическая П-образная тяга имеют механизмы крепления соответственно по высоте стойки и по длине тяги.
3. Тренажер по п.2, отличающийся тем, что в выемке расположены массажные элементы в виде роликов, а глубина сечения выемки адекватна высоте позвонков.
РИСУНКИ
|