|
|
(21), (22) Заявка: 2003117351/14, 11.06.2003
(24) Дата начала отсчета срока действия патента:
11.06.2003
(43) Дата публикации заявки: 27.12.2004
(45) Опубликовано: 10.04.2006
(56) Список документов, цитированных в отчете о поиске:
US 5169309 А, 08.12.1992. RU 2118136 C1, 27.08.1998. EP 10 21996 A1, 12.01.2000. US 4863383 A, 05.09.1989.
Адрес для переписки:
367027, г.Махачкала, пр-кт Акушинского, 32а, кв.4, К.М. Абдуллаеву
|
(72) Автор(ы):
Абдуллаев Фикрет Мавлудинович (RU), Абдуллаев Камал Мавлудинович (RU)
(73) Патентообладатель(и):
Абдуллаев Фикрет Мавлудинович (RU), Абдуллаев Камал Мавлудинович (RU)
|
(54) ДЕНТАЛЬНЫЙ ИМПЛАНТАТ (ВАРИАНТЫ) И СПОСОБ ВНУТРИКОСТНОЙ ИМПЛАНТАЦИИ
(57) Реферат:
Изобретение относится к медицине, в частности к ортопедической стоматологии, и может быть использовано для фиксации зубных протезов. Технический результат – упрощение хирургических и ортопедических процедур лечения, создание дозированной компрессии костной ткани, равномерное распределение нагрузок и повышение силы первичной фиксации имплантата. Дентальный имплантат состоит из соединенных между собой посредством резьбового соединения внутрикостной части с резьбой и внекостной части или головки имплантата с внутренней резьбой. Внекостная часть или головка имплантата содержит вдоль продольной оси внутреннее резьбовое отверстие и внутренний шестигранник. Способ внутрикостной имплантации заключается в том, что под местной анестезией цилиндрическими фрезами сквозь десну последовательно создают цилиндрическое отверстие, имеющее диаметр меньше диаметра имплантата на величину профиля его резьбы и на глубину, равную длине имплантата. Конической фрезой производят сверление на глубину, равную длине пришеечной части имплантата, создавая ложе, в которое вводят имплантат, нарезая ответную резьбу вращением имплантата и создавая компрессию в костной ткани, имплантат погружается на заданную глубину. В сроки от 1 до 30 суток проводят ортопедический этап. 5 н. и 12 з.п. ф-лы, 7 ил. 
Данное изобретение относится к медицине, а именно к хирургической и ортопедической стоматологии, и может быть использовано для фиксации зубных протезов.
Наиболее близким к предложенному является стоматологический имплантат (Патент RU №2204356, А 61 С 8/00, 2001), состоящий из соединенных между собой посредством посадочного конуса и резьбового соединения внутрикостной части и внекостной части, при этом внутрикостная часть содержит коническую пришеечную часть с конической многозаходной резьбой и апикальную частью с шагом резьбы 0,75-1,5 мм, а внекостная часть последовательно состоит из следующих элементов: усеченного посадочного конуса с резьбой, десневого конуса, коронковой части, имеющую цилиндрический поясок, циркулярный уступ и усеченный конус с внутренней резьбой.
Известные системы имплантатов имеют (внекостные части) заглушки и формирователи десны с внутренним шестигранником, которые вводятся в имплантат с помощью шестигранной отвертки, а также содержат головку имплантата (внекостная часть, абатмент) с внутренней резьбой, которая вводится в имплантат с помощью специального инструмента (адаптера). Недостатки конструкций в том, что для введения головки имплантата в имплантат необходим специальный инструмент. Головка имплантата своей конической коронковой частью сопрягается с внутренним конусом инструмента и фиксируется резьбой. При изменении размера головки имплантата необходимо изменять размер инструмента для введения, что усложняет систему (набор) имплантатов. Для разъединения инструмента и головки после ее введения в имплантат необходимо применять гаечный и трещоточный ключи, что значительно усложняет хирургические и ортопедические процедуры лечения.
Из уровня техники известно, что установка имплантатов производится с компрессией или без компрессии костной ткани. В первом случае создается необходимая первичная фиксация, без которой невозможно проведение раннего протезирования (от 1-го дня – до 1 месяца) и непосредственной имплантации в лунку удаленного зуба. Во втором случае необходимая сила фиксации имплантата в костной ткани достигается за счет вторичной фиксации – прорастания костной ткани, т.е. через 3-6 месяцев. Компрессия создается, если проводится затяжка винтового имплантата или он вводится с самонарезанием ответной резьбы. Создание дозированной компрессии костной ткани возможно, если имплантат имеет коническую пришеечную часть или шейку, которая больше диаметра резьбы имплантата и при затяжке она упирается в кортикальный слой. Большинство конструкций винтовых имплантатов имеют шаг резьбы 0,6 мм, несмотря на то, что многие из них называются самонарезающими, создать ответную резьбу в губчатой кости таким имплантатом не всегда возможно.
Согласно традиционной методике установки имплантата введение имплантата проводится с минимальной компрессией костной ткани резьбой имплантата, используя малый шаг резьбы, низкий профиль резьбы и предварительное нарезание резьбы метчиками.
Таким образом, с помощью известных методик и конструкций имплантатов (одноэтапных и двухэтапных) не всегда возможно создать достаточную силу первичной фиксации имплантата в костной ткани. Протезирование проводят через 3-6 месяцев, так как только в эти сроки за счет прорастания костной ткани (вторичной фиксации) достигается необходимая сила фиксации имплантата, что затягивает сроки лечения.
Наиболее близким к предложенному является способ внутрикостной имплантации (RU 2202982, A 61 C 8/00, от 20.12.2001), при котором применяют двухэтапную (двухфазную) методику имплантации и конструкцию имплантата.
Известные конструкции одноэтапных имплантатов не имеют сочетания конической резьбы на пришеечной части и резьбу с высотой профиля 0,4-1,0 мм (шурупа) на апикальной части, поэтому не могут создать достаточную силу фиксации в костной ткани и длительную (2-4 недели), дозированную компрессию на губчатую костную ткань до воздействия функциональных нагрузок.
Имплантаты, имеющие цилиндрический полированный край (шейку) не создают равномерного распределения нагрузок на всю толщину кортикальной кости.
Целью данного изобретения является упрощение введения внекостной части в имплантат, повышение силы первичной фиксации имплантата в костной ткани, сокращение сроков лечения, упрощение введения имплантата, формирование оптимального десневого края.
Техническим результатом является упрощение хирургических и ортопедических процедур лечения, создание дозированной компрессии костной ткани, равномерное распределение нагрузок и повышение силы первичной фиксации имплантата.
Технический результат достигается за счет того, что стоматологический имплантат, состоящий из соединенных между собой внутрикостной части и внекостной части или головки, содержит внекостную часть – головку имплантата, которая выполнена с конической десневой частью, внутренней резьбой (резьбовым каналом, глухое отверстие с резьбой) и внутренним шестигранником для введения головки в имплантат.
Технический результат достигается также за счет использования двух видов резьбы на внутрикостной поверхности имплантата: многозаходной резьбы на пришеечной части и резьбы с шагом от 0,7 до 2,0 мм, с высотой профиля 0,3-1,2 мм, на апикальной части, причем ход резьбы пришеечной части равен ходу резьбы апикальной части, при этом диаметр резьбы апикальной части меньше диаметра шейки имплантата.
Технический результат достигается также за счет того, что стоматологический имплантат, состоящий из внутрикостной части, содержащую апикальную часть с резьбой, пришеечную часть с многозаходной резьбой и внекостной части – головки, выполнен неразъемным (цельным), т.е. внутрикостная часть выполнена заодно с внекостной.
Технический результат достигается также за счет того, что стоматологический имплантат, состоящий из внутрикостной части с резьбой и внутреннего посадочного отверстия (конического или цилиндрического), внутренней резьбой имеет на стенках посадочного отверстия шлицы для введения имплантата в костную ткань.
Технический результат может достигаться также за счет того, что стоматологический имплантат, имеющей скошенный под углом 45° поясок, выполнен с пояском от 5 до 85° (угол может иметь значение в пределах от 0 до 90°), ниже которого расположен второй конический поясок (шейка). Поясок может быть отполирован или обработан пескоструйным методом.
Технический результат достигается также за счет использования способа однофазной (одноэтапной) имплантации, без отслаивания слизисто-надкостничного лоскута, компрессионного введения в костную ткань одноэтапного имплантата с шагом резьбы 0,7-1,6 мм, с высотой профиля резьбы 0,4-1,0 мм на апикальной части и конической пришеечной частью с многозаходной резьбой, содержащего головку имплантата с десневой частью и проведением протезирования в сроки от 1 до 30 суток после имплантации.
Сущность изобретения поясняет Фиг.1-7.
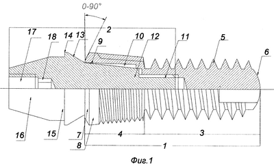
Имплантат состоит из внутрикостной 1 и внекостной 2 частей (Фиг.1). Внутрикостная часть может состоять из апикальной 3 и пришеечной 4 части. Внутрикостная часть имплантата или его апикальная часть выполнена в виде винта с шагом резьбы от 0,7 до 2,0 мм, с высотой профиля 0,3-1,2 мм, апикальная часть при этом обычно выполняется в виде самонарезающего винта. Высота профиля резьбы может изменяться за счет изменения угла профиля резьбы и контура резьбы. Резьба на апикальной (внутрикостной) части имплантата может быть выполнена треугольного или специального профиля, может быть упорной или трапецеидальной, или конической, или метрической.
Резьбовой выступ 5 может быть выполнен с неполным профилем, усеченным профилем, со скосом, с закруглением на вершине и в основании или притуплен. Имплантат может иметь неполный профиль резьбы и конический участок на конце апикальной части. Окончание апикальной части 6 выполнено закругленным, может быть выполнено плоским, может иметь отверстие, антиротационные фаски (выбранные фрезой участки).
Внутрикостная часть имплантата или его апикальная часть может быть выполнена конической или цилиндрической формы. Пришеечная часть 4 обычно конической формы, с многозаходной резьбой имеет скошенный поясок 7 и второй поясок 8 (шейку, цервикальную часть) конический или цилиндрический, который может быть отполирован или обработан пескоструйным методом. Поясок может быть отполирован или обработан пескоструйным методом на большую или меньшую часть или наполовину по своей окружности.
Скошенный поясок 7 имеет обычно угол скоса от 5 до 85° (может иметь значение от минимально близкого к 0 до максимально близкого к 90°). Поясок может быть отполированным или обработан пескоструйным методом. Поясок может быть отполирован или обработан пескоструйным методом на большую или меньшую часть или наполовину по своей окружности. Угол скоса и метод обработки пояска позволяют контролировать глубину погружения имплантата в кости, что позволяет формировать оптимальную форму мягких тканей (десневой край) и эстетичный вид протеза. Внутри имплантат имеет посадочное (Фиг.5) отверстие – коническое (посадочный конус) 9 или цилиндрическое. На стенках посадочного отверстия (конуса) 9 выполнены шлицы 10, которые могут быть треугольной, прямоугольной, закругленной формы, а также в форме трапеции.
Количество шлицев может быть от 1 до 12, сочетание шлицев может образовывать многоугольные фигуры (Фиг.6, 7) (треугольник, квадрат, шестигранник и т.д.). Обычно на стенках посадочного конуса, ниже наружного края выполнены четыре шлица, равноудаленные друг от друга. Шлицы могут служить для введения имплантата в костную ткань, а также для соединения с головками имплантатов, имеющими ответные шлицы или шестигранник.
Имплантат может иметь два шлица, расположенные напротив друг друга, для введения плоской шлицевой отверткой.
Имплантат может иметь четыре шлица, расположенные крестообразно, для введения крестообразной и плоской шлицевой отверткой (инструментом).
Как вариант выполнения, имплантат может иметь на стенках посадочного отверстия, ниже наружного края, равноудаленные шлицы треугольной формы, образуя при этом в сечении фигуры (треугольник, квадрат и другие многогранники).
Имплантат может быть выполнен с посадочным конусом, на котором имеется коническая резьба для соединения с внекостной частью. Для введения в костную ткань ниже посадочного конуса может быть выполнен шестигранник (шестигранный канал), размеры которого совпадают (могут совпадать) с размерами внутреннего шестигранника головки имплантата (внекостной части).
Внекостная часть 2 (Фиг.2) состоит из следующих элементов: коронкового усеченного конуса 16 с цилиндрическим пояском 15, уступом 14, десневого конуса 13, усеченного посадочного конуса 12 и наружной резьбы 11 (стержня с резьбой), внутри имеет резьбу 17, под которой выполнен шестигранник 18, т.е. внекостная часть имеет центральное (глухое) отверстие вдоль продольной оси, которое вначале выполнено с внутренней резьбой 17, а затем заканчивается внутренним шестигранником (шестигранным каналом) 18. Диаметр резьбы от 1,6 до – 2,5 мм; размер шестигранника от 1 мм до – 2,5 мм. Внекостная часть может выполняться с коронковым посадочным конусом 6, который начинается непосредственно от посадочного конуса 12, при этом скошенный поясок 7 выполняет роль уступа и может быть выполнен со скосом или под прямым углом к продольной оси имплантата
Внекостная часть может выполняться с внутренним шестигранником над резьбой, при этом размер шестигранника больше диаметра резьбы. Длина десневого конуса может изменяться от 0,5 до 5 мм за счет изменения величины угла конуса, что позволяет подбирать головку имплантата в зависимости от толщины десны. Для фиксации коронки применяется фиксирующий винт с внутренним шестигранником, размеры которого совпадают с размерами внутреннего шестигранника головки имплантата.
Внекостная часть может выполняться разъемной с фиксирующим винтом. Имплантат и внекостные части изготавливаются из сплавов титана марки ВТ1-0, ВТ1-00, ВТ6, по ГОСТ 19807, а также Gradel-GradeIV – ASTM F67-89 и ISO 5831/II. Внутрикостная поверхность имплантата может обрабатываться пескоструйным или другим методом модификации поверхности или покрытия (гидрокиапатит).
Имплантат выполняется также в виде одноэтапной конструкции (Фиг.3). При этом имплантат состоит из внутрикостной 1 части, выполненной заодно с внекостной 2 частью (соединенных неразъемным соединением). Внутрикостная часть состоит из апикальной 3 и пришеечной 4 части. Апикальная часть выполнена в виде самонарезающего винта (шурупа) с шагом резьбы от 0,7 до 2,0 мм, с высотой профиля 0,3-1,2 мм. Высота профиля резьбы может изменяться за счет угла профиля резьбы и контура резьбы. Резьбовой выступ 5 может быть выполнен с неполным профилем, усеченным профилем, со скосом, с закруглением на вершине и в основании или с притуплением. Окончание апикальной части 6 выполнено плоским, может быть выполнено закругленным, с притуплением, иметь отверстие на торце, антиротационные фаски. Апикальная часть может быть выполнена конической или цилиндрической формы. Пришеечная часть 4, обычно конической формы может иметь поясок поясок 8 (шейку, цервикальную часть). На пришеечной части выполнена коническая или цилиндрическая многозаходная резьба.
Внекостная часть обычно имеет десневую часть 19 (закругленную или коническую) с уступом 14, цилиндрической частью 15, коронковый посадочный конус 16, с внутренней резьбой 17 вдоль продольной оси и шестигранником 18. Длина десневой части от 0,5 до 6 мм, что позволяет подбирать имплантат в зависимости от толщины десны.
Внекостная часть (головка имплантата) может выполняться разъемной выше десневого конуса, с фиксирующим винтом, что позволяет подбирать длину коронковой части в зависимости от межальвеолярного расстояния.
Коронковый посадочный конус 16 с резьбой 17 и шестигранником 18 может начинаться непосредственной от внутрикостной части (Фиг.4), при этом скошенный поясок 7 выполняет роль уступа и может быть выполнен со скосом или под прямым углом к продольной оси имплантата. Для введения имплантата в костную ткань внекостная часть обычно содержит прямой или крестообразный шлиц 20 на коронковом посадочном конусе; может иметь наружный шестигранник в основании коронкового конуса, а также фаски на поверхности конуса. Имплантат и внекостные части изготавливаются из сплавов титана марки ВТ1-0, ВТ1-00, ВТ6, по ГОСТ 19807, а также Gradel-GradeIV – ASTM F67-89 и ISO 5831/II. Внутрикостная поверхность имплантата может изменяться пескоструйным или другим методом (модификации) обработки или покрытия поверхности.
Способ имплантации с использованием имплантата и головки
При проведении внутрикостной имплантации в беззубом участке альвеолярного отростка формирование ложа имплантата производят с отслаиванием или без отслаивания слизисто-надкостничного лоскута – через десну. Вначале формируют отверстие в десне при помощи мукотома или фрезы, затем формируют отверстие в костной ткани, последовательно начиная с меньшего диаметра и завершая фрезой, имеющей диаметр, равный диаметру стержня имплантата, создают цилиндрическое отверстие на глубину, равную длине имплантата. Затем конической фрезой, имеющей диаметр, меньший диаметра имплантата на величину профиля резьбы, производят сверление на глубину, равную длине пришеечной части имплантата, создавая, таким образом, ложе для имплантата. Имплантат вводят в костную ткань, нарезая ответную резьбу вращением имплантата, за счет чего и за счет фиксации (упора) конической пришеечной части и шейки имплантата в кортикальную кость (в коническом ложе кортикальной кости) создается дозированная компрессия в костной ткани.
Методика использования головки имплантата
По традиционной методике установку головки производят во время ортопедического этапа, т.е. после установки формирователя десны и заживления слизистой. Однако при проведении раннего протезирования установка формирователя десны в большинстве случаев не является обязательной и лишь затягивает сроки лечения. При ранних нагрузках вообще различие между одноэтапной и двухэтапной методикой практически не существует. Поэтому использование головки имплантата с коническим контуром десневой части позволяет производить ее установку во время второго хирургического этапа, что сокращает сроки и стоимость лечения. Через небольшое отверстие, созданное в десне, с помощью шестигранной отвертки производят выкручивание заглушки имплантата, затем при помощи того же инструмента устанавливают голову имплантата. Коническая десневая часть головки имплантата способствует быстрой адаптации и формированию оптимального контура мягких тканей. Наличие ниже резьбового канала головки внутреннего шестигранника, равного по размерам с шестигранником на заглушке имплантата, позволяет упростить процедуру установки (введения) головки и уменьшить количество инструментов в наборе имплантатов.
Для фиксации коронки применяется фиксирующий винт с внутренним шестигранником, размеры которого (шестигранника) совпадают с размерами внутреннего шестигранника головки имплантата.
Методика проведения одноэтапной имплантации (хирургический этап)
Так как предложенная конструкция имплантата обладает достаточной силой первичной фиксации, то проводят внутрикостную имплантацию с ранней нагрузкой (ранним протезированием) от 1 дня до 8 недель. (Применяют одноэтапную или двухэтапную конструкцию имплантата с головкой).
Под проводниковой или местной анестезией, без проведения разреза и отслаивания слизисто-надкостничного лоскута направляющим сверлом сквозь десну создается направляющий канал в костной ткани.
Далее цилиндрическими фрезами (сверлами, развертками), последовательно начиная с меньшего диаметра и завершая фрезой, имеющей диаметр, равный диаметру стержня имплантата, создают цилиндрическое отверстие, имеющее диаметр, меньший диаметра имплантата на величину профиля его резьбы и на глубину, равную длине имплантата. Затем конической фрезой, имеющей угол конуса, равный углу конуса пришеечной части имплантата, и диаметр, меньший диаметра имплантата на величину профиля резьбы на пришеечной части, производят сверление на глубину, равную длине пришеечной части имплантата, создавая, таким образом, ложе для имплантата. С помощью отвертки (шестигранной или шлицевой) или адаптера вводят одноэтапную конструкцию имплантата в костную ткань, создавая дозированную компрессию костной ткани, нарезая ответную резьбу вращением имплантата и за счет фиксации (упора) конической пришеечной части и шейки имплантата в кортикальную кость (в коническом ложе кортикальной кости). Изменяя шаг резьбы и высоту профиля, можно дозировать компрессию для разного типа кости.
При введении имплантат погружается в костную ткань на заданную глубину, а уступ головки имплантата находится на уровне или немного ниже уровня слизистой оболочки полости рта. Затем в сроки от 1 до 30 суток проводят ортопедический этап, при котором проводят снятие слепков и фиксацию коронки с помощью винта и/или цемента.
Как вариант выполнения, отверстие в десне создается вначале пробойником (мукотомом) или с помощью электрокоагулятора, или лазера, или используя фрезу максимального диаметра, а затем проводят сверление и формирование ложа имплантата в костной ткани.
При необходимости способ может выполняться с отслаиванием слизисто-надкостничного лоскута, который после введения имплантата ушивается на уровне десневой части головки имплантата.
Использование «натяга» – чрезмерной затяжки имплантата приведет к неконтролируемым напряжениям в кортикальной и губчатой костной ткани вследствие чрезмерного погружения имплантата в костную ткань и несоответствия размеров сформированного ложа и имплантата.
Если излишние сжатия (компрессия) губчатой кости не очень заметны, то чрезмерные напряжения в кортикальной кости могут привести к перелому участка альвеолярного отростка или челюсти.
Поэтому компрессия дозируется параметрами резьбы имплантата и размерами (с соответствующим допуском) фрезы (сверла), с помощью которого формируется ложе имплантата.
Общая нагрузка должна находиться в пределах действующих в нормальных условиях физиологических функциональных нагрузок.
Так, по данным И.С.Рубинова (1970), сила сжатия интактных зубных рядов в области моляров 80 кгс, а в области передних зубов 40 кгс. По данным L.I. Linkow (1990) средняя сила нагрузки – 20 кгс, а предельная – 68 кгс. Оптимальный (для губчатой кости) шаг резьбы апикальной части имплантата 0,75-1,6 мм, высота профиля 0,4-1,0 мм (в зависимости от типа кости). Эти параметры резьбы являются оптимальными для получения необходимой силы фиксации (не менее силы действующих функциональных нагрузок) имплантата в костной ткани.
Формула изобретения
1. Стоматологический имплантат, состоящий из соединенных между собой посредством резьбового соединения внутрикостной части с резьбой и внекостной части или головки имплантата с внутренней резьбой, отличающийся тем, что внекостная часть или головка имплантата содержит вдоль продольной оси внутреннее резьбовое отверстие и внутренний шестигранник.
2. Стоматологический имплантат по п.1, отличающийся тем, что внутренний шестигранник выполнен в конце резьбового отверстия.
3. Стоматологический имплантат по п.1, отличающийся тем, что внутренний шестигранник выполнен в начале резьбового отверстия.
4. Стоматологический имплантат по п.1, отличающийся тем, что диаметр внутреннего отверстия с резьбой имеет размер от 1,6 до 2,5 мм, а размер шестигранника от 1 до 2,5 мм.
5. Стоматологический имплантат, состоящий из соединенных между собой резьбовым соединением головки имплантата и внутрикостной части, содержащей пришеечную часть с наружной резьбой и апикальную часть, выполненную в виде самонарезающего винта, отличающийся тем, что апикальная часть выполнена с шагом резьбы от 0,7 до 2,0 мм и высотой профиля от 0,3 до 1,2 мм, на пришеечной части резьба выполнена многозаходной, причем ход резьбы пришеечной части равен ходу резьбы апикальной части, внутри имплантата на стенках посадочного конуса, ниже наружного края выполнены шлицы, головка имплантата выполнена с внутренней резьбой и внутренним шестигранником.
6. Стоматологический имплантат по п.5, отличающийся тем, что резьба на апикальной части выполнена упорной.
7. Стоматологический имплантат по п.5, отличающийся тем, что резьба на апикальной части выполнена трапецеидальной.
8. Стоматологический имплантат по п.5, отличающийся тем, что угол скоса скошенного пояска пришеечной части имеет значение в пределах от 0 до максимально близкого к 90°.
9. Стоматологический имплантат по п.5, или 6, или 7, или 8, отличающийся тем, что внутрикостная часть имеет конический поясок-шейку, при этом диаметр резьбы апикальной части меньше диаметра шейки имплантата.
10. Стоматологический имплантат по п.5, отличающийся тем, что для введения внутрикостной части в костную ткань ниже посадочного конуса выполнен шестигранник.
11. Стоматологический имплантат, состоящий из внутрикостной части, содержащей коническую пришеечную часть с резьбой, апикальную часть, выполненную в виде самонарезающего винта и внекостной части с внутренней резьбой, отличающийся тем, что внутрикостная часть выполнена заодно с внекостной, при этом апикальная часть выполнена в виде самонарезающего винта с шагом резьбы от 0,7 до 2,0 мм и высотой профиля от 0,3 до 1,2 мм, пришеечная часть содержит многозаходную резьбу, внутрикостная часть имеет коронковый посадочный конус с внутренней резьбой вдоль продольной оси и внутренним шестигранником.
12. Стоматологический имплантат по п.11, отличающийся тем, что внекостная часть имеет десневую часть с уступом и коронковый конус с прямым или крестообразным шлицем для введения имплантата в костную ткань.
13. Стоматологический имплантат, состоящий из внутрикостной части с резьбой, содержащий внутренне посадочное отверстие и внутреннюю резьбу, отличающийся тем, что на стенках посадочного отверстия выполнены шлицы.
14. Стоматологический имплантат по п.13, отличающийся тем, что имеет два шлица, расположенные напротив друг друга.
15. Стоматологический имплантат по п.13, отличающийся тем, что имеет четыре шлица, расположенные крестообразно.
16. Стоматологический имплантат по п.13, или 14, или 15, отличающийся тем, что шлицы на стенках посадочного конуса выполнены ниже наружного края отверстия.
17. Способ внутрикостной имплантации, отличающийся тем, что под местной анестезией цилиндрическими фрезами сквозь десну последовательно создают цилиндрическое отверстие, имеющее диаметр меньше диаметра имплантата на величину профиля его резьбы и на глубину, равную длине имплантата, затем конической фрезой производят сверление на глубину, равную длине пришеечной части имплантата, создавая ложе, в которое вводят имплантат, нарезая ответную резьбу вращением имплантата и создавая компрессию в костной ткани, при этом имплантат погружается на заданную глубину, затем в сроки от 1 до 30 суток проводят ортопедический этап, при котором проводят снятие слепков и фиксацию коронки.
РИСУНКИ
|
|