|
|
(21), (22) Заявка: 2004124063/12, 07.01.2003
(24) Дата начала отсчета срока действия патента:
07.01.2003
(30) Конвенционный приоритет:
30.04.2002 (пп.1-6) JP 2002-128953
(43) Дата публикации заявки: 10.03.2005
(45) Опубликовано: 10.04.2006
(56) Список документов, цитированных в отчете о поиске:
US 5829449 А, 03.11.1998. RU 2097997 C1, 10.12.1997. ЧИЧИБАБИН А.Е. Основные начала органической химии. – М.: Мосхимиздат, 1963, с.775-799. US 4300577 А, 17.11.1981.
(85) Дата перевода заявки PCT на национальную фазу:
09.08.2004
(86) Заявка PCT:
JP 03/00040 (07.01.2003)
(87) Публикация PCT:
WO 03/056945 (17.07.2003)
Адрес для переписки:
129010, Москва, ул. Б.Спасская, 25, стр.3, ООО “Юридическая фирма Городисский и Партнеры”, пат.пов. А.В.Мицу
|
(72) Автор(ы):
ТАРОРА Масафуми (JP), КАТАЯМА Казухико (JP), ХАСЕГАВА Такаси (JP)
(73) Патентообладатель(и):
ДЖАПАН ТОБАККО ИНК. (JP)
|
(54) СИГАРЕТА И СИГАРЕТНЫЙ ФИЛЬТР
(57) Реферат:
Основную аминокислоту или соль основной аминокислоты добавляют в сигарету или сигаретный фильтр. Желательно добавлять основную кислоту или соль основной аминокислоты в количестве, по меньшей мере, 1 мг/сигарета. Также желательно добавлять основную аминокислоту или соль основной аминокислоты к сигарете или сигаретному фильтру в виде водного раствора. Кроме того, можно добавлять поверхностно-активное вещество к сигарете или сигаретному фильтру вместе с основной аминокислотой или солью основной аминокислоты. Технический результат – эффективное снижение содержания альдегидов в сигаретном дыме основного потока, предотвращение ухудшения вкуса сигареты. 2 н. и 4 з.п. ф-лы, 3 ил., 7 табл. 
Настоящее изобретение относится к сигарете с низким содержанием альдегидов в дыме основного потока и к сигаретному фильтру, который позволяет снизить содержание альдегидов в дыме основного потока.
Различные химические компоненты содержатся в дыме основного потока, т.е. в дыме, вдыхаемом курильщиком при курении сигареты. Среди этих химических компонентов имеются альдегиды, в частности формальдегид, которые трудно удалить адсорбцией обычным сигаретным фильтром. Поэтому желательно удалять альдегиды из сигаретного дыма основного потока.
В прошлом предпринимались попытки использовать различные добавки в сигаретных фильтрах для удаления адсорбцией альдегидов, содержащихся в сигаретном дыме основного потока. Однако использование известных добавок вызывает проблемы. Например, ухудшается вкус сигареты.
Задача настоящего изобретения состоит в создании сигареты и сигаретного фильтра, позволяющих эффективно снизить содержание альдегидов в сигаретном дыме основного потока, и который также позволяет подавить такие вредные эффекты, как ухудшение вкуса сигареты.
Согласно первому объекту настоящего изобретения предлагается сигарета, содержащая основную аминокислоту или соль основной аминокислоты.
Согласно второму объекту настоящего изобретения предлагается сигаретный фильтр, содержащий основную аминокислоту или соль основной аминокислоты.
Согласно изобретению основная аминокислота или соль основной аминокислоты предпочтительно содержится в количестве, по меньшей мере 1 мг/сигарета. Предпочтительно, основную аминокислоту или соль основной аминокислоты добавляют в сигарету или сигаретный фильтр в виде водного раствора. Также предпочтительно, сигарета или сигаретный фильтр по изобретению дополнительно содержат поверхностно-активное вещество.
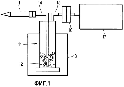
На фиг.1 схематично показана конструкция устройства для измерения количества формальдегида, содержащегося в сигаретном дыме основного потока, которое использовалось при осуществлении примеров настоящего изобретения.
На фиг.2 представлен вид в сечении конструкции сигареты, использованной при осуществлении примеров настоящего изобретения;
на фиг.3 представлен вид в сечении конструкции сигаретного фильтра, использованного при осуществлении другого примера настоящего изобретения.
В результате обширных исследований различных путей снижения содержания альдегидов в сигаретном дыме основного потока авторы настоящего изобретения обнаружили, что основная аминокислота или соль основной аминокислоты эффективно снижают содержание альдегидов в сигаретном дыме основного потока. Основная аминокислота или соль основной аминокислоты включает, например, аргинин, соль аргинина, лизин, соль лизина, гистидин, соль гистидина, орнитин, соль орнитина, цитруллин, соль цитруллина, гидроксизин и соль гидроксизина. В частности, аргинин и его соль разрешены для использования в качестве пищевых добавок.
Настоящее изобретение не ограничивает ту часть сигареты, к которой добавлена основная аминокислота или соль основной аминокислоты. Например, основная аминокислота или основная соль аминокислоты может быть добавлена к любому нарезанному табаку, сигаретной обертке и фильтру.
Сигаретный фильтр по изобретению может быть фильтром, установленным с вдыхаемой стороны табачной части сигареты, или может быть фильтром в виде мундштука для сигареты.
В сигарете или сигаретном фильтре по изобретению основная аминокислота или соль основной аминокислоты содержится в количестве, по меньшей мере, 1 мг/сигарета. Если количество основной аминокислоты или соли основной аминокислоты будет меньше вышеуказанного количества, то трудно достичь достаточного эффекта снижения содержания альдегидов в сигаретном дыме основного потока.
Если основную аминокислоту или соль основной аминокислоты использовать в присутствии воды, эффект снижения содержания альдегидов в сигаретном дыме основного потока может быть увеличен.
Эффект снижения содержания альдегида в сигаретном дыме также может быть увеличен в случае, когда основную аминокислоту или соль основной аминокислоты используют вместе с поверхностно-активным веществом. Понятно, что водный раствор, содержащий поверхностно-активное вещество и основную аминокислоту или соль основной аминокислоты, имеет улучшенную смачиваемость, обеспечивая достаточное диспергирование основной аминокислоты или соли основной аминокислоты, в результате чего содержание альдегида в сигаретном дыме основного потока снижается. Поверхностно-активное вещество, используемое в настоящем изобретении, включает такие ионные поверхностно-активные вещества, как сорбат калия, олеат натрия и лаурат натрия, и такие неионогенные поверхностно-активные вещества, как лаурат сахарозы, миристат сахарозы, пальмитат сахарозы и стеарат сахарозы, хотя используемое в изобретении поверхностно-активное вещество не ограничивается указанными выше примерами.
Примеры
В методе определения содержания альдегидов в сигаретном дыме основного потока, использованном в следующих примерах, осуществляли измерение производного 2,4-динитрофенилгидразина (ДНФГ) – вещества-ловушки – с помощью высокоэффективной жидкостной хроматографии (ВЭЖХ). Вещества, содержание которых может быть одновременно определено этим методом, включают восемь компонентов, в том числе формальдегид, ацетальдегид, ацетон, акролеин, пропиональдегид, кротональдегид, метилэтилкетон и н-бтилальдегид. Следующие примеры касаются определения формальдегида среди прочих альдегидов (карбонильных соединений), содержание которых было измерено.
На первой стадии приготавливали раствор вещества-ловушки путем растворения 9,51 г 2,4-динитрофенилгидразина (ДНФГ) в 1 л ацетонитрила с последующим добавлением 5,6 мл 60%-ной надхлорной кислоты и дальнейшим разбавлением полученного раствора сверхчистой водой до 2 л.
Конструкция измерительного устройства поясняется со ссылкой на фиг.1. Как показано на чертеже, раствор вещества-ловушки ДНФГ 12 помещали в ловушку 11 Дрекселя (Drechsel). Ловушка 11 Дрекселя имела внутренний объем 250 мл, количество раствора ДНФГ – 100 мл, неиспользуемый объем – 150 мл. Ловушку Дрекселя 11 помещали в водяную баню со льдом 13, чтобы охладить ловушку 11. Нижний конец стеклянной трубки 14, в верхнюю часть которой была вставлена сигарета 1, помещали в раствор 12, находившийся в ловушке 11. Затем стеклянную трубку 15, снабженную прикрепленной к ней Кембриджской прокладкой 16, устанавливали в сообщении с неиспользуемым объемом ловушки Дрекселя 11, а курительную машину 17 соединяли с прокладкой 16.
Сигарету 1 соединяли со стеклянной трубкой 14 так, чтобы обеспечить автоматическое выкуривание сигареты 1 в условиях курения согласно стандартам ISO. В частности, операция всасывания 35 мл дыма за одну затяжку в течение двух секунд для одной сигареты повторялась с интервалом 58 с. При барботировании дыма основного потока формальдегид превращался в производное ДНФГ. Для измерений использовали две сигареты.
Образованное таким образом производное ДНФГ измеряли ВЭЖХ. На первой стадии раствор фильтровали, а затем отфильтрованный раствор разбавляли раствором Trizma Base (4 мл раствора вещества-ловушки: 6 мл раствора Trizma Base). Затем разбавленный раствор измеряли методом ВЭЖХ. Условия измерения ВЭЖХ были следующими:
Колонка: HP LiChrosper 100RP-18 (5 мкм) 250·4мм.
Дополнительная (предохранительная) колонка: HP LiChrosper 100RP-18 (5 мкм) 4·4 мм.
Температура колонок: 30°С.
Длина волны детекции: DAD 356 нм.
Инжектируемое количество: 20 мкл.
Подвижная фаза: градиенты по трем фазам (раствор А: сверхчистый водный раствор, содержащий 30% ацетонитрила, 10% тетрагидрофурана и 1% IPA; раствор В: сверхчистый водный раствор, содержащий 65% ацетонитрила, 1% тетрагидрофурана и 1% IPA; раствор С: 100% ацетонитрил.
Конструкция сигареты, использованной в качестве образца, поясняется со ссылкой на вид в сечении на фиг.2. Как показано на чертеже, эта сигарета содержала сигаретную часть 20, в которой находился нарезанный табак 21 в сигаретной обертке 22, и фильтрующую часть 30, содержавшую фильтр 31, обернутый в покровную бумагу 32. Фильтрующая часть 30 была соединена с сигаретной частью 20 мундштучной бумагой 40. Можно использовать, например, ацетатцеллюлозный жгут в качестве материала фильтра.
Кстати, можно использовать несколько разделенных фильтрующих элементов. В этом случае отдельные фильтрующие элементы обертывают по отдельности бумагой для таких элементов, а затем обертывают вместе покровной бумагой с получением фильтрующей части 30.
При тестировании сигареты с исследуемым фильтром, содержащим добавленную к нему основную аминокислоту или соль основной аминокислоты, использовали сигаретную часть, отрезанную от ацетатного фильтра доступной на рынке сигареты, содержавшей 6 мг смолы, и образец получали путем соединения этой сигаретной части с исследуемым фильтром. Основную аминокислоту или соль основной аминокислоты добавляли в исследуемый фильтр с использованием пульверизатора. Затем основную аминокислоту или соль основной аминокислоты добавляли в нарезанный табак, который извлекали из доступной на рынке сигареты. Основную аминокислоту или соль основной аминокислоты добавляли к нарезанному табаку с помощью распылителя, а затем вновь обертывали табак сигаретной оберточной бумагой с получением сигаретной части.
Что касается сигаретной части, полученной отрезанием фильтрующей части от доступной на рынке сигареты, содержавшей 6 мг смолы, содержание формальдегида в основном потоке дыма измеряли методом, описанным выше, с количеством затяжек, равным 7. Было установлено, что содержание формальдегида в дыме составляло 110 мкг.
Пример 1
Приготавливали ацетатный фильтр без пластификатора в качестве базового фильтра А. Также приготавливали исследуемый фильтр путем добавления 35 мг водного раствора, содержавшего 10 вес.% аргинина, к базовому фильтру А с помощью пульверизатора и последующей сушки базового фильтра А в течение 48 часов, причем полученный фильтр содержал 3,5 мг аргинина. Аналогично приготавливали другой исследуемый фильтр путем добавления 35 мг водного раствора, содержавшего 10 вес.% глутамата аргинина, к базовому фильтру А с использованием пульверизатора с последующей сушкой базового фильтра А в течение 48 часов, причем полученный фильтр содержал 3,5 мг глутамата аргинина.
Каждый из приготовленных таким образом фильтров соединяли с сигаретной частью, описанной выше, и измеряли содержание формальдегида (FA) в дыме основного потока вышеописанным методом. В таблице 1 представлены результаты этих измерений. Как видно из данных таблицы 1, сигареты с фильтром, полученным с добавлением аргинина или глутамата аргинина к базовому фильтру А, продемонстрировали достаточный эффект снижения содержания формальдегида в сигаретном дыме основного потока по сравнению с сигаретой с базовым фильтром А.
| Таблица 1 |
| |
FA [мкг] |
Эффективность фильтрования [%] |
| Базовый фильтр А |
36,5 |
66,8 |
| Добавление 3,5 мг аргинина |
21,9 |
80,3 |
| Добавление 3,5 мг глутамата аргинина |
28,3 |
74,3 |
Пример 2
Приготавливали базовый фильтр В добавлением 6 вес.% триацетина в качестве пластификатора к базовому фильтру А. Базовый фильтр В был таким же, что и фильтр коммерческой сигареты. Также приготавливали исследуемый фильтр путем добавления 35 мг водного раствора, содержавшего 10 вес.% аргинина, к базовому фильтру В с последующей сушкой базового фильтра В в течение 48 часов, причем полученный фильтр содержал 3,5 мг аргинина. Аналогично приготавливали другой исследуемый фильтр путем добавления 35 мг водного раствора, содержавшего 10 вес.% глутамата аргинина, к базовому фильтру В с последующей сушкой базового фильтра в течение 48 часов, причем полученный фильтр содержал 3,5 мг глутамата аргинина.
Каждый из приготовленных таким образом фильтров соединяли с сигаретной частью, описанной выше, и измеряли содержание формальдегида (FA) в сигаретном дыме основного потока. В таблице 2 представлены результаты этих измерений. Как видно из данных таблицы 2, сигарета с фильтром, полученным с добавлением аргинина или глутамата аргинина к базовому фильтру В, содержавшему добавленный пластификатор, проявляла достаточный эффект снижения содержания формальдегида в дыме основного потока.
| Таблица 2 |
| |
FA [мкг] |
Эффективность фильтрования [%] |
| Базовый фильтр B |
44,0 |
60,0 |
| Добавление 3,5 мг аргинина |
21,1 |
80,8 |
| Добавление 3,5 мг глутамата аргинина |
34,1 |
69,0 |
Пример 3
Приготавливали три типа фильтров, содержавшие 3,5 мг аргинина, 7,0 мг аргинина и 10,5 мг аргинина, соответственно, путем добавления 35 мг водного раствора, содержавшего 10 вес.% аргинина, 35 мг водного раствора, содержавшего 20 вес.% аргинина, и 35 мг водного раствора, содержавшего 30 вес.% аргинина, соответственно, к базовому фильтру В с последующей сушкой базового фильтра В в течение 48 часов.
Каждый из приготовленных таким образом фильтров соединяли с сигаретной частью, описанной выше, и измеряли содержание формальдегида (FA) в дыме основного потока вышеописанным методом. В таблице 3 представлены результаты этих измерений. Как видно из данных таблицы 3, эффект снижения содержания формальдегида в дыме основного потока улучшается с повышением содержания количества аргинина, добавленного к базовому фильтру В, хотя достаточный эффект достигался уже при добавлении 3,5 мг аргинина к базовому фильтру В.
| Таблица 3 |
| |
FA [мкг] |
Эффективность фильтрования [%] |
| Базовый фильтр B |
44,0 |
60,0 |
| Добавление 3,5 мг аргинина |
21,1 |
80,8 |
| Добавление 7,0 мг аргинина |
25,0 |
77,3 |
| Добавление 10,5 мг аргинина |
20,2 |
81,6 |
Пример 4
Проводили следующие измерения для оценки эффекта снижения содержания формальдегида в основном потоке сигаретного дыма, который обеспечивают аргинин или глутамат аргинина в присутствии воды.
В частности, 35 мг водного раствора, содержащего 10 вес.% аргинина, или 35 мг водного раствора, содержащего 10 вес.% глутамата аргинина, добавляли к базовому фильтру А или базовому фильтру В, как в примере 1 или примере 2, с последующим измерением содержания формальдегида (FA) во вдыхаемом курильщиком дыме сигареты сразу же после добавления водного раствора, как в примере 1 или примере 2. В каждом случае количество добавленного аргинина или глутамата аргинина составляло 3,5 мг. В таблице 4 представлены результаты. Сравнение данных таблицы 4 и таблицы 1 или таблицы 2 показывает, что эффект снижения содержания формальдегида в основном потоке сигаретного дыма повышается в том случае, когда аргинин или глутамат аргинина содержатся вместе с водой.
| Таблица 4 |
| |
FA [мкг] |
Эффективность фильтрования [%] |
| Базовый фильтр А |
36,5 |
66,8 |
| Добавление 35 мг водного раствора аргинина |
14,3 |
87,0 |
| Добавление 35 мг водного раствора глутамата аргинина |
14,9 |
86,5 |
| Базовый фильтр В |
44,0 |
60,0 |
| Добавление 35 мг водного раствора аргинина |
11,6 |
89,5 |
| Добавление 35 мг водного раствора глутамата аргинина |
17,8 |
83,8 |
Пример 5
Водный раствор, содержащий 20% по массе аргинина, добавляли в количестве 20 вес.% распылением с помощью ручного пульверизатора к нарезанному табаку, загруженному в смесительный барабан, затем сушили нарезанный табак при 80°С в течение 5 минут в сушилке. Затем нарезанный табак кондиционировали в течение 48 часов, чтобы получить табачный стержень, содержащий 690 мг нарезанного табака, длиной 59 мм. Сигаретную оберточную бумагу 4Р35 производства Mishima Seishi K.K. использовали как обертку сигаретной части. Количество добавленного аргинина составило 4 вес.% (27,6 мг) из расчета на количество нарезанного табака. В этих условиях измеряли количество формальдегида, содержавшегося в сигаретном дыме основного потока, на выходе из сигаретной части, как описано выше, без присоединения фильтра к сигаретной части. С другой стороны, приготавливали базовый нарезанный табак, используемый для сравнения, путем только распыления 20 вес.% воды в нарезанный табак. Также измеряли количество формальдегида, содержавшегося в сигаретном дыме, как описано выше, на выходе из сигаретной части с использованием базового нарезанного табака, рассмотренного выше. Результаты представлены в таблице 5. Как видно из таблицы 5, содержание формальдегида в основном потоке дыма также может быть значительно снижено добавлением аргинина к нарезанному табаку.
| Таблица 5 |
| |
Формальдегиды на выходе из сигаретной части [мкг] |
Скорость снижения [%] |
| Базовый нарезанный табак |
121,3 |
-10,3 |
| Добавление 27,6 мг аргинина |
23,9 |
78,3 |
Пример 6
Осуществляли измерения, аналогичные тем, что в примере 4, чтобы оценить эффект снижения содержания формальдегида, обеспечиваемый различными основными аминокислотами или солями основных аминокислот в присутствии воды.
В частности, на базовый фильтр В заранее наносили заданное количество водного раствора, содержащего каждую из различных основных аминокислот или различных солей основных аминокислот, перечисленных в таблице 6, а затем определяли, как описано выше, содержание формальдегидов [FA] в сигаретном дыме основного потока сразу же после введения водного раствора. В каждом из этих случаев количество добавленной основной аминокислоты или соли основной аминокислоты составило 3,5 мг. В таблице 6 представлены результаты. Как видно из данных таблицы 6, основная аминокислота или соль основной аминокислоты, отличных от аргинина, также дают эффект снижения содержания формальдегида в сигаретном дыме основного потока.
| Таблица 6 |
| |
FA [мкг] |
Скорость фильтрования [%] |
| Базовый фильтр В |
44,0 |
60,0 |
| Добавление 35 мг водного раствора, содержащего 10 вес.% аргинина |
11,6 |
89,5 |
| Добавление 35 мг водного раствора, содержащего 10 вес.% лизина |
13,1 |
88,1 |
| Добавление 35 мг водного раствора, содержащего 10 вес.% гидрохлорида лизина |
18,1 |
83,6 |
| Добавление 70 мг водного раствора, содержащего 5 вес.% гистидина |
12,7 |
88,5 |
| Добавление 35 мг водного раствора, содержащего 10 вес.% цитруллина |
17,7 |
83,9 |
| Добавление 35 мг водного раствора, содержащего 10 вес.% орнитина |
15,7 |
85,7 |
Пример 7
Осуществляли измерения по примеру 2 для оценки эффекта снижения содержания формальдегида, проявляемого различными основными аминокислотами или солями основных аминокислот в присутствии поверхностно-активного вещества.
В частности, заданное количество водного раствора, содержащего только аргинин, или водный раствор, содержащий и аргинин, и каждый из различных поверхностно-активных веществ, наносили на фильтр В, как показано в таблице 7, а затем кондиционировали в течение 48 часов и проводили измерение содержания формальдегида (FA) в сигаретном дыме основного потока и увеличение содержания воды ( W). Использованные поверхностно-активные вещества включали такие ионные поверхностно-активные вещества, такие как сорбат калия, олеат натрия и лаурат натрия, и неионогенные поверхностно-активные вещества, такие как лаурат сахарозы, миристат сахарозы, пальмитат сахарозы и стеарат сахарозы. Результаты представлены в таблице 7. Как видно из данных таблицы 7, эффект снижения содержания формальдегида в сигаретном дыме основного потока может быть достигнут в случае использования основной аминокислоты или соли основной аминокислоты вместе с поверхностно-активным веществом, даже если вода не содержится вместе с основной аминокислотой или солью основной аминокислоты. Считается вполне понятным, что в случае использования водного раствора, содержащего и аргинин, и поверхностно-активное вещество, смачиваемость фильтра водным раствором улучшается, и в результате улучшается дисперсионная способность аргинина.
| Таблица 7 |
| |
FA [мкг] |
Эффективность фильтрования [%] |
W [мг] |
| Базовый фильтр В |
44,0 |
60,0 |
0 |
| Добавление 35 мг водного раствора, содержащего 10 вес.% аргинина |
23,2 |
78,9 |
2,06 |
| Добавление 35 мг водного раствора, содержащего 10 вес.% аргинина и 20 вес.% сорбата калия |
17,9 |
83,7 |
3,35 |
| Добавление 35 мг водного раствора, содержащего 10 вес.% аргинина и 2 вес.% олеата калия |
18,9 |
82,9 |
1,49 |
| Добавление 35 мг водного раствора, содержащего 10 вес.% аргинина и 2 вес.% лаурата натрия |
18,0 |
83,6 |
1,71 |
| Добавление 35 мг водного раствора, содержащего 10 вес.% аргинина и 1 вес.% лаурата сахарозы |
20,3 |
81,6 |
– |
| Добавление 35 мг водного раствора, содержащего 10 вес.% аргинина и 1 вес.% миристата сахарозы |
20,9 |
81,0 |
– |
| Добавление 35 мг водного раствора, содержащего 10 вес.% аргинина и 0,5 вес.% пальмитата сахарозы |
21,4 |
80,6 |
– |
| Добавление 35 мг водного раствора, содержащего 10 вес.% аргинина и 0,5 вес.% стеарата сахарозы |
22,5 |
79,6 |
– |
| Добавление 35 мг водного раствора, содержащего 10 вес.% аргинина и 1 вес.% сложного эфира глицерина и жирной кислоты |
20,9 |
81,0 |
– |
Лаурат сахарозы: фирмы Mitsubishi-Kagaku Foods Corporation, торговая марка L-1695.
Миристат сахарозы: фирмы Mitsubishi-Kagaku Foods Corporation, торговая марка М-1695.
Пальмитат сахарозы: фирмы Mitsubishi-Kagaku Foods Corporation, торговая марка Р-1670.
Стеарат сахарозы: фирмы Mitsubishi-Kagaku Foods Corporation, торговая марка S-1670.
Сложный эфир глицерина и жирной кислоты (монолаурат декаглицерина): фирмы Riken Vitamin, торговая марка J-0021.
Сигаретный фильтр по изобретению также может использоваться в виде мундштука для сигареты, выполненного по фиг.3. Как показано на этом чертеже, сигаретный фильтр содержит цилиндрический корпус держателя сигареты 41 и фильтр 31, расположенный внутри корпуса держателя сигареты 41. Основная аминокислота или соль основной аминокислоты содержится в фильтре 31. Корпус держателя сигареты 41 выполнен вместе с мундштучной частью 42. Содержание альдегидов в сигаретном дыме основного потока можно еще больше снизить в случае использования сигаретного фильтра специальной конструкции.
Как подробно рассмотрено выше, использование сигареты и сигаретного фильтра по изобретению может эффективно снизить содержание альдегидов во вдыхаемом курильщиком дыме сигареты.
Формула изобретения
1. Сигарета, содержащая основную аминокислоту или соль основной аминокислоты в количестве, по меньшей мере, 1 мг/сигарета, причем указанная основная аминокислота или соль основной аминокислоты выбрана из группы, состоящей из аргинина, соли аргинина, лизина, соли лизина, гистидина, соли гистидина, орнитина, соли орнитина, цитруллина, соли цитруллина, гидроксизина и соли гидроксизина.
2. Сигарета по п.1, отличающаяся тем, что основная аминокислота или соль основной аминокислоты добавлена в виде водного раствора.
3. Сигарета по п.1 или 2, дополнительно содержащая поверхностно-активное вещество.
4 Сигаретный фильтр, содержащий основную аминокислоту или соль основной аминокислоты в количестве, по меньшей мере, 1 мг/сигарета, причем указанная основная аминокислота или соль основной аминокислоты выбрана из группы, состоящей из аргинина, соли аргинина, лизина, соли лизина, гистидина, соли гистидина, орнитина, соли орнитина, цитруллина, соли цитруллина, гидроксизина и соли гидроксизина.
5. Сигаретный фильтр по п.4, отличающийся тем, что основная аминокислота или соль основной аминокислоты добавлена в виде водного раствора.
6. Сигаретный фильтр по п.4 или 5, дополнительно содержащий поверхностно-активное вещество.
РИСУНКИ
|
|