|
|
(21), (22) Заявка: 2004123997/13, 05.08.2004
(24) Дата начала отсчета срока действия патента:
05.08.2004
(45) Опубликовано: 10.04.2006
(56) Список документов, цитированных в отчете о поиске:
RU 2070375 C1, 20.12.1996. SU 1138105 A, 07.02.1985. SU 1207421 A, 30.01.1986. RU 6107 U1, 16.03.1998. SU 33356 A1, 30.11.1933. RU 2185761 C1, 27.07.2002.
Адрес для переписки:
400012, г.Волгоград, ГСП, ул. Трехгорная, 21, ГНУ ПНИИЭМТ, В.Г. Абезину
|
(72) Автор(ы):
Салдаев Александр Макарович (RU), Карпунин Василий Валентинович (RU), Мамонтов Николай Иванович (RU)
(73) Патентообладатель(и):
Государственное научное учреждение Поволжский научно-исследовательский институт эколого-мелиоративных технологий Российской академии сельскохозяйственных наук (RU)
|
(54) УСТРОЙСТВО ДЛЯ ОТЖИМА СОКА ИЗ ПЛОДОВ БАХЧЕВЫХ КУЛЬТУР
(57) Реферат:
Изобретение предназначено для использования в пищевой и консервной промышленности для получения сиропов, соков и спиртов из сока отжатых плодов бахчевых культур, а также в кормопроизводстве для заготовки сенажа, силоса и зерносенажа. Устройство для отжима сока из плодов бахчевых культур содержит несколько пар вальцов, размещенных на полурамах и горизонтально расположенных друг над другом, приемный стол, лоток для сбора сока, желоб и шнек для отвода жома плодов, механизм ограничения перемещения полурам, снабженный возможностью перемещения приемный валец и приводы вальцов. Каждая пара вальцов имеет индивидуальный механизм изменения межвальцового зазора. Вальцы в парах размещены с образованием угла, вершиной обращенного в сторону шарнирного соединения полурам. Полурамы снабжены механизмом одновременного регулирования усилия сжатия и механизмом изменения зазора с возможностью его уменьшения в направлении от входа массы в первую пару вальцов до выхода из последней пары с количеством пар вальцов не менее трех. Приемный валец размещен над приемным столом и установлен шарнирно на верхней полураме и кинематически связан с крайним вальцом. Механизм одновременного усилия сжатия плодов выполнен в виде силового гидроцилиндра. Последний смонтирован посредством кронштейнов между полурамами или посредством Г-образного кронштейна над верхней полурамой. Вальцы имеют индивидуальный групповой привод. Устройство обеспечивает снижение энергозатрат, повышение производительности и качества сока. 4 з.п. ф-лы, 6 ил. 
Изобретение относится к пищевой и консервной промышленности для получения сиропов, соков и спиртов из сока отжатых плодов бахчевых культур, а также в кормопроизводстве для заготовки силоса и зерносенажа.
Известно устройство для отжима сока из стеблей растений кормоуборочной машины, содержащее транспортирующее устройство и несколько пар расположенных друг над другом с зазором плющильных вальцов, в котором плющильные вальцы снабжены механизмом одновременного регулирования усилия сжатия листостебельной массы по всей рабочей зоне плющения и механизмом изменения зазора с возможностью его уменьшения в направлении от входа массы в первую пару вальцов до выхода её из последней пары, при этом вальцы в каждой паре имеют одинаковую линейную скорость; верхние и нижние плющильные вальцы установлены на рамках, которые шарнирно соединены между собой; верхние и нижние плющильные вальцы расположены горизонтально; верхние и нижние плющильные вальцы расположены относительно друг друга с образованием угла, вершиной, обращенной в сторону шарнирного соединения; механизмом изменения зазора снабжена каждая пара плющильных вальцов; количество пар плющильных вальцов не менее трех и не ограничено в большую сторону (RU, патент №2070375. С1. МПК6 А 01 D 43/10. Устройство для отжима сока стеблей растений кормоуборочной машины / Кононов В.М., Кононов М.В., Пулин И.В., Леонтьев В.В., Мамонтов Н.И., Борисенко И.Б. (RU). – Заявка №94028117/15; Заявлено 27.07.1994; Опубл. 20.12.1996).
К недостаткам описанного устройства, принятого нами в качестве наиближайшего аналога, относятся низкая техническая надежность из-за сложности привода вальцов, высокая материалоемкость, ограниченные функциональные возможности, неудовлетворительная захватывающая способность первой пары вальцов плодов бахчевых культур, отсутствие средств для сбора сока и устройств для отвода жома (сплющенной мякоти) плодов, высокая энергоемкость процесса, отсутствие средств регулирования частоты вращения вальцов, сложность настройки устройства при переналадке для обработки других с.-х. культур и плодов.
Сущность заявленного изобретения.
Задача, на решение которой направлено заявленное изобретение, – повышение выхода сока из мякоти плодов бахчевых культур.
Технический результат – снижение энергозатрат, повышение производительности и качества сока, снижение материалоемкости, упрощение конструкции и повышение технологической надежности и устойчивости выполнения процесса отжима сока и удаления жома.
Указанный технический результат достигается тем, что в известном устройстве для отжима сока из плодов бахчевых культур, содержащем смонтированные на верхней и нижней шарнирно соединенных полурамах не менее трех пар вальцов, горизонтально расположенных друг над другом на полурамах с образованием угла, вершиной обращенного в сторону шарнирного соединения верхней и нижней полурам, снабженных механизмом регулирования усилия сжатия плодов и механизмом изменения зазора с возможностью его уменьшения в направлении от входа массы в первую пару вальцов до выхода из последней пары, и установленные в нем приемный стол, лоток для сбора сока, желоб и шнек для отвода жома плодов, механизм ограничения перемещения верхней и нижней полурам и выполненный с возможностью перемещения приемный валец, размещенный шарнирно посредством пары поводков на верхней полураме над приемным столом, при этом каждый поводок с верхней полурамой связан регулируемой тягой и упругим элементом, механизм регулирования усилия сжатия плодов выполнен в виде силового гидроцилиндра, вальцы на нижней и верхней полурамах имеют индивидуальные групповые приводы, каждый из которых снабжен мотор-редуктором, выходной вал которого связан со средним вальцом и замкнутыми контурами цепных передач для вращения крайних вальцов, приемный валец на верхней полураме кинематически связан с верхним вальцом первой пары, а верхние вальцы в парах смещены на ходу движения плодов относительно нижних вальцов; желоб имеет козырек, выполненный с возможностью изменения угла наклона к горизонту; силовой гидроцилиндр механизма регулирования усилия сжатия плодов смонтирован посредством кронштейнов между полурамами; силовой гидроцилиндр механизма регулирования усилия сжатия плодов смонтирован посредством Г-образного кронштейна над верхней полурамой; электродвигатели мотор-редукторов в групповых приводах вальцов электрически связаны посредством частных преобразователей изменения скорости вращения с электрической сетью питания.
Изобретение поясняется чертежами.
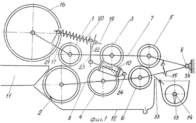
На фиг.1 схематично изображено устройство для отжима сока из плодов бахчевых культур в исходном положении верхней и нижней полурам с вальцами, вид сбоку.
На фиг.2 – то же, конструктивное исполнение механизма регулирования усилия сжатия плодов при размещении силового гидроцилиндра на верхней полураме посредством Г-образного кронштейна, вид сбоку.
На фиг.3 – то же, при переводе силовым гидроцилиндром механизма регулирования усилия сжатия плодов полурамы в положение для технологического обслуживания, вид сбоку.
На фиг.4 – то же, при измененных положениях приемного вальца над приемным столом и верхней полурамы над нижней полурамой, вид сбоку.
На фиг.5 показано размещение вальцов на верхней полураме и их привод, вид в плане.
На фиг.6 представлено размещение вальцов на нижней полураме и их привод, вид в плане.
Сведения, подтверждающие возможность реализации заявленного изобретения, заключаются в следующем.
Устройство для отжима сока из плодов бахчевых культур содержит несколько пар (в частности три) горизонтально расположенных друг над другом вальцов 1, 2, 3, 4, 5 и 6 на верхней и нижней полурамах 7 и 8 (см. фиг.1-6). Пары вальцов 1 и 2, 3 и 4, 5 и 6 имеют индивидуальные механизмы изменения межвальцовых зазоров. Каждый из них выполнен в виде плиты с овальными отверстиями для крепления на полурамах 7 и 8 крепежными элементами. На плитах смонтированы корпуса подшипниковых узлов. Вальцы 1-6 на рамах 7 и 8 расположены друг над другом с образованием угла, вершиной обращенного в сторону шарнирного соединения 9 верхней и нижней полурам 7 и 8. Указанные полурамы 7 и 8 снабжены механизмом 10 регулирования усилия сжатия плодов и индивидуальными механизмами изменения зазора между вальцами в парах 1 и 2, 3 и 4, 5 и 6 с возможностью его уменьшения в направлении от входа массы в первую пару вальцов 1 и 2 до выхода из последней пары 5 и 6 с количеством пар вальцов 1-6 не менее трех. Количество пар вальцов 1…6 в большую сторону неограничено.
Устройство для отжима сока из плодов снабжено приемным столом 11, лотком 12 для сбора сока, желобом 13 и шнеком 14 для отвода жома плодов, механизмом 15 ограничения перемещения рам 7 и 8 и приемным вальцом 16. Механизм 15 имеет винты, вворачиваемые в нижнею полураму 8, и упоры с углублениями, обращенные в сторону винтов. Приемным валец 16 размещен шарнирно посредством пары поводков 17 и 18 на верхней полураме 7 и над приемным столом 11. Приемный валец 16 выполнен с возможностью перемещения над столом 11.
Каждый поводок 17 (18) с верхней полурамой 7 связан регулируемой тягой 19 и упругим элементом 20. Они установлены между кронштейном 21 поводка 17 (18) и кронштейном 22 верхней полурамы 7 (см. фиг.4 и 5).
Механизм 10 регулирования усилия сжатия плодов между парами вальцов 1 и 2, 3 и 4, 5 и 6 выполнен в виде силового гидроцилиндра. Силовой гидроцилиндр механизма 10 регулирования усилия регулирования сжатия плодов смонтирован посредством кронштейнов 23 и 24 между полурамами 7 и 8. Силовой гидроцилиндр механизма 10 усилия сжатия плодов смонтирован посредством Г-образного кронштейна 25 (см. фиг.2) на верхней полураме 7. Это позволяет использовать максимальное усилие механизма 10 для сжатия плодов, создаваемое давлением масла при ее подаче в бештоковую полость силового гидроцилиндра. Силовой гидроцилиндр механизма 10 снабжен гидрозамком. Это исключает самопроизвольные перемещения полурам 7 и 8. Вальцы 1-6 на нижней и верхней полурамах 7 и 8 имеют индивидуальные групповые приводы 26 и 27. Каждый из приводов 26 и 27 снабжен мотор-редуктором 28 и двумя замкнутыми контурами цепных передач 29 и 30 для вращения крайних вальцов 1, 5 и 2, 6. Выходной вал 31 мотор-редуктора 28 кинематически связан со средним вальцом 3 или 4. Приемный валец 16 на верхней полураме 7 кинематически связан с крайним вальцом 1 посредством замкнутого цепного контура 32. Электродвигатели мотор-редукторов 28 в групповых приводах 26 и 27 электрически связаны посредством частотных преобразователей изменения скорости вращения с электрической сетью питания напряжением 380 В и 50 Гц. Установленная мощность электродвигателей – 1,1 кВт.
Верхние вальцы 1, 3 и 5 в парах 1 и 2, 3 и 4, 5 и 6 сдвинуты назад по ходу движения плодов относительно нижних вальцов 2, 4 и 6. Это обеспечивает надежный их захват, полное стекание и выделение сока из плодов. Качество отделения жома с поверхности вальца 6 обеспечивает козырек 33. Желоб 13 шнека 14 снабжен козырьком 33, выполненным с возможностью изменения угла наклона к горизонту.
Приемный стол 11, лоток 12, желоб 13 со шнеком 14, шарнирные соединения 9 рам 7 и 8 размещены на станине 34. Для стабильной подачи плодов нижняя полурама 8 имеет возможность регулировки положения вальца 2 путем поворота относительно станины 34 нижней полурамы 8. Этим изменяют исходное положение вальца 2 относительно рабочей поверхности приемного стола 11.
Устройство для отжима сока из плодов бахчевых культур работает следующим образом.
Подлежащие переработке плоды бахчевых культур поштучно подают на приемный стол 11. При включенных электродвигателях от индивидуальных приводов 26 и 27 получают вращение выходные валы 31 мотор-редукторов 28. От выходного вала 31 мотор-редуктора 28 (см. фиг.6) на прямую получает вращение средний валец 4 и посредством замкнутых цепных контуров 30 и 29 крайние вальцы 2 и 6. Диаметр вальцов 2, 4 и 6 уменьшается в направлении от кромки приемного стола 11 в сторону шарнирного соединения 9 полурам 7 и 8. За счет количества зубьев в цепных контурах 29 и 30 устанавливают равные окружные скорости вальцов 2, 4 и 6. При изменении частоты вращения электродвигателя частотным преобразователем в индивидуальном приводе 26 (27) прямо пропорционально увеличивается линейная скорость перемещения плодов в межвальцовом пространстве 1-2, 3-4 и 5-6. Последовательно установленные вальцы 2, 4 и 6 выполняют функции транспортера с удалением части обрабатываемого продукта в виде сока на лоток 12. От выходного вала 31 мотор-редуктора 28 в индивидуальном приводе 26 параллельно получают привод средний валец 3 и крайние вальцы 1 и 5. От крайнего вальца 1 посредством замкнуто цепного контура 32 получает привод приемный валец 16. За счет контуров 29, 30 и 32 вальцы 16, 1, 3 и 5 получают направление вращения, совпадающее с направлением подачи плодов бахчевых культур. Вальцы 1, 5 и 7 выполнены равного диаметра и выполняют функции деформаторов мякоти плодов. Диаметр приемного вальца 16 в 3-6 раз больше диаметров вальцов 1, 5 и 7. Окружная скорость приемного вальца 16 в 2-3 раза больше скорости подачи плодов в межвальцовое пространство в парах 1 и 2, 3 и 4, 5 и 6 (см. фиг. 5).
За счет подпружиненных поводков 17 и 18 (см. фиг.1 и 5) приемный валец 16 в исходном положении максимально приближен к поверхности приемного стола 11. При встрече с плодом валец 16 наезжает на плод, схватывает его и принудительно его заталкивает в межвальцовое пространство 1 и 2. Исходный зазор между вальцами 1 и 2 на входе в устройство наибольший. Зазор между вальцами 5 и 6 в последней паре наименьший, чем зазор между вальцами 3 и 4 в предыдущей паре. В случае технологической необходимости зазор между вальцами в парах 1 и 2, 3 и 4, 5 и 6 может быть скорректирован либо в сторону уменьшения, либо увеличения (см. фиг.1-4). Полурамы 7 и 8 в силовом нагружении удерживаются силовым гидроцилиндром механизма 10. При критических нагрузках срабатывает редукционный клапан, а полости силового гидроцилиндра гидравлически разблокируются. Твердокорый плод, например тыквы, беспрепятственно проходит между парами вальцов 1 и 2, 3 и 4, 5 и 6 и сбрасывается в кожух 13 шнека 14. Последним выводится за пределы станины 34. Возврат в исходное положение полурамы 7 обеспечивает механизм 10, а исходные зазоры между вальцами 1-6 обеспечивает механизм 15 ограничения перемещения и поступает в вальцы 3 и 4. Вальцами 3 и 4 мякоть плода претерпевает сжимающие нагрузки и из нее выдавливается сок. Сок из плодов стекает в лоток 12. Как правило, в парах вальцов 5 и 6 устанавливают нулевой исходный зазор (0,1-0,3 мм) (см. фиг.2). Отработанная мякоть в виде жома козырьком 33 направляется в желоб 13, а шнеком 14 выводится за пределы станины 34 и собирается в контейнере для кормовых целей.
При проведении технического или технологического обслуживания механизмом 10 полурамы 7 и 8 приводят в положение, изображенное на фиг.3.
Сдвиг верхних вальцов 1, 3 и 5 по отношению нижних вальцов 2, 4 и 6 позволяет наиболее полно выжать сок из мякоти плодов и обеспечить непрерывную подачу в последующие пары вальцов устройства.
Интенсивность соковыделения увеличивается при изменении скоростей верхних вальцов 1, 3, 5 по сравнению со скоростями нижних вальцов 2, 4, 6 на 10-15%. Это обеспечивают индивидуальные привода 26 и 27 и частотные преобразователи в электрической сети питания электродвигателей мотор-редукторов 28.
Таким образом, описанная совокупность существенных отличительных признаков обеспечивает достижение указанного выше технического результата.
Формула изобретения
1. Устройство для отжима сока из плодов бахчевых культур, содержащее не менее трех пар вальцов, горизонтально расположенных друг над другом и смонтированных на шарнирно соединенных верхней и нижней полурамах с образованием угла, вершиной обращенного в сторону шарнирного соединения верхней и нижней полурам, снабженных механизмом регулирования усилия сжатия плодов и механизмом изменения зазора с возможностью его уменьшения в направлении от входа массы в первую пару вальцов до выхода из последней пары, и установленные в нем приемный стол, лоток для сбора сока, желоб и шнек для отвода жома плодов, механизм ограничения перемещения полурам и выполненный с возможностью перемещения приемный валец, размещенный шарнирно посредством пары поводков на верхней полураме над приемным столом, при этом каждый поводок с верхней полурамой связан регулируемой тягой и упругим элементом, механизм регулирования усилия сжатия плодов выполнен в виде силового гидроцилиндра, вальцы на нижней и верхней полурамах имеют индивидуальные групповые приводы, каждый из которых снабжен мотор-редуктором, выходной вал которого кинематически связан со средним вальцом и замкнутыми контурами цепных передач для вращения крайних вальцов, приемный валец на верхней полураме кинематически связан с верхним вальцом первой пары, а верхние вальцы в парах смещены по ходу движения плодов относительно нижних вальцов.
2. Устройство по п.1, отличающееся тем, что желоб имеет козырек, выполненный с возможностью изменения угла наклона к горизонту.
3. Устройство по п.1, отличающееся тем, что силовой гидроцилиндр механизма регулирования усилия сжатия плодов смонтирован посредством кронштейнов между полурамами.
4. Устройство по п.1, отличающееся тем, что силовой гидроцилиндр механизма регулирования усилия сжатия плодов смонтирован посредством Г-образного кронштейна над верхней полурамой.
5. Устройство по п.1, отличающееся тем, что электродвигатели мотор-редукторов в групповых приводах вальцов электрически связаны посредством частотных преобразователей изменения скорости вращения с электрической сетью питания.
РИСУНКИ
MM4A – Досрочное прекращение действия патента СССР или патента Российской Федерации на изобретение из-за неуплаты в установленный срок пошлины за поддержание патента в силе
Дата прекращения действия патента: 06.08.2006
Извещение опубликовано: 10.04.2008 БИ: 10/2008
|
|