|
|
(21), (22) Заявка: 2004113917/06, 05.05.2004
(24) Дата начала отсчета срока действия патента:
05.05.2004
(43) Дата публикации заявки: 20.10.2005
(45) Опубликовано: 27.03.2006
(56) Список документов, цитированных в отчете о поиске:
КИРЬЯНОВ Г.И. Генераторы быстрых нейтронов. – М.: Энергоатомиздат, 1990, с.122, 123, 189, 190. RU 2165132 С2, 10.12.1998. SU 1158023 A1, 30.04.1994. SU 708939 A1, 30.04.1994. US 5078950 А, 07.01.1992. ЕР 0362946 A1, 11.04.1990.
Адрес для переписки:
117218, Москва, Б. Черемушкинская, 25, ФГУП ГНЦ РФ ИТЭФ им. А.И. Алиханова, патентный отдел, Ю.П. Быкову
|
(72) Автор(ы):
Иосселиани Дмитрий Дмитриевич (RU), Петренко Сергей Вениаминович (RU)
(73) Патентообладатель(и):
Российская Федерация в лице Федерального государственного унитарного предприятия “Государственный научный центр Российской Федерации Институт теоретической и экспериментальной физики им. А.И. Алиханова” (RU)
|
(54) НЕЙТРОННЫЙ ГЕНЕРАТОР
(57) Реферат:
Изобретение относится к области ядерной техники, в частности к нейтронным генераторам, и может быть использовано, например в нейтронных трубках, для каротажных исследований. В генераторе нейтронов дополнительно введен напылитель активного к водороду металла на мишень. Металл наносится во время перерывов в работе генератора, насыщаясь дейтерием и тритием из газа, находящегося в объеме трубки. Мишень диаметром D размещена в полости мишенного основания. Напылитель содержит оправу, изготовленную из вакуумного диэлектрического материала, в которой выполнены пазы, где размещены с возможностью возвратно-поступательного движения в плоскости, перпендикулярной оси трубки электрода поджига. Подвижность электродов поджига позволяет с помощью сильфонов без нарушения вакуума изменять снаружи трубки зазор между ними и распыляемым электродом, добиваясь гарантированного пробоя зазора и образования дуги под воздействием напряжения электропитания распылителя. Распыляемый электрод выполнен в виде усеченного конуса, снабженного апертурой. Распылитель содержит также защитный металлический кожух в виде полого усеченного конуса, вершина которого расположена в мишенной полости. Выбор угла между образующими кожуха в сечении, проходящем через его ось, равным 2,2 arctg (0,5(Dk-D)/H), где Dk – внутренний диаметр кожуха в сечении, совпадающем с плоскостью вершины конуса распыляемого электрода, D – диаметр подложки, а Н – расстояние от этой плоскости до плоскости мишени. Технический результат изобретения – повышение срока службы мишени и возможность увеличения нейтронного выхода генератора путем увеличения тока дейтронов, бомбардирующего мишень. 3 ил. 
Изобретение относится к области ядерной техники, в частности к нейтронным генераторам, и может быть использовано в ряде приложений, например в нейтронных трубках, для каротажных исследований.
Известен нейтронный генератор, содержащий вакуумную трубку. В трубке размещены источник ионов трития и дейтерия, фокусирующе-ускоряющая ионы система-мишень, состоящая из подложки, выполненной из металла, обладающего низким сродством к изотопам водорода, например меди, молибдена, на которую нанесен слой металла с высоким сродством к изотопам водорода, например титана, циркония, насыщенный тритием [Г.И.Кирьянов. Генераторы быстрых нейтронов. – М.: Энергоатомиздат, 1990. С.122-123] [1]. Срок службы мишени такого генератора невысокий – около сотни часов при облучении мишени пучками дейтронов с токами около единиц миллиампер, а величина нейтронного потока за время работы снижается в десятки раз из-за термодесорбции трития из активного слоя мишени и распыления его ускоренными ионами.
Указанные недостатки частично преодолены в генераторах, содержащих трубки, наполненные смесью трития и дейтерия. При работе источника тритоновая компонента ускоренного ионного пучка возмещает убыль трития в мишени, поэтому срок ее службы возрастает в десятки раз. Однако дальнейшему увеличению нейтронного выхода, путем увеличения ионного тока, препятствует распыление активного слоя мишени. В одном из лучших генераторов [1, с.189-190], принятом за прототип, при токе дейтронов в 15 миллиампер, ускоряющем напряжении 150 кВ, нейтронном выходе около 1012 n/с, уже через два часа работы последний снижается в два раза [1, с.190].
Задачей предлагаемого технического решения является увеличение нейтронного выхода. Технический результат достигается тем, что мишень размещена на дне полости, выполненной в мишенном основании. Дополнительно введен распылитель активного металла на мишень, содержащий выполненную из электроизоляционного материала оправу, снабженную апертурой, ось которой совмещена с осью трубки, и в плоскости, перпендикулярной оси трубки, выполнены сквозные от внешней образующей оправу до ее апертуры пазы, в которых с возможностью возвратно-поступательного перемещения размещены электроды поджига. Вершина полого металлического конического кожуха расположена в мишенной полости. Кожух электрически связан с электродами поджига.
Конический распыляемый электрод снабжен апертурой. Электроды и кожух выполнены из активного к водороду металла. Угол между образующими кожуха в сечении, проходящем через его ось, равен
2,2 arctg (0,5(Dk-D)/Н),
где Dk – внутренний диаметр кожуха в сечении, совпадающем с плоскостью вершины распыляемого электрода, Н – расстояние от этой плоскости до плоскости мишени.
Технический результат изобретения достигается всей совокупностью существенных технических признаков.
Признак, касающийся размещения электродов поджига с обеспечением их возвратно-поступательного движения, позволяет подобрать расстояние, при котором вероятность пробоя между ними и распыляемым электродом близка к 100%, а также восполнить убыль материала электродов поджига.
Признак, касающийся размещения мишени в полости мишенного основания, при наличии конусного кожуха, вершина которого расположена в мишенной полости, во-первых, предотвращает запыление металлом и тем самым закорчивание распылителя, во-вторых, обеспечивает необходимое направление плазменных потоков.
Плазменные потоки между металлическими стенками выталкиваются в их расширяющиеся области [О.Б.Брон, Л.К.Сушков. Потоки плазмы в электрической дуге выключающих аппаратов. – Ленинград: Энергия, 1975, 2 с. 179 рис.в].
Выбор угла между образующими в сечении, проходящем через ось кожуха, равным 2,2 arctg (0,5(Dk-D)/H), где Н – расстояние от плоскости вершины распыляемого электрода до плоскости мишени, Dk – внутренний диаметр кожуха в сечении, совпадающем с плоскостью вершины распыляемого электрода, обеспечивает наибольшую вероятность напыления на любую из точек мишени активного материала из любой точки возникновения разряда между распыляемым электродом и электродами поджига.
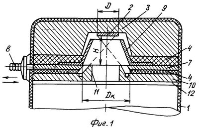
Предлагаемое техническое решение иллюстрируется чертежами. На фиг.1 схематически изображено сечение трубки генератора. На фиг.2 изображен один из электродов, размещенный в пазу основы, а на фиг.3 – его сечение.
Предлагаемый нейтронный генератор содержит герметичную трубку 1, выполненную из вакуумного электроизоляционного материала, например керамики, в которой размещены источник ионов дейтерия и трития (на чертежах не показан), ускоряюще-фокусирующая система (на чертежах не показана). Мишень 2 из слоя активного металла, обладающего высоким сродством к изотопам водорода, например Ti, Zr и т.п., нанесенного на металлическую подложку диаметром D, изготовленную из материала с низким сродством к изотопам водорода, например, Cu, Mo.
Мишень размещена на дне полости, выполненной в мишенном основании 3.
Распылитель содержит оправу 4, снабженную апертурой 5. В пазах 6, выполненных в плоскости, перпендикулярной оси оправы, размещены с возможностью возвратно-поступательного движения электроды поджига 7. Сильфоны 8 обеспечивают возможность механического перемещения электродов 7 снаружи трубки без нарушения вакуума. Распылитель содержит полый кожух 9, распыляемый электрод 10, также снабженный апертурой 11, пружинный элемент 12, фиксирующий распылитель в сборе.
Генератор работает следующим образом. Ускоренный пучок детронов и тритонов проходит сквозь напылитель и попадает в мишень 2, где взаимодействует с дейтерием и тритием, насыщающими активный слой мишени. В результате этого взаимодействия возникает нейтронное излучение. Во время перерывов в работе отключают рабочее электропитание генератора и подключают электропитание распылителя. Напряжение, поданное между электродами поджига 7 и распыляемым электродом 10, вызывает дуговой разряд. Пар активного металла распространяется между конусными стенками кожуха 9 и конусной поверхностью распыляемого электрода 10 и попадает на мишень 2. Так мишень пополняется активным металлом, насыщенным дейтерием и тритием из газового наполнения трубки. Убыль газа в объеме трубки восполняется из газовых хранилищ.
Рассчитаем один из вариантов предлагаемого технического решения. В прототипе диаметр мишени равен 9 см. При толщине активного титанового слоя, равном одному микрону, на поверхности мишени содержится 3,14 9 0,0001 4,54=0,01283 гр. Если за одну секунду в дуговом разряде будет наноситься 0,003 гр. титана [такое количество металла можно получить в вакуумном дуговом разряде; оно соответствует минимальным значениям. – «Вакуумная техника». Справочник./Под общей ред. Е.С.Фролова, В.Е.Минайчева. – М.: Машиностроение», 1985, с.266, табл. 2.1, вторая строка снизу], то для получения указанного количества металла потребуется примерно 4 секунды работы распылителя. Поэтому максимальное количество нейтронов можно получить в таком режиме, когда за 4 секунды работы генератора расходуется активный слой мишени, а последующие 4 секунды он наносится. Как показывает практика работы генераторных трубок [1], ресурс активного слоя мишени позволяет получить 10^14 нейтронов. В нашем режиме работы можно получить 1,25 10^13 нейтронов в секунду, что в десять раз выше, чем в устройстве прототипе.
Формула изобретения
Нейтронный генератор, содержащий вакуумную трубку, в которой размещен источник ионов дейтерия и трития, ускоряюще-фокусирующую ионы систему, мишень, состоящую из слоя активного металла, обладающего высоким сродством к изотопам водорода, например Ti, Zr и т.п., нанесенного на металлическую подложку диаметром D, изготовленную из материала с низким сродством к изотопам водорода, например, Cu, Мо, и размещенную на металлическом охлаждаемом мишенном основании, хранилища дейтерия и трития, снабженные регуляторами напуска газа, отличающийся тем, что мишень размещена на дне полости, выполненной в мишенном основании, дополнительно введен распылитель активного металла на мишень, содержащий выполненную из электроизоляционного материала оправу, снабженную апертурой, ось которой совмещена с осью трубки, и в плоскости, перпендикулярной оси трубки, выполнены сквозные от внешней образующей оправы до ее апертуры пазы, в которых с возможностью возвратно-поступательного движения размещены электроды поджига, а также полый конусный металлический, связанный электрически с электродами поджига кожух, вершина которого расположена в мишенной полости, распыляемый электрод, выполненный в виде конуса и снабженный апертурой, и пружинный элемент, фиксирующий распылитель в сборе, причем электроды и кожух выполнены из активного к водороду металла, а угол между образующими кожуха в сечении, проходящем через его ось, равен
2,2 arctg (0,5(Dk-D)/H),
где Dk – внутренний диаметр кожуха в сечении, совпадающем с плоскостью вершины конуса распыляемого электрода;
D – диаметр подложки;
Н – расстояние от этой плоскости до плоскости мишени.
РИСУНКИ
|
|