|
|
(21), (22) Заявка: 2004134499/28, 25.11.2004
(24) Дата начала отсчета срока действия патента:
25.11.2004
(45) Опубликовано: 27.03.2006
(56) Список документов, цитированных в отчете о поиске:
RU 2047944C1, 10.11.1995. SU 1553936A1, 30.03.1990. US 4127749A, 28.11.1978. US 6219131A, 17.04.2001.
Адрес для переписки:
199106, Санкт-Петербург, В.О., 21 линия, 2, СПГГИ (ТУ), патентный отдел
|
(72) Автор(ы):
Толстунов Сергей Андреевич (RU), Мозер Сергей Петрович (RU)
(73) Патентообладатель(и):
Государственное образовательное учреждение высшего профессионального образования Санкт-Петербургский государственный горный институт им. Г.В. Плеханова (технический университет) (RU)
|
(54) ОПТИЧЕСКИЙ МИКРОФОН
(57) Реферат:
Изобретение относится к области акустических измерений. Технический результат достигается тем, что в оптическом микрофоне, содержащем корпус, мембрану, закрепленную по периметру корпуса, источник излучения, волоконно-оптический световод, фокусирующую линзу и фотоприемник, согласно изобретению он снабжен направляющей линзой, установленным за ней поляризатором, анализатором, установленным перед фокусирующей линзой, фотоумножителем и регистратором, при этом анализатор соединен через шток с внутренней поверхностью мембраны с возможностью поворота при помощи пружинно-рычажного механизма. Применение оптического микрофона обеспечивает следующие преимущества: упрощение конструкции устройств данного типа; повышение точности, оперативности и достоверности измерений; расширение области применения данного вида устройств. 3 ил. 
Изобретение относится к области акустических измерений.
Известен оптико-акустический приемник (патент РФ 2169911, G 01 J 5/42, 2001.06.27). Устройство содержит камеру, имеющую входное окно, поглощающую пленку и зеркальную мембрану, оптический микрофон, диафрагму и основной фотоприемник. Оптический микрофон включает последовательно установленные источник излучения, основной конденсор, прозрачный растр и объектив, причем прозрачный растр установлен в фокальной плоскости объектива. В отличие от известного он снабжен дополнительным конденсором и фотоприемником, а также светоделительным элементом, установленным по ходу оптических лучей перед основным конденсором. При этом дополнительный конденсор расположен между источником излучения и светоделительным элементом, а дополнительный фотоприемник размещен на оси, перпендикулярной нормали к поверхности зеркальной мембраны и проходящей через центр светоделительной поверхности светоделительного элемента. Светоделительный элемент может быть выполнен с зеркальным покрытием, нанесенным на его светоделительную поверхность, в центре которой имеется прозрачная зона. При этом источник излучения и дополнительный конденсор установлены соосно с основным конденсором, а диафрагма с основным фотоприемником и дополнительный фотоприемник расположены соосно по разные стороны от светоделительного элемента. Кроме того, оптический элемент может быть выполнен с зеркальной зоной в центре его светоделительной поверхности, при этом источник излучения с дополнительным конденсором и дополнительный фотоприемник установлены соосно по разные стороны от светоделительного элемента, а диафрагма и основной фотоприемник расположены соосно с основным конденсором. Недостатком данного устройства является сложность конструкции и использования.
Известен оптический микрофон, принятый за прототип (патент РФ 2047944, H 04 R 23/00, 1995.11.10). Устройство содержит корпус, мембрану, закрепленную по периметру корпуса, источник монохроматического излучения, фокусирующую линзу, фотоприемник, причем на внутренней поверхности мембраны по спирали выполнены продольные пазы, в которых размещен волоконно-оптический световод. Пазы покрыты пленкой. Источник монохроматического излучения и фокусирующая линза установлены напротив первого конца волоконно-оптического световода, а фотоприемник расположен напротив второго конца волоконно-оптического световода. Недостатком данного устройства является сложность конструкции.
Техническим результатом изобретения является упрощение конструкции устройства.
Технический результат достигается тем, что в оптическом микрофоне, содержащем корпус, мембрану, закрепленную по периметру корпуса, источник излучения, волоконно-оптический световод, фокусирующую линзу и фотоприемник, согласно изобретению он снабжен направляющей линзой, установленным за ней поляризатором, анализатором, установленным перед фокусирующей линзой, фотоумножителем и регистратором, при этом анализатор соединен через шток с внутренней поверхностью мембраны с возможностью поворота при помощи пружинно-рычажного механизма, а источник излучения оптически связан через волоконно-оптический световод, направляющую линзу, поляризатор, анализатор, фокусирующую линзу, фотоприемник, фотоумножитель с регистратором.
Применение предлагаемого устройства по сравнению с прототипом позволяет упростить конструкцию устройств данного типа.
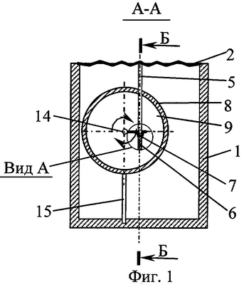
Оптический микрофон поясняется чертежами, где на фиг.1 изображено устройство, разрез А-А, на фиг.2 – вид А, на фиг.3 – разрез Б-Б.
На чертежах представлены:
1 – корпус;
2 – мембрана, защемленная по периметру;
3 – фокусирующая линза;
4 – источник излучения;
5 – шток;
6 – пружина;
7 – рычаг;
8 – обойма;
9 – анализатор;
10 – поляризатор;
11 – направляющая линза;
12 – фотоумножитель;
13 – регистратор;
14 – ось анализатора 9;
15 – стойки;
16 – волоконно-оптический световод;
17 – фотоприемник.
Оптический микрофон содержит корпус 1, внутри которого в стойках 15 на оси 14 закрепляют с возможностью поворота на ней анализатор 9, находящийся в обойме 8. В верхней части корпуса 1 по периметру закрепляют мембрану 2 с жестко закрепленным в ее центре симметрии штоком 5. Шток 5 находится в связи при помощи пружинно-рычажного механизма, состоящего из рычага 7 и пружины 6, с осью 14 анализатора 9. Внутри корпуса 1 размещают поляризатор 10 с возможностью его поворота в вертикальной плоскости для настройки работы устройства, например при помощи резьбового соединения (на чертеже условно не показано). Источник излучения 4 оптически связан через волоконно-оптический световод 16, направляющую линзу 11, поляризатор 10, анализатор 9, фокусирующую линзу 3, фотоприемник 17, фотоумножитель 12 с регистратором 13.
Оптический микрофон работает следующим образом. Работа оптического микрофона основана на принципе изменения интенсивности освещенности при повороте оптических осей анализатора 9 относительно поляризатора 10. Перед началом работы устройства поляризатор 10 поворачивают относительно анализатора 9 до полного отсутствия пропускания света от источника излучения 9. При возникновении звуковых колебаний мембрана 2, закрепленная по контуру, вызывает колебания штока 5, вызывающего через пружинно-рычажный механизм поворот анализатора 9. При поворотах анализатора 9 изменяется интенсивность освещения, что фиксируется через фокусирующую линзу 3, волоконно-оптический световод 16, фотоприемник 17 и фотоумножитель 12 регистратором 13.
Применение оптического микрофона обеспечивает следующие преимущества:
– упрощение конструкции устройств данного типа;
– повышение точности, оперативности и достоверности измерений;
– расширение области применения данного вида устройств.
Формула изобретения
Оптический микрофон, содержащий корпус, мембрану, закрепленную по периметру корпуса, источник излучения, волоконнооптический световод, фокусирующую линзу и фотоприемник, отличающийся тем, что он снабжен направляющей линзой, установленным за ней поляризатором, анализатором, установленным перед фокусирующей линзой, фотоумножителем и регистратором, при этом анализатор соединен через шток с внутренней поверхностью мембраны с возможностью поворота при помощи пружинно-рычажного механизма, а источник излучения оптически связан через волоконнооптический световод, направляющую линзу, поляризатор, анализатор, фокусирующую линзу, фотоприемник, фотоумножитель с регистратором.
РИСУНКИ
MM4A – Досрочное прекращение действия патента СССР или патента Российской Федерации на изобретение из-за неуплаты в установленный срок пошлины за поддержание патента в силе
Дата прекращения действия патента: 26.11.2006
Извещение опубликовано: 10.07.2008 БИ: 19/2008
|
|