|
|
(21), (22) Заявка: 2002118610/09, 18.01.2001
(24) Дата начала отсчета срока действия патента:
18.01.2001
(30) Конвенционный приоритет:
03.09.2000 SE PCT/SE00/01689
(43) Дата публикации заявки: 10.03.2004
(45) Опубликовано: 27.03.2006
(56) Список документов, цитированных в отчете о поиске:
ЕР 0869688 А1, 07.10.1998. RU 2107401 C1, 20.03.1998. WO 0039987 А1, 06.07.2000. WO 9819480 А1, 07.05.1998.
(85) Дата перевода заявки PCT на национальную фазу:
19.08.2002
(86) Заявка PCT:
SE 01/00079 (18.01.2001)
(87) Публикация PCT:
WO 01/54364 (26.07.2001)
Адрес для переписки:
191036, Санкт-Петербург, а/я 24, “НЕВИНПАТ”, пат.пов. А.В.Поликарпову
|
(72) Автор(ы):
МИНБОРГ Пер-Оке (SE), ПОХЬЯНВУОРИ Тимо (SE)
(73) Патентообладатель(и):
Де Фоун Пэйджиз ов Суиден АБ (SE)
|
(54) СПОСОБ И УСТРОЙСТВО ДЛЯ ОБМЕНА ИНФОРМАЦИЕЙ В СЕТИ СВЯЗИ
(57) Реферат:
Изобретение относится к способу связи уникального идентификатора и информационного объекта. Соединение уникального идентификатора, такого как телефонный номер или адрес Интернет, например, IPv6 и специфического информационного объекта, именуемого телефонной страницей, позволит А-стороне получить непосредственный доступ к информации, которую В-сторона или устройство пользователя В-стороны желает показать связанной стороне. Телефонная страница располагается в памяти телекоммуникационной сети или в сети передачи данных. Телефонная страница может выглядеть подобно вэб-странице Интернет, но также может принимать и другой вид. Процесс обработки или демонстрации телефонной страницы может быть выполнен зависимым от возможностей устройства пользователя А-стороны. Техническим результатом является обеспечение навигации между последовательностями информационных объектов путем применения нового соединения между коммуникационной сетью передачи данных и телекоммуникационной сетью. 2 н. и 14 з.п. ф-лы, 12 ил. 
Предпосылки изобретения
Представленное изобретение относится в основном к способу и устройству обмена информацией в коммутационных системах. Подробнее представленное изобретение относится к коммутационной системе, которая соединяется с открытой или частной сетью передачи данных и открытой или частной телекоммуникационной сетью.
Успешное развитие телекоммуникации позволяет все большему числу пользователей получать доступ к Интернет. Интернет стал не только источником знаний, но и новой областью бизнеса, привлекающей все больше пользователей. В настоящее время телекоммуникационная индустрия испытывает растущее давление, так как должна обеспечить решения, обеспечивающие доступ к Интернет практически каждому пользователю. Решения, основанные на широкополосных сетях, постоянно совершенствуются и за счет этого развиваются и развертываются новые локальные и общенациональные сети передачи данных. В настоящее время самый общий и распространенный способ доступа через модем в телекоммуникационную сеть (коммутируемая телефонная сеть общего пользования (КТСОП), КТСОП провайдер) заменяется другими методами доступа с большими скоростями передачи данных, то есть передающими информацию через линии электропередачи или кабельное телевидение.
В это же время телекоммуникационная индустрия решает еще одну проблему: как обеспечить мобильность каждому пользователю. Традиционно в телекоммуникации основное внимание было сосредоточено на голосовой связи. С увеличением объема передаваемой информации, однако, возникли новые требования (т.е. к более высокой скорости передачи информации), но появились и новые возможности. Развитие мобильных систем связи находится на этапе, когда появляется все больше систем, базирующихся на коммутации пакетами данных. По сравнению с системами, базирующимися на коммутации каналами, системы, базирующиеся на коммутации пакетами данных, имеют определенные преимущества, когда дело касается передачи информации. В системе, базирующейся на коммутации пакетами данных, пользователь использует ресурсы только в моменты, когда система контролирует сигналы или передает информацию пользователя. В системе, базирующейся на коммутации каналами, передающие ресурсы распределяются пользователю непрерывно, даже если отсутствует активная передача. Система, базирующаяся на коммутации каналами, имеет очевидные преимущества при голосовой связи реального масштаба времени, так как в этом случае трудно предсказать, как будет протекать коммуникация. Для передачи данных не так важна точная оценка требуемых системных ресурсов, так как ограничения, накладываемые на задержки, и их вариации не столь важны для качества коммуникации, как в случае голосовой связи. Таким образом, становится возможным обеспечить доступ к передающим ресурсам системы для большего количества пользователей, при условии, что после передачи канал освобождается и доступен для других пользователей.
Одной из таких систем является эволюция мобильной коммуникационной системы с пакетами данных, соответствующая спецификациям на глобальную мобильную систему связи (ГМСС), разработанную в ЕИСЭ (Европейский институт стандартизации электросвязи) сервис передачи по радио пакетов данных (СПРПД) (технология переходного периода от систем второго поколения к универсальной системе мобильной связи). В стандарте СПРПД система может обслуживать большее количество пользователей с более высокими скоростями передачи информации, чем это возможно сегодня, когда связь реализована в системе, базирующейся на коммутации каналами. По сравнению с ГМСС системой, СПРПД система является шагом вперед в направлении обеспечения мобильности пользователей систем связи, так как ГМСС системы оптимизируют мобильность “традиционных” пользователей, то есть пользователей голосовой связи реального масштаба времени.
Передача данных, происходящая сегодня через телекоммуникационные сети, обычно инициируется посредством доступа в Интернет или к серверу почты. Пользователь регистрируется на удаленном сервере и получает доступ к сети передачи данных, т.е. через модемные пулы. Пользователь звонит в модемный пул и через него соединяется с сервером, через который получает доступ к локальным и глобальным сетям. Браузеры, такие как Нетскэйп Навигатор или Микрософт Эксплорер, используются для навигации по ресурсам Интернет, то есть страницам и адресам. Пользователи и организации обычно создают собственные информационные объекты или страницы веб-сайтов на внешних или внутренних сетях, которые обеспечивают доступ к личной информации или любому другому виду информации. Однажды подсоединившись и получив доступ к сети передачи данных, пользователь может получить доступ к информационным объектам, набирая правильный адрес. Этот адрес часто состоит из комбинации имени узла в сети (т.е. имени сервера) и произвольной текстовой строки. Обычно, очень непросто осуществить поиск необходимого информационного объекта, так как текстовые строки и имена серверов являются нетривиальными последовательностями символов.
Когда адресация в телекоммуникационной сети задействована в голосовой связи или передаче данных, она осуществляется путем набора телефонного номера на устройстве пользователя (УП), таком как мобильный телефон или терминал с функциями факсимиле. Телефонный номер это уникальная унифицированная адресная строка. Вызывающая сторона (А-сторона) набирает адресную строку (В-номер) для адресации вызываемой стороны (В-стороны). В зависимости от типа сети передачи данных А-стороны, где находится абонент, требование на соединение маршрутизируется по одной или нескольким общедоступным телекоммуникационным сетям, достигает адресата, и связь может осуществиться. Другими уникальными символьными строками адресации являются, например, адреса электронной почты, IPv4 адреса, IPv6 адреса и адреса протокола инициализации сеансов.
Вышеописанный принцип также используется и в том случае, когда пользователь желает получить доступ в Интернет с компьютера, подсоединенного к телекоммуникационной сети. Пользователь подсоединяется к сети передачи данных, набирая В-номер в модемном пуле, с которого осуществляется доступ к этой сети. Не существует никакой дополнительной возможности обмена информацией с вызываемым сервером, кроме вышеописанной возможности.
Заявители установили, что существует проблема, связанная с принятым способом доступа к Интернет с целью приема доступа к специфическим информационным объектам, потому, что способ адресации информационных объектов сложен. Далее, существует необходимость обеспечения в телекоммуникационной промышленности более простого способа доступа к Интернет, включая более полную поддержку пользователя, то есть координация его работы с веб-страницей или информационным объектом не так как это осуществляется в настоящее время, когда поддержка осуществляется до этапа набора номера на модеме, так как с этого момента пользователь, осуществляющий навигацию в Интернет или работающий с информационными объектами, должен полагаться на собственные навыки.
Сущность изобретения
Представленное изобретение преодолевает указанные недостатки по идентификации и поиску информационного объекта и обеспечивает навигацию между последовательностями информационных объектов путем применения нового соединения между коммуникационной сетью передачи данных и телекоммуникационной сетью или нового соединения между различными сервисами в сети передачи данных.
В одном аспекте представленного изобретения описан способ для соединения уникального идентификатора В-стороны, такой как набираемый номер В-стороны, адрес Интернет, т.е. адрес электронной почты, IPv4 адрес, адрес протокола инициализации сеанса или IPv6 адрес) с информационным объектом. В-сторона может быть, например, физическим лицом, факсимиле, сервером почты, клиентом электронной почты или доступами к веб-страницам. Соединение номера В-стороны со специфическим информационным объектом, ниже обозначаемое как телефонная страница, позволит А-стороне осуществить непосредственный доступ к информации, которую В-сторона желает показать или обработать для вызывающей/подсоединенной стороне. Телефонная страница находится в памяти телекоммуникационной сети или в памяти подсоединенной сети передачи данных. Телефонная страница может иметь вид, схожий с веб-страницей Интернет, но также может принимать другой вид, например, являясь акустической телефонной страницей или программой. Показ/обработка телефонной страницы может быть выполнена зависимой от возможностей устройства пользователя А-стороны.
В зависимости от типа устройства пользователя А-стороны, узел, хранящий телефонные страницы, может определить тип устройств и выбрать наиболее оптимальный режим показа выбранных информационных объектов.
Телефонная страница, также зависящая от типа оборудования А-стороны, может обеспечивать различные уровни возможного взаимодействия, то есть, только показывать информацию или быть полностью интерактивным информационным объектом с поддержкой дуплексной связи между А-стороной и узлом, в котором находится память, хранящая телефонную страницу.
Телефонные страницы могут быть сконфигурированы таким образом, что могут быть показаны автоматически или при указании с А-стороны. В одном из вариантов осуществления представленного изобретения B-сторона обладает точно такими же возможностями приема телефонных страниц при приеме уникального идентификатора с А-стороны, такого как А-номер, электронный адрес А-стороны, IPv4 адрес, адрес протокола инициализации сеансов или IPv6 адрес, связанного с приходящей коммуникацией.
В другом аспекте представленного изобретения описывается узел телекоммуникационной сети или узел сети передачи данных. Этот узел состоит из, по крайней мере, памяти базы данных, включающей, по крайней мере, указатели телефонных страниц, которые передаются при поступлении удаленного запроса к базе данных.
Передача указателей вызывающей А-стороне может зависеть от типа соединения и технологии доступа, использующейся при соединении. Например, при соединении, когда одновременная коммуникация двух участвующих сторон, одна из которых является системой, основанной на коммутации каналами, а другая является системой, основанной на коммутацией пакетов данных возможна, то есть указатель может быть передан на коммуникационный ресурс с пакетной коммутацией, а голосовая связь может быть инициирована на ресурсе с коммутацией каналами. В других типах соединений два потока данных могут быть установлены на одном или нескольких одновременных коммуникационных ресурсах с коммутацией пакетов данных, то есть передачи речи и данных. Другой пример, когда голосовая связь инициируется через коммуникационный ресурс с коммутацией каналов, а указатели телефонных страниц передаются через канал системы, основанной на коммутации пакетов данных с ограниченными возможностями, такой как канал сервиса короткого сообщения (СКС). В другом примере использованы два коммуникационных канала, где один, например, представляет собой чат или электронную почту, а другой предназначен для указателей телефонных страниц.
В соответствии с изобретением, способ выборки объекта на первую пользовательскую коммуникационную задачу в связи с установлением коммуникационного сервиса со второй пользовательской коммуникационной задачей, включает несколько шагов, выполняемых первой пользовательской коммуникационной задачей. На первом шаге определяется появилось ли триггерное событие. На втором шаге запрашивается адрес коммуникационного сервиса, связанного с триггерным событием. На третьем шаге создается запрос на информационный объект, связанный с адресом коммуникационного сервиса, где запрос состоит, по крайней мере, из двух параметров, первый из которых представляет адрес коммуникационного сервиса, а второй представляет определенное триггерное событие. На четвертом шаге посылается запрос на информационный объект на сервер информационных объектов. На пятом шаге происходит получение информационного объекта или указателя информационного объекта с сервера информационных объектов в зависимости от параметров. На шестом шаге производится обработка полученных информационных объектов или указателей информационных объектов. Предпочтительно, тип коммуникационного сервиса определяет сервер информационных объектов. Адрес коммуникационного сервиса также ассоциирован со второй коммуникационной задачей пользователя. Параметр запроса может представлять код, указывающий типы коммуникации, доступные первой коммуникационной задаче пользователя. Параметр запроса может представлять код, указывающий приоритетность использования типов коммуникаций доступных первой коммуникационной задаче пользователя. Параметр запроса может представлять код, указывающий на требуемый коммуникационный сервис со второй коммуникационной задачей пользователя. Адрес коммуникационного сервиса может быть адресом доступа первого устройства пользователя или адресом доступа второго устройства пользователя. Если первая коммуникационная задача пользователя является инициирующей задачей, то вторая коммуникационная задача пользователя является прерывающей и наоборот: если вторая коммуникационная задача пользователя является инициирующей задачей, то первая коммуникационная задача пользователя является прерывающей. Параметр запроса может представлять код, указывающий тип носителя информации. Параметр запроса может представлять код, указывающий на типы устройств первой или второй коммуникационных задач пользователей. Параметр запроса может представлять код, указывающий на доступные и/или прилагаемые аксессуары. Параметр запроса может представлять код, указывающий версию используемого способа. Предпочтительно, запрос шифруется до передачи. Преимущественно, получаемый информационный объект шифруется и здесь же, на шаге обработки информационных объектов, расшифровывается. Триггерное событие может включать событие инициализированной коммуникации или которое будет инициализировано. Преимущественно, шаг, определяющий триггерное событие, далее определяет, появятся ли дополнительные коммуникационные события во время сеанса связи, таким образом обладая возможностью инициировать дальнейшие запросы на информационные объекты. Триггерное событие может быть событием нажатия выбранной кнопки на устройстве пользователя. Параметр запроса может представлять код, указывающий сервер информационных объектов, далее этот код может представлять имя сервера или сетевой адрес, состоящий из идентификатора сети и идентификатора хоста.
В соответствии с изобретением телекоммуникационная или информационная система включает первое устройство пользователя с первой коммуникационной задачей пользователя, второе устройство пользователя со второй коммуникационной задачей пользователя, коммуникационную сеть для реализации канала коммуникационного сервиса между первой и второй задачами пользователя и сервером информационных объектов. Первое устройство пользователя устроено так, что определяет появление тригтерного события, запрашивает адрес коммуникационного сервиса, связанного с триггерным событием, и создает запрос на информационный объект, связанный адресом коммуникационного сервиса. Предполагаемый запрос состоит, по крайней мере, из двух параметров, где первый параметр представляет адрес коммуникационного сервиса, а второй параметр представляет определенное триггерное событие. Первое устройство пользователя устроено так, что по выбору, если возможно, шифрует и посылает запрос на информационные объекты в сервер информационных объектов. Другая последовательность параметров, также может быть рассмотрена в рамках этого изобретения. Сервер информационных объектов устроен так, что возвращает информационный объект или указатель информационного объекта в зависимости от параметров на первую задачу пользователя в ответ на запрос. Первое устройство пользователя устроено так, что получает информационный объект или указатель информационного объекта с сервера информационных объектов и затем обрабатывает полученный информационный объект или указатель информационного объекта.
В соответствии с изобретением, представленный способ извлечения объекта с первого устройства пользователя, соединенного через первый коммуникационный канал со вторым устройством пользователя, состоит из нескольких шагов. В первом шаге запрашивается адресный указатель. Во втором шаге определяется, появилось ли триггерное событие, создается запрос на информационный объект, связанный с адресным указателем. Запрос состоит, по крайней мере, из двух параметров, первый из которых представляет адрес коммуникационного сервиса, а второй представляет определенное триггерное событие. В третьем шаге посылается запрос на информационный объект, через второй коммуникационный канал, на сервер информационных объектов. В четвертом шаге происходит прием информационного объекта или указателя информационного объекта с сервера информационных объектов, в зависимости от параметров. И, окончательно, в пятом шаге происходит обработка полученного объекта или указателя информационного объекта.
В некоторых версиях способа первый коммуникационный канал и второй коммуникационный канал являются параллельными каналами. В других вариантах способа первый коммуникационный канал и второй коммуникационный канал не являются параллельными каналами.
Первый коммуникационный канал может быть каналом системы с коммутацией каналами или каналом системы с коммутацией пакетов данных. Второй коммуникационный канал может быть каналом системы с коммутацией каналами или каналом системы с коммутацией пакетов данных.
Преимущественно, адресный указатель может быть телефонным номером, адресом Интернет, таким как сетевой адрес, адрес электронной почты первого устройства пользователя и/или второго устройства пользователя.
В некоторых версиях способа первое устройство пользователя является инициирующими устройством пользователя, а второе устройство пользователя является прерывающими устройством пользователя. В других вариантах способа второе устройство пользователя является инициирующим устройством пользователя, а первое устройство пользователя является прерывающим устройством пользователя.
Преимущественно, параметр запроса может быть одним или более представлением кода, указывающим базовое расположение оператора, представлением кода, указывающего тип информационного носителя, представлением кода, указывающего продавца оборудования, представлением кода, указывающего тип устройства пользователя, представлением кода, указывающего доступные и/или прилагаемые аксессуары, такие, как набор аксессуаров класса “хэндфри”, “чатборд”, цифровой плеер, радио, устройство чтения штрих-кода, карманный компьютер и/или любое оборудование класса “блютус”, кода, указывающего активны или нет аксессуары (например, наушники или приборы класса “хэндфри” для автомобиля и т.д.) причем активные аксессуары будут включать аудиоинформационный объект и представление кода, указывающего версию используемого способа.
Предпочтительно, запрос шифруется до посылки. Преимущественно получаемый информационный объект зашифрован и расшифровывается на шаге обработки информационного объекта.
Триггерное событие может быть одним или более событием, где исходящий вызов инициирован или будет инициирован событием, где адресованная вызываемая сторона отвечает на вызов, событием, где адресованная вызываемая сторона занята, событием, где адресованная вызываемая сторона не отвечает, событием, где адресованная вызываемая сторона отказывается отвечать на вызов, событием, где вызов является срочным или только что поступил, событием, где вызов был разъединен, событием, где вызов был осуществлен. Триггерное событие может быть одним или более событием, где новая ячейка открытой мобильной наземной сети связи (ОМНСС) была выбрана или местоположение абонента изменилось. Предпочтительно, когда Триггерное событие представляет новую ячейку или местоположение абонента, то требуемый информационный объект относится к новой ячейке или местоположению абонента, как, например, локальная рекламная информация. Триггерным событием может быть выбор нового оператора ОМНСС. Предпочтительно, чтобы когда адресный указатель представляет нового оператора ОМНСС, то запрашиваемый информационный объект может относиться к новому оператору ОМНСС, такой, как содержащий прайс-лист услуг нового оператора ОМНСС. Триггерное событие может представлять событие регистрации новой страны. Предпочтительно, чтобы когда адресный указатель представляет новую страну, то требуемый информационный объект имел отношение к новой стране.
В некоторых версиях способа шаг, определения триггерного событие далее определяет появились ли дополнительные триггерные события во время сеанса связи, чтобы быть в состоянии инициировать дальнейшие запросы на информационные объекты в течение вызова.
Преимущественно, коммерческая информация может быть продана посредством набора телефонного номера или приема доступа к вэб-странице и соответствующее триггерное событие, затем может быть событием оплаты, такое как когда вызов был соединен на первом коммуникационном канале или когда вызов был разъединен. Предпочтительно, чтобы информационный объект был коммерческой информацией или представлял коммерческую информацию.
Триггерным событием может быть нажатие выбранной пользователем кнопки на устройстве пользователя. Далее, адресный указатель может быть, например, телефонным номером или IPv6 адресом, включенным в список на первом устройстве пользователя. Адресный указатель может быть адресным указателем одного или более пропущенных вызовов, исходящих вызовов или приходящих вызовов. Адресный указатель может быть, например, телефонным номером, адресом электронной почты, IPv4 адресом, адресом протокола инициализации сеанса или IPv6 адресом.
Преимущественно параметр запроса может представлять код, идентифицирующий сервер информационных объектов. Предпочтительно, представление кода, идентифицирующего сервер информационных объектов, представляет имя сервера и сетевой адрес, состоящий из идентификатора сети и идентификатора хоста.
В любое время, когда устройство первого пользователя не задействовано в вызове или близко к завершению вызова, информационные объекты могут быть получены с сервера информационных объектов и храниться локально в первом устройстве пользователя, чтобы быть доступными при появлении следующего триггерного события.
Преимущественно, унифицированный указатель информационного ресурса сервера информационных объектов встроен программно в первое устройство пользователя.
В некоторых версиях способа сервер информационных объектов, по крайней мере, логически разделен на сервер имен и сервер объектов, и, таким образом, шаг посылки запроса на информационный объект посылается через второй коммуникационный канал на сервер имен. Далее, в некоторых версиях шаг приема указателя информационного объекта с сервера информационных объектов может включать шаг приема указателя информационного объекта с сервера имен. Затем, дополнительно, шаг обработки указателя объекта включает шаги посылки запроса на объект к серверу информационных объектов посредством полученного указателя объекта, а также получение информационного объекта с сервера объектов в зависимости от параметров и обработка полученного объекта. Далее, в других версиях способа, шаг приема информационного объекта включает шаги распределения сервером имен запроса на объект к серверу объектов и прием информационного объекта с сервера объектов в зависимости от параметров. Предпочтительно, унифицированный указатель информационного ресурса сервера имен встроен программно в первое устройство пользователя.
В некоторых версиях способа полученный объект или указатель объекта берется из выборки информационных объектов, осуществляемой в зависимости от идентичности запрашивающего, то есть возвращенная тому, кто запрашивает, телефонная страница может принимать различные виды, в зависимости от того, кто ее запрашивает.
В некоторых версиях способа полученный объект включает звук, который, по крайней мере, временно замещает или добавляется к звуку вызова на первом устройстве пользователя. В других версиях полученный объект включает звук, воспроизводимый вместо звука вызова, который временно приглушен.
В одном варианте осуществления изобретение представляет стационарный телефон, включающий графические возможности, который выполняет любую из версий способа в соответствии с представленным здесь изобретением. Другой вариант осуществления представляет собой мобильный телефон, включающий центральный процессор, устройство памяти, и, по крайней мере, один дисплей и этот мобильный телефон выполняет любую из версий способа в соответствии с представленным здесь изобретением. Другой вариант осуществления изобретения представляет собой мобильный телефон, включающий центральный процессор, устройство памяти, блок сменной памяти (то есть абонентскую идентификационную карту-модуль АИМ), и, по крайней мере, один дисплей и этот мобильный телефон выполняет любую из версий способа предпочтительно вне блока сменной памяти, в соответствии с описанным здесь изобретением. Другой вариант осуществления изобретения представляет мобильный телефон, включающий центральный процессор, устройство памяти и, по крайней мере, один дисплей и этот мобильный телефон загружает способ в соответствии с любой из версий способа, соответственно описанному здесь изобретению, в свое устройство памяти. Другой вариант осуществления изобретения представляет собой информационное устройство, включающее центральный процессор, устройство памяти и, по крайней мере, один дисплей и такой, как, например, карманный компьютер или портативный компьютер, обладающий возможностями мобильного телефона или подключенный к мобильному телефону, причем устройства которого выполняют любую из версий способа в соответствии с описанным здесь изобретением.
В соответствии с изобретением телекоммуникационная система или информационная система включает первое устройство пользователя, второе устройство пользователя и коммуникационную сеть для реализации первого коммуникационного канала между первым устройством пользователя, вторым устройством пользователя и сервером информационных объектов. Первое устройство пользователя, устроенное таким образом, что запрашивает адресный указатель, определяет появление триггерного события и создает запрос на информационный объект, связанный с адресным указателем. Запрос включает параметры, согласованные с задачей и состоящие, по крайней мере, из двух параметров, где первый параметр представляет запрашиваемый адресный указатель, и второй параметр представляет определенное триггерное событие. Другие последовательности параметров также могут быть предусмотрены, в объеме настоящего изобретения. Первое устройство пользователя устроено таким образом, что по выбору шифрует и посылает запрос на объект через второй коммуникационный канал на сервер информационных объектов. Сервер информационных объектов устроен таким образом, что возвращает информационный объект или указатель на информационный объект, в зависимости от параметров, на первое устройство пользователя через второй коммуникационный канал, в ответ на запрос. Первое устройство пользователя устроено таким образом, что получает информационные объекты или указатели информационных объектов с сервера информационных объектов и затем обрабатывает полученные информационные объекты или указатели информационных объектов.
Краткое описание чертежей
Далее, настоящее изобретение будет раскрыто подробнее на примерах детальных описаний, приводимых со ссылками на сопровождающие чертежи, на которых:
На Фиг.1 показан обзор коммуникационной инфраструктуры в соответствии с одним вариантом осуществления настоящего изобретения;
На Фиг.2 показана первая блок-схема взаимодействия абонента на А-стороне устройства пользователя (УП), в соответствии с одним вариантом осуществления настоящего изобретения;
На Фиг.3 показана первая блок-схема взаимодействия абонента на информационном сервере, в соответствии с одним вариантом осуществления настоящего изобретения;
На Фиг.4 показана вторая блок-схема взаимодействия абонента на А-стороне УП, в соответствии с представленным изобретением, где коммуникация голосом и данными может производиться одновременно;
На Фиг.5 показана третья блок-схема взаимодействия абонента на А-стороне УП, в соответствии с другим вариантом осуществления настоящего изобретения, где коммуникация голосом и данными не может производиться одновременно;
На Фиг.6 показана блок-схема взаимодействия абонента на B-стороне УП, в соответствии с вариантом осуществления настоящего изобретения;
На Фиг.7 показана опытная функциональная схема устройства пользователя в соответствии с одним вариантом осуществления настоящего изобретения;
На Фиг.8 показана функциональная схема сервера информационных объектов в сети передачи данных в соответствии с одним вариантом осуществления настоящего изобретения;
На Фиг.9 показана блок-схема процедуры определения указателя B-номера, в соответствии с одним вариантом осуществления настоящего изобретения;
На Фиг.10 показана блок-схема процедуры определения указателя А-номера, в соответствии с одним вариантом осуществления настоящего изобретения;
На Фиг.11 показана опытная функциональная схема устройства пользователя, которое соединяется с фиксированной сетью передачи данных в соответствии с одним вариантом осуществления настоящего изобретения;
На Фиг.12 показана опытная функциональная схема устройства пользователя, которое состоит из карманного компьютера и мобильного телефона, в соответствии с одним вариантом осуществления настоящего изобретения;
Детальное описание изобретения
Представленное изобретение будет описано ниже с ссылками на телекоммуникационную систему, базирующуюся на ГМСС, то есть систему с коммутацией каналами и СПРПД систему, то есть систему, базирующуюся на коммутации пакетами данных. Следует заметить, что описываемые ниже варианты осуществления являются опытными, причем и другие системы с коммутацией пакетами данных и/или с коммутацией каналами равнозначно могут быть рассмотрены как для голосовой коммуникации так и для коммуникации данными. Голосовая коммуникация, электронная почта, доступ к факсимиле и загрузка гипертекстового кода могут быть переданы через систему связи, базирующуюся на коммутации каналами и через систему связи, базирующуюся на коммутации пакетами данных. Обе фиксированные системы, мобильная, с коммутацией каналами данных, и система, базирующаяся на коммутации пакетами данных, обеспечены соответствующей технологией доступа к данным (множественный доступ с временным разделением, множественный доступ с кодовым разделением канала, множественный доступ с частотным разделением, множественный доступ с ортогональным частотным разделением, доступ с дуплексным временным разделением, доступ с частотным дуплексным разделением) или любая комбинация вышеупомянутых технологий может быть использована. Представленное изобретение не накладывает никаких ограничений на используемый тип коммуникационной сети передачи данных или технологию доступа. Необходимая коммуникация может осуществляться голосом или данными такими, как факсимиле или доступ к адресуемому IPv6 устройству такому, как термостат. Например, устройства А-стороны и B-стороны могут иметь доступ и быть доступными с телефонного номера, с адреса электронной почты, с Ipv4 адреса, с адреса протокола инициализации сеанса или с IPv6 адреса.
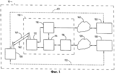
На Фиг.1 представлен обзор инфраструктуры 10, где соединяются несколько различных коммуникационных сетей передачи данных. На Фиг.1 представлены оба узла, включенных в мобильную коммуникационную сеть передачи данных с коммутацией каналами (КК), то есть мобильный переключающий центр (МПЦ) 118 и подсистема базовой станции (ПБС) 112, а также узлы, включенные в мобильную коммуникационную сеть передачи данных с коммутацией пакетами данных (ПД), то есть обслуживающий дополнительный узел СРППД (ДС-СРП) 114 и дополнительный шлюзовый узел СРППД (ДШ-СРП) 116. Как правило, узел ДС-СРП включает функциональные возможности, такие как десегментация и преобразование информационных пакетов, соответствующих одному протоколу в информационные пакеты в соответствии с протоколами, используемыми с интерфейсом эфира. Узел ДС-СРП включает также механизмы контроля для одной или нескольких ПБС 112 и также механизмы контроля качества (МКК). Узел ДШ-СРП включает функции, требуемые для поддержки коммуникации между мобильной сетью передачи данных пакетами и другими сетями передачи данных пакетами, то есть сеть передачи данных 120. Часть КК сети подсоединена к КТСОП сетью 140, а часть ПД сети подсоединена к сети передачи данных 120. Сеть передачи данных может быть и внутренней и внешней, то есть с глобальными или ограниченными возможностями доступа. Как показано, части сети КК и ПД также могут быть связаны друг с другом посредством интерфейса между МКЦ 118 и ДС-СРП 114. Центр МКЦ 112 может обслуживать как часть ПД сети 161, так и часть КК сети 162 через эфир, обеспечивая мобильность пользователей сервиса ПД и КК частей сети и их УП 100. Устройство пользователя 100 может, например, быть мобильным телефоном или мобильным телефоном, подключенным к любому информационному оборудованию, то есть карманному компьютеру или портативному компьютеру. Сеть КТСОП 140 обеспечивает пользователей (устройства пользователей), подсоединенных к фиксированной сети с такими сервисами, как обычные телефоны (ОТ), факсимиле или модемные устройства 150. Другими примерами устройств, подключенных напрямую и ненапрямую к сети КТСОП 140, являются терминалы цифровой сети с интеграцией услуг (ЦСИУ) и коммуникационные устройства, подключенные через цифровую абонентскую линию (такими, как асимметричная цифровая абонентская линия, высокоскоростная линия передачи по кабелям).
Обычно, сеть передачи данных 120 включает один или несколько маршрутизаторов (не показано) и информационных мостов так, чтобы несколько узлов были взаимосвязаны и осуществляли коммуникацию друг с другом. Сеть передачи данных, используемая для связи в настоящем изобретении, также включает сервер информационных объектов 130. Обычно, множество серверов информационных объектов включается в сеть передачи данных, причем, для ясности объяснений, только один сервер информационных объектов 130 представлен на Фиг.1. В предпочтительном варианте осуществления изобретения, функции сервера информационных объектов 130 разделены на две логически разные части, а именно сервер имен и сервер объектов. Сервер имен и сервер объектов могут быть разделены физически или только логически. Сервер имен обеспечивает трансляцию между адресными указателями, такими как телефонные номера, события и соответствующими областями хранения объектов на сервере, где находятся объекты, телефонные страницы, то есть унифицированными идентификаторами ресурсов, например, унифицированными указателями ресурсов. Сервер объектов хранит требуемые объекты, то есть содержание телефонных страниц. Несколько серверов имен могут быть предоставлены. Например, специальный сервер имен может быть управляемым оператором мобильной телефонной сети или продавцом мобильного телефона. В отдельном варианте осуществления устройства пользователя будет определено, какой из серверов имен используется. Сервер имен может быть обеспечен провайдером, может находиться в стране, быть универсальным и глобальным, зависеть от сервиса (такого, как электронная почта) или комбинации вышеуказанных вариантов. В предпочтительном варианте осуществления устройство пользователя, связанное с соответствующим сетевым оператором посредством АИМ карты, будет автоматически посылать запрос на сервер имен, обслуживаемый сетевым оператором. Автоматически, как запрограммировано в АИМ карте, запрос устройства пользователя направляется на сервер имен, управляемый сетевым оператором, назначенным пользователем (определенным АИМ картой). Таким образом, могут быть достигнуты такие преимущества, как конфиденциальность данных, скорость передачи и избыточность.
Примерами сетей передачи данных являются Интернет и Интранет. Устройство пользователя 100 может получать полное логическое соединение 171 к указанному телефону B-стороны 150, подключенному к сети КТСОП 140 через коммуникационный КК канал 161. Это канал обеспечивает связь между устройством пользователя 100, ПБС 112 и далее через узел центра МКЦ 118, через который может быть осуществлена связь как между устройством пользователя 100, так и телефоном 150. Аналогично, устройство 100 получать полное логическое соединение 172 к оборудованию, то есть серверу информационных объектов 130, соединенному с сетью передачи данных 120, через коммуникационный ПД канал 162. Этот канал обеспечивает связь между устройством пользователя 100, ПБС 112 и, далее, через ДС-СРП 114 и узел ДШ-СРП 116, через который информация может быть послана как между устройством пользователя 100, так и сервером информационных объектов 130.
В соответствии с одним аспектом представленного изобретения, сервер информационных объектов 130 включает графические информационные объекты, то есть телефонные страницы, связанные с адресными указателями, такими как телефонный номер или адрес Интернет, например, IPv6 адрес. Телефонный номер идентичен номеру абонента, то есть А-номеру или B-номеру, адресующих инициирующее устройство пользователя или прерывающее устройство пользователя. А-сторона во время набора B-номера соединяется с сервером информационных объектов 130 с помощью коммуникационного канала системы, основанного на использовании коммутации пакетами данных, и получает информационный объект, то есть “телефонную страницу”, хранимую в памяти сервера информационных объектов, с адресом памяти, соответствующим набранному B-номеру. Сервер информационных объектов может непосредственно включать телефонную страницу с информацией о B-стороне, или может просто обеспечить немедленный доступ к месту во внешней или внутренней сети передачи данных, в зависимости от того, как это поддерживается абонентом B-стороны. Таким образом, сервер информационных объектов 130 работает, во-первых, как сервер номеров, обеспечивая трансляцию поступившего B-номера в соответствующий универсальный идентификатор ресурса, где располагается телефонная страница и которая может находиться на физически удаленном сервере объектов телефонных страниц. Трансляция и обеспечение требуемой актуальной телефонной страницы может так же быть осуществлено прозрачно, то есть сервер, обрабатывающий номера телефонных страниц, оправляет или обеспечивает диспетчеризацию запроса на телефонную страницу к соответствующему серверу объектов телефонных страниц, и этот сервер обеспечивает прямую или косвенную коммуникацию через сервер имен с запрашивающей стороной, или сервер номеров телефонных страниц возвращает универсальный идентификатор ресурса требуемой телефонной страницы, запросившей стороне, после чего запросившая стороны будет перенаправлена, с использованием универсального идентификатора ресурса для того, чтобы запросить искомую телефонную страницу.
Телефонная страница B-стороны может включать информацию, относящуюся к пользователю B-стороны, такую, как телефонный номер, адрес и/или другую информацию. Телефонная страница B-стороны может так же включать информацию, относящуюся к устройствам пользователя B-стороны, например, это может быть факсимиле. После приема телефонной страницы B-стороны одна или несколько процедур могут быть выполнены. Если B-номер обращается к ОТ 150, голосовая связь на канале в системе с коммутацией каналами может быть установлена. Если B-номер обращается к другому устройству, то другое событие, подобное тем, когда используются оплачиваемые сервисы, могут произойти. Это, также, зависит от используемого устройства пользователя 100 А-стороны.
В соответствии с другим аспектом представленного изобретения, телефонная страница может быть связана с адресом Интернет, например, IPv6 адресом, адресом протокола инициализации сеанса или адресом электронной почты. Например, А-сторона, при установлении коммуникационной связи с вэб-страницей для приема доступа к показаниям термостата, находящегося в летнем домике, с целью проверки/контроля температуры, получит информационный объект, который, например, идентифицирует термостат и включает ссылку на вэб-страницу производителя, и/или другие коммуникационные средства производителя. В другом примере А-сторона желает установить конференц-вызов посредством конференц-телефона, находящегося в конференц-зале. Во время инициации связи А-сторона получит информационный объект, который связан с конференц-телефоном посредством телефонного номера, адреса гиперкода или сетевого адреса, включающего идентификатор сети и идентификатор хоста. Информационный объект, то есть телефонная страница конференц-телефона, может включать информацию, касающуюся местонахождения конференц-телефона, размеров конференц-зала и/или регламента. Далее, в другом примере А-сторона желает передать факсимиле. При выборе или инициации передачи информации на устройство факсимиле телефонная страница устройства факсимиле запрашивается и возвращается А-стороне. Телефонная страница устройства факсимиле могла бы включать информацию, касающуюся местонахождения факсимиле, его принадлежности и/или кто имеет доступ к факсимиле. Далее, в другом примере А-сторона желает передать электронную почту B-стороне. При выборе или написании адреса электронной почты, то есть возможно еще до завершения создания сообщения, телефонная страница адреса электронной почты запрашивается и возвращается А-стороне. Телефонная страница адреса электронной почты могла бы включать информацию, касающуюся владельца, адреса электронной почты пользователя B-стороны, других средств коммуникации с владельцем, и/или регламента или доступности владельца. Телефонная страница – это информационный объект, связанный с уникальным идентификатором, таким как телефонный номер или адрес Интернет, такой, как IPv6 адрес, но расположенный или полученный не с того места, на которое указывает этот уникальный идентификатор.
В одном из варианте осуществления представленного изобретения устройство пользователя 100 не поддерживает использование коммуникационного ПК канала, где информационные объекты могут быть переданы сервисом короткого сообщения (СКС) или временным КК каналом. Информационные объекты в некоторых случаях могут быть просто унифицированными указателями ресурсов на требуемую телефонную страницу, представляемой посредством СКС сервиса. В случаях, когда прием СКС используется как триггерное событие, устройство пользователя может сканировать приходящее СКС и, если найден любой унифицированный идентификатор ресурса, то далее, запускается браузер с полученным унифицированным идентификатором ресурса. В одном из вариантов осуществления представленного изобретения коммуникационный ПК канал имеющий, например, определенный режим контроля качества, используется для передачи речи в коммуникационной системе 10, где сеть КТСОП 140 и сеть передачи данных 120 взаимосвязаны соответствующим образом (не показано на Фиг.1).
На Фиг.2 показана блок-схема процедуры, на инициирующем устройстве пользователя (подобного устройству пользователя 100), для передачи телефонной страницы А-стороне, используя устройство пользователя в соответствии с одним вариантом осуществления настоящего изобретения. В шаге 205 процедура инициируется А-стороной (то есть устройство пользователя включается). В шаге 210 триггер запроса телефонной страницы указывается автоматически (вызов завершается по инициативе другой стороны) или мануально А-стороной (набором B-номера или выбором адреса электронной почты). Мануальный запрос особенно предпочтителен, когда телефонная страница адресного указателя, которая была вызвана последней, потеряна или получена последней, то есть когда телефонная страница связана, например, с номером, хранимым в устройстве пользователя. Телефонные страницы могут храниться ассоциированными с соответствующими номерами на устройстве пользователя для автономной обработки или выборке по требованию. Триггерное событие 210 может быть, по крайней мере, одним триггерным событием из множества следующих событий:
– Инициирован вызов, при котором несколько триггерных событий могут быть сгенерированы, чтобы инициировать поток телефонных страниц.
– Исходящий вызов инициирован или будет скоро инициирован.
– Исходящий коммуникационный канал инициирован или будет скоро инициирован.
– Адресный указатель определен.
– Коммуникация данными инициирована или будет скоро инициирована.
– Факсимиле посылается или будет скоро послано.
– Адресованная B-сторона отвечает на вызов.
– Адресованная B-сторона занята.
– Адресованная B-сторона не отвечает.
– Адресованная B-сторона отказывается отвечать на вызов.
– Адресованная B-сторона недоступна (т.е. адресованный мобильный телефон находится вне зоны обслуживания).
– Входящий вызов является постоянным или только что инициирован.
– Конференц-вызов инициирован или будет скоро инициирован.
– Вызов разъединен.
– Абонент поставлен в ожидание.
– Устройство пользователя будет скоро выключено.
– Устройство пользователя включено.
– Определенная кнопка на устройстве пользователя нажата.
– В ответ устройство пользователя приняло поток речи.
– Голосовая почта оставлена для абонента.
– СКС сообщение послано или скоро будет послано абоненту.
– СКС сообщение принято или скоро будет принято от абонента.
– Сообщение по электронной почте послано или скоро будет послано абоненту.
– Сообщение по электронной почте получено или скоро будет получено от абонента.
– Загрузка гипертекстового кода инициирована или скоро будет инициирована.
– “Чат-сессия” инициирована или скоро будет инициирована.
– Управляемый информационный объект (простого протокола управления сетью) доступен или скоро станет доступен.
Определенные триггерные события могут обеспечивать специальные сервисы, например, при помощи сетевого оператора или автоматически предоставлять информацию или рекламу, связанную с местоположением. Эти тригерные события могут быть одним или более из следующих событий:
– Выбор новой ячейки в открытой мобильной наземной сети связи (ОМНСС).
– Местоположение абонента изменилось. Информация, включающая местную рекламу, может быть обеспечена, например, такая, как информация о ближайшем недорогом ресторане.
– Выбран новый ОМНСС оператор. Это, например, включает представление списка цен на услуги выбранного ОМНСС оператора.
– Зарегистрирована новая страна. Это триггерное событие может быть использовано для обеспечения одной или более телефонных страниц, имеющих отношение к новой стране.
Как было отмечено, во время вызова несколько триггерных событий могут генерировать запросы на телефонные страницы. Это может быть телефонная страница с приветствием, используемая до начала голосовой коммуникации или любой другой коммуникации, одна или более любых других телефонных страниц (которые могут быть направлены, то есть заказаны/посланы другой стороной) в течении голосовой коммуникации или другой коммуникации и, наконец, страница с последней фразой, связанная с разъединением голосовой коммуникации или коммуникации данными. Все телефонные страницы могут быть выбраны до начала голосовой коммуникации или коммуникации данными, и затем помещаются в буфер соответствующего устройства пользователя, на той и другой сторонах, то есть на стороне, инициировавшей связь, и на стороне, прерывающей связь. Буферизация телефонных страниц на соответствующем устройстве пользователя особенно предпочтительна, когда одно или оба устройства пользователя не поддерживают одновременной коммуникации голосом и данными.
А-сторона инициирует запрос в шаге 230, возможно после шага шифрования информации 220 и посылает запрос через коммуникационный канал (как показано на Фиг.1 это КП канал) на сервер информационных объектов. Запрос на информационные объекты может включать, по крайней мере, один из нескольких следующих параметров:
– Код, указывающий локального оператора.
– Код, указывающий тип устройства хранения информации.
– Код, указывающий продавца, то есть вид/производитель устройства пользователя, например, компания Нокия.
– Код, указывающий тип устройства пользователя, например, 7110, факсимиле, термостат.
– Один или более кодов, указывающих доступные и/или прилагаемые аксессуары, такие как устройства класса “хэндфри” для мобильного телефона, “чатборд”, цифровой плеер, радио, устройство для чтения штрих-кода, карманный компьютер и/ или любое оборудование категории “блютус”
– Код, указывающий активны ли аксессуары класса “хэндфри”, такие как наушники или комплект для автомобиля. Активация устройства класса “хэндфри” (наушников) предпочтительно вызовет звуковую презентацию телефонной страницы.
– Код, указывающий версию программного обеспечения, работающего с устройством пользователя.
– Требуемый протокол будет использован для передачи (то есть стандарт разметки документов и устройств беспроводных приложений, протокол беспроводной связи, стандарт языка гипертекстовой разметки, протокол передачи гипертекста).
– Указатель сервера информационных объектов (имя сервера или сетевой адрес, включающий идентификатор сети и идентификатор хоста).
– Код, указывающий на тип события, инициировавшего запрос на информационный объект (установка исходящего вызова).
– Указанный B-номер или другой уникальный указатель, ассоциированный с, по крайней мере, одним устройством B-стороны.
– Идентичность А-стороны, то есть А-номер мобильной станции или идентичность абонента, то есть международный идентификатор мобильного абонента (МИМА).
– Сетевой адрес А-стороны (т.е. адрес, включающий идентификатор сети и идентификатора хоста) используемый сервером информационных объектов, когда сервер возвращает требуемый информационный объект.
– Код возможностей, указывающий возможности отображения А-стороны (разрешающая способность экрана, аудио и т.д.).
– Код, указывающий схему шифрования и/или использованный ключ шифра.
– Код, указывающий на страну, в которой зарегистрирована мобильная станция (код страны).
– Код, указывающий текущего ОМНСС оператора или ОМНСС, где А-сторона имеет подписку или и то и другое вместе.
– Код, указывающий на уникальную идентичность устройства.
– Контрольный код (контрольная сумма) параметров.
Запрос на информационный объект в шаге 230, в соответствии с вариантом осуществления представленного изобретения, вызывает ответ с сервера информационных объектов в зашифрованном формате, и в этом случае, после приема на устройство пользователя в шаге 250 выполняется расшифровывание данных.
Если информационные объекты включают одну или более телефонных страниц, то далее следует процедура отображения в шаге 260, где информационные объекты показываются и/или озвучиваются, в соответствии с возможностями устройства пользователя, после чего процедура завершается в шаге 299. Например, если устройство пользователя класса “хэндфри” активно, то предпочтительно использование, по крайней мере, аудиоинтерфейса, в дополнение к любой показываемой информации. Телефонная страница может включать информацию и функциональные возможности для обновления телефонной книги на УП получателя или АИМ карте. Любое обновление информации происходит только после подтверждения получателя. В соответствии с одним вариантом осуществления представленного изобретения, в первый момент, после инициации вызова от пользователя/к пользователю, который не внесен в телефонную книгу устройства пользователя, при приеме телефонной страницы, включающей имя и другую информацию, запрос направляется к устройству пользователя, причем запись, состоящая из одной из или более части полученной информации, должна быть добавлена в телефонную книгу.
Обычно, после шага 299, далее будет следовать одна или несколько процедур, в соответствии с возможностью устройства пользователя А-стороны или типа оборудования, указанного B-номером или другим адресным указателем.
В соответствии с одним из вышеуказанных вариантов осуществления представленного изобретения, где непрерывное триггерное событие реализуется выполнением вызова, определенные преимущества могут быть достигнуты, так, например, коммерческая информация может быть продана, в ответ на набор B-номера, позволяющего удобно оплачивать информацию, полученную посредством зависимости от телефонной страницы. Отдельная журнальная статья может быть продана посредством вызова оплачиваемого номера, когда телефонная страница стороны, инициирующей вызов, передает имя и адрес для посылки журнальной статьи. Информация, выбираемая посредством пароля или ему подобным средством, которая может быть продана посредством вызова оплачиваемого номера и получения в ответ телефонной страницы с оплаченным паролем или ему подобным средством, на случай непредвиденного разъединения вызова или когда вызов еще не пришел.
На Фиг.3 изображены соответствующие процедуры на сервере информационных объектов (подобно серверу информационных объектов 130), где в шаге 305 процедура начинается и в шаге 310 сервер информационных объектов получает запрос на информационный объект. Запрос обычно может включать, по крайней мере, адресный указатель, соответствующий, например, А- или B-номеру, адресу электронной почты или IPv6 адресу и, наконец, к виду триггерного события, вызвавшего запрос. Если запрос зашифрован, расшифровка будет выполнена в шаге 320 до интерпретации содержимого. Адресный указатель (то есть А- или B-номер) в запросе, полученном в шаге 310, будет сравнен с адресом памяти на сервере информационных объектов или с (на сервере информационных объектов) адресом подключенной памяти на другом сервере и информационный объект, то есть телефонная страница, будет выбран в шаге 330. Как было отмечено выше, сервер информационных объектов может обеспечить как телефонную страницу непосредственно, так и только указатель на телефонную страницу, причем указатель обычно является универсальным идентификатором ресурса. В некоторых вариантах осуществления представленного изобретения, когда сервер информационных объектов не включает сами телефонные страницы, сервер информационных объектов будет направлять, то есть диспетчировать запрос на действительный сервер телефонных страниц или обеспечивать запрашивающую сторону универсальным идентификатором ресурсов телефонной страницы. Диспетчирование может быть описано следующим образом:
– Устройство пользователя посылает запрос на телефонную страницу к серверу информационных объектов;
– Сервер информационных объектов направляет запрос со всеми соответствующими параметрами к действительному серверу телефонных страниц;
– Действительный сервер телефонных страниц переправляет запрошенную телефонную страницу на устройство пользователя.
Перенаправление может быть описано как:
– Устройство пользователя посылает запрос на телефонную страницу к серверу информационных объектов;
– Сервер информационных объектов возвращает универсальный идентификатор ресурса действительного сервера телефонных страниц на устройство пользователя;
– Устройство пользователя создает новый запрос к действительному серверу телефонных страниц, используя полученный универсальный идентификатор ресурса;
– Действительный сервер телефонных страниц переправляет прямо или косвенно (через сервер имен) запрошенную телефонную страницу на устройство пользователя.
Запрос в шаге 310 может также включать указатель возможностей дисплея устройства пользователя, причем в этом случае информационный объект, находящийся на сервере информационных объектов, может быть адаптирован к специфическим особенностям отображения на получающем устройстве пользователя в шаге 340. Запрос на шаге 310 может также включать указатель идентичности, то есть телефонный номер запрашивающего, причем в этом случае возвращаемая телефонная страница или страницы может состоять из выборки телефонных страниц, выполненной в зависимости от идентичности запрашивающего. Если требуемый запрос был зашифрован или запрашивается по какой либо другой причине, то запрос будет зашифрован в шаге 350, до его возвращения на запросившее устройство пользователя в шаге 360 и, затем, процедура завершается в шаге 699 на сервере информационных объектов.
Описанное выше общее решение для получения информационного объекта, связанного с адресным указателем, может, разумеется, варьироваться и зависит, в частности, от коммуникационных возможностей задействованных устройств пользователя. Например, способ одновременного запрашивания, шифрования, расшифровки и отображения последовательностей информационных объектов также может быть применен в варианте осуществления представленного изобретения.
Современные устройства пользователя, такие как мобильные станции, разработаны так, чтобы обрабатывать оба типа коммуникации одновременно: коммуникацию с коммутацией пакетами данных и коммуникацию с коммутацией каналами. Такие устройства обозначаются как мобильные станции класса А. Другие мобильные станции разработаны таким образом, что позволяют альтернативную обработку коммуникаций с коммутацией каналами или пакетами данных, то есть без одновременной ПК и КК передачи и приема. Такие устройства обозначаются, как мобильных станции класса В.
На Фиг.4 показана блок-схема процедур, задействованных при инициации связи с коммутацией каналами с УП, являющимся мобильной станцией класса А в соответствии с одним аспектом представленного изобретения. Процедура начинается в шаге 405, когда мобильная станция класса А не участвует в сессии вызова, и когда пользователь начинает набирать B-номер для B-стороны, в шаге 420, путем нажатия цифры, кнопки или активации средств, распознающих голос. Во время выполнения шага 420, B-номер будет получен полностью. Теперь мобильная станция начинает устанавливать два различных соединения: для голосовой связи на канале с коммутацией каналами в шагах 430-440-498 и для коммуникации на канале с коммутацией пакетами данных для выборки телефонной страницы в шагах 450-499. Эти процедуры могут быть одновременными на мобильной станции класса А.
Для процедур с коммутацией каналами, голосовая связь с B-стороной инициируется в шаге 430, коммуникационный ресурс назначается мобильной сетью передачи данных, через которую может осуществляться телефонный разговор. Телефонный разговор завершается в шаге 440, как любой другой голосовой вызов, например, путем нажатия выбранной кнопки на мобильной станции или вешая трубку телефона стационарной сети. Окончание вызова также включает переназначение значащих коммуникационных ресурсов, в части мобильной сети связи, которая базируется на коммутации каналами, а также любых КТСОП ресурсов, задействованных в соединении.
Процедуры с коммутацией пакетами данных, в основном, следуют процедурам, описанным на Фиг.3, где запрос на информационный объект посылается, возможно после шифрования в шагах 450 и 460 и, далее, когда ответ получен и телефонная страница показана, возможно после расшифровки в шагах 470-490 и после которой соединение базирующееся на коммутацией пакетами данных завершается в шаге 499.
Как было отмечено выше, мобильная станция класса В не поддерживает два одновременных соединения, то есть, ПД соединение и КК соединение. Поэтому, для некоторых событий необходим другой способ выбора телефонных страниц, когда устанавливается голосовая связь, базирующаяся на коммутации каналами.
На Фиг.5 показана процедура, подобная процедуре на Фиг.4, но с мобильной станцией класса В, используемой на А-стороне, инициирующей конец вызова. Процедура начинается в шаге 505 и в шаге 510 указывается B-номер, как описано выше на Фиг.4. В этом варианте осуществления представленного изобретения в шаге 520 представлен, чтобы где возможно, сделать выбор: будет запрошена телефонная страница или нет. Обычно это может быть выбор, выполненный пользователем и/или указываемый B-номером, набираемым при соответствующих настройках. В соответствии с одним вариантом осуществления настоящего изобретения, двойной щелчок кнопки ПОСЛАТЬ указывает, что телефонная страница должна быть запрошена. Если указывается, что телефонная страница не требуется, то следует соединение вызова в шагах 550-560 и 599 на канале, базирующимся на коммутации каналами и, прекращение связи в шагах 430, 440 и 498, как это объяснено на Фиг.4.
Если указывается, что требуется телефонная страница, то выполняются следующие шаги: шифрование 530 и посылка 535 запроса на информационный объект на канал системы, базирующейся на коммутации пакетами данных. До тех пор, пока пакетная сессия не прерывается, 540, загрузка информационных объектов на А-сторону продолжается. Информационные объекты, получаемые на шаге 570, расшифровываются, если были зашифрованы в шаге 580 и отображаются в шаге 590. В шаге 595 определяется, остались ли еще данные для приема, и если не последовало прерывание, то в шаге 540 продолжается загрузка информационных объектов. Возможное прерывание может произойти, когда пользователь не желает более ждать завершения загрузки телефонной страницы и вместо этого инициирует коммуникацию с коммутацией каналами в шаге 550. Это может быть инициировано истечением заданного времени или посредством мануального указания на человеко-машинном интерфейсе (ЧМИ). Самая последняя коммуникация с коммутацией каналами инициируется, когда не остается более телефонных страниц для загрузки. В соответствии с другим вариантом осуществления настоящего изобретения, телефонные страницы для устройства пользователя класса В будут получены с сервера информационных объектов 130 при завершении вызова или в любое другое время, когда устройство пользователя не задействовано в вызове, причем телефонные страницы хранятся на устройстве пользователя и доступны при появлении следующего триггерного события.
Таким образом, были описана выборка телефонных страниц для отображения на устройстве А-стороны. Необходимо признать, что B-сторона также может показывать подобным образом телефонные страницы, относящиеся к соединению, предпочтительно, телефонную страницу, идентифицированную с номером А-стороны. На Фиг.6 показана блок-схема процедур на устройстве пользователя B-стороны для выборки телефонных страниц А-стороны в соответствии с одним вариантом осуществления настоящего изобретения, когда B-сторона обладает возможностями мобильной станции класса А. Процедура начинается в шаге 605 с вызова, приходящего на B-сторону устройства пользователя. В шаге 610 коммуникационный канал распределяется между устройством пользователя и сетью передачи данных 110, к которой подключено устройство пользователя. В шаге 620 указатель идентичности звонящего, то есть идентичности А-стороны, предпочтительно А номер, представляется B-стороне. Затем в шаге 660 и 670 запрос после шифрования посылается на сервер информационных объектов. Запрос после получения на сервере обрабатывается подобно запросам, получаемым с А-стороны, то есть расшифровывается, если необходимо, и на него отвечают передачей информационного объекта, относящегося к идентичности А-стороны. Устройство пользователя получает информационные объекты, то есть телефонную страницу в шаге 680, и после расшифровки в шаге 690, если необходимо, телефонная страница может быть показана пользователю B-стороны в шаге 695. Телефонная страница, содержащая приветствие и полученная B-стороной на прерывающем устройстве пользователя, к которому был направлен запрос, в ответ на исходящий вызов, являющийся непрерывным триггерным событием, может включать персонифицированный сигнал вызова источника, А-стороны, то есть звонящего А-стороны, идентифицирует себя B-стороне, посредством специального сигнального вызова на устройство пользователя B-стороны. В одном варианте осуществления настоящего изобретения звук в телефонной странице может заменять звук сигнала вызова, предпочтительно только на время установления связи или разговора, чтобы использовать звук телефонной страницы как сигнал вызова. В другой версии осуществления представленного изобретения сигнал вызова телефонной страницы приемника приглушен, предпочтительно только на время вызова, чтобы только звук телефонной страницы был слышен вместо обычного сигнала вызова.
Если на вызов ответили в шаге 630, установление голосовой связи следует тем же процедурам, что описаны на Фиг.3 и Фиг.4. Если на вызов не отвечают, голосовая часть последовательности завершается в шаге 698.
Для ясности изложения описания несколько шагов в сигнализации между устройством пользователя 100 и коммуникационной инфраструктурой 110, устройством пользователя 100 и сервером информационных объектов 130 в нескольких вариантах осуществления представленного изобретения были опущены. Внимание сосредоточено на необходимых и новых вышеупомянутой сигнализации в соответствии с изобретением. Понятно, что и другие процедуры, такие как самоидентификация, распределение каналов и зарядка, могут возникнуть в дополнение к тому, что описано в вышеупомянутых шагах сигнализации.
На Фиг.7 показано устройство пользователя, используемое в соответствии с одним вариантом осуществления настоящего изобретения, где устройство пользователя – это мобильный телефон или карманный компьютер с возможностями мобильного телефона. Центральный процессор (далее ЦП) 750 соединен с, по крайней мере, одним устройством памяти 751 и, по крайней мере, одним дисплеем 720. Центральный процессор 750 может также быть подключен к устройству клавиатуры или контактной панели 752, чтобы абоненты могли вводить, например, цифры. Устройство памяти 751 может быть энергонезависимым (стираемая программируемая постоянная память или АИМ карта) для того, чтобы сохранять записанную информацию в случаях временных прерываний энергоснабжения. Центральный процессор 750, далее, соединен с радиоблоком 710, который может конвертировать входящие и выходящие данные в модулированные сигналы радиочастот. Радиоблок 710 также соединен с антенной 760, позволяющей передавать/принимать модулированные сигналы радиочастот в эфире. Радио-блок 710 может быть также соединен непосредственно прямо или опосредованно с наушниками 730 и микрофоном 740 для обеспечения голосовой связи. Устройство пользователя может далее включать множество программ, то есть браузер 771, который может отображать, по крайней мере, один тип информационного объекта и шифровально/дешифровальное программное ядро 772, позволяющее шифровать запросы на информационные объекты, и расшифровывать информационные объекты. По выбору устройство пользователя может быть снабжено кэш-памятью, в которой возможно хранить и выбирать необходимые информационные объекты без занятия передающих ресурсов коммуникационной сети 10.
На Фиг.8 показан сервер информационных объектов 130 в соответствии с одним вариантом осуществления представленного изобретения. Сервер информационных объектов включает, по крайней мере, один ЦП 830, соединенный с, по крайней мере, одним устройством памяти 810, кэш-памятью 850, с по крайней мере одной базой данных 840, и, по крайней мере, одним устройством интерфейса 820. Устройства памяти 810 и базы данных 840 могут быть выполнены энергонезависимыми. Устройство интерфейса 820 позволяет ЦП 830 посылать и принимать данные в/из сети передачи данных 120. Кэш-память 850 позволяет хранить часто используемые информационные объекты таким образом, что ЦП 830 может получать их без задержек. База данных 840 содержит действительные информационные объекты, которые могут быть затребованы устройством пользователя 100 через коммуникационную структуру 110 и сеть передачи данных 120. Сервер информационных объектов может также включать несколько программ, включая, но не ограничиваясь фильтром 861, позволяющим выполнять оптимизацию информационных объектов по критерию оптимизации отобразительных возможностей устройства пользователя 100, и программное ядро шифрования/дешифрования 862, позволяющее расшифровывать запросы на информационные объекты и шифровать информационные объекты.
В соответствии с вариантом осуществления представленного изобретения, блоки 810, 820, 830, 840, 850 и 860 могут быть осуществлены на множестве компьютеров. В соответствии с другим вариантом осуществления представленного изобретения, вышеуказанное множество компьютеров может быть расположено на значительном расстоянии.
В индикацию B-номера входят любые средства индикации B-номера на А-стороне устройства пользователя. Первый пример процедуры индикации B-номера описывается на Фиг.9, где процедура индикации B-номера начинается с шага 905 и, далее, в шаге 910, осуществляется прием с клавиатуры соответствующего символа. В ответ на шаг 910, в шаге 920 символ заносится и хранится в буфере устройства пользователя и в шаге 930 производится проверка закончен ли ввод B-номера. Если ввод B-номера не закончен, то шаги 910, 920 и 930 повторяются. В случае, если ввод B-номера завершен, процедура индикации B-номера завершается в шаге 999. Определение 930 того, что ввод B-номера закончен может или не может включать использование таймерного управления процедурой индикации; короткие комбинации клавиш, минимизирующие количество нажатий; специальные кнопки для индикации завершения номера (то есть, нажатие кнопок ПОСЛАТЬ или ВЫЗОВ происходит только один раз) или анализ цифр в буфере для определения закончен ли ввод B-номера.
Во втором примере индикация B-номера производится посредством голосового определения, где входящий поток речи сравнивается и совпадает с содержимым внутренней базы данных, содержащейся на устройстве пользователя 100, где корректный B-номер мог бы быть получен в ответ на вышеуказанный поток речи.
В индикацию А-номера входят любые средства индикации А-номера устройству пользователя 100. Первый пример процедуры индикации А-номера описывается на Фиг.10, где процедура начинается с шага 1005, и далее, в шаге 1010, А-номер принимается с коммуникационной инфраструктуры 110. В ответ на шаге 1010 производится проверка корректности А-номера (не блокирован ли, засекречен или неправильно интерпретирован) и если все в порядке, то номер хранится в памяти устройства пользователя 100 в шаге 1030. Если А-номер не корректен, то флаг индикации некорректного А-номера хранится в памяти устройства пользователя 100. Процедура завершатся в 1099.
Во втором примере индикация А-номера производится посредством посылки А-номера или информационных объектов, в ответ на А-номер, непосредственно на логический коммуникационный канал 162.
На Фиг.11 показано устройства пользователя 100, в соответствии со вторым вариантом осуществления представленного изобретения, когда устройство пользователя 100 представляет собой стационарный телефон с графическими возможностями. В соответствии с этим вторым вариантом, устройство пользователя 100 эквивалентно мобильному телефону, представленному на Фиг.7, но за исключением радиоблока 710 и антенны 760, которые заменяются на медиа-адаптер 1210. Этот медиа-адаптер конвертирует входящие и выходящие сигналы в/из формы стандарта медиа, включая, но не ограничиваясь такими стандартами, как: стандарт цифровой сети с интеграцией функций, стандарт на несимметричную цифровую абонентскую линию, стандарт на высокоскоростную цифровую абонентскую линию, стандарт на сверхскоростную цифровую абонентскую линию, кабельные сети передачи информации и любую комбинацию из вышеупомянутых стандартов.
На Фиг.12 показано устройство пользователя 100 в соответствии с другим вариантом осуществления представленного изобретения, где устройство пользователя – это мобильный телефон 1390, возможно, без функций отображения информационного объекта и с антенной 1360, подключенный к карманному компьютеру 1490 через коммуникационный канал 1395. Коммуникационный канал, например, может быть выполнен так, что включает радио (то есть класс устройств “блютус”), “инфро” или проводную конфигурацию. Карманный компьютер 1490 далее включает ЦП 1450, соединенный, по крайней мере, с одним устройством памяти 1451 и с, по крайней мере, одним дисплеем 1420. Центральный процессор 1350 может также быть соединен с устройством клавиатуры или контактной панелью 1452, чтобы абоненты могли вводить, например, цифры. Устройство памяти 1451 может быть энергонезависимым (стираемая программируемая постоянная память или АИМ карта) для того, чтобы сохранять записанную информацию в случаях временных прерываний энергоснабжения. Карманный компьютер 1490 далее включает комплект программ 1470, включающий, но не ограниченный браузером 1471, который может отбражать, по крайней мере, один тип информационного объекта, программное ядро шифрования/дешифрования 1472, позволяющее шифровать запросы на информационные объекты и расшифровывать информационные объекты. Мобильный телефон 1390 далее описывается на Фиг.7, где устройство 1320 соответствует устройству 720, устройство 1310 соответствует устройству 710, устройство 1350 соответствует устройству 750, устройство 1351 соответствует устройству 751, устройство 1352 соответствует устройству 752, устройство 1330 соответствует устройству 730 и, наконец, устройство 1340 соответствует устройству 1340.
На Фиг.12 показано устройство пользователя 100 в соответствии с другим вариантом осуществления представленного изобретения, где устройство пользователя – это мобильный телефон 1390, возможно, без функций отображения информационного объекта и с антенной 1360, подключенный к карманному компьютеру 1490 через коммуникационный канал 1395. Коммуникационный канал, например, может быть выполнен так, что включает радио (то есть класс устройств “блютус”), “инфро” или проводную конфигурацию. Карманный компьютер 1490 далее включает ЦП 1450, соединенный, по крайней мере, с одним устройством памяти 1451 и с, по крайней мере, одним дисплеем 1420. Центральный процессор 1350 может также быть соединен с устройством клавиатуры или контактной панелью 1452, чтобы абоненты могли вводить, например, цифры. Устройство памяти 1451 может быть энергонезависимым (стираемая программируемая постоянная память или АИМ карта) для того, чтобы сохранять записанную информацию в случаях временных прерываний энергоснабжения. Карманный компьютер 1490 далее включает комплект программ 1470, включающий, но не ограниченный браузером 1471, который может отбражать, по крайней мере, один тип информационного объекта, программное ядро шифрования/дешифрования 1472, позволяющее шифровать запросы на информационные объекты и расшифровывать информационные объекты. Мобильный телефон 1390 далее описывается на Фиг.7, где устройство 1320 соответствует устройству 720, устройство 1310 соответствует устройству 710, устройство 1350 соответствует устройству 750, устройство 1351 соответствует устройству 751, устройство 1352 соответствует устройству 752, устройство 1330 соответствует устройству 730 и, наконец, устройство 1340 соответствует устройству 1340.
Функции представленного изобретения могут быть заранее встроены программно в устройство пользователя, запускаться на устройстве пользователя или загружаться на устройство пользователя. Альтернативно, оператор сети может подготовить задачу на АИМ карте, которой обеспечивается пользователи для того, чтобы получать доступ к сети.
В основном, представленное изобретение может обеспечивать связь между адресными указателями (такими, как телефонные номера) и информационным объектом (таким, как адрес Интернет), указывающим на телефонную страницу. Когда пользователь набирает телефонный номер, то адрес Интернет, связанный, например, с телефонным номером, будет получен автоматически, и содержимое, находящееся по этому адресу Интернет (т.е. телефонной странице), автоматически загружается и показывается на телефоне пользователя. В то же время телефонная страница пользователя будет загружена и показана на телефоне вызывающей стороны. Кроме того, что телефонная страница связана с телефонным номером (возможно с обеими номерами: с номером владельца и с номером запрашивающего, чтобы дать возможность посылать различные телефонные страницы, в зависимости от того, кто эти страницы запрашивает/получает) и с определенным событием. Примерами таких событий могут быть события, когда пользователь набирает телефонный номер, отвечает на вызов, получает приходящий вызов или когда набранный им номер занят. Пользователь может иметь несколько различных телефонных страниц, каждая из которых связана с одним или несколькими событиями. Это позволяет пользователю обеспечивать других пользователей различными типами информации, в зависимости от ситуации. Одним из примеров является возможность пользователя обеспечивать дополнительную информацию (такую как, например, адрес электронной почты), если он/она заняты или не отвечают. Вкратце представленное изобретение может быть разъяснено следующим образом:
– Появляется событие, связанное с телефонной страницей, когда пользователь набирает номер на телефоне (на мобильном телефоне). Мобильный телефон автоматически посылает запрос на сервер телефонных страниц, запрашивая адрес Интернет (т.е. местонахождение телефонной страницы), связанный с набираемым телефонным номером.
– Сервер номеров телефонных страниц использует телефонный номер вместе с другими параметрами для поиска адреса Интернет в базе данных.
– Когда мобильный телефон получает местоположение телефонной страницы, то браузер или эквивалентные функциональные средства запускаются и посылается запрос на выборку информации по Интернет адресу.
– Содержание телефонной страницы загружается на мобильный терминал.
Представленное изобретение не ограничивается вышеописанными вариантами осуществления и может варьироваться в пределах объема представленного в описании изобретения.
Формула изобретения
1. Способ выборки информационного объекта для первого коммуникационного приложения пользователя, загруженного в первое устройство пользователя, в связи с установлением коммуникационного сервиса со вторым коммуникационным приложением пользователя, загруженным во второе устройство пользователя, в телекоммуникационной системе, включающей первое и второе устройства пользователя, отличающийся тем, что в первом коммуникационном приложении пользователя:
определяют появление триггерного события;
осуществляют индикацию связанного с триггерным событием адреса коммуникационного сервиса, где адрес коммуникационного сервиса является адресом доступа первого или второго устройства пользователя;
создают запрос на информационный объект, связанный с адресом коммуникационного сервиса, причем запрос содержит по меньшей мере два параметра, первый из которых представляет адрес коммуникационного сервиса, а второй представляет триггерное событие, появление которого определено;
посылают запрос на информационный объект в сервер информационных объектов;
принимают информационный объект с сервера информационных объектов в зависимости от указанных параметров;
обрабатывают принятый информационный объект.
2. Способ по п.1, отличающийся тем, что либо тип коммуникационного сервиса, провайдер коммуникационного сервиса или географическое местоположение, такое как страна регистрации, первого устройства пользователя определяют сервер информационных объектов, либо сервер информационных объектов заранее задан.
3. Способ по п.1 или 2, отличающийся тем, что адрес коммуникационного сервиса также связан со вторым коммуникационным приложением пользователя.
4. Способ по п.1 или 2, отличающийся тем, что один или более из параметров запроса является одним или более из следующих параметров:
параметр, представляющий код, который указывает, какие типы коммуникации доступны для первого коммуникационного приложения пользователя;
параметр, представляющий код, который указывает приоритет использования типов коммуникации, доступных для первого коммуникационного приложения пользователя;
параметр, представляющий код, который указывает желаемый коммуникационный сервис со вторым коммуникационным приложением пользователя.
5. Способ по п.1 или 2, отличающийся тем, что первое коммуникационное приложение пользователя инициирует исходящий вызов, а второе коммуникационное приложение пользователя принимает входящий вызов, или второе коммуникационное приложение пользователя инициирует исходящий вызов, а первое коммуникационное приложение пользователя принимает входящий вызов.
6. Способ по п.1 или 2, отличающийся тем, что один или более из параметров запроса является одним или более из следующих параметров:
параметр, представляющий код, указывающий тип носителя информации, используемого в первом устройстве пользователя;
параметр, представляющий код, указывающий тип первого или второго устройства пользователя;
параметр, представляющий код, указывающий доступные и/или присоединенные аксессуары первого устройства пользователя;
параметр, представляющий код, указывающий версию указанного способа выборки информационного объекта;
параметр, представляющий код, который идентифицирует сервер информационных объектов и может быть именем сервера или обычным IP-адресом.
7. Способ по п.1 или 2, отличающийся тем, что указанная телекоммуникационная система включает наземную сеть мобильной связи общего пользования (PLMN), и один или более из параметров запроса является одним или более из следующих параметров:
параметр, представляющий код, указывающий локального оператора;
параметр, представляющий код, указывающий марку/производителя первого и/или второго устройства пользователя;
параметр, представляющий код, который указывает, активны ли аксессуары первого устройства пользователя, такие как наушники или устройство класса “хэндзфри” для автомобиля;
параметр, представляющий требуемый протокол, такой как WAP, WML, HDML, HTML, HTTP, который должен быть использован для передачи;
параметр, представляющий код, указывающий тип события, инициировавшего запрос на информационный объект;
параметр, представляющий уникальный идентификатор, связанный по меньшей мере со вторым устройством пользователя;
параметр, идентифицирующий первое устройство пользователя, такой как номер мобильной станции или идентификатор абонента, например международный идентификатор мобильного абонента (IMSI);
параметр, представляющий сетевой адрес первого устройство пользователя, такой как IP-адрес, используемый сервером информационных объектов при возвращении запрошенного информационного объекта;
параметр, представляющий код возможностей, указывающий возможности отображения информации первого устройства пользователя, такие как разрешающая способность экрана, звук;
параметр, представляющий код, указывающий схему шифрования и/или ключ шифра, используемые в наземной сети мобильной связи общего пользования;
параметр, представляющий код страны, который указывает, в какой стране зарегистрировано первое устройство пользователя;
параметр, представляющий код, который указывает текущего оператора наземной сети мобильной связи общего пользования (V-PLMN), или наземную сеть мобильной связи общего пользования, где первое устройство пользователя имеет подписку, (H-PLMN), или и то и другое;
параметр, представляющий код, однозначно идентифицирующий первое и/или второе устройство пользователя;
параметр, представляющий контрольный код (например, контрольную сумму) для указанных параметров.
8. Способ по п.1 или 2, отличающийся тем, что запрос шифруется до посылки, и соответствующий принимаемый информационный объект является шифрованным, а шаг обработки включает в себя расшифровку информационного объекта.
9. Способ по п.1 или 2, отличающийся тем, что триггерное событие является событием исходящего вызова, который осуществляется или вскоре будет осуществлен, и/или триггерное событие является событием нажатия на заданную кнопку на устройстве пользователя.
10. Способ по п.1 или 2, отличающийся тем, что триггерное событие является одним или несколькими событиями из следующих событий:
осуществление коммуникационного сервиса, при котором несколько триггерных событий могут быть созданы, чтобы сформировать поток запросов на информационные объекты;
задан адрес коммуникационного сервиса;
инициирована передача данных;
посылается факсимиле;
адресованное второе коммуникационное приложение пользователя отвечает;
адресованное второе коммуникационное приложение пользователя занято;
адресованное второе коммуникационное приложение пользователя не отвечает;
адресованное второе коммуникационное приложение пользователя отклонило попытку установления коммуникационного сервиса;
адресованное второе коммуникационное приложение пользователя недоступно;
входящее установление коммуникационного сервиса только что начато;
установление коммуникационного конференц-сервиса инициировано;
коммуникационный сервис разъединен;
коммуникационное приложение пользователя поставлено в ожидание;
включение устройства пользователя;
в ответ на поток речи, полученный устройством пользователя;
пользователю была оставлена голосовая почта;
сообщение службы коротких сообщений (SMS) послано коммуникационному приложению пользователя;
сообщение службы коротких сообщений (SMS) принято от коммуникационного приложения пользователя;
сообщение по электронной почте послано пользователю;
сообщение по электронной почте принято от пользователя;
загрузка гипертекста инициирована;
чат-сессия инициирована;
управляемый информационный объект (SNMP) доступен;
выбрана новая ячейка наземной сети мобильной связи общего пользования, если указанная телекоммуникационная система содержит сеть мобильной связи общего пользования;
местоположение пользователя изменилось;
выбран новый оператор наземной сети мобильной связи общего пользования, если указанная телекоммуникационная система содержит сеть мобильной связи общего пользования;
введена новая страна регистрации.
11. Способ по п.1 или 2, отличающийся тем, что на шаге определения триггерного события дополнительно определяют, появляются ли дополнительные триггерные события во время осуществления коммуникации, чтобы быть в состоянии инициировать дальнейшие запросы на информационные объекты во время этой коммуникации.
12. Телекоммуникационная система, включающая первое устройство пользователя с первым коммуникационным приложением пользователя, второе устройство пользователя – со вторым коммуникационным приложением пользователя, коммуникационную сеть для установления коммуникационного сервисного канала между первым устройством пользователя и вторым устройством пользователя и сервер информационных объектов, отличающаяся тем, что первое устройство пользователя выполнено с возможностью определять появление триггерного события, осуществлять индикацию связанного с триггерным событием адреса коммуникационного сервиса, где адрес коммуникационного сервиса является адресом доступа первого или второго устройства пользователя, и создавать запрос на информационный объект, связанный с адресом коммуникационного сервиса, причем запрос включает по меньшей мере два параметра, первый из которых представляет адрес коммуникационного сервиса, а второй представляет триггерное событие, появление которого определено, а также выполнено с возможностью посылать запрос на информационный объект в сервер информационных объектов, а сервер информационных объектов выполнен так, что он возвращает информационный объект в зависимости от указанных параметров первому устройству пользователя в ответ на запрос, при этом первое устройство пользователя выполнено с возможностью принимать информационный объект с сервера информационных объектов и затем обрабатывать принятый информационный объект.
13. Телекоммуникационная система по п.12, отличающаяся тем, что либо тип коммуникационного сервиса, провайдер коммуникационного сервиса или географическое положение, такое как страна регистрации, первого устройства пользователя определяет сервер информационных объектов, либо сервер информационных объектов заранее задан.
14. Телекоммуникационная система по любому из пп.12-13, отличающаяся тем, что один или более из параметров запроса является одним или более из следующих параметров:
параметр, представляющий код, который указывает, какие типы коммуникации доступны для первого коммуникационного приложения пользователя;
параметр, представляющий код, который указывает приоритет использования типов коммуникации, доступных для первого коммуникационного приложения пользователя;
параметр, представляющий код, который указывает желаемый коммуникационный сервис со вторым коммуникационным приложением пользователя.
15. Телекоммуникационная система по п.12 или 13, отличающаяся тем, что один или более из параметров запроса является одним или более из следующих параметров:
параметр, представляющий код, указывающий тип носителя информации, используемого в первом устройстве пользователя;
параметр, представляющий код, указывающий тип первого или второго устройства пользователя;
параметр, представляющий код, указывающий доступные и/или присоединенные аксессуары первого устройства пользователя;
параметр, представляющий код, указывающий версию коммуникационного приложения пользователя;
параметр, представляющий код, который идентифицирует сервер информационных объектов и может быть именем сервера или обычным IP-адресом.
16. Телекоммуникационная система по п.12 или 13, отличающаяся тем, что она включает наземную сеть мобильной связи общего пользования (PLMN), и один или более из параметров запроса является одним или более из следующих параметров:
параметр, представляющий код, указывающий локального оператора;
параметр, представляющий код, указывающий марку/производителя первого и/или второго устройства пользователя;
параметр, представляющий код, который указывает, активны ли аксессуары первого устройства пользователя, такие как наушники или устройство класса “хэндзфри” для автомобиля;
параметр, представляющий требуемый протокол, такой как WAP, WML, HDML, HTML, HTTP, который должен быть использован для передачи;
параметр, представляющий код, указывающий тип события, инициировавшего запрос на информационный объект;
параметр, представляющий уникальный идентификатор, связанный по меньшей мере с одним вторым устройством пользователя;
параметр, идентифицирующий первое устройство пользователя, такой как номер мобильной станции или идентификатор абонента, например международный идентификатор мобильного абонента (IMSI);
параметр, представляющий сетевой адрес первого устройства пользователя, такой как IP-адрес, используемый сервером информационных объектов при возвращении запрошенного информационного объекта;
параметр, представляющий код возможностей, указывающий возможности отображения информации первым устройством пользователя, такие как разрешающая способность экрана, звук;
параметр, представляющий код, указывающий схему шифрования и/или ключ шифра, используемые в наземной сети мобильной связи общего пользования;
параметр, представляющий код страны, который указывает, в какой стране зарегистрировано первое устройство пользователя;
параметр, представляющий код, который указывает текущего оператора наземной сети мобильной связи общего пользования (V-PLMN), или наземную сеть мобильной связи общего пользования, где первое устройство пользователя имеет подписку, (H-PLMN), или и то и другое;
параметр, представляющий код, однозначно идентифицирующий первое и/или второе устройство пользователя;
параметр, представляющий контрольный код (например, контрольную сумму) для указанных параметров.
РИСУНКИ
PC4A – Регистрация договора об уступке патента Российской Федерации на изобретение
(73) Патентообладатель(и):
Де Фоун Пэйджиз ов Суиден АБ (SE)
(73) Патентообладатель:
Сони Эрикссон Мобайл Коммьюникейшнз АБ (SE)
Дата и номер государственной регистрации перехода исключительного права: 03.10.2008 № РД0041672
Извещение опубликовано: 20.11.2008 БИ: 32/2008
|
|